De verwijzingscijfers zijn niet in de conclusie opgenomen maar zijn voor het gemak van de lezer weergegeven. Deze nummering is ook door Matador in nummer 2.3 van de dagvaarding opgenomen.
Rb. Den Haag, 22-04-2015, nr. C-09-468442 - KG ZA 14-754
ECLI:NL:RBDHA:2015:8869
- Instantie
Rechtbank Den Haag
- Datum
22-04-2015
- Zaaknummer
C-09-468442 - KG ZA 14-754
- Vakgebied(en)
Civiel recht algemeen (V)
Intellectuele-eigendomsrecht (V)
- Brondocumenten en formele relaties
ECLI:NL:RBDHA:2015:8869, Uitspraak, Rechtbank Den Haag, 22‑04‑2015; (Kort geding)
- Vindplaatsen
Uitspraak 22‑04‑2015
Inhoudsindicatie
Kort geding. Octrooizaak. Octrooi betreffende een trekhaakslot. Gerede kans octrooi niet inventief. Geen inbreuk.
Partij(en)
vonnis
RECHTBANK DEN HAAG
Team handel
Zittingsplaats Den Haag
zaaknummer / rolnummer: C/09/468442 / KG ZA 14-754
Vonnis in kort geding van 22 april 2015
in de zaak van
de besloten vennootschap met beperkte aansprakelijkheid
MATADOR B.V.,
gevestigd te Helvoirt, gemeente Haren,
eiseres,
advocaat: mr. E.J. Louwers te Eindhoven,
tegen
1. de besloten vennootschap met beperkte aansprakelijkheid
BICK B.V.,
gevestigd te Zeijen, gemeente Tynaarlo,
2. de besloten vennootschap met beperkte aansprakelijkheid
LITTLE JUMBO KLIMMATERIEEL B.V.,
gevestigd te Zevenaar,
gedaagden,
advocaat: voorheen mr. Walvius te Hoogeveen, thans mr. P.E. Mazel te Groningen.
Partijen zullen hierna worden aangeduid als Matador, Bick en LJ (gezamenlijk ook Bick c.s.). De advocaat van Matador is bijgestaan door de octrooigemachtigde ir. H.Th. van den Heuvel, de advocaat van Bick en LJ is bijgestaan door de octrooigemachtigde ir. AHK Tan.
1. De procedure
1.1.
Het verloop van de procedure blijkt uit:
- -
de inleidende dagvaarding van 27 juni 2014; met 9 producties;
- -
de conclusie van antwoord van Bick, ontvangen op 5 augustus 2014, met 5 producties;
- -
het verzoek tot aanhouding d.d. 20 augustus 2014 door Matador in verband met een door Bick aan gevraagd nietigheidsadvies OCNL alsmede de instemming daarmee van 21 augustus door Bick;
- -
het verzoek tot nieuwe datumbepaling d.d. 23 januari 2015 van Matador;
- -
de bij brief van 20 maart 2015 ontvangen producties 6 tot en met 17 van Bick c.s.;
- -
de (aanvullende) kostenopgaven van Matador en van Bick c.s.;
- -
de mondelinge behandeling gehouden op van 1 april 2015, ter gelegenheid waarvan de raadslieden pleitaantekeningen van henzelf en de octrooigemachtigden hebben overgelegd.
1.2.
Ter zitting heeft de raadsman van Bick c.s. te kennen gegeven dat de in het geding gebrachte stukken niet alleen namens Bick, maar ook namens LJ zijn ingediend.
1.3.
Ten slotte is vonnis bepaald.
2. De feiten
2.1.
Matador is actief op het gebied van staalproducten. Zij ontwikkelt, produceert en verkoopt onder meer kruiwagens, steekwagens en hulpmiddelen. Sinds enkele jaren brengt Matador ook zogenoemde trekhaaksloten op de markt.
2.2.
Een trekhaakslot is een inrichting die op een trekhaak geplaats kan worden om een achterdeur van een bus of auto te blokkeren met het doel diefstal uit het voertuig te bemoeilijken. Het trekhaakslot van Matador wordt verhandeld onder de naam Bull-lock en is hieronder weergegeven.


2.3.
Matador is houdster van het Nederlands octrooi NL 2004134 (hierna ook: NL 134) voor een “Blokkeerinrichting voor het blokkeren van ten minste een aan een achterzijde van een voertuig, zoals een bus of auto, gelegen deur”. De aanvraag voor NL 134 is ingediend op 22 januari 2010, ingeschreven in het octrooiregister op 30 juli 2010 en gepubliceerd op 4 augustus 2010. NL 134 doet een beroep op de prioriteit van het octrooischrift NL 2002447 van 23 januari 2009.
2.4.
Matador heeft op 30 januari 2014 gedeeltelijk afstand gedaan van NL 134. Conclusie 1 van het octrooi luidt na deze beperking als volgt.
1. Blokkeerinrichting (1)1.voor het blokkeren van ten minste één aan een achterzijde van een voertuig, zoals een bus of auto, gelegen deur, welke ten minste ene deur volgens een baan verplaatsbaar is tussen een het voertuig toegang verschaffende positie en een het voertuig afsluitende positie, omvattende:
- een behuizing (2, 6) voorzien van een opnameruimte (3) met een opening (4) voor het opnemen van ten minste een deel van een met het voertuig verbonden trekhaak;
- een met de behuizing (2, 6) verbonden blokkeerelement (5), die zich tot in de baan van de ten minste ene deur uitstrekt, in een toestand waarbij ten minste een deel van de trekhaak door de behuizing (2, 6) is opgenomen;
- borgmiddelen (5), die verplaatsbaar zijn tussen een de behuizing (2, 6) ten opzichte van de trekhaak borgende toestand en een losneembare toestand; en
- een slot voor het in een de behuizing (2, 6) borgende toestand vergrendelen van de borgingsmiddelen (5), waarbij de behuizing (2, 6) een oog (7) omvat, voor samenwerking met het slot.
2.5.
De beschrijving van NL 134, die in het kader van de beperking is aangepast, omvat de volgende passages.
Een doel van de onderhavige uitvinding is te voorzien in een inrichting voor het beter beveiligen van voertuigen tegen diefstal.
De uitvinding verschaft daartoe een blokkeerinrichting voor het blokkeren van ten minste één aan een achterzijde van een voertuig, zoals een bus of auto, gelegen deur, welke ten minste ene deur volgens een baan verplaatsbaar is tussen een het voertuig toegang verschaffende positie en een het voertuig afsluitende positie, omvattende: een behuizing voorzien van een opnameruimte met een opening voor het opnemen van ten minste een deel van een met het voertuig verbonden trekhaak, een met de behuizing verbonden blokkeerelement, dat zich uitstrekt tot in de baan van de ten minste ene deur, in een toestand waarbij ten minste een deel van de trekhaak door de behuizing is opgenomen, borgmiddelen, die verplaatsbaar zijn tussen een de behuizing ten opzichte van de trekhaak borgende toestand en een losneembare toestand, en een slot voor het in een de behuizing borgende toestand vergrendelen van de borgingsmiddelen. Hiermee is voorzien in een inrichting die het wederrechtelijk toegang verschaffen tot een voertuig aanzienlijk bemoeilijkt. Ook indien een slot van een deur is geforceerd of een ruit ervan is vernietigd, kan de deur ten gevolge van de blokkeerinrichting niet worden geopend. Met name indien toegang tot laadruimten van busjes slechts door een dergelijke deur kan worden verkregen kan de onderhavige uitvinding met voordeel worden toegepast.
De behuizing omvat tevens een oog, voor samenwerking met het slot. Hierdoor kan het
slot eenvoudig in de de behuizing borgende toestand de borgmiddelen vergrendelen.
[…]
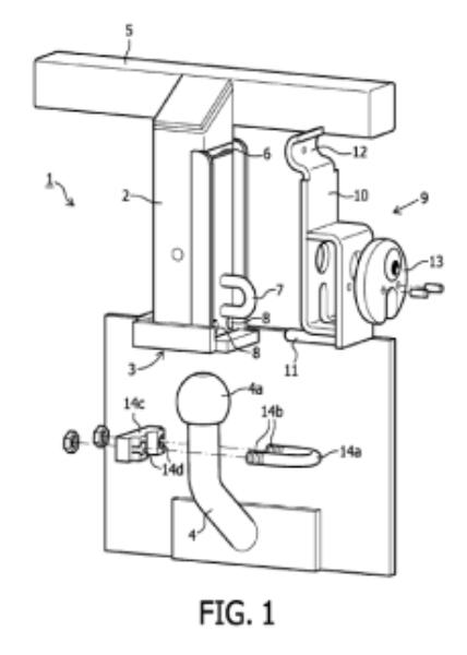
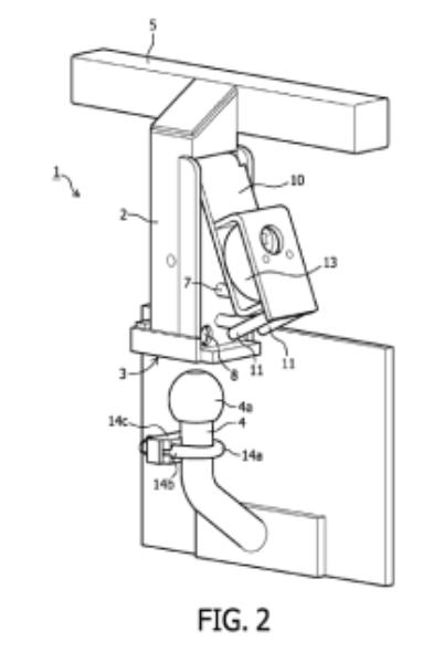
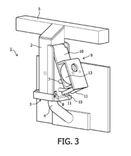
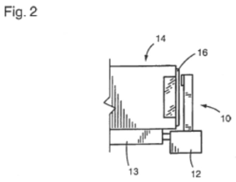
Figuur 1 toont een blokkeerinrichting, in zijn geheel aangeduid met 1. De blokkeerinrichting 1 omvat een behuizing 2, voorzien van een opnameruimte 3 met een opening voor het opnemen van een trekhaak 4 met een kogel 4a, welke trekhaak 4 met een achterzijde van een niet weergeven voertuig is verbonden. Aan de van de opnameruimte 3 van de behuizing 2 afgekeerde zijde is een blokkeerelement 5 star met de behuizing 2 verbonden. De behuizing 2 is voorzien van een in een zijwand van de behuizing 2 gelegen doorgaande langwerpige opening 6, een oog 7 en in een zijwand van de behuizing 2 gelegen openingen 8. De blokkeerinrichting 1 omvat voorts borgmiddelen 9, voorzien van met een koppelelement 10 verbonden en onderling parallel uitstrekkende pennen 11. Het koppelelement 10 omvat een zich dwars op de lengterichting van de behuizing 2 uitstrekkende goot 12 voor het in samenwerking met de langwerpige opening 6 met de behuizing 2 koppel en van het koppelelement 10 (zie figuur 2). Het koppelelement 10 omvat een ruimte 10a, waarin een slot 13 opneembaar is (zie figuur 2). Het koppel element 10 omvat openingen 10b voor het met een sleutel toegang verkrijgen tot een in de ruimte 10a opgenomen slot 13 en een opening 10c voor het tot in de ruimte 10a opnemen van het oog 7. Het slot 13 kan vervolgens in samenwerking met het oog 7 de borgmiddelen 9 vergrendelen in een stand zoals weergegeven in figuur 4. In het bijzonder zijn de behuizing 2 en het blokkeerelement 5 en de borgmiddelen 9 in hoofdzaak vervaardigd uit roestvast staal of uit tegen roestvorming beschermd staal. Tevens kan het blokkeerelement 5 aan de naar het voertuig gerichte zijde zijn voorzien van een veerkrachtig materiaal. Hierdoor raken de deuren niet of ten minste minder beschadigd indien de deuren worden geopend en tegen het blokkeerelement 5 dringen.
De blokkeerinrichting 1 omvat verder nog positioneermiddelen 14. De positioneermiddelen 14 omvatten als boog 14a uitgevoerde koppelmiddelen, waarvan de benen 14b zijn voorzien van schroefdraad en welke boog om de trekhaak 4 kan worden gepositioneerd. De positioneermiddelen 14 omvatten tevens contrakoppelmiddelen 14c, voorzien van openingen 14d voor het opnemen van de benen 14b en moeren 14e voor het met de trekhaak 4 verbinden van de koppelmiddelen I4a en de contra-koppelmiddelen 14c (zie figuur 2).
[pag. 1, regel 15 - p. 2, r. 2 en p. 4, r. 1 - r. 31]
2.6.
NL 134 heeft onder meer de volgende figuren.




2.7.
In het kader van dit kort geding zijn de volgende octrooischriften uit de stand van de techniek van NL 134 van belang.
2.7.1.
Het Amerikaanse octrooi US 6,564,599, verleend op 20 mei 2003 op een aanvrage van 20 september 2001 voor een “Tailgate limiter” (hierna D3), dat de volgende tekstpassages en figuren omvat.
ABSTRACT
A tailgate limiter for restricting a pickup truck tailgate from being opened. A vertical post is removably mounted in a base which is mounted to the truck. The post impedes the tailgate from opening, thereby preventing theft of objects in the truck bed.
BACKGROUND OF THE INVENTION
[…]
Motorcycles, four-wheelers, three-wheelers, go-carts, lawn mowers, and other large, heavy recreational and pleasure vehicles and other objects are often transported in the open beds of pickup trucks. Such objects are tied down in the truck bed for stability during transport, but they are not conveniently secured in such a way that theft becomes substantially difficult. The height of motorcycles and the weight of all large objects make it impractical to enclose the truck bed for security, such as with a truck cap, because maneuvering the large objects into and out of the bed requires the person to stand upright for leverage and balance. Therefore, a security problem exists, because valuable objects are stored in open beds of pickup trucks without being secured.
People often transport their motorcycles in pickup trucks to cycling shows and other events. These people typically stay overnight in hotels and campgrounds that require the trucks to be parked outside in a parking lot. At night, motorcycles and other equipment or pleasure vehicles can be stolen from the pickup trucks by simply lowering the trucks’ tailgates and rolling the motorcycles or other objects off.
Because motorcycles and the other kinds of objects dis cussed above are so heavy, it is only practical to steal them if the tailgate of the truck can be opened. This is because an ordinary person, and indeed, two or three ordinary people, cannot, or will not, lift a motorcycle, four-wheeler or mower over the sidewall or tailgate of a pickup truck. Therefore, the need exists for a security device that prevents the theft of large objects from the open beds of pickup trucks.
[…]
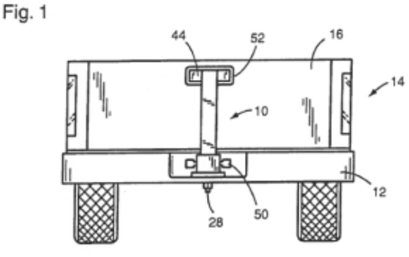
The tailgate limiter 10 is shown in FIG. 1 mounted to the bumper 12 of a conventional pickup truck 14. “Pickup truck” is defined as a motorized vehicle of the style commonly referred to as a pickup truck or simply “truck”, which has a passenger cabin and a rigidly attached, open bed behind the cabin. Some sport utility vehicles (SUV’s) have partially open beds, and therefore are included as pickup trucks. The bed of a pickup truck has sidewalls which extend approximately one foot or more up from a bed floor which supports the payload of the truck. A rear gate, commonly referred to as a tailgate, extends across the opening between the rear ends of the sidewalls and pivots along a hinge axis positioned near a lower edge of the gate or, less commonly, at one or two sides to pivot through a path. The front of the bed is typically formed by an immobile wall extending between the front ends of the sidewalls.
The bumper 12 of the truck 14 mounts to the truck’s frame 13 in a conventional manner, as shown in FIG. 2, and extends back from near the rear end of the truck bed to form a mounting point for the limiter 10. The limiter 10 extends from near a lower edge of the tailgate 16 to near an upper edge of the tailgate 16. The limiter 10 mounts at its lower end to the bumper 12, which provides a very rigid, strong support due to its connection to the frame 13.
[…]
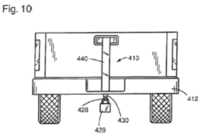
Another alternative embodiment of the present invention is shown in FIG. 9, in which the base 320 is mounted to the truck bumper 312. The base 320, however, inserts into a socket formed in the post 340, rather than the vice versa as in the preferred embodiment. A lock 350 is mounted through aligned apertures as in the preferred embodiment.
Still another alternative embodiment of the present invention is shown in Fl0. 10, in which the limiter 410 is a single structure made up only of the post 440. The post 440 mounts 30 to the bumper 412 by a threaded shaft 428 extending downwardly from the post 440 through the hitch ball aperture in the bumper 412. A nut 430 threads over the shaft 428 and the lock 429 prevents removal of the nut 430, thereby securing the limiter 410 to the truck. The post 440 must be removed entirely to permit opening of the tailgate.




2.7.2.
Het Europese octrooi EP 0 666 197, verleend op 29 december 1999 op een aanvrage van 3 februari 1995 voor een “Fahrradträger mit einer Kupplungseinrichtung zur Anordnung an einem Zughaken eines Kraftfahrzeuges” (hierna E3), dat de volgende tekstpassages en figuren omvat.









2.8.
Namens Bick is bij Octrooicentrum Nederland (hierna: OCNL) een verzoek gedaan om een advies inzake de geldigheid van – de beperkte versie van – NL 134 in de zin van artikel 84 van de Rijksoctrooiwet 1995 (hierna: ROW).
2.9.
Het op 30 december 2014 dor OCNL gegeven advies2.luidt “dat geen van de aangevoerde nietigheidsbezwaren van toepassing is op het octrooi.” Het OCNL overwoog onder meer:
5.1.2
Inventiviteit van conclusie 1
Bij het beoordelen van de inventiviteit van een uitvinding dient allereerst de meest nabij gelegen stand van de techniek te worden bepaald. De meest nabij gelegen stand van de techniek is die combinatie van kenmerken, geopenbaard in één enkele vindplaats, welke combinatie het meest veelbelovende startpunt vormt voor een ontwikkeling die tot de uitvinding leidt. Een eerste overweging daarbij is dat de meest nabij gelegen stand van de techniek gericht zou moeten zijn op een vergelijkbaar doel als de te beoordelen uitvinding. Octrooicentrum Nederland is van oordeel dat van de ingebrachte documenten alleen D1 en D3 een vergelijkbaar - in dit geval hetzelfde - doel hebben als de uitvinding volgens conclusie 1 van het octrooi. Dit doel is het voorzien in een inrichting waarmee een voertuig beter beveiligd wordt tegen diefstal (zie het octrooi, pagina 1, de regels 15 – 16; D1, kolom 1, de regels 17 – 21; D3, kolom 1, de regels 6 – 9). De overige in het geding gebrachte documenten openbaren inrichtingen waarvan het doel is een fiets of andere bagage te dragen, en liggen daarom verder van het octrooi verwijderd. Dat de hieruit bekende inrichtingen mogelijk het onbedoelde effect kunnen sorteren dat een voertuig beter beveiligd wordt tegen diefstal doet daar niet aan af. Een fietsendrager heeft een ander doel dan een blokkeerinrichting.
Zowel D1 als D3 openbaart een blokkeerinrichting voor het blokkeren van een aan een achterzijde van een voertuig gelegen deur. D3, in 5 het bijzonder de uitvoeringsvorm volgens figuur 9, benadert naar het oordeel van Octrooicentrum Nederland de uitvinding volgens conclusie 1 dichter dan D1 omdat de in figuur 9 van D3 getoonde inrichting een aantal relevante technische kenmerken gemeen heeft met de uitvinding volgens conclusie 1, die bij de inrichting bekend uit D1 niet aangetroffen worden. Deze kenmerken zijn een behuizing (D3: ‘post 340’) voorzien van een opnameruimte (zie D3, kolom 6, de regels 21 – 26: ‘socket’) met een opening, borgmiddelen in de vorm van een pen (zie D3, kolom 3, de regels 27 – 34 in een vergelijkbare uitvoeringsvorm: ‘rod’), en een daarmee geïntegreerd slot (‘lock 350’) voor het vergrendelen van de borgmiddelen. In D1 worden weliswaar soortgelijke middelen geopenbaard, maar die behoren zoals hiervoor reeds uit een gezet tot een vast met het voertuig verbonden deel van een trekhaaksysteem (‘trailer hitch’) en niet tot een van het voertuig losneembare blokkeerinrichting. Octrooicentrum Nederland beschouwt daarom D3, in het bijzonder de uitvoeringsvorm volgens figuur 9, als de meest nabij gelegen stand van de techniek.
Bij de inrichting volgens figuur 9 van D3 wordt een ‘base 320’ door de behuizing (‘post 340’) opgenomen. ‘Base 320’ is een onderdeel dat is gemonteerd op de bumper van een voertuig. Verzoekster heeft er op gewezen dat ‘base 320’ beschouwd kan worden als een trekhaak omdat ‘base 320’ is bevestigd in een ‘hitch ball aperture’ in de bumper. Octrooicentrum Nederland deelt deze opvatting niet. D3 openbaart slechts dat ‘base 320’ met een bout in een bevestigingsopening voor een trekhaak is bevestigd (zie kolom 3, de regels 8 –11). Niet geopenbaard wordt dat ‘base 320’ een als bol of kogel uitgevoerde uitkraging omvat, en dus evenmin dat ‘base 320’ een trekhaak is. De inrichting volgens conclusie 1 van het octrooi verschilt derhalve naar het oordeel van Octrooicentrum Nederland van de inrichting volgens figuur 9 van D3 doordat:
(i) de opening van de opnameruimte van de behuizing geschikt is voor het opnemen van ten minste een deel van een met het voertuig verbonden trekhaak;
(ii) tenminste een deel van de trekhaak door de behuizing opgenomen kan worden;
(iii) de behuizing ten opzichte van de trekhaak geborgd kan worden; en
(iv) de behuizing een oog omvat, voor samenwerking met het slot.
Vervolgens dient te worden vastgesteld welk effect of welke effecten met de verschilkenmerken worden bereikt ten opzichte van de meest nabij gelegen stand van de techniek. Het effect dat naar het oordeel van Octrooicentrum Nederland met verschilkenmerken (i) t/m (iii) wordt bereikt is, dat de inrichting geschikt is voor gebruik in combinatie met een in Europa gangbaar trekhaaksysteem, waarbij de trekhaak gevormd wordt door een onderdeel met een uitkraging in de vorm van een kogel of een bol. Hoewel dit effect niet expliciet in het octrooi wordt genoemd, zal de vakman het naar het oordeel van Octrooicentrum Nederland herkennen omdat in conclusie 1 gesproken wordt over een trekhaak en in het octrooi wordt uitgelegd dat daarmee dat deel van het trekhaaksysteem bedoeld is, dat een als bol of kogel uitgevoerde uitkraging omvat (zie blz. 2, regels 5 – 6).
Deze vorm is typerend voor een in Europa gangbaar trekhaaksysteem waarbij het onderdeel met de uitkraging niet afneembaar is, of wel afneembaar maar niet afgenomen is.
Octrooihoudster heeft in haar verweerschrift onder het kopje ‘Inventiviteit van conclusie 1’, de laatste alinea, ten aanzien van kenmerk (iv) opgemerkt dat dit tot effect heeft dat het slot uitwisselbaar is. Dit vergroot volgens haar de flexibiliteit in het gebruik van de blokkeerinrichting omdat er keuzevrijheid is ten aanzien van het toe te passen slot. Daarnaast maakt het de constructie van de blokkeerinrichting relatief eenvoudig aangezien de relatief complexe constructie van het slot deel kan uitmaken van een apart onderdeel. Octrooicentrum Nederland stelt vast dat bij de inrichting volgens figuur 9 van D3 het slot (‘350’) ook gemakkelijk uitwisselbaar is, namelijk als ook het borgmiddel (de ‘rod’) samen daarmee uitgewisseld wordt, maar dat het slot niet als apart onderdeel uitwisselbaar is. Het effect dat de vakman naar het oordeel van Octrooicentrum Nederland daarom ten aanzien van het kenmerk (iv) zal herkennen is, dat het slot op de borgmiddelen gemakkelijk uitwisselbaar is zonder de borgmiddelen te vervangen. De vakman zal er hierbij van uit gaan dat conclusie 1 gelezen dient te worden als een blokkeerinrichting waarbij het slot losneembaar is ten opzichte van de borgmiddelen.
Na voornoemde effecten blijkt dat het probleem dat met de uitvinding volgens conclusie 1 wordt opgelost, is dat de bekende inrichting niet geschikt is voor gebruik in combinatie met het genoemde in Europa gangbare trekhaaksysteem, en dat het slot op de borgmiddelen niet gemakkelijk uitwisselbaar is zonder de borgmiddelen te vervangen.
De vakman op het gebied van blokkeerinrichtingen voor voertuigen die bekend is met D3 en die het probleem beoogt op te lossen zal in D1 geen oplossing vinden, omdat de daaruit bekende blokkeerinrichting niet gebruikt kan worden in combinatie met een trekhaaksysteem dat voorzien is van een onderdeel met een kogel of een bol.
De vakman zal om het probleem op te lossen, behalve op het eigen vakgebied, ook op zoek gaan naar een oplossing in naburige vakgebieden. Het vakgebied van fietsendragers is naar het oordeel van Octrooicentrum Nederland een naburig vakgebied, omdat het zo nauw gerelateerd is met het vakgebied van blokkeerinrichtingen dat de vakman rekening zal houden met ontwikkelingen in dat vakgebied. Veel fietsendragers zijn immers, net als blokkeerinrichtingen, accessoires die aan de achterzijde van een auto worden gemonteerd. Zich oriënterend op het vakgebied van fietsendragers treft de vakman onder andere D2, D4, D5, D6, D7, E1 en E2 aan. Met uitzondering van de fietsendrager volgens D4 omvat elk van de hieruit bekende fietsendragers een behuizing met de genoemde kenmerken (i) t/m (iii). Uit elk van de documenten D2, D5, D6, D7, E1 en E2 is naar het oordeel van Octrooicentrum Nederland duidelijk dat de daarin getoonde inrichting geschikt is voor gebruik in combinatie met het in Europa gangbare trekhaaksysteem met het onderdeel met de uitkraging. De vakman zal met de informatie uit elk van deze documenten begrijpen hoe de inrichting volgens figuur 9 van D3 aangepast dient te worden om de gewenste geschiktheid te bereiken. Hij zal de ‘post 340’ geschikt maken voor opname van een deel van een trekhaak in plaats van de ‘base 320’.
Echter, geen van de documenten D2, D5, D6, D7, E1 en E2 geeft hem een aanwijzing hoe hij het slot op de borgmiddelen gemakkelijk uitwisselbaar maakt zonder de borgmiddelen te vervangen. D2, D5 en D7 openbaren geen slot, en evenmin een oog voor samenwerking met een slot. D6 openbaart wel een slot (zie D6, pagina 8, de regels 3 – 8), maar in D6 wordt niet veel meer geopenbaard dan dat dit slot is voorzien op een afdekkap. Niet duidelijk uit D6 blijkt, dat dit slot borgmiddelen vergrendelt, en over de uitwisselbaarheid van dit slot staat in D6 niets vermeld.
Uit E1 is wel een slot bekend dat borgmiddelen vergrendelt. Verzoekster heeft terecht opgemerkt dat blijkens de vertaling van E1 ‘lock bracket 515’ deel uit maakt van dit slot. Verzoekster heeft er tijdens de hoorzitting op gewezen dat E1 twee ogen, ‘31’ en ‘32’, toont die samenwerken met het slot, omdat ze ‘block 524’ opnemen, dat als schoot van het slot beschouwd kan worden. Octrooicentrum Nederland kan verzoekster in deze opvatting niet volgen omdat ‘block 524’ niet de schoot is van het slot waar ook ‘lock bracket 515’ onderdeel van is. De schoot van dat slot is namelijk de direct met ‘lock bracket 515’ samenwerkende ‘locking plate 514’ (zie de figuren 3, 6a, 6b en 7 van E1). ‘Block 524’ maakt deel uit van de borgmiddelen van de inrichting volgens E1. Indien ‘locking plate 514’ namelijk zou ontbreken dan zou de behuizing van de inrichting volgens E1 nog wel geborgd kunnen worden ten opzichte van de trekhaak, maar de borging zou niet meer vergrendeld kunnen worden. Octrooicentrum Nederland is daarom van oordeel dat E1 geen oog toont voor samenwerking met een slot, en merkt op dat in E1 bovendien enige aanwijzing voor de gemakkelijke uitwisselbaarheid van het daarin getoonde slot ontbreekt.
Uit E2 is een gemakkelijk uitwisselbaar slot (‘hangslot 9’) bekend, en een behuizing met een oog dat samenwerkt met het slot. Het oog is te zien in de figuur op pagina 2 van E2 en op de afbeeldingen 2 en 3 op pagina 4 van E2. Octrooicentrum Nederland is van oordeel dat de vakman de in E2 beschreven constructie terzijde zal schuiven, omdat het slot niet de borgmiddelen (‘T-bout 2’) vergrendelt. Hoewel een onbevoegde weliswaar vanwege het slot ‘9’ niet de inrichting van het voertuig kan wegnemen, kan hij wel de borgmiddelen losdraaien, hetgeen ongewenst is.
Voor de volledigheid merkt Octrooicentrum Nederland op, dat het tot de algemene kennis van de vakman op het gebied van blokkeerinrichtingen behoort, dat er sloten bestaan die gemakkelijk uitwisselbaar zijn, bijvoorbeeld hangsloten. Zo wordt bijvoorbeeld bij de uitvoeringsvorm volgens figuur 10 van D3 een gemakkelijk uitwisselbaar hangslot bij een blokkeerinrichting toegepast om borgmiddelen in de vorm van een moer (‘nut 430’) op een draadstang (‘threaded shaft 428’) te vergrendelen. Tot zijn algemene kennis behoort ook, dat een hangslot vaak samenwerkt met een of meerdere ogen. Tot zijn algemene kennis behoort echter niet het inzicht, hoe een specifieke constructie van een blokkeerinrichting zodanig gemodificeerd moet worden dat een slot op borgmiddelen gemakkelijk uitwisselbaar is zonder de borgmiddelen te vervangen. Indien hij daarvoor, zoals in het onderhavige geval, geen aanwijzingen krijgt uit de stand van de techniek, is naar het oordeel van Octrooicentrum Nederland inventieve arbeid nodig om te komen tot een blokkeerinrichting met een behuizing die een oog omvat voor samenwerking met het slot.
Octrooicentrum Nederland komt tot de slotsom dat, uitgaande van de blokkeerinrichting volgens figuur 9 van D3 en het daarbij geconstateerde probleem, de vakman op basis van de in het geding gebrachte documenten, al dan niet in combinatie met zijn algemene kennis, niet zal komen tot een oplossing in de vorm van een inrichting met de kenmerken volgens conclusie 1 van het octrooi. Het bezwaar van gebrek aan inventiviteit tegen conclusie 1 wordt daarom ongegrond geacht.
2.10.
Bick biedt een als “Van Lock” aangeduid trekhaakslot aan onder het merk DoubleLock, dat hieronder is afgebeeld.


2.11.
LJ is een groothandel gespecialiseerd in onder meer klimmaterieel, montageproducten en opbergsystemen en richt zich op professionele gebruikers. LJ biedt het hierboven besproken Van Lock trekhaakslot van Bick aan, onder meer via haar website www.littlejumbo.nl en een hieronder deels afgebeelde reclamefolder.
2.12.
Na daartoe op 20 mei 2014 verlof te hebben gekregen van de voorzieningenrechter van de rechtbank Noord-Nederland, heeft Matador op 27 mei 2014 ten laste van Bick en LJ conservatoir beslag tot afgifte doen leggen. Op het adres van LJ werden 14 Van Lock sloten aangetroffen en beslagen.
3. Het geschil
3.1.
Matador vordert – samengevat – dat de voorzieningenrechter bij vonnis, voor zoveel mogelijk uitvoerbaar bij voorraad, Bick c.s. beveelt de inbreuk op NL 134, meer in het bijzonder de productie, invoer, uitvoer, distributie, verkoop, levering en/of het anderszins verhandelen en/of in voorraad hebben van inbreukmakende sloten in Nederland, te staken en gestaakt te houden, haar beveelt een door een registeraccountant geaccordeerde opgave te doen van gegevens over de productie, inkoop, voorraad, verkoop en verhuur van die sloten en de daarmee gerealiseerde omzet en winst, alsmede van de bij een en ander betrokken professionele partijen, Bick c.s. beveelt tot het doen van een recall en Bick c.s. beveelt de in voorraad gehouden en geretourneerde inbreukmakende sloten af te geven ter vernietiging, een en ander op straffe van dwangsommen, met hoofdelijke veroordeling van Bick c.s. in de proceskosten, waaronder begrepen de kosten van het beslag, overeenkomstig artikel 1019h van het Wetboek van Burgerlijke Rechtsvordering (hierna: Rv) met rente.
3.2.
Matador legt aan haar vorderingen ten grondslag dat Bick c.s. trekhaaksloten op de markt brengt die inbreuk maken op haar octrooi, NL 134.
3.3.
Bick c.s. betwist de geldigheid van NL 134 en wijst in dit verband op een aantal documenten uit de stand van de techniek, waaronder een octrooischrift dat niet eerder in een verlenings- of adviesprocedure met betrekking tot het ingeroepen octrooi is beoordeeld (E3). Voorts betoogt zij dat geen sprake is van inbreuk, omdat de door hen verhandelde producten niet onder de beschermingsomvang van NL 134 vallen en geen sprake is van equivalente maatregelen.
3.4.
Op de stellingen van partijen zal hierna, voor zover van belang, nader worden ingegaan.
4. De beoordeling
Bevoegdheid
4.1.
De voorzieningenrechter van de rechtbank Den Haag is op grond van artikel 80 lid 2 ROW bevoegd om kennis te nemen van de vorderingen van Matador.
Inventiviteit
4.2.
Naar voorlopig oordeel is NL 134 niet inventief, althans is er een gerede kans dat het octrooi in een daartoe strekkende bodemprocedure op die grond voor nietig wordt gehouden. De voorzieningenrechter zal daarbij met partijen uitgaan van de PSA (Problem-Solution Approach).
4.3.
Beide partijen identificeren als meest nabije stand van de techniek D3 en dan met name figuur 9 daarvan (zie r.o. 2.7.1). Ook OCNL gaat in zijn advies daarvan uit. De voorzieningenrechter zal partijen daarin volgen. Het OCNL stelt vervolgens de volgende verschilmaatregelen vast ten opzichte van conclusie 1:
(i) de opening van de opnameruimte van de behuizing is geschikt voor het opnemen van ten minste een deel van een met het voertuig verbonden trekhaak;
(ii) tenminste een deel van de trekhaak kan door de behuizing opgenomen worden;
(iii) de behuizing kan ten opzichte van de trekhaak geborgd worden; en
(iv) de behuizing omvat een oog, voor samenwerking met het slot.
Hoewel Bick c.s. “in geringe mate” andere verschilmaatregelen dan het OCNL definieert (pleitnota nr. 19), geeft zij tegelijkertijd aan dat die verschillen niet wezenlijk zijn. Dit zo zijnde en aangezien Matador aanknoopt bij het OCNL advies, zal de voorzieningenrechter van de door het OCNL genoemde verschilmaatregelen uitgaan.
4.4.
De voorzieningenrechter zal met partijen evenzeer uitgaan van het in het OCNL advies genoemde effect van die verschilmaatregelen alsmede van de formulering van het objectieve probleem, te weten dat de uit D3 bekende inrichting niet geschikt is voor gebruik in combinatie met het in Europa gangbare trekhaaksysteem, en dat het slot op de borgmiddelen niet gemakkelijk uitwisselbaar is zonder de borgmiddelen te vervangen.
4.5.
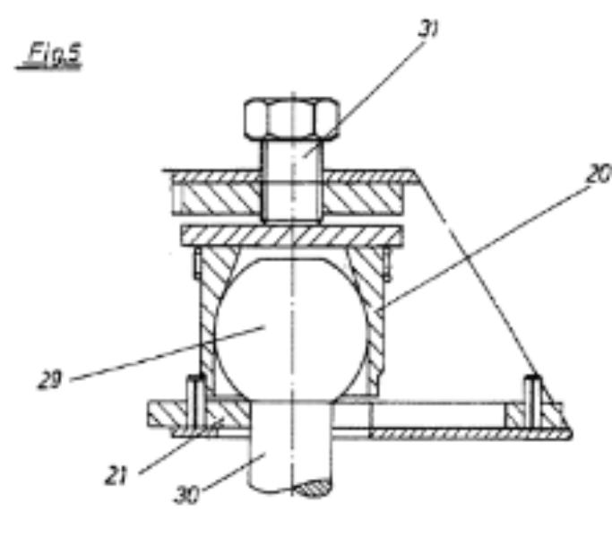
Bick c.s. wijst er vervolgens terecht op dat de oplossing van het octrooi zonder inventieve denkarbeid valt terug te vinden in E3, welk document niet door het OCNL is beoordeeld. De volgende figuren van E3 zijn daarbij illustratief en door Bick c.s. van inkleuring voorzien:


4.6.
Een bespreking van de kenmerken die hiervoor als verschillend ten opzichte D3 zijn gekenschetst, levert het volgende beeld op.
Verschilkenmerk (i):
De opening van de opnameruimte van de behuizing (gevormd door de in hierboven weergegeven figuren 2, 5 en 7 uit E3 rood ingekleurde onderdelen, waaronder
“Becher 20”) is geschikt voor het opnemen van ten minste een deel (“Endverdickung 29”) van een met het voertuig verbonden trekhaak (“Zughaken 30”). Dit is te lezen in E3, paragraaf 0034 en 0037.
Verschilkenmerk (ii):
Ten minste een deel (“Endverdickung 29”) van de trekhaak (“Zughaken 30”) kan door deze behuizing worden opgenomen (zie fig. 5 en wederom E3, paragraaf 0034 en 0037.
Verschilkenmerk (iii):
De behuizing (rood gekleurde onderdelen, waaronder “Becher 20”) kan ten
opzichte van de trekhaak (“Zughaken 30”) geborgd worden met behulp van
borgingsmiddelen (groen ingekleurde “Schieber 21”) apart van het slot (“Schloss
32”). Zie andermaal E3, paragraaf 0034, 0037 en voorts 0041.
Verschilkenmerk (iv):
De behuizing heeft een oog (gat in de rode behuizing) voor samenwerking met
het slot (“Schloss 32”). Als het slot is aangebracht vergrendelt dit de borgingsmiddelen (“Schieber 21”) in een de behuizing borgende stand. Zie met name figuur 7 van E3 en paragraaf 0041.
4.7.
Matador heeft hiertegen ingebracht dat de gemiddelde vakman E3 niet zou raadplegen omdat dit op een ander vakgebied ligt (fietsendragers en niet trekhaaksloten). Dit verweer wordt voorshands verworpen om redenen zoals door het OCNL in zijn advies neergelegd:
De vakman zal om het probleem op te lossen, behalve op het eigen vakgebied, ook op zoek gaan naar een oplossing in naburige vakgebieden. Het vakgebied van fietsendragers is naar het oordeel van Octrooicentrum Nederland een naburig vakgebied, omdat het zo nauw gerelateerd is met het vakgebied van blokkeerinrichtingen dat de vakman rekening zal houden met ontwikkelingen in dat vakgebied. Veel fietsendragers zijn immers, net als blokkeerinrichtingen, accessoires die aan de achterzijde van een auto worden gemonteerd.
De voorzieningenrechter voegt daar nog aan toe dat ook van fietsendragers bekend was dat deze op een Europese trekhaak konden worden gemonteerd. De omstandigheid dat het bij een fietsendrager juist ongewenst zou zijn dat deze de achterdeur blokkeert, maakt dit niet anders. Het bevestigingssysteem op de trekhaak dient immers voor zowel trekhaaksloten als fietsendragers zeer stevig en rigide te zijn.
4.8.
Matador noemt voorts dat het koppelstuk (20) van E3 los zou zijn. Zij wijst daarbij op de schroef (31) waarmee het koppelstuk aan de drager kan worden bevestigd. Die visie kan echter voorshands niet worden gedeeld. Bick c.s. wijst er terecht op dat schroef (31) in E3 omschreven wordt als een spanschroef (“Spannschraube”) die er volgens paragrafen 0038, 0039 en 0042 toe dient om de trekhaak extra vast te klemmen tussen de conische beker 20 en schuif 21. De schroef 31 dient er derhalve niet toe om het losse koppelstuk aan de drager vast te maken zoals Matador meent. Deze lezing door Matador ligt te minder voor de hand omdat verzekering van de schuif 21 met het slot 32 geen enkel ander nut zou hebben dan het koppeldeel op de trekhaak te verzegelen, terwijl de rest van de fietsendrager zonder problemen door een derde zou kunnen worden meegenomen. Die derde hoeft dan immers slechts nog de vrij toegankelijke (“frei Zugänglich” zie 0042) schroef los te draaien. Dat is in strijd met wat E3 in paragraaf 0041 als nut noemt, namelijk diefstalverzekering van de fietsendrager - als geheel - (“Diebstahlsicherung des Fahrradträgers”). De voorzieningenrechter merkt voorts op dat conclusie 1 van NL 134 niet voorschrijft hoe de behuizing (waarin de trekhaak wordt opgenomen) aan het blokkeerelement moet zijn verbonden, zolang het geheel logischerwijs niet na bevestiging en verzegeling uit elkaar genomen kan worden zonder het slot te openen. De gemiddelde vakman zal dit herkennen in het koppelstuk van E3 en hoe dit aan de drager verbonden is,3.terwijl door gebruik van het slot (32) duidelijk zal zijn dat het koppelstuk niet zomaar van de drager te scheiden is door enkel een schroef los te draaien.
4.9.
Tot slot heeft Matador in dit kader betoogd dat in E3 het oog aan de behuizing ontbreekt dat samenwerkt met het slot. Zoals hiervoor is aangegeven is echter uit figuur 7 en de toelichting daarop in paragraaf 0041 van E3 zonder meer af te leiden dat schuif 21 met slot 32 (tegen diefstal van de drager) gezekerd wordt, waarbij uit paragraaf 0034 duidelijk is dat de schuif in de open toestand de trekhaakkogel door opening 22 laat en in gesloten toestand om de dunnere hals van de trekhaak geschoven is.
Inbreuk
4.10.
Naast voormelde gerede kans dat het octrooi een betreffende bodemprocedure niet zal overleven, overweegt de voorzieningenrechter dat van letterlijke inbreuk naar zijn oordeel geen sprake is. De conclusie schrijft immers voor dat de behuizing een oog omvat voor samenwerking met het slot. Volgens conclusie 1 en de beschrijving en tekeningen van het octrooi is de behuizing datgene wat de trekhaak kan opnemen en verbonden is met het blokkeerelement. Bij de DoubleLock van Bick c.s. is het oog weliswaar gemonteerd op de scharende poten die door een tangwerking de trekhaakkogel insluiten maar ligt dit op afstand van de behuizing. De werking van de DoubleLock is als volgt:

Voorshands oordelend is enkel het onderste deel van die poten te beschouwen als “behuizing” in de zin van conclusie 1 van NL 134. In dat onderste deel wordt immers de trekhaakkogel opgenomen. Aan het bovenste deel is ook niets te ontwaren waarom dit als “behuizing” zou moeten worden getypeerd. Er wordt in het bovenste deel niets “behuisd” in de zin van het octrooi en het is ook verder een open constructie.
4.11.
Het debat over het beroep dat Matador eerst bij pleidooi heeft gedaan op equivalentie is vooralsnog onvoldoende uit de verf gekomen. In eerste termijn was dit in het geheel niet door Matador toegelicht, in repliek slechts zeer summier door (bloot) te stellen dat het oog in de DoubleLock dezelfde functie heeft, op in wezen dezelfde wijze werkt en in wezen hetzelfde resultaat oplevert. Van de zijde van Bick c.s. is dit een en ander betwist en gesteld dat in ieder geval de wijze een wezenlijk andere is. Gelet hierop kan voorshands niet de conclusie worden getrokken dat Matador op dit punt aan haar (gemotiveerde) stelplicht heeft voldaan, waarbij bovendien aan Bick c.s. kan worden toegegeven dat via de tangwerking en het aan de bovenkant verzegelen van het slot ontegenzeggelijk een andere (minder rechtstreekse) wijze van verzekering wordt gegeven dan dit (rechtstreeks) op het onderste deel (de “behuizing”) te doen waarin de trekhaakkogel wordt opgenomen.
4.12.
Er is zodoende een gerede kans dat in een bodemprocedure geen inbreuk, ook niet in equivalente zin, zal worden aangenomen.
Slotsom en proceskosten
4.13.
Op grond van hetgeen hiervoor is overwogen moeten de vorderingen worden afgewezen. Matador zal als de grotendeels in het ongelijk gestelde partij in de proceskosten worden veroordeeld. Bick c.s. maakt aanspraak op vergoeding van haar volledige proceskosten overeenkomstig artikel 1019h Rv en heeft specificaties van haar kosten ten bedrage van € 10.502,51 (excl. BTW) voor haar advocaat en € 8.591,- voor haar octrooigemachtigde overgelegd. Daartegen is door Matador geen bezwaar gemaakt, zodat de voorzieningenrechter de kosten aan de zijde van Bick c.s. conform haar specificaties zal begroten op € 19.093,51 aan salaris advocaat en octrooigemachtigde, te vermeerderen met € 613,- aan vast recht, in totaal derhalve op € 19.706,51. De wettelijke rente is niet bestreden en kan worden toegewezen.
5. De beslissing
De voorzieningenrechter:
5.1.
wijst het gevorderde af;
5.2.
veroordeelt Matador in de proceskosten, tot op heden aan de zijde van Bick c.s. begroot op € 19.706,51 en bepaalt dat de wettelijke rente over deze kosten verschuldigd zal zijn 8 dagen na heden;
5.3.
verklaart dit vonnis voor wat betreft de proceskostenveroordeling uitvoerbaar bij voorraad.
Dit vonnis is gewezen door mr. E.F. Brinkman en in het openbaar uitgesproken op 22 april 2015 in tegenwoordigheid van de griffier mr. R.P. Soullié.
Voetnoten
Voetnoten Uitspraak 22‑04‑2015
Te vinden op http://www.ie-forum.nl/backoffice/uploads/file/IE-Forum_nl%20Octrooicentrum%20NL%2030%20december%202014,%20IEF%2014610%20(Bick%20Tegen%20Matador).pdf
De voorzieningenrechter begrijpt dat dit gebeurt door middel van de zes bouten of nagels afgebeeld in figuur 2 tussen de rood en groengekleurde onderdelen in