Wetboek van Burgerlijke Rechtsvordering
Rb. Den Haag, 20-07-2016, nr. C/09/487565/ HA ZA 15-529
ECLI:NL:RBDHA:2016:8161
- Instantie
Rechtbank Den Haag
- Datum
20-07-2016
- Zaaknummer
C/09/487565/ HA ZA 15-529
- Vakgebied(en)
Intellectuele-eigendomsrecht (V)
- Brondocumenten en formele relaties
ECLI:NL:RBDHA:2016:8161, Uitspraak, Rechtbank Den Haag, 20‑07‑2016; (Bodemzaak)
- Vindplaatsen
Uitspraak 20‑07‑2016
Inhoudsindicatie
Octrooirecht; octrooi voor voor een ‘floor panel and floor covering consisting of a plurality of such floor panels’ geldig.
Partij(en)
vonnis
RECHTBANK DEN HAAG
Team handel
Zittingsplaats Den Haag
zaaknummer / rolnummer: C/09/487565/ HA ZA 15-529
Vonnis van 20 juli 2016
in de zaak van
de rechtspersoon naar Luxemburgs recht
FLOORING INDUSTRIES LIMITED S.á.r.l.
gevestigd te Betrange, Groot-Hertogdom Luxemburg,
eiseres,
advocaat mr. D. Knottenbelt te Rotterdam,
tegen
de rechtspersoon naar buitenlands recht
INNOVATIONS 4 FLOORING HOLDING N.V.,
gevestigd te Curaçao,
gedaagde,
advocaat mr. L. Ph. J. Baron van Utenhove te Den Haag.
Partijen zullen ook hierna Flooring Industries en I4F genoemd worden.
De zaak is voor Flooring Industries behandeld door mr. P.A.M. Hendrick, mr. R.M. Kleemans en mr. W. de Jong, en voor I4F door mr. B.J. Berghuis van Woortman en mr. ir. M.W. de Koning. Allen zijn advocaat te Amsterdam. Flooring Industries werd voorts bijgestaan door de octrooigemachtigde ir. B.Ch. Ledeboer. I4F werd voorts bijgestaan door de octrooigemachtigden ir. B.W.H. Langenhuijsen, ir. D.C. Settels en O.S. Roelands M.Sc.
1. De procedure
1.1.
Het verloop van de procedure blijkt uit:
- de beschikking van de voorzieningenrechter van deze rechtbank van 19 januari 2015 waarbij het Flooring Industries is toegestaan I4F te dagvaarden in de versnelde bodemprocedure in octrooizaken;
- de dagvaarding van 27 januari 2015 met de producties 1 tot en met 26;
- de conclusie van antwoord van I4F van 8 juli 2015 met één productie;
- de akte overlegging nadere producties van Flooring Industries van 14 oktober 2015 met producties 27 tot en met 36;
- de akte overlegging aanvullende producties van I4F van 14 oktober 2015 met productie 2 (een drietal voorwaardelijke hulpverzoeken);
- een proceskostenoverzicht van beide partijen van 27 november 2015;
- een aanvullend proceskostenoverzicht van beide partijen van 10 december 2015;
- het pleidooi gehouden op 11 december 2015 en de daarbij door partijen overgelegde pleitnotities.
1.2.
Flooring Industries heeft voorts bij akte van 13 november 2015 nadere producties 37 tot en met 40 overgelegd. De rechtbank heeft na bezwaar van I4F partijen bij e-mail van 27 november 2015 bericht dat deze producties worden geweigerd omdat zij niet zijn aan te merken als een reactie op de door I4F nader overgelegde productie 2.
2. De feiten
2.1.
Het Unilin concern brengt onder meer laminaatvloeren op de markt. Flooring Industries maakt deel uit van dit concern en behartigt de intellectuele eigendomsbelangen.
2.2.
I4F heeft een systeem ontwikkeld voor het koppelen van vloerpanelen, het zogenaamde TripleLock-systeem. Zij is houdster van Europees octrooi EP 2 440 724 B1 (verder: EP 724 of het octrooi) voor een ‘floor panel and floor covering consisting of a plurality of such floor panels’. Het octrooi is verleend op 14 mei 2014 op een internationale octrooi-aanvrage van 14 juni 2010, gepubliceerd als WO 2010/143962 (verder: de aanvrage) met inroeping van prioriteit van Nederlandse octrooi-aanvrage NL 2003019 van 12 juni 2009 en internationale octrooi-aanvrage PCT/NL2009/050540 van 9 september 2009. Het octrooi is onder meer van kracht in Nederland. Flooring Industries heeft op 13 februari 2015 tegen de verlening van het octrooi oppositie ingesteld bij het Europees Octrooibureau.
2.3.
EP 724 heeft 30 conclusies, waarvan slechts conclusie 1 onafhankelijk is. Deze conclusie luidt in de oorspronkelijke Engelse taal als volgt.
1. Floor panel (19, 24, 37, 41, 52, 70, 88, 97, 106, 114) comprising:
- a centrally located core (20, 38) provided with an upper side (38a) and a lower side (38b),
- at least one first resilient coupling part (22, 39, 51, 61) and second resilient coupling part (23, 40, 52, 62) connected respectively to opposite edges of the core (20, 38),
o which first coupling part (22, 39, 51, 61) comprises a single upward tongue (25, 41, 56, 73), at least one upward flank (26, 42, 67, 85, 93, 102, 112, 120) lying at a distance from the upward tongue (25, 41, 56, 73) and a single upward groove (27, 43, 53, 61, 79) formed between the upward tongue (25, 41, 56, 73) and the upward flank (26, 42, 67, 85, 93, 102, 112, 120), wherein:
at least a part of a side of the upward tongue (25, 41, 56, 73) facing toward the upward flank (26, 42, 67, 85, 93, 102, 112, 120) extends in the direction of the normal of the upper side (38a) of the core ( 20, 38), wherein the angle enclosed by on the one hand the direction in which at least a part of a side of the upward tongue (25, 41, 56, 73) facing toward the upward flank (26, 42, 67, 85, 93, 102, 112, 120) extends and on the other the normal of the upper side (38a) of the core (20, 38) lies between 0 and 60 degrees,
at least a part of a side of the upward tongue (25, 41, 56, 73) facing toward the upward flank (26, 42, 67,85, 93, 102, 112, 120) forms an upward aligning edge (41 b) for the purpose of coupling the first coupling part (22, 39, 51, 61) to a second coupling part (23, 40, 52, 62) of an adjacent floor panel (24, 37, 41, 52, 70, 88, 97, 106, 114),
at least a part of a side of the upward tongue (25, 41, 56, 73) facing away from the upward flank (26, 42, 67, 85, 93, 102, 112, 120) is oriented substantially vertically and is provided with an outward bulge (31, 44, 53, 71, 89, 98) which is connected substantially rigidly to the upward tongue (25, 41, 56, 73) and adapted for co-action with a second locking element (32, 49, 56, 74, 92) of a second coupling part (23, 40, 52, 62) of an adjacent floor panel (24, 37, 41, 52, 70, 88, 97, 106, 114),
o which second coupling part (23, 40, 52, 62) comprises a single downward tongue (28, 46, 59, 77, 91, 100, 109, 117), at least one downward flank (29, 47, 57, 75) lying at a distance from the downward tongue (28, 46, 59, 77, 91, 100, 109, 117), and a single downward groove (30, 48) formed between the downward tongue (28, 46, 59, 77, 91, 100, 109, 117) and the downward flank (29, 47, 57, 75), wherein:
at least a part of a side of the downward tongue (28, 46, 59, 77, 91, 100, 109, 117) facing toward the downward flank (29, 47, 57, 75) extends in the direction of the normal of the lower side (38b) of the core (20, 38), wherein the angle enclosed by on the one hand the direction in which at least a part of a side of the downward tongue ( 28, 46, 59, 77, 91, 100, 109, 117) facing toward the downward flank (29, 47, 57, 75) extends and on the other the normal of the lower side (38b) of the core (20, 38) lies between 0 and 60 degrees,
at least a part of a side of the downward tongue (28, 46, 59, 77, 91, 100, 109, 117) facing away from the downward flank (29, 47, 57, 75) forms a downward aligning edge (46a, 46b, 46d, 64, 82, 95) for the purpose of coupling the second coupling part (23, 40, 52, 62) to a first coupling part (22, 39, 51, 61) of an adjacent floor panel (24, 37, 41, 52, 70, 88, 97, 106, 114),
the downward flank (29, 47, 57, 75) is oriented substantially vertically and is provided with a recess (32, 49, 56, 74, 92) adapted to at least partially receive the outward bulge (31, 44, 53, 71, 89, 98) of upward tongue (25, 41, 56, 73) of an adjacent floor panel (24, 37, 41, 52, 70, 88, 97, 106, 114),
wherein the upward groove (27, 43, 53, 61, 79) is adapted to receive at least a part of a downward tongue (28, 46, 59, 77, 91, 100, 109, 117) of an adjacent panel (24, 37, 41, 52, 70, 88, 97, 106, 114), and wherein the downward groove (30, 48) is adapted to receive at least a part of an upward tongue (25,41, 56, 73) of an adjacent panel (24, 37, 41, 52, 70, 88, 97, 106, 114), wherein an upper side (41d, 55) of the upward tongue (25, 41, 56, 73) runs inclining downward in the direction of the side (41e) of the upward tongue (25, 41, 56, 73) facing away from upward flank (26, 42, 67, 85, 93, 102, 112, 120) and wherein an upper side (48a) of the downward groove (30, 48) having a likewise inclining orientation upward in the direction of the side (46a) of the downward tongue (28, 46, 59, 77, 91, 100, 109, 117) facing towards to downward flank (29, 47, 57, 75).
2.4.
In de onbestreden Nederlandse vertaling luidt deze conclusie:
1. Vloerpaneel (19, 24, 37, 41, 52, 70, 88, 97, 106, 114), omvattende:
- een centraal gelegen kern (20, 38) voorzien van een bovenzijde (38a)
en een onderzijde (38b),
- ten minste één met overliggende randen van de kern (20, 38)
verbonden eerste verend koppeldeel (22, 39, 51, 61) respectievelijk
tweede verend koppeldeel (23, 40, 52, 62),
o welk eerste koppeldeel (22, 39, 51, 61) ten minste één opwaartse tong (25, 41, 56, 73), ten minste één op afstand van de opwaartse tong (25, 41, 56, 73) gelegen opwaartse flank (26,42, 67, 85, 93, 102, 112, 120), en ten minste één tussen de opwaartse tong (25, 41, 56, 73) en de opwaartse flank (26, 42, 67, 85, 93, 102, 112, 120) gevormde opwaartse groef (27, 43, 53, 61, 79) omvat, waarbij:
ten minste een deel van een naar de opwaartse flank (26, 42, 67, 85, 93, 102, 112, 120) toegekeerde zijde van de opwaartse tong (25, 41, 56, 73) zich uitstrekt in de richting van de normaal van de bovenzijde (38a) van de kern (20, 38), waarbij de hoek die wordt ingesloten door enerzijds de richting waarin ten minste een deel van een naar de opwaartse flank (26, 42, 67, 85, 93, 102, 112, 120) toegekeerde zijde van de opwaartse tong (25, 41, 56, 73) zich uitstrekt en anderzijds de normaal van de bovenzijde (38a) van de kern (20, 38) is gelegen tussen 0 en 60 graden,
ten minste een deel van een naar de opwaartse flank (26, 42, 67, 85, 93, 102, 112, 120) toegekeerde zijde van de opwaartse tong (25, 41, 56, 73) een opwaartse zoekrand (41 b) vormt voor het koppelen van het eerste koppeldeel (22, 39, 51, 61) met een tweede koppeldeel (23, 40, 52, 62) van een naastgelegen vloerpaneel (24, 37, 41, 52, 70, 88, 97, 106, 114)
ten minste een deel van een van de opwaartse flank (26, 42, 67, 85, 93, 102, 112, 120) afgekeerde zijde van de opwaartse tong (25, 41, 56, 73) in hoofdzaak verticaal georiënteerd is en is voorzien van een uitstulping (31, 44, 53, 71, 89, 98) welke in hoofdzaak star is verbonden met de opwaartse tong (25, 41, 56, 73) en is ingericht voor samenwerking met een tweede vergrendelelement (32, 49, 56, 74, 92) van een tweede koppeldeel (23, 40, 52, 62) van een naastgelegen vloerpaneel (24, 37, 41, 52, 70, 88, 97, 106, 114),
o welk tweede koppeldeel (23, 40, 52, 62) een enkele neerwaartse tong (28, 46, 59, 77, 91, 100, 109, 117), ten minste één op afstand van de neerwaartse tong (28, 46, 59, 77, 91, 100, 109, 117) gelegen neerwaartse flank (29, 47, 57, 75), en ten minste één tussen de neerwaartse tong (28, 46, 59, 77, 91, 100, 109, 117) en de neerwaartse flank (29, 47, 57, 75) gevormde neerwaartse groef (30, 48) omvat, waarbij:
ten minste een deel van een naar de neerwaartse flank (29, 47, 57, 75) toegekeerde zijde van de neerwaartse tong (28, 46, 59, 77, 91, 100, 109, 117) zich uitstrekt in de richting van de normaal van de onderzijde (38b) van de kern (20, 38), waarbij de hoek die wordt ingesloten door enerzijds de richting waarin ten minste een deel van een naar de neerwaartse flank (29, 47, 57, 75) toegekeerde zijde van de neerwaartse tong (28, 46, 59, 77, 91, 100, 109, 117) zich uitstrekt en anderzijds de normaal van de onderzijde (38b) van de kern (20, 38) is gelegen tussen 0 en 60 graden
ten minste een deel van een van de neerwaartse flank (29, 47, 57, 75) afgekeerde zijde van de neerwaartse tong (28, 46, 59, 77, 91, 100, 109, 117) een neerwaartse zoekrand (46a, 46b, 46d, 64, 82, 95) vormt voor het koppelen van het tweede koppeldeel (23, 40, 52, 62) met een eerste koppeldeel (22, 39, 51, 61) van een naastgelegen vloerpaneel (24, 37, 41, 52, 70, 88, 97, 106, 114),
de neerwaartse flank (29, 47, 57, 75) in hoofdzaak verticaal georiënteerd is en is voorzien van een uitsparing (32, 49, 56, 74, 92) ingericht om de uitstulping (31, 44, 53, 71, 89, 98) van de opwaartse tong (25, 41, 56, 73) van een naastgelegen vloerpaneel (24, 37, 41, 52, 70, 88, 97, 106, 114) ten minste gedeeltelijk op te nemen,
waarbij de opwaartse groef (27, 43, 53, 61, 79) is ingericht voor opname van ten minste een deel van een neerwaartse tong (28, 46, 59, 77, 91, 100, 109, 117) van een naastgelegen paneel (24, 37, 41, 52, 70, 88, 97, 106, 114), en waarbij de neerwaartse groef (30, 48) is ingericht voor opname van ten minste een deel van een opwaartse tong (25, 41, 56, 73) van een naastgelegen paneel (24, 37, 41, 52, 70, 88, 97, 106, 114), waarbij een bovenzijde (41d, 55) van de opwaartse tong (25, 41, 56, 73) hellend omlaag loopt in de richting van een van de opwaartse flank (26, 42, 67, 85, 93, 102, 112, 120) gekeerde zijde (41e) van de opwaartse tong (25, 41, 56, 73) en waarbij een bovenzijde (48a) van de neerwaartse groef (30, 48) een soortgelijke hellende opwaartse oriëntatie heeft in de richting van de naar de neerwaartse flank (29, 47, 57, 75) gekeerde zijde (46a) van de neerwaartse tong (28, 46, 59, 77, 91, 100, 109, 117).
2.5.
De beschrijving van het octrooi houdt onder meer het volgende in.
[0003] The invention has for its object to provide an improved floor panel which can be coupled in improved manner to an adjacent floor panel.
[0004] (…) Because the coupling parts are given a specific form and moreover take a (somewhat) resilient form, the substantially complementarily formed coupling parts of adjacent floor panels can be coupled to each other relatively simply, but durably and efficiently. During coupling of adjacent floor panels a force will here be exerted on one or both coupling parts, whereby the one or both coupling parts will deform elastically (move resiliently), as a consequence of which the volume taken up by the downward groove and/or upward groove will be increased such that the upward tongue and the downward tongue can be arranged relatively simply in respectively the downward groove and the upward groove. By subsequently allowing the forced coupling parts to move back resiliently to the original position a reliable, locked coupling will be realized between the two coupling parts, and thereby between the two floor panels. This locked coupling, wherein both coupling parts mutually engage in relatively reliable manner, will counter friction of parts of the coupling against each other, whereby the coupling as such will generally generate relatively little noise. The applied aligning edges, generally also referred to as chamferings or guide surfaces, herein facilitate hooking together of the two coupling parts by the substantially linear displacement of the coupling parts relative to each other. Applying the mutually co-acting locking elements prevents a substantially vertical displacement of the two floor panels relative to each other. Because both the first locking element and the second locking element are connected substantially rigidly to respectively the upward tongue and the downward flank, a relatively durable and strong locking can be realized, since no use is made of relatively weak resilient locking parts in which material fatigue could moreover occur relatively quickly. The locking in the floor panel according to the invention is realized by deforming the first coupling part and/or the second coupling part relative to the core, whereby the locking elements can engage round each other or into each other. As a result of the rigid connection to the upward tongue and the downward flank, deformation of the locking elements themselves does not occur, or hardly so. The first locking element can otherwise form an integral part of the upward tongue, wherein the first locking element can for instance be formed by a protruding (outward bulging) or recessed (inward bulging) edge deformation of the upward tongue. The second locking element can also form an integral part of the downward tongue, wherein the second locking element can for instance be formed by a recessed or protruding edge deformation of the downward flank. The upward groove of the first coupling part will generally be given a form such that it is adapted for receiving in locked manner at least a part of a downward tongue of a second coupling part of an adjacent floor panel. A first locking will thus be formed by confining the downward tongue of a floor panel in the upward groove of an adjacent floor panel and by confining the upward tongue of the adjacent floor panel in the upward groove of the floor panel, and a second locking will be formed by applying the locking elements. The normal is understood to mean a normal vector of a plane, i.e. a vector perpendicular to this plane and thus originating from said plane. If the upper side or the lower side of the core were to be not completely flat, for instance because the upper side or the lower side of the core takes a form which is (to some extent) profiled, a plane formed by the upper side or lower side of the core can then be taken as basis to enable definition of an unambiguous direction of the normal of the upper side or the lower side of the core. Since the floor panel will generally support on a flat, horizontal surface, the direction of the normal of both the upper side of the core and the lower side of the core will then be oriented substantially vertically. The characteristic orientation of the side of the upward tongue facing toward the upward flank, the side of the downward tongue facing toward the downward flank, provides for a first locking mechanism (inner lock) during coupling of the floor panel to an adjacent floor panel. (…) In addition, at a distance from the first locking mechanism a second locking mechanism (outer lock) is formed by the locking elements which co-act mutually, and furthermore at a distance from the above mentioned (inner) tongue walls, in a coupled position of two floor panels.
(…)
[0030] An upper side 41d of upward tongue 41 does however extend in the direction of the normal N1 of upper side 38a of core 38, and runs inclining downward in the direction of the side 41e of upward tongue 41 facing away from upward flank 42. This chamfering provides the option of giving the complementary
second coupling part 40 a more robust and therefore stronger form.
(…) Because upper side 41d of upward tongue 41 has an inclining orientation, an upper side 48a of downward groove 48 likewise has an inclining orientation, whereby the (average) distance between upper side 48a of downward groove 48 and an upper side 40a of second coupling part 40 is sufficiently large to impart sufficient strength to second coupling part 40 as such.
2.6.
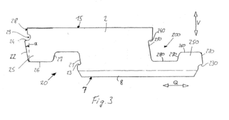
Bij het octrooi behoort onder meer de volgende figuur 6, waaraan de verklaring van de cijfers (in rood) door de rechtbank is toegevoegd aan de hand van de beschrijving.

2.7.
De aanvrage bevat dezelfde figuur 6. Pagina’s 14 en 15 van de aanvrage beschrijven figuur 6. De beschrijving in de aanvrage houdt verder onder meer het volgende in.
(pagina 3, regels 12 tot en met 17)

(pagina 8, regels 12 tot en met 19)

(pagina 14, regels 24 tot en met 30)

(pagina 15, regels 25 tot en met 28)

2.8.
Conclusies 1 en 25 van de aanvrage luiden als volgt.




(…)

2.9.
De navolgende publicaties 2.9.1 tot en met 2.9.9 behoren voor het octrooi tot de stand van de techniek.
2.9.1.
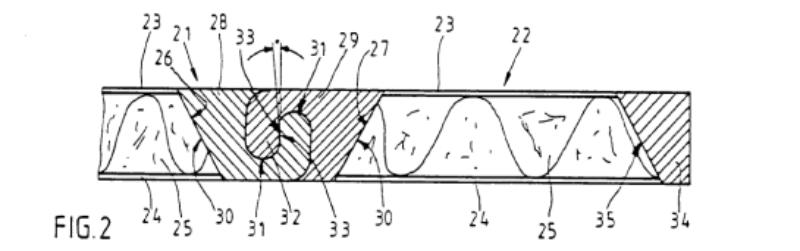
Amerikaans octrooi-aanvrage US 2005/0183370 A1, gepubliceerd op 25 augustus 2005 (verder: US 370) betreft een interlocking tile. De octrooi-aanvrage bevat de navolgende figuur 2.

De beschrijving van US 370 vermeldt in paragrafen [0051] – [0052] en [0054] het volgende.


(…)
[0054] (…)

2.9.2.
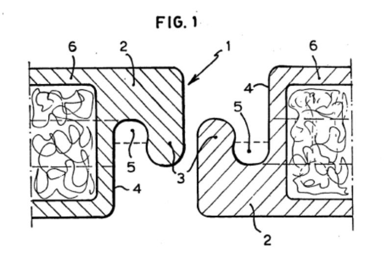
Franse octrooi nummer 1.175.582 (verder: FR 582) is gepubliceerd op 27 maart 1959 en betreft een Plancher à éléments polygonaux en caoutchouc munis de moyens pour leur incastrement réciproque. Het octrooi bevat de navolgende figuur 12.

2.9.3.
Duits octrooi DE 4122099 C1 (verder: DE 099) is gepubliceerd op 1 oktober 1992 en betreft een Sandwichelement in Form von Platten, Schalen en dergleichen. Het octrooi bevat de navolgende figuur 2.

2.9.4.
Duits octrooi-aanvrage DE 10 2005 059 540 A1 (verder: DE 540) is openbaar gemaakt op 14 juni 2007 en betreft Lösbar aneinander zu befestigende, flächige Bauteile, sowie Bauteil. De aanvrage bevat de navolgende figuren 1 en 2.


2.9.5.
Internationale octrooi-aanvrage WO 01/02670 A1 (verder: WO 670) is openbaar gemaakt op 11 januari 2001 en betreft een Panel and Panel Fastening System. De aanvrage bevat de navolgende figuren 3 en 5.1.


2.9.6.
Europese octrooi-aanvrage 1 367 194 A2 (verder: EP 194) is gepubliceerd op 3 december 2003 en betreft een Fussbodenpaneel und Verfahren zum Verlegen eines solches Paneels. De aanvrage bevat de navolgende figuren 3 en 4.


2.9.7.
Het Duitse gebruiksmodel DE 20203311 U1 (verder: DE 311) is gepubliceerd op 13 juni 2002 en betreft een Paneelelement. Het bevat de navolgende figuur 2.

2.9.8.
Het Duitse gebruiksmodel DE 20 2008 006 250 U1 (verder: DE 250) is gepubliceerd op 2 oktober 2008 en betreft een Verbindung. Het bevat de navolgende figuur.

2.9.9.
Europese octrooi-aanvrage 0 085 196 A1 (verder: EP 196) is gepubliceerd op 10 augustus 1983 en betreft een Couplable mat. De aanvrage bevat de navolgende figuur 1.

3. Het geschil
3.1.
Flooring Industries vordert vernietiging van het Nederlandse deel van EP 724 met veroordeling van I4F in de volgens artikel 1019h Rv1.te begroten proceskosten.
3.2.
Flooring Industries baseert deze vorderingen op de navolgende, zakelijk weergegeven stellingen.
Deelkenmerken
3.2.1.
Conclusie 1 van EP 724 kan worden opgedeeld in de navolgende deelkenmerken.





De Nederlandse vertaling van deze kenmerken is als volgt.






Uitbreiding van materie
3.2.2.
EP 724 is nietig vanwege uitbreiding van materie. Conclusie 1 vindt geen basis in de aanvrage. Deelkenmerk I.A.1.ii.a is niet terug te vinden in de oorspronkelijke conclusies. Dit deelkenmerk is als volgt omschreven in het octrooi respectievelijk de aanvrage:
EP 724:

aanvrage:

3.2.3.
De first locking element is verdwenen uit conclusie 1 en vervangen door outward bulge. De onder 2.7 vermelde citaten uit de beschrijving van de aanvrage op pagina 3, 8 en 14 zijn geen basis voor deze vervanging omdat deze geen bulge vermelden die is connected substantially rigid met de upward tongue zoals vereist is door conclusie 1 van het octrooi.
3.2.4.
Ook deelkenmerk I.B.2.i. is niet terug te vinden in de oorspronkelijke conclusies. Dit deelkenmerk is als volgt omschreven in het octrooi respectievelijk de aanvrage:
EP 724:

aanvrage:

3.2.5.
De second locking element which is connected substantially rigidly to the downward flank is vervangen door is oriented substantially vertically and is provided with a recess. Een second locking element which is connected substantially rigidly met de downward flank is echter niet gelijk te stellen aan een recess. De beschrijving van de aanvrage op pagina 3, regels 15 – 17 noch pagina 15, regels 26 – 28 (waar figuur 6 wordt toegelicht) geeft hiervoor een basis omdat de oorspronkelijke conclusie 1 vereist dat de recess (als second locking element) substantially rigidly connected is met de downward flank.
3.2.6.
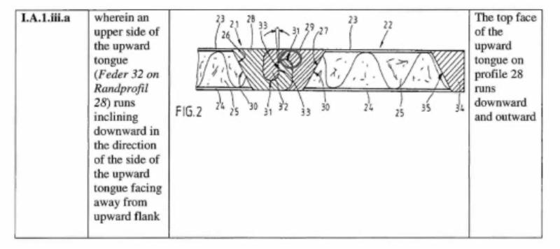
Ten aanzien van deelkenmerk 1.A.1.iii.a is sprake van een intermediate generalisation. Dit kenmerk is gebaseerd op pagina 14, regels 24 – 28 van de beschrijving met betrekking tot figuur 6. In het kenmerk is echter niet overgenomen An upper side 41d…does extend in the direction of normal N1 of upper side (38a) of the core (38). In de variant van figuur 6 lijkt hier inherent aan voldaan te zijn omdat de upper side (38a) altijd horizontaal is gericht. In conclusie 1 van het octrooi is echter niet vermeld dat upper side 38a horizontaal en vlak is. Deze kan bijvoorbeeld de vorm van een zaagtand hebben. Het vereiste van de normaal kan daarom in conclusie 1 niet worden weggelaten.
Nieuwheid
3.2.7.
De maatregelen van conclusie 1 zijn bekend uit US 370. Deelkenmerken I.A.1.iii.a en I.B.3.ii.a worden als hieronder weergegeven geopenbaard door figuur 2.


3.2.8.
De maatregelen van conclusie 1 zijn bekend uit FR 582. Deelkenmerken I.A.1.i.b en I.B.1.i.c worden als hieronder weergegeven geopenbaard door figuur 2.



3.2.9.
De maatregelen van conclusie 1 zijn bekend uit DE 099. Deelkenmerk I.A.1.iii.a wordt als hieronder weergegeven geopenbaard door figuur 2.

3.2.10.
De maatregelen van conclusie 1 zijn bekend uit DE 540. Deelkenmerk I.A.1.iii.a wordt als hieronder weergegeven geopenbaard door figuur 2.

3.2.11.
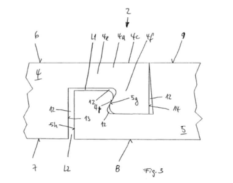
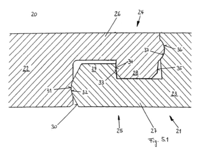
De maatregelen van conclusie 1 zijn bekend uit WO 670. Deelkenmerken I.A.1.ii.a, I.A.1.iii.a en I.B.3.ii.a worden als hieronder weergegeven geopenbaard door figuur 5.1.



3.2.12.
De maatregelen van conclusie 1 zijn bekend uit EP 194. Deelkenmerken I.A.1.ii.a en I.A.1.iii.a wordt als hieronder weergegeven geopenbaard door figuren 3 en 4.



Inventiviteit
3.2.13.
Conclusie 1 van EP 724 is nietig vanwege gebrek aan inventiviteit. Voor zover de door EP 724 geclaimde materie nieuw zou zijn ten opzichte van FR 582, DE 099, DE 540 en US 370 zijn de verschilmaatregelen triviaal. Het gaat om workshop modifications die door de vakman routinematig zouden worden geïmplementeerd.
3.2.14.
De in EP 724 geclaimde vloerpaneelverbinding ligt echter ook voor de hand wanneer de ‘problem and solution approach’ wordt gevolgd.
3.2.15.
DE 311 openbaart alle maatregelen van conclusie 1 behalve de als samenwerkende uitstulping en uitsparing uitgevoerde additionele vergrendelmiddelen uit de deelkenmerken I.A.1.ii.a en I.B.2.i. Uitgaande van
DE 311 als vertrekpunt, zou de vakman DE 250 in aanmerking nemen en door de combinatie tot de in EP 724 geclaimde vloerverbinding komen.
3.2.16.
Ook wanneer wordt uitgegaan van EP 196, waarin eveneens alle maatregelen van conclusie 1 worden geopenbaard behalve de hiervoor genoemde samenwerkende uitstulping en uitsparing, ligt de in EP 724 geclaimde vloerverbinding door combinatie met DE 250 voor de vakman voor de hand.
3.2.17.
Indien - ten onrechte zo meent Flooring Industries - wordt aangenomen dat WO 670 geen ondersnijding openbaart als bedoeld in deelkenmerken I.A.1.i.a en I.B.1.i.a, dan is conclusie 1 in het licht van WO 670 niet inventief omdat de vakman de uitvoeringsvoorbeelden van figuur 5.1 en figuur 3 van WO 670 zou combineren en aldus tot de in EP 724 geclaimde vloerverbinding zou komen.
Volgconclusies
3.2.18.
De volgconclusies zijn evenmin nieuw noch inventief.
3.3.
I4F voert verweer en heeft tegen de nietigheidsargumenten van Flooring Industries, voor zover thans van belang, zakelijk weergegeven het navolgende ingebracht.
Toegevoegde materie
3.3.1.
Voor deelkenmerken I.A.1.ii.a en I.B.2.i is basis te vinden in conclusie 25 van de aanvrage en de beschrijving op pagina 8, regels 12 – 19 en figuur 6 en de bijbehorende figuurbeschrijving. De term comprises (in het Nederlands: omvat) laat de optie open dat het eerste en tweede locking element slechts bestaat uit de outward bulge en de recess.
3.3.2.
Basis voor deelkenmerk I.A.1.iii.a kan eveneens worden gevonden in figuur 6 van de aanvrage en de bijbehorende beschrijving. Er is geen sprake van een intermediate generalisation. De zinsnede die niet in conclusie 1 is opgenomen betreft een alternatieve formulering van de wél geclaimde maatregel. Doordat de bovenzijde van de opwaartse tong hellend omlaag loopt, strekt die bovenzijde zich tevens uit in de richting van de normaal van de bovenzijde van de kern van het vloerpaneel. Dat is ook het geval indien de bovenzijde van het paneel niet volledig vlak is omdat het niet de vorm van de bovenzijde van het paneel bepaalt hoe de normaal loopt, maar het vlak waarin het paneel zich uitstrekt.
Nieuwheid
3.3.3.
In US 370 ontbreken onder meer deelkenmerken I.A.1.iii.a en I.B.3.ii.a. Zowel de bovenzijde van de opwaartse tong als de bovenzijde van de neerwaartse groef is volgens US 370 horizontaal uitgevoerd zoals onderstaand gemarkeerd in figuur 2.

3.3.4.
In FR 582 ontbreken onder meer de deelkenmerken I.A.1.i.b en I.B.1.i.b. De hoek die zijde 19a ten opzichte van de normaal insluit, wordt in FR 582 niet beschreven. In de onderstaande weergave van figuur 12 zijn de normaal en de richting van de zijde 19a ingetekend. De hoek is te berekenen aan de hand van de verhoudingen tussen de overliggende en opstaande zijde van de driehoeken. Daaruit volgt een hoek van meer dan 60 graden.

Ook ontbreekt een neerwaartse zoekrand in de zin van deelkenmerk I.B.1.i.c.
3.3.5.
Deelkenmerken I.A.1.iii.a en I.B.3.ii.a ontbreken ook in DE 099,
DE 540, WO 670 en EP 194.
Inventiviteit
3.3.6.
De vakman heeft geen enkele reden de vertanding volgens DE 250 te implementeren in de koppeling volgens DE 311 die al een vergrendeling door middel van een uitstulping en een uitsparing openbaart. De vakman die uitgaande van EP 196 DE 250 raadpleegt zou niet de outer lock deelkenmerken I.A.1.ii.a en I.B.2.a implementeren. Ook worden de schuine bovenzijden van deelkenmerken I.A.1.iii.a en I.B.3.ii.a niet geopenbaard door DE 311, DE 250 of EP 196. Noch de combinatie van DE 311 met DE 250, noch in de combinatie EP 196 en DE 250 leidt tot de uitvinding volgens conclusie 1 van EP 724. Een combinatie van de figuren 3 en 5.1 van WO 670 leidt evenmin tot de uitvinding. Reeds daarom is conclusie 1 inventief.
Volgconclusies
3.3.7.
De volgconclusies zijn eveneens nieuw en inventief.
4. De beoordeling
Bevoegdheid
4.1.
De rechtbank is internationaal bevoegd kennis te nemen van de vordering tot vernietiging van het Nederlandse deel van EP 724 op grond van artikel 24 lid 4 EEX II-Vo.2.
Schorsing van de procedure
4.2.
I4F heeft bepleit dat de procedure wordt aangehouden in afwachting van een beslissing op de ingestelde oppositie. Flooring Industries heeft zich hiertegen verzet.
4.3.
De rechtbank ziet, mede gezien de te verwachten duur van de oppositieprocedure en haar beoordeling van de geldigheid van het octrooi, onvoldoende aanleiding voor schorsing van de onderhavige procedure.
Toegevoegde materie
4.4.
Flooring Industries bestrijdt niet dat de aanvrage basis biedt voor de vervanging van een eerste vergrendelelement (a first locking element) en een tweede vergrendelelement (a second locking element) door respectievelijk een uitstulping (bulge) en een uitsparing (recess). Het bezwaar van Flooring Industries gaat uit van de stelling dat de gemiddelde vakman (verder: de vakman) in de aanvrage nergens een uitstulping zal aantreffen die in hoofdzaak star is verbonden (namelijk met de opwaartse tong) maar juist wél en uitsluitend een uitsparing die in hoofdzaak star is verbonden (namelijk met de neergaande flank).
4.5.
Dit standpunt wordt verworpen. Bijvoorbeeld het uitvoeringsvoorbeeld van figuur 6 en de beschrijving daarvan op pagina 14, regels 29 – 30, en 15, regels 26 – 28, van de aanvrage leert de vakman duidelijk en ondubbelzinnig een vloerpaneel waarbij het eerste vergrendelelement bestaat uit uitsluitend een uitstulping en het tweede vergrendelelement uit uitsluitend een uitsparing die een integraal onderdeel uitmaken van de opwaartse tong respectievelijk de neergaande flank. De vakman zal door de formulering van conclusie 1 in de aanvrage niet tot een ander inzicht worden gebracht, maar aannemen dat een vergrendelelement dat is verbonden met de tong respectievelijk de flank kennelijk tevens inhoudt een vergrendelelement dat een integraal onderdeel uitmaakt van de tong respectievelijk de flank. Reeds daarin is voldoende basis te vinden voor de wijzigingen in conclusie 1 van het octrooi.
4.6.
Naar de rechtbank begrijpt, aanvaardt Flooring Industries de opvatting van I4F ten aanzien van deelkenmerk 1.A.1.iii.a in zoverre dat, wanneer een bovenzijde als bedoeld in dit deelkenmerk van conclusie 1 (41d in figuur 6 van het octrooi, verder te noemen: vlak A) hellend omlaag loopt in de richting van de van de opwaartse flank gekeerde zijde van de opwaartse tong (vlak 41e in figuur 6 van het octrooi, verder te noemen: vlak B), dit tevens betekent dat vlak A zich uitstrekt in de richting van de normaal, indien althans bovenzijde 38a horizontaal is gericht (en derhalve de normaal verticaal). Voor het geval de bovenzijde 38a niet geheel vlak is, definieert het octrooi echter de normaal eveneens als verticaal gericht. Voor dat geval vermeldt de beschrijving van het octrooi in paragraaf [0004] immers: The normal is understood to mean a normal vector of a plane, i.e. a vector perpendicular to this plane and thus originating from said plane. If the upper side or the lower side of the core were to be not completely flat, for instance because the upper side or the lower side of the core takes a form which is (to some extent) profiled, a plane formed by the upper side or lower side of the core can then be taken as basis to enable definition of an unambiguous direction of the normal of the upper side or the lower side of the core. Since the floor panel will generally support on a flat, horizontal surface, the direction of the normal of both the upper side of the core and the lower side of the core will then be oriented substantially vertically. In alle door conclusie 1 van het octrooi bestreken gevallen strekt vlak A zich derhalve uit in de richting van een verticaal gerichte normaal, zoals dit ook door de aanvrage wordt geopenbaard.
4.7.
EP 724 bevat gezien het voorgaande geen toegevoegde materie.
Nieuwheid ten opzichte van US 370, DE 099 en DE 540
4.8.
Ronding 46 te zien in figuur 2 van US 370 is geen vlak. De vakman zal het niet aanmerken als een hellend omlaag lopende bovenzijde als bedoeld in deelkenmerk (maatregel) I.A.1.iii.a van conclusie 1 (vlak A) in de richting van een van de opwaartse flank gekeerde zijde van de opwaartse tong (vlak B), te meer omdat hij de functie van vlak A in aanmerking zal nemen. Blijkens paragraaf [0030] van de beschrijving van EP 724 heeft vlak A de functie het complementaire coupling part (40) te verstevigen (k. 13 r 2 – 4: This chamfering provides the option of giving the complementary second coupling part 40 a more robust and therefore stronger form). De ronding 46 van US 370 heeft daarentegen tot doel het tot stand brengen van een koppeling. De vakman zal onderkennen dat het geen versteviging van de complementaire tong van enige praktische betekenis biedt. Hetzelfde geldt mutatis mutandis voor ronding 36 van US 370 (eveneens te zien in figuur 2). US 370 openbaart aldus in ieder geval niet duidelijk en ondubbelzinnig deelkenmerk I.A.1.iii.a en evenmin I.B.3.ii.a.
4.9.
Het voorgaande geldt eveneens voor de ronde bovenzijde 31 in figuur 2 van DE 099 en voor de tong die is afgebeeld in figuur 2 van DE 540. De raaklijn aan de kromming van genoemde bovenzijde en tong verloopt weliswaar omlaag, maar een hellend omlaag verlopende bovenzijde van de opwaartse tong is daarin niet aan te wijzen. Deelkenmerk I.A.1.iii.a en I.B.3.ii.a ontbreken ook in deze documenten.
Nieuwheid ten opzichte van FR 582
4.10.
I4F voert terecht aan dat uit FR 582 niet duidelijk en ondubbelzinnig een ondersnijding van de tong is af te leiden die een hoek heeft tussen de 0 en 60 graden. Voor zover dat zou moeten volgen uit figuur 12 van FR 582 is Flooring Industries niet ingegaan op de berekening van de hoek door I4F zodat de rechtbank die volgt. Ook ontbreekt in FR 582 een zoekrand aan de neerwaartse tong aan de van de neerwaartse flank afgekeerde zijde (vergelijk nummer 46b in de hiervoor weergegeven figuur 6 van het octrooi). Die zijde vormt op het oog een loodrechte hoek met de onderzijde van het paneel van FR 582.
FR 582 openbaart aldus in ieder geval niet de deelkenmerken I.A.1.i.b en I.B.1.i.c.
Nieuwheid ten opzichte van EP 194 en WO 670
4.11.
Deelkenmerk I.A.1.iii.a onderscheidt twee vlakken, hiervoor genoemd vlak A en vlak B. Blijkens de hiervoor onder 3.2.12 weergegeven tekeningen merkt Flooring Industries het vlak 220 van figuur 3 van EP 194 (zie ook figuur 3 als opgenomen in 2.9.6 met beter leesbare getallen) aan als deel van vlak B, dat volgens deelkenmerk I.A.1.ii.a is voorzien van een uitstulping, en eveneens als vlak A. Derhalve is geen te onderscheiden vlak A aan te wijzen dan wel – indien vlak 220 moet worden aangemerkt als vlak A – ontbreekt een vlak B volgens deelkenmerk I.A.1.ii.a. EP 194 openbaart derhalve in ieder geval niet deelkenmerk I.A.1.ii.a dan wel deelkenmerk I.A.1.iii.a.
4.12.
Het voorgaande geldt evenzeer voor WO 670. Bovendien ontbreekt een complementair deel in de bovenzijde van de neerwaartse groef volgens deelkenmerk I.B.3.ii.a.
4.13.
Gezien het voorgaande moet de materie van conclusie 1 van het octrooi nieuw worden geacht.
Inventiviteit
4.14.
Flooring Industries maakt niet inzichtelijk waarom moet worden geoordeeld dat de verschilmaatregelen tussen EP 724 en FR 582, DE 099, DE 540 en US 370 triviaal zouden zijn en dat de vakman die routinematig zou implementeren. Die stelling moet daarom als onvoldoende gemotiveerd worden verworpen.
4.15.
I4F wijst er terecht op dat ook in DE 311, DE 250 en EP 196 de deelkenmerken I.A.1.iii.a en en I.B.3.ii.a niet worden geopenbaard noch – in ieder geval – deelkenmerk I.B.3.ii.a in de figuren 3 en 5.1 van WO 670. De combinaties die de vakman volgens Flooring Industries zou maken, leiden dus niet tot de materie van conclusie 1. Conclusie 1 moet daarom inventief worden geacht.
Volgconclusies
4.16.
Nu conclusie 1 nieuw en inventief wordt geoordeeld, geldt hetzelfde voor de daarvan afhankelijke voortbrengselconclusies 2 tot en met 27 en de daarvan afhankelijke werkwijzeconclusies 28 tot en met 30.
Conclusie
4.17.
De gevorderde vernietiging van het Nederlandse deel van EP 724 moet worden afgewezen met veroordeling van Flooring Industries in de proceskosten. I4F heeft zich terecht op het standpunt gesteld dat, nu het hier gaat om een zuivere nietigheidsprocedure, artikel 1019h Rv niet van toepassing is. De proceskosten worden begroot met toepassing van het liquidatietarief op € 1.356,- (drie punten x € 452,-) aan salaris advocaat en € 613,- aan verschotten, derhalve tot een totaal van € 1.969,-.
5. De beslissing
De rechtbank:
5.1.
wijst het gevorderde af;
5.2.
veroordeelt Flooring Industries in de proceskosten, tot dit vonnis aan de zijde van I4F begroot op € 1.969,- ;
5.3.
verklaart de proceskostenveroordeling uitvoerbaar bij voorraad.
Dit vonnis is gewezen door mr. M.P.M. Loos, mr. P.G.J. de Heij en mr. ir. J.H.F. de Vries, en in het openbaar uitgesproken op 20 juli 2016.
Voetnoten
Voetnoten Uitspraak 20‑07‑2016
Verordening (EU) Nr. 1215/2012 van het Europees Parlement en de Raad van 12 december 2012 betreffende de rechterlijke bevoegdheid, de erkenning en de tenuitvoerlegging van beslissingen in burgerlijke en handelszaken