Wetboek van Burgerlijke Rechtsvordering
Rb. Den Haag, 27-05-2020, nr. C/09/578930 / HA ZA 19-884 en C/09/579611 HA ZA 19-936
ECLI:NL:RBDHA:2020:4632
- Instantie
Rechtbank Den Haag
- Datum
27-05-2020
- Zaaknummer
C/09/578930 / HA ZA 19-884 en C/09/579611 HA ZA 19-936
- Vakgebied(en)
Intellectuele-eigendomsrecht (V)
- Brondocumenten en formele relaties
ECLI:NL:RBDHA:2020:4632, Uitspraak, Rechtbank Den Haag, 27‑05‑2020; (Bodemzaak, Eerste aanleg - meervoudig)
- Vindplaatsen
Uitspraak 27‑05‑2020
Inhoudsindicatie
Octrooirecht. Telecommunicatie. EGPRS-extensie van GSM-standaard. Octrooi niet inventief. Vervolgzittingen over niet-technische verweren gaan niet door. Tussenvonnis omdat proceskosten nog niet gespecificeerd zijn.
Partij(en)
vonnis
RECHTBANK DEN HAAG
Team handel
Vonnis van 27 mei 2020 (bij vervroeging)
in de zaak met zaaknummer / rolnummer: C/09/578930 / HA ZA 19-884 van
de rechtspersoon naar vreemd recht
SISVEL INTERNATIONAL S.A.,
te Luxemburg, Luxemburg,
eiseres in conventie,
verweerster in reconventie,
advocaat mr. G. Kuipers te Amsterdam
tegen
1. de rechtspersoon naar vreemd recht
BBK ELECTRONICS CORPORATION LTD,
te Dongguan, Volksrepubliek China,
gedaagde in conventie,
eiseres in reconventie,
advocaat mr. K.A.J. Bisschop te Amsterdam,
2. de rechtspersoon naar vreemd recht
GUANGDONG OPPO MOBILE TELECOMMUNICATIONS CO LTD,
te Dongguan, Volksrepubliek China,
3 OLEADING B.V.,
te Rotterdam,
4. de rechtspersoon naar vreemd recht
GUANGDONG ONEPLUS MOBILE COMMUNICATION CO LTD,
te Dongguan City, Volksrepubliek China,
5. de rechtspersoon naar vreemd recht
ONEPLUS TECHNOLOGY (SHENZHEN) CO LTD,
te Shenzhen, Volksrepubliek China,
6. de rechtspersoon naar vreemd recht
SONIC SKY LIMITED,
te Hong Kong, Speciale Administratieve Regio Hong Kong van de Volksrepubliek China,
7 REFLECTION INVESTMENT B.V.,
te Amsterdam,
8. de rechtspersoon naar vreemd recht
EASTERN SUN TRADING LIMITED,
te Hong Kong, Speciale Administratieve Regio Hong Kong van de Volksrepubliek China,
9 EASTERN SUN TRADING B.V.,
te Breda,
10 VCK LOGISTICS SUPPLY CHAIN SOLUTIONS B.V.,
te Schiphol-Rijk, gemeente Haarlemmermeer,
gedaagden in conventie,
eiseressen in reconventie,
advocaat mr. R.E. Ebbink te Amsterdam,
en in de zaak met zaaknummer / rolnummer C/09/579611 / HA ZA 19-936 van
de rechtspersoon naar vreemd recht
SISVEL INTERNATIONAL S.A.,
te Luxemburg, Luxemburg,
eiseres in conventie,
verweerster in reconventie,
advocaat mr. G. Kuipers te Amsterdam,
tegen
1. de rechtspersoon naar vreemd recht
SHENZEN TINNO MOBILE TECHNOLOGY,
te Shenzen, Volksrepubliek China,
2. de rechtspersoon naar vreemd recht
WIKO SAS,
te Marseille, Frankrijk
3. de rechtspersoon naar vreemd recht
WIKO BENELUX SPRL,
te Sint-Pieters-Woluwe, België,
4 WIKO NETHERLANDS B.V. in liquidatie,
te Amsterdam,
gedaagden in conventie,
eiseressen in reconventie,
advocaat mr. A.M.E. Verschuur te Amsterdam.
Partijen zullen hierna Sisvel, Oppo cs en Wiko cs genoemd worden, gedaagden in zaak 19-884 worden afzonderlijk als BBK (gedaagde 1) en Oppo (gedaagde 2 t/m 10) aangeduid. Oppo cs en Wiko cs worden gezamenlijk ook gedaagden genoemd.
De zaak is voor Sisvel inhoudelijk behandeld door haar procesadvocaat en door mrs. O.V. Lamme, S. Derksen en Y. Song, advocaten te Amsterdam, bijgestaan door de octrooigemachtigden mr. ir. E.H. Visscher en mr. ir. F.A.T. Looijengoed. De zaak is voor Oppo inhoudelijk behandeld door mrs. D. de Lange, R. Broekstra, en B. van der Maazen, advocaten te Amsterdam, bijgestaan door de octrooigemachtigde dr. H. van der Heijden. BBK is bijgestaan door haar procesadvocaat en door mr. S. Dussault, advocaat te Amsterdam en voor Wiko cs zijn opgetreden haar procesadvocaat en mr. J.M. Boelens.
1. De procedures
1.1.
Het verloop van de procedure in de zaak 19-884 blijkt uit:
- -
de beschikking van de voorzieningenrechter van deze rechtbank van 14 juni 2019 waarbij Sisvel verlof is verleend Oppo cs te dagvaarden in de versnelde bodemprocedure in octrooizaken (hierna: VRO);
- -
de dagvaarding van 27 juni 2019, tevens houdende incidentele vordering tot het treffen van een voorlopige voorziening ex art. 223 Rv1.;
- -
de akte houdende overlegging producties namens Sisvel van 21 augustus 2019 met producties EP1 t/m EP19;
- -
de akte houdende overlegging producties namens Sisvel met producties EP20 en EP21;
- -
het proces-verbaal van de op 30 september 2019 gehouden regiezitting;
- -
de conclusie van antwoord technische verweren, tevens eis in reconventie namens BBK van 23 oktober 2019, met productie B-GP1;
- -
de conclusie van antwoord in conventie, tevens eis in reconventie technisch verweer namens Oppo van 23 oktober 2019, met producties O-GP1 t/m O-GP-24;
- -
de conclusie van antwoord (in conventie en in het (223 Rv) incident) niet-technische verweren namens BBK van 30 oktober 2019 met producties B-GP2 t/m B-GP-8;
- -
de conclusie van antwoord, tevens incidentele vordering ex art. 1019a (in verbinding met 843a) Rv tevens verzoek tot toepassing van art. 22 Rv (FRAND verweer en overige weren), namens Oppo van 30 oktober 2019 met producties O-GP25 t/m O-GP42,
- -
de conclusie van antwoord in het (843a Rv) incident namens Sisvel van 11 december 2019;
- -
de conclusie van antwoord in reconventie tevens akte houdende overlegging producties (ten aanzien van gedaagde sub 1 en gedaagden sub 2 t/m 10) van 18 december 2019 met producties EP20 en EP21 (dit moet zijn EP22 en EP23, rechtbank);
- -
de incidentele voorwaardelijke vordering ex art. 843a Rv namens Sisvel van 18 december 2019 (alleen in de zaken tegen Oppo);
- -
de conclusie van antwoord namens Oppo in voorwaardelijk (843a Rv) incident, tevens eis in reconventie van 8 januari 2020;
- -
de rolbeslissing van 15 januari 2020 houdende bevel tot overlegging bescheiden op de voet van art. 22 Rv (met vertrouwelijkheidsregime);
- -
de akte houdende overlegging producties (ingevolge art. 22 Rv-bevel) namens Sisvel van 22 januari 2020 met producties EP24 t/m EP26 (vertrouwelijke stukken);
- -
de door Oppo op 22 januari 2020 overgelegde producties ingevolge het art. 22 Rv-bevel (zes ongenummerde, als 22Rv gelabelde, vertrouwelijke licentieovereenkomsten);
- -
de rolbeslissing van 29 januari 2020 tot aanpassing van het bij rolbeslissing van 15 januari 2020 opgelegde vertrouwelijkheidsregime;
- -
de akte houdende overlegging (nadere) producties (technische weren) namens Sisvel, met producties EP27 en EP28, van 29 januari 2020;
- -
de akte houdende overlegging nadere producties (technische weren) namens BBK, met productie B-GP9, van 29 januari 2020;
- -
de akte houdende overlegging nadere producties (technische weren) namens Oppo, met producties O-GP43 en O-GP44, van 29 januari 2020;
- -
de akte uitlating (22 Rv) producties tevens houdende overlegging nadere producties (niet-technische weren) namens Sisvel, met producties EP29 t/m EP42, van 5 februari 2020;
- -
de akte houdende overlegging nadere producties (niet-technische weren) namens Oppo, met producties O-GP45 t/m O-GP71, van 5 februari 2020;
- -
de akte houdende reactie op vertrouwelijke documenten namens Oppo van 12 februari 2020 met producties O-GP72 en O-GP73;
- -
de akte overlegging reactieve producties (technische weren) namens Sisvel van 28 februari 2020, met producties EP43 t/m EP46;
- -
de akte overlegging reactieve producties (technische weren) namens Oppo van 28 februari 2020, met productie O-GP74;
- -
de akte houdende overlegging reactieve productie (technische weren) namens BBK van 6 maart 2020 met productie B-GP10;
- -
de akte houdende overlegging (reactieve) producties (niet-technische weren) tevens houdende antwoordakte inzake 22 Rv stukken namens Sisvel van 6 maart 2020 met producties EP47-49;
- -
de akte houdende overlegging (reactieve) producties (niet-technische weren) tevens houdende antwoordakte inzake 22 Rv stukken namens Oppo van 6 maart 2020 met producties O-GP75 t/m O-GP85;
- -
de op 17 april 2020 door partijen schriftelijk ingediende en uitgewisselde pleitnotities (zie 1.4).
1.2.
Het verloop van de procedure in de zaak 19-936 blijkt uit:
- -
de beschikking van de voorzieningenrechter van deze rechtbank van 14 juni 2019 waarbij Sisvel verlof is verleend Wiko cs te dagvaarden in de versnelde bodemprocedure in octrooizaken (hierna: VRO);
- -
de dagvaarding van 27 juni 2019, tevens houdende incidentele vordering tot het treffen van een voorlopige voorziening ex art. 223 Rv;
- -
de akte houdende overlegging producties namens Sisvel van 4 september 2019 met producties EP1 t/m EP30;
- -
de akte houdende overlegging aanvullende productie namens Sisvel ten behoeve van de regiezitting met producties EP31;
- -
het proces-verbaal van de op 30 september 2019 gehouden regiezitting;
- -
de conclusie van antwoord in conventie en in het incident ex art. 223 Rv, tevens conclusie van eis in reconventie en overlegging productie (technische weren) van 23 oktober 2019 met productie GP01;
- -
- -
de conclusie van antwoord in reconventie van 18 december 2019 met producties EP32 t/m EP34 (rectificatie van de nummering in de hierna genoemde akte van Sisvel van 29 januari 2020);
- -
de akte houdende overlegging (nadere) producties (technische weren) namens Sisvel van 29 januari 2020 met producties EP35 t/m EP37;
- -
de akte houdende overlegging aanvullende producties (niet-technische weren) namens Sisvel van 5 februari 2020 met producties EP38 t/m EP51;
- -
de akte houdende overlegging nadere producties (technische en niet-technische weren) namens Wiko cs van 5 februari 2020 met producties GP21 en GP22;
- -
de akte overlegging reactieve producties (technische weren) namens Sisvel van 28 februari 2020, met producties EP52 t/m EP55;
- -
de akte houdende overlegging reactieve productie (technische weren) namens Wiko cs van 28 februari 2020, met productie GP23;
- -
de akte houdende overlegging nadere productie namens Wiko cs met productie GP24 (een proceskostenoverzicht);
- -
de op 17 april 2020 door partijen schriftelijk ingediende en uitgewisselde pleitnotities (zie 1.4).
1.3.
Tijdens een gecombineerde regiezitting in deze (en in een aantal andere door Sisvel aangespannen) octrooizaken, gehouden op 30 september 2019, is met partijen afgesproken dat de technische en niet-technische (waaronder FRAND) weren op afzonderlijke zittingen en in aparte processtukken behandeld worden.
1.4.
Het pleidooi inzake de technische weren in beide zaken, dat was bepaald op 27 maart 2020, is in verband met de coronavirus-pandemie uitgesteld. Beide zaken zijn technisch inhoudelijk behandeld tijdens een video-zitting op 21 april 2020, in die zin dat de rechtbank aan partijen vragen heeft gesteld en re- en dupliek is gehouden. De pleitnota’s waren door partijen daaraan voorafgaand, op 17 april 2020, schriftelijk uitgewisseld. De techniek is aan de zijde van gedaagden in conventie, eisers in reconventie, tezamen, behandeld door (de advocaten van) Oppo.
1.5.
De (pleidooi)zitting over de niet-technische weren in zaak 19-884 is vastgesteld op 12 juni 2020 en in de zaak 19-936 op 26 juni 2020.
1.6.
Na het videopleidooi is in beide zaken (tussen)vonnis bepaald op 3 juni 2020.
2. De feiten
2.1.
Sisvel beheert wereldwijd geldende intellectuele eigendomsrechten op onder meer draadloze communicatie.
2.2.
Sisvel is (thans) houdster van het Europese octrooi EP 1 129 536 B1 (hierna: het octrooi of EP 536) met gelding in onder meer Nederland, voor: ‘Data transmission in radio system’. Het octrooi is op 14 mei 2003 verleend aan Nokia Corporation op een aanvrage van 7 september 2000, met inroeping van de prioriteit van de Finse octrooiaanvrage FI 991932 van 10 september 1999. Tegen de verlening van EP 536 is geen oppositie ingesteld. Sisvel heeft EP 536 van Nokia verkregen, inclusief de rechten om schadevergoeding te eisen voor lopende en reeds gepleegde inbreuken.
2.3.
Het octrooi zoals verleend telt acht conclusies. De voor deze procedure relevante onafhankelijke voortbrengselconclusies 4 en 8 luiden in de oorspronkelijke Engelse tekst als volgt:
4. A radio system comprising:
a transmitter (260) and a receiver (264) having a radio connection (240) to the transmitter (260);
the transmitter (260) comprising a channel coder (202) for channel coding a data block into a coded data block by using a selected channel coding and for puncturing the coded data block by using a first puncturing pattern, and transmission means (204) for transmitting the coded data block punctured by the first puncturing pattern to the receiver (264);
the receiver (264) comprising a channel decoder (218) for decoding the received coded data block, means (224) for detecting a need for retransmission of the received coded data block, and means (226) for transmitting a retransmission request of the coded data block to the transmitter (260);
the channel coder (202) increases the code rate of the coded data block to be retransmitted by puncturing the coded data block coded by the channel coding of the original transmission by using a second puncturing pattern comprising fewer symbols to be transmitted than the first puncturing pattern;
the transmission means (204) transmit the coded data block punctured by the second puncturing pattern to the receiver (264);
the receiver (264) comprises means (222) for combining a received coded data block (216) punctured by the first puncturing pattern and a received coded data block (220) punctured by the second puncturing pattern;
the channel decoder (218) decodes the channel coding of the combined coded data block;
characterized in that the combination of the modulation and coding schemes used in EGPRS in an original transmission and in a retransmission is one of the following:
- -
modulation and coding scheme six and modulation and coding scheme nine,
- -
modulation and coding scheme five and modulation and coding scheme seven, and
- -
modulation and coding scheme six using padding bits and modulation and coding scheme eight.
8. A radio receiver comprising:
reception means (210) for receiving a coded data block channel-coded by a selected channel coding and punctured by a first puncturing pattern;
a channel decoder (218) for decoding the received coded data block;
means (224) for detecting a need for retransmission of the received coded data block; and
means (224, 226) for transmitting a retransmission request of the coded data block to a transmitter;
the reception means (210) receive the retransmitted coded data block whose code rate has been increased by puncturing the coded data block coded by the channel coding of the original transmission by using a second puncturing pattern comprising fewer symbols to be transmitted than the first puncturing pattern;
means (222) for combining the received coded data block punctured by the first puncturing pattern and the received coded data block punctured by the second puncturing pattern;
a channel decoder (218) decodes the channel coding of the combined coded data block;
characterized in that the combination of the modulation and coding schemes used in EGPRS in an original transmission and in a retransmission is one of the following:
- -
modulation and coding scheme six and modulation and coding scheme nine,
- -
modulation and coding scheme five and modulation and coding scheme seven, and
- -
modulation and coding scheme six using padding bits and modulation and coding scheme eight.
2.4.
De niet bestreden Nederlandse vertaling van conclusies 4 en 8 luidt:
4. Radiosysteem omvattende:
een zender (260) en een ontvanger (264) met een radioverbinding (240) naar de zender (260);
waarbij de zender (260) een kanaalcodeerinrichting (202) omvat voor het kanaalcoderen van een datablok naar een gecodeerd datablok door gebruik te maken van een gekozen kanaalcodering en voor het perforeren van het gecodeerde datablok door gebruik te maken van een eerste perforatiepatroon,
alsmede zendmiddelen (204) voor het verzenden van het gecodeerde datablok dat is geperforeerd door het eerste perforatiepatroon naar de ontvanger (264);
waarbij de ontvanger (264) een kanaaldecodeerinrichting (218) omvat voor het decoderen van het ontvangen gecodeerde datablok, middelen (224) voor het detecteren van een behoefte voor de herverzending van het ontvangen gecodeerde datablok, alsmede middelen (226) voor het verzenden van een herverzendingsverzoek van het gecodeerde datablok naar de zender (260);
waarbij de kanaalcodeerinrichting (202) de codesnelheid vergroot van het gecodeerde datablok dat moet worden herverzonden door het perforeren van het gecodeerde datablok dat is gecodeerd door de kanaalcodering van de oorspronkelijke verzending door gebruik te maken van een tweede perforatiepatroon dat minder te verzenden symbolen bevat dan het eerste perforatiepatroon,
waarbij de verzendingsmiddelen (204) het gecodeerde datablok verzenden dat is geperforeerd door het tweede perforatiepatroon naar de ontvanger (264);
waarbij de ontvanger (264) middelen (222) omvat voor het combineren van een ontvangen gecodeerd datablok (216) dat is geperforeerd door het eerste perforatiepatroon en een ontvangen gecodeerd datablok (220) dat is geperforeerd door een tweede perforatiepatroon;
waarbij de kanaaldecoderinrichting (218) de kanaalcodering decodeert van het gecombineerde gecodeerde datablok;
met het kenmerk, dat de combinatie van de modulatie- en coderingsschema's die worden gebruikt in EGPRS in een oorspronkelijke verzending en in een herverzending bestaat uit
een van de volgende:
- modulatie- en coderingsschema zes en modulatie- en coderingsschema negen.
- modulatie- en coderingsschema vijf en modulatie- en coderingsschema zeven, en
- modulatie- en coderingsschema zes met gebruikmaking van opvullingsbits en modulatie- en coderingsschema acht.
8. Radio-ontvanger omvattende:
ontvangstmiddelen (210) voor het ontvangen van een gecodeerd datablok dat is kanaalgecodeerd door een gekozen kanaalcodering en is geperforeerd door een eerste perforatiepatroon;
een kanaaldecodeerinrichting (218) voor het decoderen van het ontvangen gecodeerde datablok;
middelen (224) voor het detecteren van een behoefte aan herverzending van het ontvangen gecodeerde datablok; en
middelen (224, 226) voor het verzenden van een herverzendingsverzoek van het gecodeerde datablok naar een zender;
waarbij de ontvangstmiddelen (210) het herverzonden gecodeerde datablok ontvangen waarvan de codesnelheid is vergroot door perforatie van het gecodeerde datablok dat werd gecodeerd door de
kanaalcodering van de oorspronkelijke verzending door gebruik te maken van een tweede perforatiepatroon dat minder te verzenden symbolen bevat dan het eerste perforatiepatroon;
middelen (222) voor het combineren van het ontvangen gecodeerde datablok dat is geperforeerd door het eerste perforatiepatroon en van het ontvangen gecodeerde datablok dat is geperforeerd door het tweede perforatiepatroon;
waarbij een kanaaldecordeerinrichting (218) de kanaalcodering decodeert van het gecombineerde gecodeerde datablok;
met het kenmerk, dat de combinatie van de modulatie en coderingsschema's gebruikt in EGPRS bij een oorspronkelijke verzending en bij een herverzending bestaat uit een van de volgende:
- modulatie- en coderingsschema zes en modulatie- en coderingsschema negen,
- modulatie- en coderingsschema vijf en modulatie- en coderingsschema zeven, en
- modulatie- en coderingsschema zes met gebruikmaking van opvullingsbits en modulatie- en coderingsschema acht.
2.5.
De beschrijving van EP 536 bevat onder meer de volgende passages:
FIELD OF THE INVENTION
[0001] The invention relates to a method of transmitting data in a radio system from a transmitter to a receiver, and to a radio system, a radio transmitter and a radio receiver using the method. The use of the method is described in EGPRS (Enhanced General Packet Radio Service).
BACKGROUND OF THE INVENTION
[0002] EGPRS (Enhanced General Packet Radio Service) is a system based on GSM (Global System for Mobile Communications) utilising packet-switched transmission. EGPRS employs EDGE (Enhanced Data Rates for GSM Evolution) technique in order to increase data transmission capacity. In addition to GMSK (Gaussian Minimum-Shift Keying) modulation normally used in the GSM, 8-PSK (8-Phase Shift Keying) modulation can be used for packet data channels. The purpose is mainly to implement non-real-time data transmission services, such as copying files and use of an Internet browser, but also real-time services as packet-switched services for transmitting speech and video, for example. In principle, data transmission capacity can vary from a few kbit/s up to 400 kbit/s.
[0003] Also other procedures are used in order to increase capacity, for example blind detection of modulation, link adaptation and incremental redundancy.
(…)
[0012] If the coding conditions of a channel change extremely rapidly, it is impossible for the system to optimally select the code rate for the forthcoming transmission in advance. Incremental redundancy enables better adaptation to changing conditions. In incremental redundancy, a receiver is equipped with a memory to store the bits of radio blocks that have been received erroneously. Retransmitted radio blocks are then combined with the stored radio blocks, whereafter the receiver attempts to decode the block. Since there are more coded channel data bits to be used for decoding after the combining and the number of user data bits remains the same, the effective code rate of the block is decreased after retransmission, which makes decoding more feasible. An example of such a protocol is the hybrid FEC/ARQ (Forward Error Correction/Automatic Repeat Request), which uses error correction coding in order to decrease the number of retransmissions.
[0013] Two documents describing the use of the incremental redundancy are here referred to: US 5,657,325 and 'Rate-Compatible Punctured Convolutional Codes (RCPC Codes and their Applications', Hagenauer Joachim, IEEE Transactions on Communications, Vol. 36, No. 4, April 1988. The effective code rate of the channel is adapted automatically since the channel conditions determine the number of necessary retransmissions, which in turn determines
the code rate. Figure 3A shows the simplest retransmission method for a data block D 318 to be transmitted. An original transmission 320 is carried out by a code rate 1, and a first retransmission 322 also by a code rate 1. After the first retransmission the code rate of the combined data block is 1/2. A second retransmission would yield a code rate 1/3, a third retransmission a code rate 1/4, and this could be continued until it would be possible to decode the combined data block.
[0014] The problem with the retransmission method disclosed is that the effective code rates are quantized with relatively large steps: after one retransmission the code rate is only half of the original. This means that the capacity of the system is wasted since a smaller reduction in the code rate would often be sufficient. (…)
[0015] An object of the invention is thus to provide a method and an apparatus implementing the method so as to enable efficient simultaneous utilization of link adaptation and incremental redundancy. This is achieved by the method disclosed below (…)
[0020] The invention is based on the idea that the same channel coding has been used in the coding of the originally transmitted data block and the retransmitted data block, and the code rates of the two transmissions are made to differ by using different puncturing. Hence, despite the different code rates, the data blocks can be combined.
[0021] The advantage achieved by the method and apparatus of the invention is that there is a sufficiently dense range of effective code rates to enable the code rate required by the channel conditions to be selected relatively accurately, which saves the valuable radio resource of the system. (…)
[0047] As a result from this retransmission request, the code rate of the coded data block to be retransmitted is increased in block 512 by puncturing the coded data block 402 coded by the channel coding of the original transmission 55 by using a second puncturing pattern 406. The second puncturing pattern 406 comprises fewer symbols to be transmitted than the first puncturing pattern 404.
(…)[0051]
When the method is used it is preferable that the code rate of the punctured coded data block does not exceed 1. Then, under favourable circumstances, only the original transmission is required in order to carry out decoding successfully.

[0052] Table 1 shows different modulation and coding schemes MCS of EGPRS. Of each MCS, the code rate of its original transmission, modulation method used, number of data blocks in a radio block, amount of user data (in bits) in a radio block and the amount of coded data (in bits) in one radio block is disclosed.
[0053] A radio block is transmitted every 20 ms. The radio block can be modulated using GMSK, whereby the radio block comprises 464 raw bits, or then modulation can be carried out by using 8-PSK, whereby the radio block comprises 1392 raw bits. Modulation and coding schemes MCS-7, MCS-8 and MCS-9 comprise two coded data blocks in each radio block. The sizes of user data blocks are the same in MCS-6 and MCS-9, and in MCS-5 and MCS-7.
[0054] When the method of the invention is used, a preferable combination of the modulation and coding schemes used in EGPRS in an original transmission and in a retransmission is one of the following:
- modulation and coding scheme six MCS-6 and modulation and coding scheme nine MCS-9,
- modulation and coding scheme five MCS-5 and modulation and coding scheme seven MCS-7, and
- modulation and coding scheme six MCS-6 using padding bits and modulation and coding scheme eight MCS-8.
[0055] Thus, the invention does not require any changes in the headers or in the structures of the data blocks.
[0056] In all modulation and coding schemes, convu[o]lutional coding is used at a code rate 1/3. For example when an original transmission is carried out by using MCS-6, after channel coding the 612 user bits (592 bits+ header) are represented by 1836 bits, from which, after puncturing in accordance with the example of Figure 4, each user datasymbol is represented by approximately two channel-coded symbols, i.e. 1250 bits. The code rate is thus 0.49. By using MCS-9 in retransmission, the 612 user data symbols (including header) are represented by 1836 bits, from which, after puncturing in accordance with the example of Figure 4, 612 bits remain, i.e. the code rate is 1. The code rate of the combined data block obtained is 0.33, i.e. approximately 1/3. Indeed, the example of Figure 4 roughly describes this combination of the modulation and coding schemes, simplified, however, to three user data symbols only. Based on what has been disclosed above, it is obvious to one skilled in the art how the method of the invention is applied to other combinations of modulation and coding schemes.
[0057] (…) The invention lies particularly in the fact that these transmissions 334, 336 with different code rates can be combined by using incremental redundancy.
2.6.
EP 536 is (aangemeld als) een standaard essentieel octrooi dat wordt toegepast in de zogenaamde EGPRS (Enhanced General Packet Radio Service) extensie (ook wel de EGPRS/EDGE extensie) van de 2G-GSM(Global System for Mobile communications)-standaard, hierna: de standaard. Deze uitbreiding van de standaard is ontwikkeld door de projectgroep 3rd Generation Partnership Project (hierna: 3GPP), een samenwerkingsverband tussen de European Telecommunications Standards Institute ETSI en partners in andere delen van de wereld. Voor zover hier van belang, is de versie van de relevante standaard die dateert van na de prioriteitsdatum van het octrooi (hierna de 3GPP-standaard) neergelegd in de volgende standaardspecificatie-documenten:
(A) 3GPP TS 43.064, 3rd Generation Partnership Project; Technical
Specification Group GERAN; Digital cellular telecommunications
system (Phase 2+); General Packet Radio Service (GPRS); Overall
description of the GPRS radio interface; Stage 2 versie
4.5.0, april 2004;
(B) 3GPP TS 44.060, 3rd Generation Partnership Project; Technical
Specification Group GSM/EDGE Radio Access Network; General
Packet Radio Service (GPRS); Mobile Station (MS) - Base Station
System (BSS) interface; Radio Link Control/Medium Access Control
(RLC/MAC) protocol versie 4.23.0, november 2005.
Deze documenten worden hierna aangeduid afzonderlijk aangeduid als 3GPP-A en 3GPP-B.
2.7.
Het document getiteld 'Comparison of Link Quality Control Strategies for Packet Data Services in EDGE' van Eriksson et al (hierna: Eriksson), een conference paper gepubliceerd tijdens een conferentie gehouden van 16-20mei 1999, bevat onder meer de volgende passages, table 1 en figure 2:
“Abstract - EGPRS is the packet radio service of EDGE, the common evolutionary path for the two second generation cellular standards GSM and TDMM136. In this paper, methods for adapting the transmission rates and robustness to different environments and to the sometimes rapidly varying radio conditions experienced in such systems are evaluated. A discussion comparing different solutions together with supporting simulation results lead to the proposed solution for EGPRS.
I. INTRODUCTION
(…)
C. Outline
In this paper, link quality control (LQC) strategies for EGPRS are evaluated. In section II, link quality control is described conceptually. The two link quality control methods link adaptation [5, 6] and incremental redundancy [7, 8] are compared. Further, a link quality control proposal for EGPRS [9] is described together with a discussion motivating different features of the proposal (…)
II. LINK QUALITY CONTROL
EDGE is required to be introduced in existing systems with given infrastructure. Since the 8PSK modulation is more susceptible to noise and interference than GMSK, there is a need
to adapt the transmission scheme used to the interference situation. This link quality control, a key feature of the EDGE concept, is essential for providing to each user the maximum
throughput that the rapidly changing conditions allow at the moment.
The aim of this paper is to present and compare different methods for LQC. The scope of the comparison is EGPRS, where error protection is performed by the means of a hybrid
ARQ scheme. Two methods for adapting the hybrid ARQ scheme to the conditions can be distinguished.
A. Link Quality Control Methods
A pure link adaptation [5,6] (LA) scheme uses a set of type I hybrid ARQ schemes with different coding rates R and modulations, in the sequel called modulation and coding schemes (MCS’s). A type I hybrid ARQ uses a forward error correcting (FEC) code to correct errors in blockwise encoded data, and additionally an ARQ mechanism to retransmit remaining erroneous blocks, detected by a frame check sequence (FCS). The channel quality is estimated continuously, and the MCS maximizing the link bitrate at the moment is chosen.
In a pure incremental redundancy [7, 8] (IR) scheme, a fixed type II hybrid ARQ scheme is used. The type II hybrid ARQ scheme first encodes a block of data with some low rate FEC code. Only a part of this codeword (a subblock) is transmitted initially, yielding some initial code rate R1 (possibly, R1=1). For erroneously decoded blocks, detected by an FCS, transmission of additional redundancy subblocks from the same codeword is requested, received and combined with the first subblock, yielding a lower code rate R1+2. This procedure is repeated until decoding succeeds, giving a stepwise increment of the amount of redundancy, or, equivalently, a decrement of the code rate Rl+…+i.
(…)
B. Link Quality Control Proposal for EGPRS
A rather flexible LQC solution has been proposed for EGPRS, enabling pure LA, but also IR with different initial rates, and dynamic adaptation between all modes. The proposal, referred to as two burst based link quality control (2BB LQC), enables a range of solutions with different trade-off between complexity and performance. The proposal is as follows:
i) General Description
Eight MCSs are used, four using 8PSK and four using GMSK, each of which can be used in both LA and IR mode. Some parameters for the MCS:s are listed in Table 1.
For each MCS, an R=1/3 convolutionally encoded data block is divided into n subblocks (where n is either two or three) by puncturing with n puncturing patterns, Pl,…, Pn (cf. Figure 1). Initially, the subblock S1 corresponding to P1 is transmitted. On retransmission, one additional subblock Si (corresponding to Pi) is transmitted, where i=2 ,..., n, 1,2 ,... Since each subblock for a given MCS is by itself a decodeable codeword, with the rate R1= ...= Rn, the receiver can either discard or keep old subblocks when requesting retransmissions, thereby utilizing type I or type II hybrid ARQ.
Always altering in a cyclic manner among the subblocks Si for an MCS enables the receiver to switch between combining and non-combining mode without notifying the transmitter.

due2.to lack of memory, IR operation will be possible as soon as memory is available again.
The initial rate R1 is different for each MCS, as shown in Table 1. Still, a rate 1/3 mother code is used for all MCS’s. Thus, the number of subblocks, n, is three for some MCS’s, while only two for others. The last subblock may contain repetition of bits in the previous ones. The puncturing patterns Pl,…, Pn for an MCS are designed to give the corresponding codes S1, ..., Sn equally good performance. (…)
ii) Adaptation
The network controls the choice of MCS in both uplink and downlink, based on the channel quality measured by the receivers. If IR combining is used in the receiver, this choice can be more aggressive, i.e., less robust schemes can be used for a given channel quality.
(…)
In GPRS, a retransmission of a block must use the same coding scheme as the initial transmission, since the data block sizes are incompatible. In EGPRS, MCS changes are enabled on retransmission by partitioning the MCS:s into families (cf. Table 1). The data block sizes for one family are multiples each other. E.g., MCS-8 and MCS-6, belonging to family A, have the same data block size. In MCS-8, two subblocks, each obtained by encoding and puncturing a data block to rate one, fit into one radio block3.. In MCS-6 only one subblock, obtained by encoding and puncturing the same data block to rate 0.49, fits. When using the third member of family A, MCS-3, for a retransmission of a data block initially sent with MCS-6 or MCS-8, the data block is resegmented into two. Encoding and puncturing each part to rate 0.85 give two subblocks fitting the MCS-3 subblock size. The same holds for family B. Family C has only two members, one of which has double the data block size of the other.
The ability to change MCS’s on retransmissions is most important if IR combining is not used. In fact, in IR operation, resegmentation of a datablock complicates or inhibits the IR combining and should thus only be done when absolutely necessary.
iii) Block sizes and interleaving
There are two reasons for having more than one subblock per radio block for MCS-8. One is that it enables MCS switches without resegmentation, as described above. More important though is that it also improves the throughput for that MCS. With frequency hopping, an uncoded data block spanning over many GSM bursts will yield a large block error probability, since a fading dip in any of the hopping frequencies will corrupt the entire block (frequency hopping is performed per burst). If the two subblocks in the MCS-8 radio block are interleaved separately (cf. Figure 2, left), i.e., over two bursts each, this probability decreases. The data block size is a compromise between block error probability and overhead; the smaller the blocksize, the larger the relative overhead due to block sequence numbers, FCS, coding tails, etc. In section IV B, it is shown that the blocksize chosen gives the highest throughput.
On the contrary, the coding of MCS-7 makes it possible to utilize the interleaving gain due to frequency hopping. Therefore, the two subblocks in an MCS-7 radio block are interleaved together over all four bursts (cf. Figure 2, right).
So far, all examined IR schemes have used sub[b]lock sizes equally large. However, it is possible to increase the code rate granularity by decreasing the subblock size of retransmissions. E.g., making the retransmitted subblocks half as large as the first will result in the code rates R1, 2R1/3, 2R1/4, 2R1/5 etc. Simulations [10] have shown that this can increase performance in some cases. Unfortunately, this also increases the decoding complexity, since more decoding attempts must be made per radio block (twice as many in the example), while the code word length remains the same. For EGPRS, this additional complexity is considered too large compared to the relatively small performance gain.

(…)
[10] ETSI. Tdoc SMG2 WPB 255/98, “EDGE: Refined Link Performance Comparison of Link Adaptation and Hybrid II ARQ for Enhanced GPRS”.”
2.8.
De in 2.6 genoemde 3GPP-standaard vormde, zoals gezegd, een uitbreiding van de (versie van de) standaard die op de prioriteitsdatum gold. Naar de inhoud van de standaard die van kracht was op de prioriteitsdatum zal worden verwezen als de GSM-standaard. Op dat moment was EGPRS ook al in de standaard geïntroduceerd. Voor zover van belang is de inhoud van de GSM-standaard, kenbaar uit de volgende (concept) standaardisatie documenten uit juli 1999:
- -
A) ETSI GSM TS 03.64 version 8.0.0 en
- -
B) ETSI GSM TS 04.60 version 8.0.0
Deze documenten worden afzonderlijk aangeduid als GSM-A en GSM-B.
2.9.
In GSM-A is, voor zover van belang, het volgende opgenomen:
“6.5.4 Radio Block Structure
Different Radio Block structures for data transfer and control message transfer purposes are defined. The Radio Block structure for data transfer is different for GPRS and EGPRS, whereas the same Radio Block structure is used for control messages. (…)
For EGPRS, a Radio Block for data transfer consists of one RLC/MAC header and one or two RLC Data Blocks. It is always carried by four normal bursts. The interleaving depends on the MCS used.

The RLC/MAC header contains control fields which are different for uplink and downlink directions. The RLC/MAC header has variable length.
(…)
The Block Check Sequence (BCS) is used for error detection of the data part.
The Header Check Sequence (HCS) is used for error detection of the header part.
The header part is independently coded from the data part and has its own check sequence. (…)”
en onder het kopje “6.5.5 Channel Coding”, onder meer het volgende4.:
“6.5.5 Channel Coding
(…)
Nine modulation and coding schemes, MCS-1 to MCS-9, are defined for the EGPRS packet data traffic channels. For all EGPRS packet control channels the corresponding GPRS control channel coding is used. Coding schemes MCS-1 to MCS-9 are mandatory for MSs supporting EGPRS. A network supporting EGPRS may only support some of the MCSs.
(…)
6.5.5.1.2 Channel coding for EGPRS PDTCH
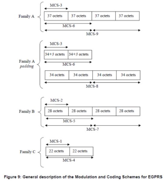
Nine different modulation and coding schemes, MCS-1 to MCS-9, are defined for the EGPRS Radio Blocks (4 bursts, 20ms) carrying RLC data blocks. The block structures of the coding schemes are shown from Figure 10 to Figure 18 and in Table 4. A general description of the MCSs is given in Figure 9.
The MCSs are divided into different families A, B and C. Each family has a different basic unit of payload: 37 (and 34), 28 and 22 octets respectively. Different code rates within a family are achieved by transmitting a different number of payload units within one Radio Block. For families A and B, 1, 2 or 4 payload units are transmitted, for family C,
only 1 or 2 payload units are transmitted.
When 4 payload units are transmitted (MCS-7, MCS-8 and MCS-9), these are splitted into two separate RLC blocks (i.e. with separate sequence numbers and BCSs). These blocks in turn are interleaved over two bursts only, for MCS-8 and MCS-9. For MCS-7, these blocks are interleaved over four bursts. All the other MCSs carry one RLC block which is interleaved over four bursts. (….)
To ensure strong header protection, the header part of the Radio Block is independently coded from the data part of the Radio Block (8 bit CRC calculated over the header -excl. USF- for error detection, followed by rate 1/3 convolutional coding –and eventually puncturing- for error correction). Three different header formats are used, one for MCS-7,
MCS-8 and MCS-9, one for MCS-5 and MCS-6 and one for MCS-1 to MCS-4. The two first formats are for 8PSK modes, the difference being in the number of Sequence Numbers carried (2 for MCS-7, -8 and -9, 1 for MCS-5 and –6). The third format is common to all GMSK modes. (…).
Following figures show the coding and puncturing for all the Modulation and Coding Schemes. (…)
The details of the EGPRS coding schemes are shown in table 4: (…).”
2.10.
Enkele figuren en de tabel waarin in de hiervoor geciteerde paragraaf wordt verwezen, zijn de volgende:




2.11.
Gedaagden zijn of waren, direct of indirect, betrokken bij het produceren en de verkoop van mobiele telefoons. Zij zijn geen lid van de ETSI en hebben geen licentie afgesloten met Sisvel voor het gebruik van het octrooi als onderdeel van de 3GPP-standaard.
3. Het geschil
in de zaak 19-884 en in de zaak 19-936
in conventie
3.1.
Stellende dat Oppo cs, respectievelijk Wiko cs met verschillende typen van haar mobiele telefoons (hierna: de producten), in Nederland (in)direct inbreuk maakt of dreigt te maken op conclusies 4 en 8 van EP 536, vordert Sisvel – samengevat en voor zover van belang – dat de rechtbank bij vonnis, voor zover mogelijk uitvoerbaar bij voorraad, Oppo cs en Wiko cs verbiedt inbreuk te maken op het Nederlandse deel van EP 536, en Oppo cs en Wiko cs beveelt alle door Sisvel als gevolg van de inbreuk geleden schade aan haar te vergoeden dan wel de ten gevolge van de inbreuk genoten winst af te dragen, met nevenvorderingen, een en ander primair onvoorwaardelijk, subsidiair onder de in de dagvaarding genoemde voorwaarde, en in alle gevallen op straffe van dwangsommen en met veroordeling van gedaagden in de volledige proceskosten ex art.1019h Rv, te vermeerderen met nakosten en wettelijke rente vanaf de datum van de uitspraak.
3.2.
Bij wijze van voorlopige voorziening vordert Sisvel tevens om gedaagden voorlopige verboden op te leggen, op straffe van dwangsommen, voor de duur van het geding in de hoofdzaken, zulks op de voet van art. 223 Rv.
3.3.
Aan haar vorderingen legt Sisvel voorts ten grondslag dat de producten voldoen aan de 3GPP-standaard, zodat zij daarom reeds moeten beschikken over een ontvanger met de in conclusie 8 geclaimde kenmerken, dan wel, dat zij een wezenlijk bestanddeel vormen van het in conclusie 4 geclaimde radio systeem.
3.4.
Oppo cs voert verweer strekkende tot afwijzing van de vorderingen, met veroordeling van Sisvel in de volledige kosten op de voet van art. 1019h Rv. Daartoe voert zij (althans Oppo, bij welk verweer BBK zich aansluit) onder meer aan dat zij geen inbreuk maakt en dat het octrooi nietig is omdat het nieuwheid dan wel inventiviteit ontbeert ten opzichte van (onder meer) de GSM-standaard dan wel Eriksson. Oppo voert daarnaast weren die niet zien op de techniek, waaronder een FRAND-verweer. BBK heeft eveneens ‘niet-technische’ weren naar voren gebracht, maar zij voert geen FRAND-verweer.
3.5.
Ook Wiko cs voert verweer strekkende tot afwijzing van de vorderingen en met veroordeling van Sisvel in de volledige (art. 1019h Rv) kosten. Wat betreft het nietigheidsverweer sluit zij zich aan bij hetgeen door Oppo cs is aangevoerd en volstaat zij met verwijzing daarnaar. Waar hierna het verweer van Oppo cs wordt besproken geldt dit dan ook evenzeer voor Wiko cs. Wiko cs voert ook ‘niet-technische’ weren, waaronder een FRAND-verweer.
in voorwaardelijke reconventie
3.6.
Onder de – tijdens de zitting daaraan verbonden – voorwaarde dat de rechtbank van oordeel is dat de producten inbreuk maken op het octrooi, vordert Oppo cs dat de rechtbank conclusies 4 en 8 van het octrooi vernietigt, met veroordeling van Sisvel in de volledige proceskosten op de voet van art. 1019h Rv.
3.7.
Ter onderbouwing voert zij aan hetgeen zij als nietigheidsverweer in conventie naar voren heeft gebracht.
3.8.
De eveneens voorwaardelijk gemaakte vordering van Wiko cs in zaak 19-936 is gelijkluidend, waarbij zij voor de inhoudelijke toelichting heeft volstaan met verwijzing naar al hetgeen door Oppo cs is aangevoerd met betrekking tot de gestelde nietigheid. Waar hierna de stellingen van Oppo cs in reconventie worden besproken, geldt dit dan ook evenzeer voor Wiko cs.
4. De beoordeling
in de zaak 19-884 en in de zaak 19-936
in conventie en reconventie
4.1.
De internationale bevoegdheid van de rechtbank om kennis te nemen van de vorderingen in conventie volgt uit art. 4 lid 1 (voor de Nederlandse gedaagden) en 26 lid 1 Brussel I bis-Vo5.(de bevoegdheid is niet bestreden). De relatieve bevoegdheid volgt uit artikel 80 lid 1 sub a en lid 2 sub a ROW6..
en voorts in conventie
4.2.
Het verweer dat partijen geen inbreuk kunnen maken omdat conclusies 4 en 8 van het octrooi niet inventief zijn uitgaande van Eriksson, slaagt, zodat de vorderingen in conventie in beide zaken daarop stranden. Hieronder wordt toegelicht waarom dit het geval is. Om die toelichting begrijpelijk te maken wordt deze voorafgegaan door een beknopt overzicht van de relevante techniek op de prioriteitsdatum, zoals gepresenteerd door partijen.
technische achtergrond
4.3.
Deze zaak heeft betrekking op dataverzending in een radiosysteem dat gebruik maakt van een zogeheten Enhanced General Packet Radio Service (EGPRS). Een dergelijk EGPRS-systeem is onderdeel van een op GSM (Global System for Mobile communications, ook wel 2G) gebaseerd telecommunicatiesysteem dat Enhanced Data Rates for GSM Evolution (EDGE)-technieken gebruikt om de dataverzendingscapaciteit van het netwerk te verhogen. Een en ander is opgenomen in de (GSM- en 3GPP-)standaard. Voor deze zaak is uitsluitend van belang het draadloos verzenden en ontvangen van data verzonden vanuit een zender binnen een netwerk naar een ontvanger op een mobiel station (hierna: MS), zoals een mobiele telefoon. Met spreekt in dat geval van downlink verzending (in tegenstelling tot uplink, waarbij data in de omgekeerde richting, vanaf de MS naar het netwerk, worden verzonden).
4.4.
Vereenvoudigd weergegeven en voor zover hier van belang, worden draadloos te verzenden gebruikersdata zoals spraak- of videodata (hierna inputdata of inputinformatie) ter verzending verwerkt in kleinere, gecodeerde datablokken, aangeduid als RLC-datablokken. Volgens de standaard wordt daartoe bij de verzender op de inputdata eerst een zogenoemde convolutional coding van 1/3 toegepast. Een inputdatablok van n bits wordt daarbij ‘convolutie-gecodeerd’ in een ‘moederblok’ van 3×n gecodeerde bits door toevoeging van zogenoemde redundantie-informatie aan de bitstroom. Aan de ontvangstkant kan de redundantie-informatie gebruikt worden om fouten te corrigeren die opgetreden zijn tijdens verzending over de air interface. De dataverwerkingstechnieken om redundantie-informatie aan de bitstroom toe te voegen en om de redundantie-informatie te gebruiken met het doel om de betrouwbaarheid van de dataverzending te vergroten, wordt gewoonlijk aangeduid als voorwaartse foutcorrectie (Forward Error Correction, FEC) of kanaalcodering.
4.5.
De codesnelheid (code rate) R is de verhouding tussen het aantal inputbits en het aantal bits in het gecodeerde bericht. Wanneer geen redundantie zou zijn toegevoegd is de codesnelheid 1 (de maximale codesnelheid in de standaard). Als er, zoals bij de standaard, per bit 2 redundantie bits worden toegevoegd is de snelheid van het moederblok na convolutional coding 1/3. Een hogere codesnelheid betekent een hogere datasnelheid (omdat minder data worden verzonden), maar minder resistentie tegen fouten (omdat er minder redundantie wordt toegevoegd). Bij een draadloos communicatiesysteem is het wenselijk om de codesnelheid van te verzenden data af te kunnen stemmen op de kanaalkwaliteit. Wanneer de kanaalkwaliteit laag is, ligt het voor de hand om een datablok met hoge redundantie (en lage codesnelheid) te versturen.
4.6.
Een radioblok is de kleinste eenheid die kan worden verzonden; dat gebeurt in vier zogenoemde ‘bursts’ en duurt 20 milliseconde (ms). Een radioblok bevat één of twee RLC-datablokken gecombineerd met kop en staart informatie. Om gecodeerde datablokken met verschillende codesnelheden te kunnen verzenden, zijn in de standaard negen Modulatie- en Coderingsschema’s (hierna MCS-en) gedefinieerd voor EGPRS-radioblokken. Deze zijn weergegeven in ‘figure 5’ uit de GSM-standaard, opgenomen in 2.9. Dezelfde MCS-en staan in tabel 1 van het octrooi (zie 2.5). De negen MCS-en worden aangeduid als MCS-1 t/m MCS-9. Bij MCS-1 t/m MCS-6 bevat een radioblok één RLC-blok (en daarnaast kop- en staartinformatie), bij MCS-7, 8 en 9 worden met elk radioblok twee RLC-blokken verzonden.
4.7.
MCS-en verschillen verder, voor zover hier van belang, in de manier waarop de te verzenden (input)gegevens over RLC-blokken verdeeld zijn, in het bijzonder hoeveel inputdata elk RLC-blok bevat. Om verschillende codesnelheden te bereiken wordt het moederblok in verschillende mate en op verschillende wijzen geperforeerd (‘punctured’). Bij deze perforatie worden bits verwijderd, waardoor de codesnelheid van het resulterende datablok toeneemt ten opzichte van het R 1/3 convolutie-gecodeerde moederblok. In figure 9 van GSM-A (opgenomen in 2.10) is te zien hoeveel inputdata (het RLC-blok van) het radioblok van elke MCS bevat (de inputdata zijn daar, in tegenstelling tot in de andere figuren, weergegeven in octets; een octet bevat 8 bits). De codesnelheid en de input-informatie per radio/RLC-blok nemen toe van MCS-1 naar MCS-9: MCS-1 bevat de minste inputinformatie per te verzenden radioblok (en de meeste redundantie), een radioblok van MCS-9 bevat (vrijwel) uitsluitend inputinformatie. Binnen één MCS bestaan twee of drie varianten van RLC-blokken die precies even groot zijn en dezelfde hoeveelheid input-informatie bevatten, maar die uitsluitend verschillen in de wijze van perforatie. Ter onderscheiding worden deze RLC-blokken binnen één MCS wel aangeduid als PS1, PS2 en PS3 (waarin PS staat voor puncturing scheme).
4.8.
De MCS-en in figuur 9 zijn gerangschikt in families; binnen elke familie is de hoeveelheid inputdata in een RLC-blok een veelvoud van elkaar. Voor deze zaak zijn alleen families A en B van belang.
4.9.
In het overzicht van de MCS-en in table 4 van GSM-A, opgenomen in 2.10, is te zien dat de code rate van MCS-9 (en MCS-4) het hoogste is, te weten 1, en van MCS-5 het laagste. Omdat MCS-1 t/m MCS-4 minder inputdata per RLC datablok en per radioblok bevatten7.(zie de kolom ‘raw data within one radioblock’), neemt de hoeveelheid data die per seconde kan worden verzonden, toe van MCS-1 naar MCS-9. Hoe meer (input)informatie een radioblok bevat, hoe groter de hoeveelheid data die per seconde verzonden kan worden.
4.10.
In de standaard kan (het RLC-blok van) elke MCS op zichzelf gedecodeerd worden omdat het tenminste de volledige inputdata bevat (in de meeste gevallen aangevuld met redundantie). Het ontvangende systeem (in dit geval de MS) beschikt over mechanismen om aan de zender te berichten of een radioblok al dan niet goed is ontvangen (dat wil zeggen: gedecodeerd kan worden). Wanneer een bericht wordt verstuurd dat een blok (meestal ondanks toegevoegde redundantie) niet goed is ontvangen, vindt herverzending vanaf de (netwerk)zender plaats. Dit proces wordt aangeduid als een automatisch herhaalverzoek (Automated Repeat Request, ARQ).
4.11.
De gecombineerde codesnelheid van een originele verzending en een herverzending wordt de effectieve codesnelheid genoemd. Bij herverzending van een RLC-blok van dezelfde MCS (al dan niet met een ander PS), is de effectieve codesnelheid steeds de helft van de codesnelheid na de eerste verzending, na twee herverzendingen is de effectieve codesnelheid 1/3 enzovoorts.
4.12.
In EGPRS spelen voorts twee verbindingskwaliteits-controle-mechanismen (Link Quality Control Strategies, hierna ook: LQC strategie) een rol. Deze dienen ertoe te zorgen dat de data doorvoer over de air interface zo efficiënt mogelijk verloopt. In de eerste plaats kan de EGPRS-zender aan de netwerk kant de te gebruiken MCS kiezen en veranderen. Dit gebeurt op basis van (de resultaten van) metingen van de kwaliteit van de radioverbinding over (relatief) langere tijd. Als de radioverbinding verslechtert, bijvoorbeeld omdat er meer interferentie is of de ontvanger zich verder van de zendmast beweegt, zal een lagere MCS met meer redundantie worden gekozen en bij verbetering van de radioverbinding een hogere MCS8.om de datasnelheid te verhogen. Dit door de zender gecontroleerde mechanisme van aanpassing van de MCS aan de verbindingskwaliteit, wordt Link Adaptation (hierna LA) genoemd. Sinds de toevoeging van EGPRS aan de GSM-standaard kan LA (anders dan bij eerdere versies van de standaard) ook ‘tussentijds’ worden toegepast, te weten bij herverzending van een in eerste instantie niet goed ontvangen radioblok. De herverzending gebeurt dan in een andere MCS dan de oorspronkelijke, niet goed ontvangen, verzending. Die aanpassing dient dan wel plaats te vinden binnen een familie van MCS-en omdat de datablokken binnen een familie een veelvoud van elkaar zijn. LA is beschreven als stand van de techniek in [0005] t/m [0011] van (de beschrijving van) het octrooi.
4.13.
De tweede LQC-strategie die in EGPRS wordt toegepast wordt incremental redundancy (hierna ook: IR) of type II hybrid ARQ genoemd. Bij IR/type II hybrid ARQ bewaart de ontvanger de (zachte) waarden van de eerdere onsuccesvolle verzending en worden (de zachte waarden van) de herverzending en de eerdere verzending gecombineerd en gezamenlijk gedecodeerd (dit in tegenstelling tot type I hybrid ARQ waar alleen de gegevens van de herverzending gebruikt worden). Het vermogen om het RLC-datablok te decoderen neemt daarbij toe. IR is, als stand van de techniek, beschreven in [0012] van het octrooi.
het octrooi en de uitleg daarvan
4.14.
EP 536 heeft betrekking op de EGPRS-extensie van de standaard en in het bijzonder op verfijning van het foutcorrectiemechanisme bij het draadloos verzenden en ontvangen van data bij downlink verzending.
4.15.
In navolging van partijen wordt conclusie 8 van het octrooi onderverdeeld in de volgende deelkenmerken:
8.1
Radio-ontvanger omvattende: ontvangstmiddelen (210) voor het ontvangen van een gecodeerd datablok dat is kanaal gecodeerd door een gekozen kanaalcodering
8.2
en is geperforeerd door een eerste perforatiepatroon;
8.3
een kanaaldecodeerinrichting (218) voor het decoderen van het ontvangen gecodeerde datablok;
8.4
middelen (224) voor het detecteren van een behoefte aan herverzending van het ontvangen gecodeerde datablok; en middelen (224, 226) voor het verzenden van een herverzendingsverzoek van het gecodeerde datablok naar een zender;
8.5
waarbij de ontvangstmiddelen (210) het herverzonden gecodeerde datablok ontvangen waarvan de codesnelheid is vergroot door perforatie van het gecodeerde datablok dat werd gecodeerd door de kanaalcodering van de oorspronkelijke verzending door gebruik te maken van een tweede perforatiepatroon dat minder te verzenden symbolen bevat dan het eerste perforatiepatroon;
8.6
middelen (222) voor het combineren van het ontvangen gecodeerde datablok dat is geperforeerd door het eerste perforatiepatroon en van het ontvangen gecodeerde datablok dat is geperforeerd door het tweede perforatiepatroon;
8.7
waarbij een kanaaldecodeerinrichting (218) de kanaalcodering decodeert van het gecombineerde gecodeerde datablok;
8.8
met het kenmerk, dat de combinatie van de modulatie en coderingsschema's gebruikt in EGPRS bij een oorspronkelijke verzending en bij een herverzending bestaat uit een van de volgende:
- -
modulatie- en coderingsschema zes en modulatie- en coderingsschema negen,
- -
modulatie- en coderingsschema vijf en modulatie- en coderingsschema zeven, en
- -
modulatie- en coderingsschema zes met gebruikmaking van opvullingsbits en modulatie- en coderingsschema acht.
4.16.
Over de uitleg van (deel)kenmerken 8.1 t/m 8.4 zijn partijen het eens. Ook bestaat er geen verschil van inzicht over het feit dat kenmerken 8.5 en 8.8 in feite acties van de kant van de verzender betreffen9., terwijl conclusie 8 als geheel beperkt is tot een radio-ontvanger (gelet op de gestelde inbreuk, in een MS, te weten in de downlink richting).
4.17.
Kenmerken 8.5 en 8.8 leren de gemiddelde vakman (hierna ook: de vakman) dat de ontvanger een herverzonden ‘gecodeerd datablok’ (lees RLC-blok) ontvangt ‘waarvan de codesnelheid is vergroot door perforatie van het gecodeerde datablok [zo]dat (…) [het] minder te verzenden symbolen bevat dan het eerste perforatiepatroon (kenmerk 8.5), en wel zodanig (voor zover hier van belang) dat bij verzending, respectievelijk herverzending, gebruik wordt gemaakt van een combinatie van een eerste verzending in MCS-5 of MCS-6, gevolgd door herverzending in MCS-7, respectievelijk MCS-9 (kenmerk 8.8)10.. Het octrooi leert de vakman dat de combinatie van 1e verzending in één van die MCS-en, gevolgd door herverzending in de aangegeven hogere MCS, voordeliger is dan herverzending van een nieuw RLC-blok (al dan niet met een ander PS) binnen dezelfde MCS, omdat daarmee de effectieve codesnelheid niet wordt gehalveerd, zoals steeds het geval is bij herverzending van een datablok in de dezelfde MCS. Dit heeft als voordeel dat minder zendruimte van het systeem wordt verbruikt (vgl. de beschrijving van het octrooi in (delen van) paragrafen [0014], [0015], [0020], [0021], [0047] en [0057], weergegeven in 2.5)
4.18.
Partijen zijn het hierover in grote lijnen eens. Aan het betoog van Oppo cs dat het combineren van een oorspronkelijke verzending met een herverzending in een hogere MCS geen winst biedt in effectieve codesnelheid (en derhalve een hogere effectieve datasnelheid), gaat de rechtbank voorbij, omdat dit feitelijke grondslag mist. Oppo cs vergelijkt immers appels met peren door effectieve codesnelheden na tweede en derde herverzending te vergelijken.
4.19.
Kenmerken 8.6 en 8.7, beide acties van de ontvanger, leren de vakman dat de ontvanger in staat moet zijn om de (volgens kenmerken 8.5 en 8.8 verzonden) gecodeerde datablokken met verschillende codesnelheiden (want verzonden in verschillende MCS-en) na ontvangst te combineren (kenmerk 8.6) en vervolgens tezamen te decoderen (kenmerk 8.7). Anders geformuleerd: de ontvanger moet in staat zijn om IR toe te passen wanneer tussen verzending en herverzending de MCS is gewisseld van MCS-5 naar MCS-7 dan wel van MCS-6 naar MCS-9. Over deze uitleg zijn partijen het eveneens eens.
4.20.
Naar het oordeel van de rechtbank zou de vakman deze kenmerken, gelezen in samenhang met de beschrijving en de tekeningen (in het bijzonder figuur 5), aldus begrijpen dat aan de bestaande negen MCS schema’s in feite nieuwe effectieve codesnelheden na herverzending worden toegevoegd, door zending en herverzending in een combinatie van MCS-5/7 en MCS-6/9, welke tussentijdse MCS-switch niet, althans niet noodzakelijkerwijs, wordt toegepast uit kanaalkwaliteitsoverwegingen (zoals bij LA). IR/type II hybrid ARQ wordt daarbij toegepast na die MCS-switch.
inventiviteit conclusie 8 uitgaande van Eriksson
4.21.
In Eriksson, dat enkele maanden voor de prioriteitsdatum is gepubliceerd, worden de twee hiervoor in 4.12 en 4.13 beschreven LQC-strategieën LA en IR vergeleken in verband met hun geschiktheid voor toepassing bij EGPRS. Deze publicatie is geen onderdeel van het verleningsdossier van EP 536. Oppo cs betoogt dat in deze anticipatie alle (deel)kenmerken van conclusie 8 geopenbaard zijn en dat, voor zover een kenmerk niet duidelijk en ondubbelzinnig geopenbaard zou zijn, het op zijn minst niet inventief is om uitgaande van Eriksson tot de uitvinding te komen.
4.22.
De rechtbank stelt voorop dat een uitvinding als het resultaat van uitvinderswerkzaamheid aangemerkt wordt, als zij voor een gemiddelde vakman op de prioriteitsdatum niet op een voor de hand liggende wijze voortvloeit uit de stand van de techniek (art. 56 EOV11.en art. 6 ROW12.). Inventiviteit ontbreekt als de vakman, bij toepassing van de zogenoemde ‘problem-and-solution-approach’ (hierna: PSA) uitgaande van de ‘meest nabije’ stand van de techniek, het probleem zou (would) - en niet slechts kon (could) - hebben opgelost op de wijze geclaimd in het octrooi.
- PSA en vakman
4.23.
Aan het betoog van Sisvel dat reeds aan deze inventiviteitsaanval voorbij moet worden gegaan omdat Oppo cs deze (vanuit Eriksson) niet heeft opgezet volgens de PSA, gaat de rechtbank voorbij. Volgens vaste rechtspraak is de rechter bij de beantwoording van de vraag of een uitvinding al dan niet op voor de hand liggende wijze voortvloeit uit de stand van de techniek, niet gehouden de PSA toe te passen. Omgekeerd, is zij niet gebonden aan een eventuele keuze van (een van de) partijen om de PSA niet toe te passen.
4.24.
De rechtbank zal bij beoordeling van de inventiviteit van conclusie 8 van EP 536 uitgaande van Eriksson, de PSA toepassen. Als relevante vakman bij de beoordeling zal worden aangemerkt een ingenieur op het terrein van telecommunicatie die in staat is om de standaarden te begrijpen en deze te implementeren. Die vakman heeft een gemiddelde kennis van de GSM-standaard als geheel op de prioriteitsdatum en van de technologie en theorieën die daaraan ten grondslag liggen. Voorts heeft hij of zij een meer diepgaande kennis van de EGPRS-radioverbindings-extensie van de standaard. Voor zover Oppo cs haar betoog nog handhaaft dat de vakman betrokken is bij de ontwikkeling en standaardisatie van telecommunicatietechnologie13., wordt zij daarin niet gevolgd, omdat – zoals Sisvel terecht stelt – de vakman iedere inventieve gedachte moet worden ontzegd.
- meest nabij stand van de techniek
4.25.
Sisvel betwist voorts dat Eriksson als uitgangspunt kan dienen voor de inventiviteitsaanval omdat dit document niet kan worden aangemerkt als dichtstbijzijnde stand van de techniek bij toepassing van de PSA. Ook dat verweer snijdt geen hout. Een uitvinding dient inventief te zijn ten opzichte van ieder document uit de relevante stand van de techniek dat een reëel uitgangspunt voor de gemiddelde vakman is om tot de uitvinding te kunnen komen. De reden om bij de beoordeling uit te gaan van de meest nabije stand van de techniek is zuiver een proceseconomische afweging: wanneer een uitvinding inventief wordt beoordeeld ten aanzien van de meest nabij stand van de techniek, geldt dit in het algemeen eveneens ten aanzien van verder van de uitvinding af liggende anticipaties. Daar komt bij dat in dit geval Eriksson ziet op foutcorrectiemechanismen bij draadloze verzending met gebruikmaking van EGPRS, in het bijzonder mede op de throughput of datasnelheid. Daarbij komt ook de vraag aan de orde hoe de granulariteit van codesnelheden14.verhoogd kan worden. Dit ligt op hetzelfde technische terrein als het onderwerp van het octrooi. De rechtbank acht Eriksson dan ook een geschikt uitgangspunt voor de PSA.
- verschilmaatregel
4.26.
De vraag is vervolgens wat de verschilmaatregel is tussen hetgeen in Eriksson wordt geopenbaard en hetgeen in conclusie 8 van het octrooi als uitvinding wordt geclaimd. Wat staat er in Eriksson? In paragraaf II onder A wordt een beschrijving gegeven van ‘zuivere’ LA. Bij een dergelijk proces, leert Eriksson, worden uitsluitend de gecodeerde data van de herverzending gebruikt om een RLC-blok te decoderen (met gebruikmaking van een type I hybrid ARQ-vorm). De informatie van de oorspronkelijke verzending wordt niet gebruikt. Ook wordt ‘zuivere’ IR beschreven waarbij de ontvanger zowel de informatie van de oorspronkelijke verzending als van de herverzending gebruikt om de data te decoderen, waarbij de (effectieve) code rate stapsgewijs afneemt. De voor- en nadelen van (het toepassen van) uitsluitend LA dan wel uitsluitend IR worden ook besproken.
In paragraaf II onder B komen vervolgens toepassingen van LA en IR bij EGPRS aan de orde, waarbij in de eerste zin wordt opgemerkt dat voor EGPRS ‘a rather flexible LQC’ oplossing wordt voorgesteld, waarbij niet voor LA of IR wordt gekozen, maar voor de mogelijkheid om beide te gebruiken. Het EGPRS systeem dat daarbij tot uitgangspunt wordt genomen is grotendeels gelijk aan het systeem van de standaard: een 1/3 convolutional gecodeerd moederblok (in Eriksson aangeduid als ‘mother code’) dient als basis; dit wordt op verschillende manieren geperforeerd om de ook in de standaard vastgestelde RLC-blokken – in Eriksson aangeduid als ‘subblocks’ - te verkrijgen die de inputinformatie bevatten van de uit de standaard bekende MCS-en. Partijen zijn het er over eens dat wat in Eriksson als MCS-8 wordt aangeduid, overeenkomt met MCS-9 in het octrooi en in de standaard (om dit tot uitdrukking te brengen wordt MCS-8 uit Eriksson hierna MCS-8/9 genoemd)15.. In tabel 1 van Eriksson is te zien dat na de eerste herverzending de effectieve codesnelheid (R1+2) gehalveerd is, en dat na twee herverzendingen de effectieve codesnelheid (R1+2+3) een derde is van de oorspronkelijke codesnelheid (vgl 4.11). Daarbij is steeds sprake van herverzending binnen dezelfde MCS.
4.27.
Vanaf pagina 939 onderaan begint het voor deze zaak meest relevante deel. Voor de leesbaarheid zijn de betreffende passages uit Eriksson (pagina 940, linker kolom) hieronder nogmaals weergegeven, deels met gekleurde markeringen overgenomen uit de conclusie van antwoord van Oppo cs.

4.28.
Met (deskundige Costello van) Oppo cs is de rechtbank van oordeel dat de vakman uit deze passages zal begrijpen dat IR ook (onder voorwaarden) kan worden toegepast na een MCS wissel, zodat daarmee gegeven is dat de MS ontvanger in staat moet zijn om de ontvangen (herver)zendingen gezamenlijk te decoderen, zoals geclaimd in kenmerken 8.6 en 8.7 van EP 536. Daartoe is het volgende redengevend.
4.29.
In de eerste plaats leert Eriksson (geel gearceerde deel, laatste twee zinnen) dat een MCS switch bij herverzending mogelijk is gemaakt bij de EGPRS-extensie doordat de MCS-en zijn opgedeeld in families waarbij ‘de data block sizes’ voor een familie veelvouden van elkaar zijn. Uit de GSM-standaard, die de vakman kent, weet hij dat hier met ‘data block sizes’ wordt bedoeld de in een EGPRS-radioblok vervatte input informatie (vgl. ‘Figure 9’ GSM-A, opgenomen in 2.10, waar te zien is dat MCS-3, MCS-6 en MCS-9 respectievelijk 37, 2x37 en 4x37 octets aan inputdata bevatten). Daarbij wordt (in het groen gearceerde deel) familie A als voorbeeld genoemd, waarbij over MCS-8/9 en MCS-6 wordt opgemerkt dat deze dezelfde ‘datablock size’ hebben. De vakman zal uit de context begrijpen dat hier met ‘datablock size’ wordt gedoeld op de RLC-blokken (‘subblocks’) van MCS-8/9 en MCS-6 die evenveel inputinformatie (‘raw data’) bevatten. Dit volgt uit de daarop volgende zin dat bij MCS-8/9 op het ‘data block’ (hier wordt daarmee klaarblijkelijk weer op het moederblok gedoeld) perforatie tot R=1 wordt toegepast en op MCS-6 tot R 0,49. Uit het voorgaande, en uit de informatie dat bij MCS-6 één RLC-blok (‘subblock’) past in een radioblok, terwijl bij MCS-8/9, waar een RLC-blok de helft kleiner (meer geperforeerd) is, twee RLC-blokken in één EGPRS-radioblok verzonden kunnen worden, begrijpt de vakman dat een RLC-blok van MCS-6 twee keer zo veel bits bevat als een RLC-blok van MCS-8/9.
Hier wordt derhalve weergegeven wat de vakman ook al bekend is uit de standaard: de RLC-blokken van MCS-6 en MCS-8/9 bevatten dezelfde inputinformatie (2x37 octet), maar het RLC-blok is bij MCS-6 twee keer zo groot (minder geperforeerd en dus met meer redundantie). Omdat in een MCS-8/9 radioblok twee (kleinere) RLC-blokken passen, wordt in een MCS-8/9 radioblok twee keer zo veel inputinformatie (4x37 octet) verzonden.
Vervolgens wordt opgemerkt dat bij een switch naar een familielid in de GMSK modaliteit (bij familie A MCS-3, dat weer de helft van inputinformatie van MCS-6 bevat) hersegmentatie moet plaatsvinden. Hersegmentatie wil zeggen dat (de inputinformatie vervat in) het MCS-6 (of MCS-8/9) RLC-blok verdeeld moet worden over twee radioblokken.
Voor familie B leert Eriksson (lichtblauw gearceerd hierboven) dat een vergelijkbare redenering (in de verhouding tussen MCS-5 en MCS-7) opgaat. MCS-2 vereist bij familie B hersegmentatie, zo zal de gemiddelde vakman begrijpen.
4.30.
Vervolgens wordt (in het oranje gearceerde deel) ingegaan op IR bij verandering van de MCS. De eerste zin leert dan dat verandering van de MCS bij de herverzending belangrijk is als van IR geen gebruik wordt gemaakt. De vervolgzin leert dat bij een hersegmentatie IR wordt bemoeilijkt of zelfs onmogelijk is. Naar het oordeel van de rechtbank leert de vakman hieruit impliciet maar duidelijk en ondubbelzinnig dat toepassing van IR na een MCS switch binnen een familie, wel mogelijk is zolang geen sprake is van hersegmentatie, zodat de ontvanger in dat geval in staat is of moet zijn om de RLC-blokken gezamenlijk te decoderen. Die lezing wordt nog eens bevestigd in de roze gearceerde passage. Daarin wordt het voordeel benadrukt van de twee subblokken per radio blok van MCS-8/9 (afgezet tegen het ene subblok bij MCS-6, zo zal de vakman onmiddellijk begrijpen uit de groen gearceerde passage er vlak voor), namelijk dat een MCS-wissel mogelijk is zonder hersegmentatie. In de (tussen de groene en roze liggende) oranje gearceerde passage staat beschreven dat IR lastig is als hersegmentatie bij MCS-wissel plaatsvindt. De logica dicteert dat als er geen hersegmentatie bij de MCS-wissel nodig is, zoals derhalve die tussen MCS-6 en MCS-8/9, IR kan worden toegepast.
4.31.
Kenmerken 8.6 en 8.7 zijn daarmee geopenbaard, immers, voor toepassing van IR worden de oorspronkelijke verzending en de herverzending gezamenlijk gedecodeerd, en na een (tussentijdse) MCS switch binnen dezelfde familie (binnen de 8PSK modulatie, vgl. voetnoot 7) worden dan berichten met verschillende codesnelheden gedecodeerd.
4.32.
Sisvel heeft hier tegen ingebracht dat Eriksson uitsluitend zou zien op switches naar een lagere, meer robuuste, MCS. De vakman zou niet begrijpen dat Eriksson ook op het toepassen van IR op combinaties zou zien waarbij herverzending met een hogere MCS gebeurt zoals in kenmerk 8.5 is opgenomen. Die beperking leest de rechtbank niet in de hiervoor besproken passages, terwijl bij de hierna te bespreken passage uit Eriksson herverzending in een minder robuuste (hogere) MCS uitdrukkelijk gesuggereerd wordt.
4.33.
In de laatste alinea van B iii), hieronder nogmaals opgenomen met door de rechtbank aangebrachte kleurmarkering, leert Eriksson (in het geel gemaakte deel) dat bij alle IR-schemes tot nu toe, steeds RLC-blokken van dezelfde grootte zijn gebruikt, maar dat het mogelijk is om de codesnelheid dichtheid (‘granularity’) te verhogen door bij herverzending de grootte van het RLC-blok te verkleinen:
So far, all examined IR schemes have used su[b]block sizes equally large. However, it is possible to increase the code rate granularity by decreasing the subblock size of retransmissions. E.g., making the retransmitted subblocks half as large as the first will result in the code rates R1, 2R1/3, 2R1/4, 2R1/5 etc. Simulations [10] have shown that this can increase performance in some cases. Unfortunately, this also increases the decoding complexity, since more decoding attempts must be made per radio block (twice as many in the example), while the code word length remains the same. For EGPRS, this additional complexity is considered too large compared to the relatively small performance gain.
4.34.
Het gebruik van dezelfde ‘subblock sizes’ duidt op herverzending in dezelfde MCS, hetgeen de deskundige van Sisvel, Wiffen, tijdens de zitting op vragen van de rechtbank bevestigde. Ook beaamde hij dat de vakman verhoging van de codesnelheid granulariteit als gunstig zal zien en dat de vakman wist dat een hogere MCS een kleinere subblock (RLC-blok) grootte heeft (zie ook hiervoor). De vakman zou die weg dan ook inslaan om een hogere codesnelheidgranulariteit te bereiken, zeker in de context van Eriksson, waarin in het begin van paragraaf B wordt opgemerkt dat binnen EGPRS verschillende oplossingen worden voorgesteld:
“A rather flexible LQC solution has been proposed for EGPRS, enabling pure LA, but also IR with different initial rates, and dynamic adaptation between all modes. The proposal, (…) enables a range of solutions with different trade-off between complexity and performance.”
4.35.
Naar het oordeel van de rechtbank is daarmee de leer van het octrooi om de codesnelheid granulariteit (en daarmee de throughput) te verhogen door bij herverzending niet een radioblok met dezelfde MCS maar met een MCS met kleinere sub/RLC-blokken, en derhalve een hogere MCS, geopenbaard. Daarmee is ook kenmerk 8.5 door Eriksson geanticipeerd.
4.36.
Sisvel heeft er op gewezen dat de vakman een verkleining van de subblokken ook anders kan opvatten omdat, naar zij terecht opmerkt, het verkleinen van de subblok grootte bij herverzending, niet hetzelfde is als een verandering van MCS. Sisvel heeft er daarbij op gewezen dat de vakman in Eriksson die suggestie juist niet zo zal begrijpen dat daarmee wordt gedoeld op herverzending in een hogere MCS, omdat in de daarop volgende zin als voorbeeld voor verkleining van subblokken, een andere route wordt voorgesteld. Daar wordt verwezen naar een referentie [10] (ook genoemd in [0014] van de beschrijving van het octrooi) in welk document, kort gezegd, wordt gesuggereerd om RLC-blokken bij herverzending te verkleinen door nieuwe MCS-en te creëren met RLC-blokken van verschillende grootten.
4.37.
Naar het oordeel van de rechtbank zal de gemiddelde vakman die route niet inslaan en in elk geval die route niet als enige mogelijkheid beschouwen, al niet omdat deze passage begint met “E.g.” en dus een voorbeeld is. Ten tijde van de publicatie van Eriksson in mei 1999, waren de MCS-en voor EGPRS bovendien al vastgesteld en in de GSM-standaard opgenomen. In de zich op dat moment in razend tempo ontwikkelende technologie, zou de vakman op de prioriteitsdatum voor verhoging van de codesnelheid door verkleining van de RLC-blokken, inzien dat de daar in Eriksson als voorbeeld genoemde oplossing, die verwijst naar een publicatie uit 1998, inmiddels achterhaald was door de in de GSM-standaard voor de EGPRS-radioblokken vastgelegde keuze voor de acht/negen MCS-radioblokken. De gemiddelde vakman die Eriksson op de prioriteitsdatum las, deed dit met die bril op. Hij zou daarom niet zozeer de subblokken van de MCS-en aanpassen maar veeleer voor een hogere MCS binnen een familie kiezen om de subblokken te verkleinen. Zoals hiervoor reeds uitgelegd, weet hij immers uit de passages in dezelfde kolom net ervoor van Eriksson dat bij een wisseling omhoog van MCS binnen de familie enerzijds de subblokken worden verkleind en anderzijds geen hersegmentatie plaats zal vinden, waardoor IR kan worden toegepast, hetgeen voordelig is. Daarmee is die MCS-verhoging binnen de familie duidelijk en ondubbelzinnig geopenbaard.
4.38.
Sisvel heeft nog aangevoerd dat aan het slot van de in 4.33 opgenomen passage van Eriksson, een duidelijke contra-indicatie staat om herverzending in een hogere MCS toe te passen: “For EGPRS, this additional complexity is considered too large compared to the relatively small performance gain.” Deze opmerking moet worden gelezen in verband met de leer van referentie [10] om aangepaste MCS-en te maken met subblokken van verschillende afmetingen. Voor zover het verweer bedoelt te stellen dat het gezamenlijk decoderen van radioblokken afkomstig van verschillende MCS-en sowieso niet geschikt is voor EGPRS vanwege hogere complexiteit, te weten een grotere belasting van het geheugen (een nadeel van IR dat Eriksson ook aan het slot van paragraaf A noemt), zal dit de vakman er niet van weerhouden om dit toe te passen. Hij weet immers – en dit wordt in de conclusie van Eriksson, 1e alinea ook nog geëxpliciteerd – dat de geheugencapaciteit snel toeneemt, omdat de kosten daarvan afnemen. Bovendien wijst Oppo c.s. er terecht op dat ook het octrooi dat nadeel van verhoogde complexiteit niet oplost en integendeel voor lief neem.
4.39.
Een en ander leidt tot de tussenconclusie dat in Eriksson aan de vakman alle maatregelen van het octrooi geopenbaard worden behalve de specifieke combinatie van MCS-en die wordt geclaimd in kenmerk 8.8, hetgeen moet worden aangemerkt als de verschilmaatregel.
- technisch effect en objectieve probleem
4.40.
Het technisch effect van de verschilmaatregel is dat met de specifiek geclaimde combinaties de facto nieuwe effectieve IR-modi worden toegevoegd, waardoor de codesnelheid granulariteit wordt verhoogd ten opzichte van de stand van de techniek en de beschikbare radioruimte van het systeem efficiënter wordt gebruikt. Het gaat daarbij (al wordt dat in het octrooi niet expliciet zo genoemd) om nieuwe modi omdat die combinaties, waarbij de omvang van het RLC-blok bij herverzending kleiner is omdat deze in een hogere MCS geschiedt, niet plaatsvindt op grond van een – al dan niet toevallige – LA switch, maar doordat die combinatie van te voren is gekozen als (meest) geschikte in verband met de kanaalkwaliteit voorafgaand aan de eerste verzending (zie ook 4.20). Dit volgt uit kenmerken 8.5 en 8.8 van conclusie 8 van EP 536 en uit [0047], eerste zin, van de beschrijving van het octrooi. Overigens zou dit technische effect niet anders hebben geluid als hiervoor zou zijn aangenomen dat Eriksson de keuze voor een hogere MCS binnen een familie niet openbaart maar slechts een lagere.
4.41.
Uitgaande van Eriksson, waarin een verkleining van de RLC-blokken al is gesuggereerd als mogelijkheid om de codesnelheid granulariteit te verhogen, moet als objectieve technische probleem geformuleerd worden ‘het verschaffen van een aangepast herverzendingssysteem voor EGPRS waarbij de codesnelheid granulariteit wordt verhoogd’. De door Sisvel voorgestelde formulering van het probleem (het vergroten van de doorvoercapaciteit en de verkleining van de vertraging binnen EGPRS) acht de rechtbank, te ruim. Bij de vaststelling van het objectieve probleem is immers de verschilmaatregel en het technisch effect daarvan leidend, en niet het technisch effect van het octrooi volgens de beschrijving. De ‘pointer’ naar de vergroting van de codesnelheid granulariteit is in dit geval gerechtvaardigd gelet op de uitdrukkelijke aanwijzing daartoe in Eriksson. Dit geldt eens temeer nu door de deskundige van Sisvel is toegegeven dat een gemiddelde vakman verhoging van de codesnelheid granulariteit voordelig zal achten en het derhalve gerechtvaardigd is dat die vakman die opmerking in Eriksson daarover als opstap zal nemen.
4.42.
De vakman leert in Eriksson dat IR toepassen binnen een zelfde familie en wanneer geen sprake is van hersegmentatie, mogelijk is. De vakman komt dan, wanneer hij de aanwijzing tot verkleining van de RLC-blokken bij herverzending opvolgt om de codesnelheid granulariteit te verhogen, zonder enige inventieve arbeid uit op de twee enige mogelijk combinaties. Dit zijn MCS-5 gevolgd door herverzending in MCS-7 in familie B en MCS-6 gevolgd door herverzending in MCS-8/9 in familie A. Hetgeen kenmerk 8.8 leert is daarmee niet inventief, waardoor de in conclusie 8 geclaimde uitvinding als geheel inventiviteit ontbeert. Conclusie 8 van het Nederlandse deel van EP 536 wordt dan ook vernietigd.
4.43.
Zelfs als hiervoor zou zijn aangenomen dat Eriksson de keuze voor een hogere MCS binnen een familie niet openbaart maar slechts een lagere en dit als (aanvullende) verschilmaatregel (8.5) zou moeten worden gezien, maakt dit het voorgaande niet anders. Zoals reeds opgemerkt, is het technische effect niet anders en om dezelfde redenen als hiervoor genoemd zal de gemiddelde vakman dan ook voor het schema als neergelegd in de verzendschema’s van kenmerk 8.8 kiezen, waarin verhoging van de MCS besloten ligt.
conclusie 4
4.44.
Conclusie 8 ziet op een radio ontvanger. Conclusie 4, waarop Sisvel zich voor de inbreuk eveneens beroept en van welke conclusie Oppo cs evenzeer stelt dat deze nietig is, ziet op een radiosysteem waarvan een radio ontvanger met de karakteristieke eigenschappen van de radio-ontvanger van conclusie 8 onderdeel uitmaakt. Nu is geoordeeld dat die radio-ontvanger niet inventief is, valt daarmee ook het doek voor conclusie 4. Gesteld noch gebleken is immers dat de overige kenmerken van conclusie 4, los van de daarin geclaimde radio ontvanger, die conclusie nieuw of inventief maken.
onrechtmatige daad
4.45.
Aan haar vorderingen heeft Sisvel ook onrechtmatig handelen van gedaagden ten grondslag gelegd. Die grondslag heeft zij evenwel, los van het gestelde (direct dan wel indirect) inbreukmakend handelen en het niet FRAND onderhandelen, geen handen en voeten gegeven. Nu het octrooi niet geldig wordt bevonden, kan ook geen sprake zijn van het door Sisvel gestelde onrechtmatig handelen. Voor zover in de stellingen van Sisvel moet worden gelezen dat zij gedaagden andere onrechtmatige handelingen verwijt, zoals handel in groepsverband en (anderszins) betrokkenheid bij octrooi-inbreuk, heeft zij dit evenmin voldoende concreet gemaakt en is dit verwijt evenzeer gebouwd op de onjuiste premisse dat sprake is van inbreuk op een geldig octrooi.
Slotsom in conventie en in het 223 Rv incident
4.46.
Het voorgaande leidt er toe dat de vorderingen in conventie in beide zaken zullen worden afgewezen. Hetzelfde geldt voor de provisionele vorderingen.
843a Rv incidenten
4.47.
In zaak 19-884 hebben Oppo en Sisvel 843a Rv incidenten opgeworpen in verband met het niet-technische (FRAND) debat in die zaak, al dan niet voorwaardelijk. Die vorderingen worden afgewezen wegens gebrek aan belang gelet op het 22 Rv-bevel en gelet op het feit dat het octrooi voor nietig wordt gehouden, althans partijen hebben niet toegelicht welk belang er nog zou zijn. Gelet op de uitkomst van de hoofdzaak gaat de rechtbank ervan uit dat Sisvel en Oppo de op de voet van het 22 Rv-bevel over en weer overgelegde vertrouwelijk stukken, zullen retourneren dan wel vernietigen en de eventueel daaruit opgedane kennis geheim zullen houden zoals eerder bepaald. Wanneer daartoe een (aanvullend) bevel van de rechtbank nodig is, kunnen partijen dit vorderen en toelichten in de hierna in 4.52 bedoelde aktewisseling.
4.48.
In zaak 19-936 heeft Wiko cs in het kader van haar niet-technische (FRAND) verweer een voorwaardelijke incident tot overlegging van stukken opgeworpen. Uit berichten van partijen is de rechtbank bekend dat door partijen onderling afspraken zijn gemaakt over de inzage in stukken over en weer, zodat dit (voorwaardelijke) incident als ingetrokken beschouwd wordt. De inhoud van de gemaakte afspraken is de rechtbank niet bekend. Voor zover nodig, geldt wat in de vorige alinea in zaak 19-884 is opgenomen over het retourneren van stukken en het vorderen/toelichten van een mogelijk bevel in dat verband, eveneens in zaak 19-936.
en voorts in (voorwaardelijke) reconventie in beide zaken
4.49.
Tijdens de pleidooizitting dan wel kort daarna hebben Oppo cs en Wiko cs desgevraagd duidelijk gemaakt dat zij hun vordering tot vernietiging van EP 536 voorwaardelijk wensen te maken. De rechtbank verstaat die voorwaarde aldus, dat mocht de rechtbank eerst de inbreuk, uitgaande van een geldig octrooi, beoordelen en bevinden dat daarvan geen sprake is, het niet nodig is dat de rechtbank ook nog de geldigheid van het octrooi beoordeelt. Echter, als in conventie wordt geoordeeld dat geen sprake is van inbreuk omdat het octrooi niet geldig wordt geacht kan ook op de reconventionele vordering tot vernietiging zonder meer worden beslist. Een andere uitleg zou betekenen dat aan een voorwaardelijk ingestelde reconventionele vordering tot vernietiging nooit wordt toegekomen wanneer ongeldigheid tevens als verweer is gevoerd en de inbreuk daarop strandt.16.
4.50.
De uitkomst in conventie brengt mee dat de vorderingen van Oppo cs en Wiko cs in reconventie tot vernietiging van conclusies 4 en 8 van het Nederlandse deel van EP 536 (vordering A) zullen worden toegewezen.
voortgang van de procedures in beide zaken
4.51.
Nu de delen van het octrooi waarop Sisvel haar inbreukvordering stoelt, nietig zijn bevonden, en haar vorderingen in conventie worden afgewezen, wordt aan de niet-technische verweren, waaronder het FRAND-verweer, niet toegekomen. De behandeling van die verweren tijdens de daartoe geplande zittingen (in de zaak tegen Oppo cs bepaald op 12 juni 2020 en in de zaak tegen Wiko cs op 26 juni 2020) is dan ook niet meer nodig. De vervolgzitting in de zaak tegen Oppo cs komt daarmee te vervallen. In de zaak tegen Wiko cs, is de zitting van 26 juni 2020 tevens bepaald in een zaak die ziet op een ander octrooi, zodat die zitting uitsluitend vervalt voor zover deze op EP 536 betrekking heeft.
proceskosten in beide zaken in conventie en reconventie en in de incidenten
4.52.
Als in het ongelijk gestelde partij, zal Sisvel in beide zaken zowel in conventie als in reconventie, worden veroordeeld in de proceskosten. Met in het verschiet nog een zitting over de niet-technische verweren, heeft Oppo cs haar kosten (na overleg) nog niet gespecificeerd, Wiko cs heeft de proceskosten gespecificeerd voor de periode tot 10 maart 2020. Beide zaken worden ter overlegging van (nadere) proceskostenspecificaties aan de zijde van gedaagden verwezen naar de rol van 10 juni 2020 en naar de rol van 24 juni 2020 om Sisvel de gelegenheid te bieden om op de specificaties te reageren.
5. De beslissing
De rechtbank
in de zaak 19-884
5.1.
houdt iedere beslissing aan,
5.2.
verwijst de zaak naar de zitting van 10 juni 2020 voor het specificeren van de proceskosten door Oppo cs,
5.3.
verwijst de zaak naar de rol van 24 juni 2020 voor een reactie van Sisvel op de proceskostenspecificatie,
5.4.
bepaalt dat de vervolgzitting van 12 juni 2020 geen doorgang zal vinden,
in de zaak 19-936
5.5.
houdt iedere beslissing aan,
5.6.
verwijst de zaak naar de zitting van 10 juni 2020 voor het nader specificeren van de proceskosten door Wiko cs,
5.7.
verwijst de zaak naar de rol van 24 juni 2020 voor een reactie van Sisvel op de proceskostenspecificatie,
5.8.
bepaalt dat de vervolgzitting van 26 juni 2020 in deze zaak geen doorgang zal vinden.
Dit vonnis is gewezen door mr. M.E. Kokke, mr. E.F. Brinkman en mr.ir. J.H.F. de Vries en in het openbaar uitgesproken op 27 mei 2020.
Voetnoten
Voetnoten Uitspraak 27‑05‑2020
Hier lijkt Eriksson incompleet te zijn.
The smallest unit that can be transmitted, the radio block, is a group of four GSM bursts as in GPRS. If the subblock size is smaller more than one subblock is sent in one radio block.
GSM-A, pagina’s 22-31 (productie O-GP02). Weliswaar staat bovenaan 6.5.5. dat dit alleen maar informatief is en dat de normatieve tekst GSM 05.03 is, maar partijen zijn het erover eens dat de hier overgenomen informatie op de prioriteitsdatum gold; Sisvel verwijst in de technical primer o.m. naar Table 4.
Verordening (EU) 1215/2012 van het Europees Parlement en de Raad van 12 december 2012 betreffende de rechterlijke bevoegdheid, de erkenning en de tenuitvoerlegging van beslissingen in burgerlijke en handelszaken, inwerkingtreding: 9-1-2013, PB EU 2012, L 351/1 (de ‘herschikte EEX-Verordening’)
Rijksoctrooiwet 1995
Dit komt doordat de wijze van modulatie verschilt bij deze MCS-en: voor MCS-1 t/m MCS-4 wordt GMSK modulatie toegepast en bij MCS-5 t/mMCS-9 8PSK modulatie; zie table 1 van het octrooi (in 2.5) en table 4 uit GSM-A in 2.10. Dat is voor de beoordeling echter niet relevant.
Ter voorkoming van misverstanden: een lagere MCS wil zeggen een MCS met een lager nummer en een hogere redundantie (ook wel: een ‘robuustere MCS’); met een hogere MCS wordt bedoeld een MCS met een hoger nummer en een lagere redundantie (ook: een minder robuuste MCS)
De ontvanger dient slechts die acties te kunnen verwerken
Het debat is beperkt tot de eerste twee combinaties geclaimd in kenmerk 8.8. De rechtbank zal de derde combinatie MCS-6 met ‘padding’ en MCS-8, bij de beoordeling dan ook buiten beschouwing laten
Europees Octrooi Verdrag
Rijksoctrooiwet 1995
Na de gemotiveerde betwisting door Sisvel in de conclusie van antwoord in reconventie (randnummers 37-39) heeft Oppo cs dit betoog niet nader toegelicht
Dat wil zeggen de dichtheid van de van de beschikbare effectieve codesnelheden
NB MCS-1 t/m 7 uit Eriksson komen overeen met MCS-1 t/m 7 in het octrooi en de standaard
De gedachte achter het voorwaardelijk maken van de vordering is dan ook – zo begrijpt de rechtbank de intentie van gedaagden – dat zij het aan de rechtbank wil overlaten op welk argument de zaak afgedaan zal worden vanuit de te waarderen bedoeling dat zij de rechtbank niet onnodig werk wil bezorgen.