Hof Den Haag, 02-07-2019, nr. 200.219.487/01
ECLI:NL:GHDHA:2019:3613
- Instantie
Hof Den Haag
- Datum
02-07-2019
- Zaaknummer
200.219.487/01
- Vakgebied(en)
Civiel recht algemeen (V)
Intellectuele-eigendomsrecht (V)
- Brondocumenten en formele relaties
ECLI:NL:GHDHA:2019:3613, Uitspraak, Hof Den Haag, 02‑07‑2019; (Hoger beroep)
Cassatie: ECLI:NL:HR:2022:294, Bekrachtiging/bevestiging
ECLI:NL:GHDHA:2019:1066, Uitspraak, Hof Den Haag, 16‑04‑2019; (Hoger beroep)
Uitspraak 02‑07‑2019
Inhoudsindicatie
Octrooi. Vervolg op arrest van 16 april 2019. Bevoegheidsverweer / aanhoudingsverzoek i.v.m. reeds in Duitsland gevoerd Frand-verweer m.b.t. dezelfde octrooiportefeuille afgewezen. Strijd met Frand-verplichting? Toepassing Huawei / ZTE arrest HvJ EU.
Partij(en)
GERECHTSHOF DEN HAAG
Afdeling Civiel recht
Zaaknummer : 200.219.487/01
Zaaknummer rechtbank : C/09/511922/HA ZA 16-623
Arrest van 2 juli 2019
in de zaak met zaaknummer 200.219.487/01
inzake
Koninklijke Philips N.V.
gevestigd te Eindhoven,
appellante,
hierna te noemen: Philips
advocaat: mr. J.A. Dullaart,
tegen
WIKO SAS
gevestigd te Marseille (Frankrijk),
geïntimeerde,
hierna te noemen: Wiko,
advocaat: mr. R.E. Ebbink.
1. Het geding
1.1
Bij arrest van 16 april 2019 (het tussenarrest) heeft het hof geoordeeld dat de conclusies volgens het tweede hulpverzoek van EP 511 geldig moeten worden geacht en dat Wiko daarop inbreuk maakt. Het hof heeft in het tussenarrest iedere beslissing aangehouden omdat partijen waren overeengekomen over het door Wiko opgeworpen Frand-verweer afzonderlijk te pleiten, tegelijk met de behandeling van de Frand-verweren in de zaken betreffende EP 659 en EP 525.
1.2
Philips heeft bij akte nadere producties 34 tot met 38 overgelegd, Wiko heeft nadere producties 47 tot en met 55 overgelegd. Het pleidooi waarin het Frand-verweer van Wiko is behandeld heeft plaatsgevonden op 28 mei 2019. Philips is daarin bijgestaan door mrs B.J. van den Broek en R.J.F. Grijpink. Wiko is bijgestaan door haar advocaat voornoemd en diens kantoorgenoot G.D.G.M.G. Béquet. Aan beide zijden zijn pleitnotities voorgedragen en overgelegd (Frand-PA).
2. De feiten
In aanvulling op de in het tussenarrest vermelde feiten gaat het hof uit van de navolgende niet bestreden feiten:
2.1
Op 13 oktober 2014 heeft Philips aan Wiko een brief gestuurd, waarin zij Wiko heeft gewezen op haar octrooien die in de UMTS- en LTE-standaards zijn opgenomen, waaronder EP 511, EP 659 en EP 525, alsmede dat Wiko daarvan met in elk geval een aantal nader genoemde producten gebruik maakt. Tevens heeft zij laten weten dat daarvoor een licentie onder Frand-voorwaarden beschikbaar is en heeft zij Wiko uitgenodigd voor een bespreking. Daarop is Wiko, ook na herhaalde uitnodiging daartoe door Philips, niet ingegaan.
2.2
Bij brief van 28 juli 2015, met bijgesloten claim charts, heeft Philips een concept licentie-overeenkomst aan Wiko gestuurd, met de uitnodiging om daarover te overleggen en met het verzoek voor 25 augustus 2015 te laten weten of Wiko bereid is een licentie-overeenkomst met Philips aan te gaan. Daarop is een reactie van Wiko uitgebleven. Op 25 september 2015 heeft Philips aanvullende (‘updated’) claim charts aan Wiko gezonden. Ook daarop heeft Wiko niet gereageerd.
2.3
Op 19 oktober 2015 heeft Philips de dagvaarding in onderhavige procedure aan Wiko doen betekenen.
2.4
Op 25 augustus 2016 heeft Wiko aan Philips een tegenvoorstel voor een licentieovereenkomst gedaan. Sinds 2016 heeft Wiko regelmatig wereldwijde verkoopcijfers verschaft en bijbehorende escrow stortingen gedaan, inmiddels tot een bedrag van € 895.000.
3. Het geschil
3.1
In het tussenarrest heeft het hof geoordeeld dat de conclusies volgens het tweede hulpverzoek van het octrooi geldig moeten worden geacht en dat Wiko daarop inbreuk maakt. Wiko heeft aangevoerd dat Philips desalniettemin geen recht heeft op een inbreukverbod omdat Philips EP 511 heeft aangemeld als standaard-essentieel voor de UMTS-standaard en zij de daaraan verbonden contractuele verplichtingen niet is nagekomen en misbruik maakt van haar machtspositie zoals bedoeld in artikel 102 Verdrag betreffende de Werking van de Europese Unie (VWEU).
4. De beoordeling
bevoegdheidsverweer / verzoek om aanhouding
4.1
Landgericht Mannheim heeft bij vonnis van 2 maart 2018 het in die – eerst na onderhavige procedure aanhangig gemaakte – procedure door Wiko gevoerde Frand-verweer gehonoreerd. Philips is van die uitspraak in beroep gekomen. Het beroep van Wiko op de litispendentieregel van artikel 29 herschikte EEX-Vo, op grond waarvan volgens Wiko het hof niet bevoegd zou zijn over het Frand-verweer van Wiko te oordelen, als ook het verzoek van Wiko aan het hof om de behandeling van het Frand-verweer in onderhavige procedure aan te houden totdat over het Frand-verweer in een Duitse procedure is beslist op grond van samenhang als bedoeld in artikel 30 herschikte EEX-Vo, worden afgewezen. Anders dan Wiko heeft aangevoerd is geen sprake van vorderingen die hetzelfde onderwerp betreffen en op dezelfde oorzaak berusten, noch van samenhangende vorderingen waardoor gevaar voor onverenigbare beslissingen bestaat. De op verschillende territoirs betrekking hebbende respectieve verbod- en recallvorderingen in de onderscheiden procedures zijn gebaseerd op verschillende nationale octrooirechten (in Nederland de Nederlandse delen van EP 511, EP 659 en EP 525, in de Duitse procedure het Duitse deel van EP 1 062 744 dat niet ziet op het HSPA-protocol). Aan de voorwaarden voor toepassing van artikel 29 of 30 herschikte EEX-Vo is derhalve niet voldaan. Dat tegen deze onderscheiden vorderingen hetzelfde Frand-verweer, voor het eerst in de Duitse procedure, is gevoerd, maakt niet dat dit verweer in onderhavige procedure niet beoordeeld zou mogen worden. Voor de stelling van Wiko dat ‘dezelfde vordering’ in artikel 29 herschikte EEX-Vo gelijk gesteld moet worden aan ‘hetzelfde essentiële verweer’ bestaat geen grondslag. Volgens vaste jurisprudentie van het HvJ EU (vgl. zaken C-111/01 en C-39/02) dient voor de toepassing van de artikelen 29 en 30 herschikte EEX-Vo zowel voor wat betreft het onderwerp van de procedures als voor de aanhangigheid ervan uitsluitend te worden gekeken naar de ingestelde vorderingen en niet naar de verweermiddelen.
4.2
De door Wiko getrokken parallel met het Roche / Primus arrest (HR 30 november 2007, ECLI:HR:2007:BA9608) gaat niet op. In die zaak ging het er niet om dat het gevoerde verweer al eerder in een andere procedure naar voren was gebracht, maar betrof het verweer (tegen een cross-border verbodsvordering gebaseerd op een buitenlands octrooi) de gestelde ongeldigheid van het ingeroepen buitenlandse octrooi. De bevoegdheid om over de geldigheid van een octrooi te oordelen is exclusief voorbehouden aan de desbetreffende nationale rechter waar dat octrooi van kracht is. Een dergelijke (uitzonderlijke) situatie doet zich hier niet voor. De beoordeling van een Frand-verweer als zodanig is niet exclusief voorbehouden aan een bepaalde rechter.
4.3
Artikel 36 EEX-Vo (herschikt) dat ziet op de erkenning van buitenlandse beslissingen (i.c. de afwijzing van de op het Duitse deel van EP 744 gebaseerde verbod- en recallvordering) kan er evenmin aan afdoen dat het hof zelfstandig oordeelt over een verweer dat wordt gevoerd tegen toewijzing van een verbodsvordering die is gebaseerd op inbreuk op een (ander) in Nederland van kracht zijnde octrooi. De door Wiko voorgestane erkenning van het Mannheimse vonnis kan bovendien geen invloed hebben op de onderhavige procedure omdat het hier om verschillende octrooirechten gaat, zoals hiervoor onder 4.1 is uiteengezet.
4.4
Het hof acht zich derhalve bevoegd over het Frand-verweer van Wiko te oordelen. Voor het stellen van vragen aan het HvJ EU ziet het hof geen aanleiding en voor aanhouding evenmin.
Frand-verplichting
4.5
Philips heeft het octrooi aangemeld als een essentieel octrooi voor (het HSUPA-protocol van) de UMTS-standaard. Wiko heeft de essentialiteit van het octrooi voor die standaard niet bestreden. In het tussenarrest heeft het hof vastgesteld dat de maatregelen van conclusies 1, 9 en 12 van het octrooi (volgens het tweede hulpverzoek) inderdaad in (het HSUPA-protocol van) de UMTS-standaard zijn geïmplementeerd. De UMTS-standaard is vastgesteld door het European Telecommunications Standards Institute (ETSI), een zogenoemde ‘standard setting organisation’ (SSO) die zich ten doel stelt een standaard vast te stellen voor een mobiel communicatiesysteem, zodat basisstations en mobiele stations compatibel zijn en met elkaar kunnen communiceren.
4.6
Verschillende marktpartijen, waaronder Philips, hebben bijdragen geleverd aan de totstandkoming van de UMTS-standaard. Bijdragen die in een standaard zijn geïmplementeerd kunnen door een octrooi onder bescherming zijn gesteld, zoals ook een van de bijdragen aan de UMTS-standaard van Philips door EP 511. Zo’n octrooi wordt aangeduid als een ‘standard essential patent’ (SEP). Leden van ETSI hebben zich gebonden aan de ETSI Rules of Procedure (ETSI Rules), waarvan de ETSI Intellectual Property Rights Policy (ETSI IPR Policy) deel uitmaakt. Teneinde derden in de gelegenheid te stellen om tegen een redelijke vergoeding van de gestandaardiseerde technologie gebruik te maken, schrijft artikel 6.1 ETSI IPR Policy voor dat een houder van een standaard essentieel octrooi (SEP-houder) zich bereid dient te verklaren aan derden een licentie te verlenen onder hun SEP op zogenoemde ‘fair reasonable and non discriminatory’ (Frand-) voorwaarden. Hiermee wordt beoogd een evenwicht te bereiken tussen het belang van een effectieve octrooibescherming voor de SEP-houder en de gerechtvaardigde belangen van derden om dat octrooi (en dus de standaard) te kunnen gebruiken. Philips heeft op 15 januari 1998 zo’n verklaring afgelegd, die luidt als volgt:

Periodiek heeft Philips ETSI geïnformeerd welke specifieke octrooien relevant waren voor welke onderdelen van de UMTS-standaard. Op 26 november 2009 heeft zij dat gedaan voor (onder meer) EP 511, welk octrooi is geïmplementeerd in onderdeel TS 125.214 van de UMTS-standaard, dat in 2006 is vastgesteld.
4.7
In een aantal beschikkingen heeft de Europese Commissie (EC) overwogen dat het handhaven van een standaard essentieel octrooi op zichzelf niet mededingingbeperkend (’anticompetitive’) is, maar dat het onder bijzondere omstandigheden ongeoorloofd kan zijn om op basis van een standaard essentieel octrooi een verbodsvordering in te stellen tegen een derde die serieus bereid is om een licentie af te sluiten en hierover met de SEP-houder te goeder trouw te onderhandelen, ook wel aangeduid als een ‘willing licensee’ (par. 126 Google-beschikking, Case No COMP/M.6381).
Huawei / ZTE arrest
4.8
In het Huawei / ZTE arrest (van 16 juli 2016 in zaak C-170/13, ECLI:EU:C:2015:477) heeft het Hof van Justitie van de Europese Unie (HvJ EU) zich ook uitgelaten over de mogelijkheid van handhaving van een standaard essentieel octrooi. De vraag onder welke omstandigheden een SEP-houder geacht moet worden een machtspositie te hebben is door het HvJ EU niet beantwoord, omdat in het hoofdgeding het bestaan van een machtspositie niet was betwist. Het HvJ EU heeft het bestaan van een machtspositie bij zijn beslissing daarom tot uitgangspunt genomen (vgl. r.o. 43). In dat arrest heeft het HvJ EU als volgt voor recht verklaard:
“Artikel 102 VWEU moet aldus worden uitgelegd dat de houder van een octrooi dat essentieel is voor een door een standaardisatieorganisatie opgestelde standaard, die jegens deze standaardisatieorganisatie de onherroepelijke verbintenis is aangegaan om aan derden een licentie te verlenen onder eerlijke, redelijke en niet-discriminerende voorwaarden, genoemd FRAND-voorwaarden („fair, reasonable and non-discriminatory”), geen misbruik van zijn machtspositie in de zin van dat artikel maakt door een beroep wegens inbreuk in te stellen strekkende tot staking van de inbreuk op zijn octrooi of tot terugroeping van de producten voor de vervaardiging waarvan gebruik is gemaakt van dit octrooi, wanneer:
- hij vóór de instelling van dat beroep, enerzijds, de vermeende inbreukmaker in kennis heeft gesteld van de inbreuk die hem wordt verweten, met vermelding van dat octrooi en met precisering van de wijze waarop daarop inbreuk is gemaakt, en anderzijds, nadat de vermeende inbreukmaker te kennen heeft gegeven dat hij bereid is een licentieovereenkomst te sluiten onder FRAND-voorwaarden, deze inbreukmaker een concreet en schriftelijk aanbod van een licentie onder dergelijke voorwaarden heeft gedaan en daarbij met name de royalty en de wijze van berekening daarvan nader heeft aangegeven, en
- die inbreukmaker het betrokken octrooi blijft gebruiken en niet met bekwame spoed overeenkomstig de handelsgebruiken en te goeder trouw gevolg geeft aan dit aanbod, hetgeen dient te worden uitgemaakt aan de hand van objectieve elementen en inhoudt dat er geen sprake is van vertragingstactiek.”
4.9
In het Huawei / ZTE arrest geeft het HvJ EU een stappenplan waarin is uiteengezet wie wat moet doen op welk moment, alvorens een SEP-houder een verbodsvordering en een vordering tot terugroeping en vernietiging van inbreukmakende producten (‘recallvordering’) kan instellen zonder misbruik te maken van zijn (in die zaak veronderstelde) machtspositie.
4.10
De eerste stap (r.o. 61) is dat de SEP-houder de gebruiker van een standard essentieel octrooi (SEP-gebruiker) in kennis dient te stellen van de inbreuk die hem wordt verweten, met vermelding van het ingeroepen SEP en met precisering van de wijze waarop daarop inbreuk is gemaakt. Dit wordt ook wel aangeduid als de notificatieplicht. De reden dat de SEP-houder de eerste stap moet zetten, ook als er al gebruik wordt gemaakt van zijn SEP, is dat het gelet op het grote aantal SEPs waaruit een standaard bestaat, niet zeker is dat degene die inbreuk maakt op een van deze SEPs zich daarvan bewust is (r.o. 62). Deze benadering is anders dan die daarvoor was gehanteerd door de rechtbank Den Haag in Philips / SK Kassetten (17 maart 2010).
4.11
Uit de aanhef van r.o. 63 van het Huawei / ZTE arrest “Anderzijds dient de houder van dit SEO, nadat de vermeende inbreukmaker te kennen heeft gegeven dat hij bereid is een licentieovereenkomst te sluiten onder FRAND-voorwaarden, deze inbreukmaker een concreet en schriftelijk aanbod van een licentie onder FRAND-voorwaarden te doen” volgt dat de tweede stap is dat de SEP-gebruiker vervolgens te kennen dient te geven dat hij bereid is een licentieovereenkomst te sluiten onder Frand-voorwaarden. Hij dient zich met andere woorden een ‘willing licensee’ te tonen.
4.12
Indien dit is gebeurd dient de SEP-houder een licentie-aanbod te doen. Aan het slot van r.o. 63 overweegt het HvJ EU dat de SEP-houder bij zijn licentie-aanbod met name de royalty en de wijze van berekening daarvan nader dient aan te geven. In de daarop volgende rechtsoverweging (r.o. 64) maakt het HvJ EU duidelijk dat het aan de SEP-houder (en dus niet de SEP-gebruiker) is om een licentievoorstel te doen, omdat hij zich jegens de SSO heeft verbonden om licenties onder Frand-voorwaarden te verlenen, zodat van hem kan worden verwacht dat hij een dergelijk aanbod doet. Daarnaast overweegt het HvJ EU dat de SEP-houder in een betere positie verkeert dan de SEP-gebruiker om te onderzoeken of het aanbod voldoet aan het discriminatieverbod, gelet op het feit dat de met concurrenten gesloten overeenkomsten niet openbaar plegen te zijn.
4.13
Daarna is de SEP-gebruiker aan zet. Hij dient met bekwame spoed overeenkomstig de handelsgebruiken en te goeder trouw gevolg te geven aan dit aanbod. Dat houdt met name in dat er geen sprake is van vertragingstactiek. Als de SEP-gebruiker het hem gedane aanbod niet aanvaardt, kan hij slechts aanvoeren dat een vordering tot staken of tot terugroeping van producten misbruik oplevert, indien hij de SEP-houder op korte termijn en schriftelijk een concreet tegenaanbod doet dat aan de Frand-voorwaarden beantwoordt (r.o. 65-66).
4.14
Het hof is van oordeel dat het HvJ EU met het in het Huawei / ZTE arrest gegeven stappenplan niet heeft beoogd strikte regels te stellen, in die zin dat indien de SEP-houder niet aan een van de stappen precies en volledig zou hebben voldaan, dat direct en noodzakelijkerwijs met zich zou brengen dat handhaving van zijn SEP misbruik van machtspositie zou opleveren, ongeacht de verdere omstandigheden van het geval. Zoals door het HvJ EU in r.o. 55 en 56 tot uitdrukking gebracht moet bij de beoordeling van de vraag of handhaving van zijn octrooirechten door een SEP-houder als misbruik kan worden aangemerkt, rekening worden gehouden met de feitelijke omstandigheden van de zaak. Veeleer zijn de door het HvJ EU in het Huawei / ZTE arrest genoemde stappen daarom aan te merken als richtlijnen voor te goeder trouw onderhandelingen tussen partijen over een Frand-licentie. Enerzijds mag daarbij van de SEP-houder worden verwacht dat hij de SEP-gebruiker op de hoogte stelt van zijn SEPs, dat hij als eerste een licentie-aanbod doet en dat hij daarover te goeder trouw in onderhandeling treedt alvorens een verbodsactie in te stellen, zodat de onderhandelingen zonder druk van een dreigend verbod gevoerd kunnen worden. Anderzijds dient de SEP-gebruiker zich bereidwillig op te stellen en in het bijzonder geen vertragingstactieken toe te passen, hetgeen onder meer inhoudt dat hij op korte termijn een schriftelijk tegenvoorstel moet doen als hij het licentie-aanbod van de SEP-houder niet wil aanvaarden. De High Court in Engeland (Birss, J) heeft dat in de Unwired Planet v Huawei uitspraak (van 7 juni 2017, [2017] EHWC 711 (pat), bekrachtigd door de Court of Appeal bij uitspraak van 23 oktober 2018, [2018] EWCA Civ 2344) als volgt tot uitdrukking gebracht:
“(…) the judgment does not hold that if the circumstances diverge from the scheme set out in any way then a patentee will necessarily abuse their dominant position by starting such a claim. In those circumstances the patentee's conduct may or may not be abusive. The scheme sets out standard of behaviour against which both parties behaviour can be measured to decide in all the circumstances if an abuse has taken place.”
4.15
Uit het Huawei/ZTE arrest volgt dat – mits de SEP-houder voorafgaand aan de procedure aan zijn notificatieplicht heeft voldaan, hetgeen Wiko niet heeft bestreden – het een voorwaarde is voor het ontstaan van de verplichting aan de zijde van de SEP-houder om een Frand licentieaanbod te doen, dat de SEP-gebruiker na ontvangst van de notificatie zich bereid heeft getoond een licentie-overeenkomst onder Frand-voorwaarden aan te gaan. Die voorwaarde is niet vervuld, nu Wiko niet heeft bestreden dat zij zich voorafgaand aan het instellen van onderhavige procedure geen willing licensee heeft getoond, zoals door Philips gesteld. Aldus was Philips niet gehouden een licentievoorstel aan Wiko te doen en stond het haar vrij een verbodsactie tegen Wiko te beginnen, hetgeen Wiko evenmin bestrijdt (PA-Frand Wiko par. 2).
4.16
Niettemin heeft Philips op 28 juli 2015 haar standaard licentieovereenkomst aan Wiko aangeboden en zich bereid getoond met Wiko te onderhandelen. Daarop is Wiko niet ingegaan, terwijl zij evenmin binnen de vereiste bekwame spoed een tegenvoorstel heeft gedaan. Dat dit in het kader van te goeder trouw onderhandelingen van haar mocht worden verwacht, moet Wiko geacht worden te hebben geweten gelet op (met name ook r.o. 65 en 66 van) het inmiddels, op 16 juli 2015, uitgesproken Huawei / ZTE arrest.
4.17
Volgens Wiko zou dat licentie-voorstel niet aan de voorwaarden van het Huawei / ZTE arrest voldoen omdat Philips niet zou hebben gespecificeerd dat en waarom dit voorstel Frand zou zijn. Dat standpunt van Wiko is niet relevant omdat Philips reeds voordat zij het aanbod deed gerechtigd was een verbodsactie in te stellen en daarnaast ook onjuist, waartoe het hof ten overvloede als volgt overweegt.
4.18
Uit r.o. 63 van het Huawei / ZTE arrest kan niet worden afgeleid dat daarin het vereiste besloten ligt dat de SEP-houder in zijn licentie-aanbod toelicht waarom dat aanbod Frand zou zijn, net zo min als die voorwaarde expliciet of impliciet is opgenomen ten aanzien van het tegenaanbod door de SEP-gebruiker. Hetgeen het HvJ EU in r.o. 63 en 64 overweegt dient te worden begrepen in het licht van de aan het HvJ EU voorgelegde vragen van de Duitse rechter, tegen de achtergrond van de Orange Book beslissing van het Duitse Bundesgerichtshof, waarin was bepaald dat de SEP-gebruiker als eerste een licentievoorstel moest doen. Om de redenen gegeven in r.o. 64 (de SEP-houder heeft een Frand-verklaring afgelegd en is in de beste positie om een eerste voorstel te doen) heeft het HvJ EU gekozen voor een andere benadering dan in Orange Book, door te overwegen dat het de SEP-houder is die het licentievoorstel moet doen (indien en nadat de SEP-gebruiker zich een ‘willing licensee’ heeft getoond). Als onderdeel van de derde prejudiciële vraag was voorts aan het HvJ EU voorgelegd of het licentievoorstel alle bepalingen dient bevatten die gewoonlijk in licentieovereenkomsten op het betrokken technische gebied worden opgenomen. Tegen die achtergrond moet de zinsnede “the amount of the royalty and the way in which that royalty is to be calculated” uit r.o. 63 daarom zo worden begrepen dat het HvJ EU met name van belang acht dat in het aanbod uiteengezet wordt niet alleen wat de royaltyvergoeding is, maar de manier waarop die moet worden berekend. In dat verband is ook in aanmerking te nemen dat er vele modaliteiten zijn voor de berekening van de royalty (bijvoorbeeld op basis van het hele product of alleen een onderdeel ervan, percentages, in- en verkoopprijzen, kosten, staffels, etc.).
4.19
Uit het oordeel dat in het Huawei / ZTE arrest geen substantiëringsplicht besloten ligt volgt dat evenmin kan worden aangenomen dat het Frand-aanbod door de SEP-houder dient te worden onderbouwd door inzage te verschaffen in de met andere SEP-gebruikers gesloten – veelal vertrouwelijke – licentie-overeenkomsten. Een dergelijke verplichting volgt evenmin uit de ETSI-verklaring of enige ETSI-regel.
4.20
Het op 25 augustus 2016 door Wiko gedane tegenaanbod, derhalve ná het aanhangig maken van onderhavige procedures door Philips, kan er niet aan afdoen dat het Philips vrij stond de onderhavige procedure aanhangig te maken en de verbods- en recallvorderingen in te stellen, wegens de afwezigheid van de vereiste Frand-houding bij Wiko en het achterwege blijven van een tegenaanbod onder Frand-voorwaarden met de vereiste bekwame spoed. In dat verband merkt het hof op dat het eerdere door Wiko Germany GmbH aan Philips gedane tegenvoorstel in het kader van de in Duitsland aanhangige procedure niet als een (eerder) aanbod van Wiko kan gelden. In haar brief van 25 augustus 2016 stelt Wiko nadrukkelijk dat “Wiko Germany GmbH is not an affiliate of Wiko SAS or any other company of the Wiko Group as it is currently legally independent from the other Wiko companies.”.
4.21
Eerst na het aanhangig maken van de procedure getoonde bereidheid om in onderhandeling te treden over een licentieovereenkomst en een eventueel in dat verband gedaan tegenaanbod kan er hooguit toe leiden dat de SEP-houder daarover (parallel aan de procedure) te goeder trouw onderhandelt met de SEP-gebruiker, maar kan er niet toe leiden dat de reeds aanhangig gemaakte procedure alsnog – achteraf bezien – als een misbruik van machtspositie zou moeten worden aangemerkt, dan wel dat van de SEP-houder verwacht mag worden dat hij deze procedure zou aanhouden of zijn verbods- en recall-vorderingen intrekt. Een ander oordeel zou ertoe leiden dat de SEP-gebruiker geen enkel belang meer zou hebben bij het volgen van het stappenplan uit het Huawei/ZTE arrest, hetgeen de deur zou openzetten naar vertragingstactieken aan de zijde van een SEP-gebruiker, wat moet worden voorkomen, zoals het HvJ EU heeft overwogen (r.o. 65). Dat de SEP-gebruiker alsdan moet onderhandelen onder de dreiging van een verbods- en recallvordering, zoals door Wiko opgemerkt, is een rechtstreeks gevolg van diens eigen nalaten om tijdig zijn bereidheid om te goeder trouw te onderhandelen over een licentie-overeenkomst onder Frand-voorwaarden kenbaar te maken en op korte termijn een concreet tegenaanbod te doen dat aan de Frand-voorwaarden beantwoordt. Wiko had dit kunnen voorkomen door zich tijdig als een willing licensee op te stellen.
4.22
Het HvJ EU heeft de mogelijkheid van het voeren van een misbruik van recht verweer (en daarmee de uitzondering op het handhavingsrecht van de SEP-houder) nadrukkelijk afhankelijk gemaakt van het naleven van die verplichtingen door de SEP-gebruiker. In r.o. 66 heeft het HvJ EU overwogen dat de SEP-houder “slechts [kan] aanvoeren dat een vordering tot staken of tot terugroeping van producten misbruik oplevert, indien hij de houder van het betrokken SEO op korte termijn en schriftelijk een concreet tegenaanbod doet dat aan de FRAND-voorwaarden beantwoordt.”. Blijkens hetgeen Wiko heeft gesteld in par. 466 MvA (“de vermeende inbreukmaker … kan [hij] een verbod voorkomen door de octrooihouder een nieuw licentievoorstel te doen” - cursivering hof) onderkent zij dit zelf ook. Bij gebreke van een SEP-houding bij Wiko komt het beroep op misbruik van recht door Philips om haar octrooi tegenover Wiko te handhaven Wiko dus niet toe. In dezelfde zin heeft het Landgericht Mannheim overwogen in diens uitspraak van 25 november 2016 in de eveneens op 19 oktober 2015 aanhangig gemaakte procedure tussen Philips en Wiko Germany GmbH over EP 525, waarin de verbodsvorderingen van Philips zijn toegewezen. Het schorsingsverzoek tegen het opgelegde inbreukverbod is op 31 januari 2017 door het Oberlandesgericht Karlsruhe afgewezen. Dat het Landgericht Mannheim in de hiervoor genoemde Duitse procedure tegen Wiko (zie 4.1) de verbodsvorderingen van Philips heeft afgewezen, vindt zijn oorzaak daarin dat de feiten in die procedure anders waren, in die zin dat die procedure eerst later aanhangig is gemaakt en Wiko naar het oordeel van het Duitse gerecht zich inmiddels (na het aanhangig maken van onderhavige procedure en de procedure tegen Wiko Germany, maar voor het aanhangig maken van de Duitse procedure tegen Wiko) een willing licensee had getoond. Ingevolge het Huawei / ZTE arrest rustte daardoor op Philips de plicht een licentie-aanbod onder Frand-voorwaarden te doen en heeft de Duitse rechter – die van oordeel was dat in het Huawei / ZTE arrest een substantiëringsplicht voor de octrooihouder besloten ligt – geoordeeld dat Philips niet aan haar substantiëringsplicht had voldaan en daarom de verbodsvordering afgewezen.
misbruik van machtspositie
4.23
Hoewel Philips ook volgens Wiko ‘in haar recht stond toen zij de onderhavige inbreukacties aanspande en ook toen zij deze zaken voortzette’ (par. 2 Frand-PA Wiko) stelt Wiko zich op het standpunt dat toewijzing van de verbods- en recallvordering niettemin niet gerechtvaardigd is wegens omstandigheden die zich nadien hebben voorgedaan. Daartoe voert Wiko het navolgende aan. De door Philips aangeboden licentieovereenkomst voldoet niet aan de Frand-voorwaarden. Philips weigert toe te lichten waarom dit voorstel Frand (met name ‘non discriminatory’) zou zijn. Voorts heeft Wiko zich, nadat Philips onderhavige procedure aanhangig had gemaakt, wel bereid verklaard om met Philips te goeder trouw te onderhandelen over een licentie-overeenkomst onder Frand-voorwaarden en heeft zij daartoe ook een tegenvoorstel onder Frand-voorwaarden gedaan. Vervolgens heeft Philips zich niet bereid getoond om te goeder trouw met Wiko over de hoogte van de licentievergoeding te onderhandelen, terwijl zij tegenover concurrenten heeft verklaard dat de royalty-vergoeding van USD 0,75 slechts een openingsbod was. Philips daarentegen is van oordeel dat Wiko zich niet een ‘willing licensee’ heeft getoond, zodat Wiko niet heeft voldaan aan de in het Huawei / ZTE arrest gestelde basisvoorwaarde voor het kunnen voeren van een Frand-verweer. Nadien getoonde willingness kan daaraan niet af doen, zodat de verbods- en recall-vorderingen reeds daarom moeten worden toegewezen. Verder voldoet haar licentie-voorstel wel aan Frand-voorwaarden en heeft Wiko zich ook na het aanhangig maken van de procedure niet als een willing licensee opgesteld, aldus Philips. Het hof overweegt daaromtrent als volgt.
4.24
Voor zover het verweer van Wiko aldus moet worden begrepen dat zij meent dat Philips – buiten de context van het Huawei / ZTE arrest bezien – is tekort geschoten in de nakoming van de op haar, ingevolge haar ETSI-verplichting en haar machtspositie, rustende verplichting om, na het aanhangig maken van en parallel aan onderhavige procedure, te goeder trouw met Wiko te blijven onderhandelen over een licentie-overeenkomst onder Frand-voorwaarden – door geen Frand-aanbod te doen en te weigeren te goeder trouw met Wiko te onderhandelen over het door Wiko gedane tegenaanbod dat wel aan Frand-voorwaarden zou voldoen – en dat dit met zich zou brengen dat de verbods- en recallvorderingen – hoewel rechtmatig ingesteld – om die reden (alsnog) niet toewijsbaar zouden zijn, overweegt het hof als volgt.
4.25
Daargelaten de vraag of een dergelijk verweer ertoe kan leiden dat de door Philips rechtmatig ingestelde verbods- en recallvorderingen niet toewijsbaar zouden zijn (ook Wiko meent dat dit onduidelijk is, vgl. par. 258 AMnC), kan het verweer van Wiko in het onderhavige geval niet slagen (zodat het hof geen aanleiding ziet tot het stellen van prejudiciële vragen aan het HvJ EU zoals door Wiko voorgesteld). Voor het slagen van dit verweer is ingevolge artikel 150 Rv en artikel 2 Verordening (EG) 1/2003 ten minste vereist dat Wiko van haar stelling dat het door Philips gedane licentie-aanbod niet aan de Frand-voorwaarden voldoet, bewijs bijbrengt. Daaraan heeft Wiko niet voldaan.
4.26
Philips heeft bij aanbieding van haar licentievoorstel bij brief van 28 juli 2015 laten weten dat dit een ‘standaard’ licentievoorstel betrof, derhalve een voorstel dat aan iedere potentiële licentienemer werd (en wordt) aangeboden en waarover discussie mogelijk was. Ook de overgelegde verdere correspondentie, waaronder de e-mail van 2 augustus 2018 van mevrouw [naam 1] , Principal Licensing Counsel van Philips en contactpersoon voor Wiko met betrekking tot het UMTS/LTE licentieprogramma van Philips (waarin is opgenomen: “we are willing to discuss different licensing structures if Wiko so desired, such as a lump sum arrangement. At multiple occasions, we have invited Wiko to make a serious counteroffer, but much to our disappointment these invitations have turned out to be made in vain.”), alsmede de in elk geval in dat opzicht onvoldoende gemotiveerd weersproken verklaring van mevrouw [naam 1] , blijkt genoegzaam dat Philips bereidheid heeft getoond om nadere toelichting te geven op dat voorstel en daarover met Wiko te onderhandelen, waarmee desgewenst ook specifiek voor haar situatie onredelijk uitpakkende voorwaarden ter discussie gesteld hadden kunnen worden.
4.27
In het voorstel van Philips is een wereldwijde licentie opgenomen voor de volledige voor UMTS en LTE relevante octrooiportefeuille bestaande uit 97 octrooifamilies (55 UMTS en 42 LTE), tegen een vergoeding van USD 0,75 per gelicentieerd product bij nakoming van de overige verplichtingen uit de overeenkomst (het compliance-tarief) en USD 1,- bij non-compliance en voor verkopen in het verleden (‘past sales’). Philips heeft de redelijkheid van dat voorstel onderbouwd met rapporten van professor [professor] (hierna: [professor] ). Hij concludeert: “Philips' offer (see Exhibit 3) for a license for Philips' UMTS and LTE portfolios on a worldwide basis for the life of the patents with a per unit royalty of USD 0.75 per product reflects FRAND terms and conditions”. [professor] heeft zich mede gebaseerd op een (in het kader van diens eigen onderhandelingen opgestelde) interne analyse van een licentienemer met betrekking tot “the value of Philips' UMTS patent portfolio vis-a-vis the broader value for all SEPs”, de blijkens diverse publicaties door derden gehanteerde licentievergoedingen, de ‘litigation history’ en het aandeel van de Philips portefeuille in de relevante standaard. Weliswaar heeft Wiko de nodige kritiek geuit op dit rapport, maar daarmee miskent Wiko dat het, zoals hiervoor in r.o. 4.25 overwogen, niet aan Philips is om te bewijzen dat haar voorstel Frand is, maar dat de bewijslast van de door Wiko gestelde niet-Frandheid van het voorstel van Philips op haar rust. Wiko heeft zelf geen rapportage overgelegd ter onderbouwing van haar standpunt.
4.28
Voor het standpunt van Wiko dat de door Philips aangeboden royalty-vergoeding te hoog zou zijn ontbreekt voldoende onderbouwing, mede in het licht van de rapporten van [professor] , waar Wiko onvoldoende tegenover heeft gesteld. In het bijzonder heeft Wiko de bij het eerste rapport van [professor] bijgesloten analyse van de waarde van Philips’ UMTS portefeuille door een andere licentienemer, die leidt tot een hogere vergoeding dan door Philips voorgesteld, inhoudelijk niet bestreden.
4.29
Het standpunt van Wiko, dat het licentievoorstel van Philips al niet Frand kan zijn omdat de rechtbank Den Haag alle drie de door Philips in Nederland ingeroepen octrooien (EP 511, EP 659 en EP 525) heeft vernietigd, wat er volgens Wiko op wijst – ervan uitgaand dat dit de sterkste octrooien uit haar portefeuille zullen zijn – dat de door Philips voorgestelde royalty ‘veel te hoog’ was, kan niet slagen. Daargelaten dat dit standpunt van Wiko in tegenspraak is met de door haar geuite kritiek op het rapport van [professor] , waarin bij de waardering van de portefeuille van Philips wordt gewezen op de uitkomst van eerdere procesvoering over een aantal octrooien, hetgeen volgens Wiko “niet geschikt [is] als onderbouwing voor FRAND-conformiteit van het verlengde royaltytarief” (par. 514 MvA), heeft geen van de vonnissen kracht van gewijsde en heeft het hof in elk geval EP 511 (volgens het tweede hulpverzoek) wel geldig acht. Ook in Duitsland en Engeland is dit octrooi in stand gebleven.
4.30
In het licht van de bereidheid van Philips om over de voorwaarden van haar licentievoorstel te goeder trouw met Wiko te onderhandelen kan ook het standpunt van Wiko dat onduidelijk zou zijn wat de reikwijdte van de licentie-overeenkomst is, niet leiden tot het oordeel dat het aanbod van Philips niet Frand zou zijn, zoals Wiko aanvoert. Nog daarvan afgezien dat naar het oordeel van het hof over die reikwijdte redelijkerwijs geen onduidelijkheid kon bestaan, heeft Philips tijdens de procedure verduidelijkt om welke octrooien het gaat (namelijk haar UMTS/LTE octrooien zoals ook vermeld op de lijst bijgevoegd bij de eerste notificatiebrief, par. 286 MnC) en zich bovendien (nogmaals) bereid verklaard een en ander nader toe te lichten.
4.31
Voor de door Wiko geuite bezwaren tegen de duur van de overeenkomst (tot afloop van het laatste octrooi), de koppeling van de portefeuilles voor UMTS en LTE technologie – die naar Philips onweersproken heeft gesteld complementair zijn en allebei door Wiko worden toegepast – en de vaste licentievergoeding (onafhankelijk van de verschillende looptijd van de diverse octrooien en mogelijke nietigverklaring van octrooien uit de portefeuilles) geldt dat Wiko niet heeft onderbouwd dat deze bepalingen ongebruikelijk zouden zijn bij licentiëring van omvangrijke wereldwijde octrooiportefeuilles. Evenmin heeft Wiko voldoende onderbouwd dat een vaste vergoeding, in relatie tot de hoogte van de vergoeding waarin, naar Philips heeft aangevoerd, het verloop van de portefeuille is verdisconteerd, onredelijk zou zijn. Voorts geldt ook hiervoor dat Philips bereid was daarover met Wiko te onderhandelen, op welk aanbod Wiko niet heeft gereageerd.
4.32
Nog daargelaten dat Wiko niet heeft aangetoond dat een royaltyvergoeding van USD 1,- per product onredelijk zou zijn, valt niet in te zien dat het onredelijk en ongebruikelijk zou zijn dat de royaltyvergoeding in geval van niet-nakoming hoger is (USD 1,- in plaats van USD 0,75 bij ‘compliance’), zoals Wiko verder heeft aangevoerd. Wiko heeft dit na betwisting door Philips ook niet onderbouwd. Datzelfde geldt voor toepassing van het non-compliance tarief van USD 1,- over het verleden, in elk geval vanaf de eerste notificatie door Philips, waarna Wiko op de hoogte was van de octrooien van Philips maar zich vervolgens geen willing licensee heeft getoond. Ook op dit punt heeft Philips zich bovendien bereid verklaard met Wiko te onderhandelen, waarop Wiko niet is ingegaan.
4.33
Anders dan Wiko stelt heeft zij naar het oordeel van het hof voorts onvoldoende onderbouwd gesteld en al helemaal onvoldoende bewijs geleverd voor haar stelling dat het aanbod van Philips discriminatoir zou zijn. Mede in het licht van de door Philips overgelegde deskundige-verklaring van [professor] ter zake van het niet-discriminatoire karakter van haar standaard licentie-overeenkomst, alsmede de verklaring van Dr [naam 2] (Principal Licensing Counsel in het Intellectual Property and Standards Department van Philips en betrokken bij de licentiëring van de UMTS/LTE octrooi portefeuilles) heeft Wiko niets aangevoerd op grond waarvan zelfs maar een vermoeden van discriminatie gerechtvaardigd is. De door [professor] genoemde licentie-inkomsten van Philips gerelateerd aan de door een Duits marktonderzoeksbureau genoemde wereldwijde verkoopcijfers van smartphones – waaruit volgens Wiko zou blijken dat Philips van derden aanzienlijk lagere vergoedingen zou ontvangen – levert zo’n vermoeden niet op, alleen al omdat uit het rapport van [professor] blijkt dat Philips (in elk geval in die periode) nog lang niet met alle producenten van mobiele telefoons een licentie-overeenkomst had afgesloten: “The current licensees collectively represent more than 19% of 2016 worldwide smartphone volume.”
4.34
Wiko heeft er verder op gewezen dat Philips met andere partijen andere voorwaarden, waaronder andere wijzen van berekening van de royaltyvergoeding (zoals de betaling van een lump sum) en/of (kortere) duur, heeft afgesproken. Dat betekent evenwel nog niet dat het aan Wiko gedane voorstel daarom (vermoedelijk) discriminatoir zou zijn. Een verbod van discriminatie betekent immers niet dat steeds precies dezelfde licentiestructuur en identieke voorwaarden moeten worden gehanteerd. Specifieke voor een bepaalde licentienemer geldende feiten en omstandigheden kunnen ertoe leiden dat andere passende voorwaarden zijn of worden overeengekomen, zonder dat daarmee sprake is van ongerechtvaardigde benadeling van andere licentienemers bij de mededinging. Dat daadwerkelijk ten gevolge van het hanteren van verschillende voorwaarden onder (soort)gelijke omstandigheden sprake zou zijn van een concurrentienadeel heeft Wiko overigens ook niet voldoende onderbouwd.
4.35
Anders dan het Landgericht Mannheim in een procedure tussen partijen heeft overwogen, is het hof van oordeel dat uit het enkele feit dat met een individuele licentienemer een andere licentiestructuur is afgesproken nog geen (vermoeden van) discriminatie door Philips kan worden afgeleid. Wiko heeft ook niet voldoende onderbouwde feiten of omstandigheden naar voren gebracht die een dergelijke gevolgtrekking zouden kunnen rechtvaardigen. Voor haar stelling dat zij van derden heeft gehoord dat Philips aan Apple en Huawei gunstiger licentievoorwaarden zou hebben verleend, heeft zij geen enkel bewijs, waaruit ten minste blijkt van de bron van de informatie en de feiten waarop die mededelingen zijn gebaseerd, overgelegd.
4.36
De stelling van Wiko dat Philips niet bereid zou zijn geweest ook met Wiko een lump sum vergoeding af te spreken moet onjuist worden geacht. Uit de overgelegde correspondentie (zie r.o. 4.26) blijkt dat Philips zich bereid heeft verklaard met Wiko te onderhandelen over passende voorwaarden van de licentie-overeenkomst, waaronder expliciet een andere licentiestructuur dan een running royalty, zoals de betaling van een lump sum. Philips heeft Wiko nadrukkelijk verzocht een daarop gebaseerd tegenvoorstel te doen, maar Wiko heeft daaraan geen gehoor gegeven.
4.37
Wiko heeft erop gewezen dat zij niet beschikt over de licentie-overeenkomsten die Philips voor dezelfde octrooiportefeuille met andere partijen heeft gesloten, zodat zij niet in staat is de niet-Frandheid van het voorstel van Philips aan te tonen. Daargelaten dat blijkens hetgeen hiervoor is overwogen Wiko op diverse punten heeft nagelaten haar stellingen te onderbouwen en daarvan bewijs bij te brengen en haar verweer reeds daarop moet stranden, gaat dat standpunt niet op. Wiko heeft licentie-overeenkomsten afgesloten voor UMTS en LTE portefeuilles met Qualcomm, Huawei en Nokia. Door inzicht te verschaffen in de met die partijen overeengekomen vergoedingen en bedingen in relatie tot de (waarde van de) door die partijen gehouden SEP’s, had Wiko (een vermoeden van) de door haar gestelde niet-Frandheid van het aanbod van Philips en de gestelde Frandheid van haar eigen tegenaanbod kunnen onderbouwen, hetgeen zij evenwel heeft nagelaten. Onder die omstandigheden ziet het hof geen aanleiding voor omkering van de bewijslast dan wel het aannemen van een verzwaarde stelplicht voor Philips, zoals Wiko heeft betoogd.
4.38
Het tegenvoorstel van Wiko is gebaseerd op het (numerieke) aandeel van de portefeuille van Philips (97 octrooifamilies) afgezet tegen alle 12.000 essentiële UMTS/LTE octrooifamilies. Uitgaande van een maximale royaltylast van 12%, resulteert dat in een vergoeding van 0,001% per octrooifamilie. Voor de portefeuille van Philips zou dat uitkomen op 0,097%. Na aftrek van een aantal kortingen komt het aanbod van Wiko uit op een vergoeding van 0,042% compliance rate, 0,066% non-compliance rate en 0,0315% voor past sales (75% van de compliance rate), per gelicentieerd product. Uitgaande van de door Wiko gerapporteerde cijfers over 2015 komt de compliance rate neer op een bedrag van € 0,027 per product, de non-compliance rate op € 0,043 en de vergoeding voor past sales op € 0,020, zoals Philips onweersproken heeft aangevoerd. Wiko heeft nog gesteld dat zij haar aanbod in september 2017 mondeling heeft verhoogd naar USD 0,084 per telefoon (en heeft dit aanbod ter zitting herhaald). Philips stelt dat dit geen verhoging tot USD 0,084, maar een verdubbeling van het eerdere aanbod tot een percentage van 0,084% (uitgaande van de compliance rate van 0,042%) betrof en bovendien niet daadwerkelijk een aanbod (maar een ‘test’ om te zien hoe Philips zou reageren). Dat Philips hier het gelijk aan haar zijde heeft ligt in de rede. Wiko heeft volgens de verklaring van [naam 3] , Chief Intellectual Property Officer bij Wiko, “offered to increase (double) our royalty proposal” en Wiko is daarna bij de berekening van haar escrow-betalingen niettemin blijven uitgaan van haar tegenvoorstel met een compliance-rate van 0,042%, zoals bij e-mail van 26 juni 2018: “Applying the compliant rate according to the counteroffer (0.042% of the net selling price) (…)”. Voor de beoordeling van de Frandheid van het voorstel van Wiko maakt het overigens geen verschil van welke lezing wordt uitgegaan.
4.39
Wiko heeft aangevoerd dat de licentievergoeding in relatie dient te staan tot de (technische en economische) waarde van de octrooiportefeuille voor de standaard. Philips heeft dat uitgangspunt onderschreven. Het voorstel van Wiko is echter, in strijd met haar eigen stellingen, uitsluitend gebaseerd op de hoeveelheid octrooien van Philips. Een deugdelijke onderbouwde analyse van de technische en economische waarde van de portefeuille van Philips ontbreekt.
4.40
Beide partijen gaan er vanuit dat het aandeel van een portefeuille in het totale aandeel SEP’s in (het relevante onderdeel van) de desbetreffende standaard een factor is die moet worden meegewogen bij de beoordeling van de redelijkheid van de licentievergoeding. Wiko heeft het aandeel van de portefeuille van Philips echter ten onrechte gerelateerd aan álle 12.000 SEP’s uit de UMTS/LTE standaard, derhalve met inbegrip van SEP’s die zien op heel andere onderdelen van de standaard, zoals de basisstations en verdere infrastructuur. Niet is in te zien en evenmin is steekhoudend onderbouwd waarom voor de waardering van de portefeuille van Philips en de hoogte van de voor het gebruik daarvan verschuldigde vergoeding, octrooifamilies die niet zien op mobiele stations relevantie zouden hebben, terwijl de portefeuille van Philips, naar zij onweersproken heeft gesteld, uitsluitend ziet op – en Wiko ook alleen gebruik maakt van – SEP’s die zien op mobiele telefoons. Het procentuele aandeel van de 97 octrooifamilies van Philips in het totale aantal voor mobiele telefoons relevante SEP’s is aanzienlijk (bijna tienmaal) hoger, uitgaande van het door Philips genoemde en door Wiko niet bestreden aantal van 1.279 voor mobiele telefoons relevante UMTS en LTE SEP’s (par. 304 MnC en noot 50).
4.41
Daarnaast ontbreekt een onderbouwing dat en waarom de door Wiko toegepaste kortingen (op de berekende 0,097%) gebruikelijk en redelijk zouden zijn. De enkele stelling van Wiko dat een korting gerechtvaardigd is omdat er naar ervaringsregels vanuit gegaan moet worden dat een groot aantal van de octrooien die deel uitmaken van de portefeuille van Philips ongeldig en niet-essentieel zijn, is onvoldoende. Daarmee wordt immers geen rekening gehouden met de relatieve waarde van Philips’ octrooiportefeuille ten opzichte van andere SEP portefeuilles in dezelfde standaard, waarvoor dan immers hetzelfde heeft te gelden. Evenzeer heeft Wiko nagelaten te onderbouwen waarom zou moeten worden uitgegaan van een maximale licentiedruk van 12%, hetgeen wel van haar mocht worden verwacht gelet op het rapport van [professor] , die concludeert dat “in this case royalty stacking could not be a problem and that the royalty rate asked by Philips would not contribute to or exacerbate royalty stacking. In fact, as will be discussed below, when taking the relative value of Philips' portfolio into account, the proposed royalty rates are fair and reasonable even if a hypothetical royalty stack is applied.”. Ten slotte is niet in te zien waarom voor het verleden een substantieel lagere vergoeding verschuldigd zou zijn, al helemaal niet in aanmerking genomen de stelling van Wiko dat de portefeuille met het verloop van de tijd juist steeds minder waard wordt wegens het aflopen van octrooibescherming, hetgeen juist een hogere vergoeding over het verleden zou rechtvaardigen.
4.42
De slotsom is dat naar het oordeel van het hof het tegenvoorstel van Wiko hoe dan ook niet geacht kan worden te voldoen aan Frand-voorwaarden.
4.43
Gelet op hetgeen hiervoor is overwogen heeft Wiko naar het oordeel van het hof onvoldoende onderbouwd dat het aanbod van Philips niet Frand zou zijn en kan niet worden aangenomen dat het voorstel van Wiko wel aan Frand-voorwaarden voldoet. Onder die omstandigheden, mede in aanmerking genomen hetgeen hiervoor in 4.26 reeds is overwogen over de bereidheid van Philips om met Wiko te onderhandelen, kan evenmin worden aangenomen dat bij Philips de bereidheid om met Wiko te goeder trouw te onderhandelen over een licentie-overeenkomst onder Frand-voorwaarden ontbrak. Dat Philips niet bereid was te onderhandelen op basis van het voorstel van Wiko brengt onder de gegeven omstandigheden niet met zich dat Philips geen willing lisensor zou zijn, zoals Wiko heeft betoogd.
4.44
De vraag of Wiko na het aanhangig worden van de onderhavige procedure alsnog ‘willing’ is geworden, zoals Wiko stelt, maar Philips bestrijdt, kan bij deze stand van zaken in het midden blijven.
4.45
De slotsom is dat niet is komen vast te staan dat Philips onder de gegeven omstandigheden misbruik zou maken van haar (door Wiko gestelde) machtspositie. Het verweer van Wiko dat de vorderingen van Philips wegens misbruik van machtspositie niet toewijsbaar zouden zijn moet derhalve reeds om die reden worden verworpen. De vraag of Philips daadwerkelijk een economische machtspositie in de zin van artikel 102 VWEU heeft, hetgeen Wiko heeft gesteld maar Philips heeft betwist, behoeft geen beantwoording.
derdenbeding
4.46
Wiko heeft verder nog aangevoerd dat Philips haar octrooi niet jegens Wiko zou mogen handhaven omdat Philips in strijd zou handelen met haar ETSI Frand-verklaring die een derdenbeding bevat waarop Wiko zich rechtstreeks kan beroepen. Uit hetgeen hiervoor is overwogen volgt dat Wiko naar het oordeel van het hof onvoldoende bewijs heeft bijgebracht voor haar standpunt dat Philips geen licentie-aanbod onder Frand-voorwaarden aan Wiko heeft aangeboden. Aldus kan Wiko’s op deze grondslag gebaseerde verweer tegen de toewijzing van de verbods- en recallvordering evenmin slagen.
belang bij verbod
4.47
Het standpunt van Wiko dat Philips geen belang zou hebben bij een verbod, gelet op de door Wiko gestelde zekerheid, wordt verworpen. Deze zekerheid is in hoge mate gebaseerd op de door Wiko voorgestelde vergoeding die aanzienlijk lager is dan het door Philips gedane voorstel waarvan niet is komen vast te staan dat dit niet Frand zou zijn. Dat Philips zelf niet actief is op de markt, zoals Wiko verder nog heeft opgemerkt, doet er niet aan af dat zij onder de gegeven omstandigheden recht en belang heeft bij handhaving van haar octrooirechten.
vorderingen in conventie
4.48
Nu geen van de door Wiko aangevoerde stellingen de gevolgtrekking kunnen rechtvaardigen dat Philips haar octrooi niet jegens Wiko zou mogen handhaven, komt het hof toe aan de beoordeling van het door Philips op grond van de door Wiko gepleegde inbreuk op EP 511 gevorderde.
4.49
Nu reeds direct in de hoofdzaak zal worden beslist over het gevorderde bestaat voor toewijzing van de provisionele vorderingen, die zijn ingesteld voor het geval de hoofdzaak zou worden vertraagd, gaan aanleiding.
4.50
Gelet op het oordeel dat EP 511 volgens het tweede hulpverzoek geldig geacht moet worden en Wiko daarop inbreuk maakt, alsmede de afwijzing van de tegen handhaving door Philips gerichte verweren, komt het door Philips gevorderde verbod als hierna vermeld voor toewijzing in aanmerking.
4.51
De gevorderde verklaring voor recht zal worden afgewezen nu Philips niet heeft gesteld welk afzonderlijk belang zij daarbij heeft naast toewijzing van de verbodsvordering.
4.52
Ter zake van de door Philips gevorderde opgave van afnemers en recall heeft Wiko aangevoerd dat dit te ruim geformuleerd en onbepaald zou zijn. Zij licht dit (slechts) toe door erop te wijzen dat zij haar producten ook op haar website heeft aangeboden. Bij die vorm van aanbieden is uiteraard niet te achterhalen wie van dat aanbod heeft kennisgenomen. Waarom de vordering overigens te ruim en onbepaald zou zijn valt niet in te zien. Wiko moet in staat worden geacht in haar administratie te achterhalen aan welke afnemers zij inbreukmakende producten heeft verkocht, verhuurd, afgeleverd of daartoe - anders dan via haar website - heeft aangeboden. De vorderingen zullen daarom als hierna vermeld, beperkt tot Nederland en niet-particuliere afnemers, worden toegewezen.
4.53
Wiko meent verder dat haar niet kan worden bevolen dat de recall gepaard dient te gaan met de toezegging om de aankoopprijs en retourkosten te vergoeden, omdat dit de rechtsverhouding tussen Wiko en haar afnemers regardeert, waarbij Philips geen partij is. Daarmee miskent Wiko dat met een recall wordt beoogd de gevolgen van het inbreukmakende handelen van Wiko zoveel mogelijk te beperken door te voorkomen dat reeds afgeleverde inbreukmakende producten verder worden verhandeld. Indien geen terugbetaling van de aankoopprijs en onkosten wordt aangeboden, zal er geen incentive zijn voor afnemers hun producten terug te sturen. Philips heeft bij een dergelijk bevel derhalve wel degelijk recht en belang.
4.54
Gelet op het vertrouwelijke karakter van de afnemersgegevens zal worden bepaald dat deze gegevens aan de advocaat van Philips verstrekt dienen te worden, zoals door Wiko verzocht.
4.55
Voor het verlengen van de termijn voor de gevorderde opgave en recall van twee naar vier weken ziet het hof geen aanleiding, nu Wiko onvoldoende heeft toegelicht waarom onder de gegeven omstandigheden een termijn van twee weken daartoe niet haalbaar en dus onredelijk zou zijn.
4.56
De vordering tot vernietiging van inbreukmakende producten, zowel die nog in voorraad zijn als die worden geretourneerd, als van brochures en promotiemiddelen daarvoor, zal worden toegewezen als hierna vermeld, waarmee wordt tegemoetgekomen aan de door Wiko gestelde onduidelijkheid omtrent de termijnen waarop een en ander dient te zijn geschied. Waarom onduidelijk zou zijn wat onder “alle brochures en promotiemiddelen” moet worden verstaan, heeft Wiko niet toegelicht en ziet het hof niet in, zodat er geen aanleiding is de gevorderde vernietiging daarvan af te wijzen. Evenmin heeft Wiko toegelicht waarom zij voor de gevorderde vernietiging twee maanden nodig zou hebben en twee weken onhaalbaar zou zijn, zodat het hof het verzoek een langere termijn te bepalen niet honoreert.
4.57
Het hof ziet ook geen aanleiding aan de door Philips gevorderde vernietiging de voorwaarde te verbinden dat dit arrest in kracht van gewijsde is gegaan, zoals door Wiko verzocht. Tenuitvoerlegging zolang dit arrest geen kracht van gewijsde heeft gekregen is voor rekening en risico van Philips. Het verzoek om aan tenuitvoerlegging van het bevel tot vernietiging de voorwaarde van zekerheidstelling te verbinden wordt afgewezen, nu Wiko niet onderbouwd heeft gesteld dat er een verhaalsrisico zou zijn.
4.58
Voor matiging of maximering van de gevorderde dwangsommen ziet het hof onder de gegeven omstandigheden geen reden. Het standpunt van Wiko dat de dwangsomvordering onduidelijk zou zijn geformuleerd deelt het hof niet, zodat deze kan worden toegewezen als gevorderd.
4.59
De door Philips gevorderde schadevergoeding wegens gepleegde octrooi-inbreuk en/of afdracht van daarmee behaalde winst zal worden toegewezen. Anders dan Wiko aanvoert zal deze niet eerst vanaf de datum van dagvaarding, maar in elk geval vanaf de datum van notificatie door Philips op 13 november 2014 verschuldigd zijn. In de schadestaatprocedure kan worden beoordeeld vanaf welk moment schadevergoeding en/of winstafdracht verschuldigd is en vanaf welk moment wettelijke rente daarover verschuldigd is.
4.60
De gevorderde rekening en verantwoording zal worden beperkt tot Nederland zoals hierna vermeld en voorts zal worden bepaald dat deze gegevens dienen te worden verstrekt aan de raadsman van Philips. Wiko heeft aangevoerd dat een goedkeurende verklaring van een registeraccountant, zoals door Philips gevorderd, in de praktijk niet mogelijk is. Philips heeft daarop voorgesteld dat de rekening en verantwoording vergezeld zal gaan van een “door een registeraccountant opgesteld rapport van feitelijke bevindingen”. Wiko heeft daar niets meer tegenover gesteld, zodat de vordering in die zin zal worden toegewezen.
4.61
Het hof wijst het standpunt van Wiko dat er geen noodzaak is dit arrest uitvoerbaar bij voorraad te verklaren bij gebreke van een toereikende onderbouwing af. De enkele daartoe door Wiko aangevoerde omstandigheid dat Philips geen eigen product op de markt heeft gebracht dat door het octrooi wordt beschermd en zij niet actief is op de markt voor mobiele telefoons, brengt niet met zich dat Philips reeds daarom geen recht en belang zou hebben bij een – uitvoerbaar bij voorraad verklaard – verbod (zie ook r.o. 4.47 hiervoor).
vorderingen in reconventie
4.62
Voor wat betreft de gevorderde vernietiging van EP 511 volgt uit hetgeen in conventie is overwogen dat deze vordering toewijsbaar is voor zover dit octrooi meer inhoudt dan de conclusies volgens het tweede hulpverzoek.
proceskosten in conventie en reconventie
4.63
Wiko zal als de in hoofdzaak in het ongelijk gestelde partij worden veroordeeld in de proceskosten van Philips, zowel in eerste aanleg als in appel, in conventie en in reconventie. Partijen hebben omtrent de hoogte van de proceskosten overeenstemming bereikt in die zin dat deze in eerste aanleg € 300.000,- bedragen en in hoger beroep € 490.000,-. Gelet op de aard en omvang van deze procedure ziet het hof geen aanleiding deze ambtshalve te matigen.
5. De beslissing
Het hof, in conventie en in reconventie,
5.1
verbiedt Wiko om in Nederland inbreuk te maken op de conclusies van Europees octrooi EP 1 623 511 zoals die luiden volgens het tweede hulpverzoek;
5.2
beveelt Wiko om binnen twee weken na betekening van dit arrest aan de raadsman van Philips schriftelijke opgave te verstrekken van alle afnemers (niet zijnde particulieren) aan wie Wiko in of vanuit Nederland producten heeft verkocht, verhuurd, afgeleverd en/of daartoe heeft aangeboden anders dan door middel van haar website, die vallen onder de beschermingsomvang van Europees octrooi EP 1 623 511 volgens de conclusies van het tweede hulpverzoek (hierna: inbreukmakende producten);
5.3
beveelt Wiko om binnen twee weken na betekening van dit arrest aan ieder van de onder 5.2 bedoelde afnemers een aangetekende brief te zenden met uitsluitend de navolgende inhoud en zonder bijschrift:
“Wij zijn verplicht u te informeren dat het Gerechtshof Den Haag bij arrest van 16 april 2019 heeft beslist dat de door ons op de markt gebrachte UMTS-producten met HSUPA-functionaliteit inbreuk maken op de conclusies van Europees octrooi EP 1 623 511 van Koninklijke Philips N.V. zoals die luiden volgens het tweede hulpverzoek en dat deze producten derhalve niet langer mogen worden aangeboden, verkocht of geleverd, dan wel gebruikt of in voorraad worden gehouden. Wij verzoeken u hierbij om deze producten niet langer aan te bieden (op uw website, in brochures e.d.) en alle exemplaren van deze producten die zich onder u bevinden aan ons te retourneren. Wij zullen dan onmiddellijk de aankoopprijs en alle kosten in verband met de retournering van de producten aan u vergoeden.
[naam van de vennootschap, naam en handtekening van een vertegenwoordiger]”;
5.4
beveelt Wiko om (i) binnen twee weken na betekening van dit arrest inbreukmakende producten die nog in voorraad zijn en voorts alle brochures en andere promotiemiddelen voor en/of betrekking hebbend op inbreukmakende producten te vernietigen, (ii) binnen twee weken na ontvangst daarvan de teruggezonden producten te vernietigen, en (iii) aan Philips binnen drie weken na iedere vernietiging deugdelijk bewijs te verschaffen dat die vernietiging volledig en tijdig heeft plaats gevonden;
5.5
beveelt Wiko om aan Philips per overtreding van het in 5.1 bedoelde verbod en voor iedere niet (gehele c.q. deugdelijke) nakoming van de in 5.2 t/m 5.4 en 5.7 bedoelde bevelen aan Philips een dwangsom te betalen van Euro 50.000,-- (vijftig duizend Euro) dan wel, ter keuze van Philips, aan Philips een dwangsom te betalen van Euro 25.000,-- (vijf-en-twintig duizend Euro) per inbreukmakend product, of per dag, een gedeelte van een dag voor een gehele gerekend, dat de inbreuk op de conclusies van Europees octrooi EP 1 623 511 zoals die luiden volgens het tweede hulpverzoek in Nederland na de betekening van dit arrest zal voortduren, of de in 5.2 t/m 5.4 en 5.7 bedoelde bevelen na de betekening van dit arrest niet geheel en deugdelijk worden nagekomen, waarbij de dwangsommen verschuldigd zijn per niet (geheel en deugdelijk) nagekomen verbod of bevel;
5.6
veroordeelt Wiko om aan Philips te vergoeden de schade die zij heeft geleden en nog verder zal lijden ten gevolge van inbreuken van Wiko op de conclusies van Europees octrooi EP 1 623 511 zoals die luiden volgens het tweede hulpverzoek, een en ander op te maken bij staat en te vereffenen zoals voorzien in de wet, vermeerderd met de wettelijke rente vanaf een in de schadestaatprocedure vast te stellen dag, tot aan de dag der algehele voldoening en/of, zulks ter keuze van Philips, de door Wiko met de hier aan de orde zijnde handelingen genoten winsten aan Philips af te dragen, eveneens vermeerderd met de wettelijke rente vanaf een in de schadestaatprocedure vast te stellen dag, tot aan de dag der algehele voldoening;
5.7
beveelt Wiko omtrent de winsten binnen vier weken na betekening van dit arrest rekening en verantwoording af te leggen door aan de raadsman van Philips een verklaring te verschaffen, vergezeld van een door een registeraccountant opgesteld rapport van feitelijke bevindingen, waaruit de hoogte blijkt van de als gevolg van de in of vanuit Nederland inbreukmakende activiteiten behaalde winsten van Wiko, welke verklaring vergezeld dient te gaan van een volledige opgave van:
a) het aantal in Nederland vervaardigde inbreukmakende producten, gestaafd met alle daarop betrekking hebbende bescheiden;
b) de hoeveelheid en inkoopprijs van de aan of door Wiko in Nederland afgeleverde inbreukmakende producten, gestaafd met alle daarop betrekking hebbende bescheiden, waaronder facturen;
c) de hoeveelheid en verkoopprijs van de in of vanuit Nederland verkochte of anderszins geleverde inbreukmakende producten, gestaafd met alle daarop betrekking hebbende bescheiden, waaronder facturen;
d) de hoeveelheid van de ten tijde van de betekening van het ten deze te wijzen vonnis in Nederland nog in voorraad zijnde inbreukmakende producten, gestaafd met alle desbetreffende bewijsstukken;
5.8
vernietigt EP 1 623 511 voor zover dit meer inhoudt dan de conclusies volgens het tweede hulpverzoek;
5.9
veroordeelt Wiko in de kosten van deze procedure, in eerste aanleg in conventie en in reconventie tot een bedrag van € 300.000,- alsmede in hoger beroep, in conventie en in reconventie tot een bedrag van € 490.000,-;
5.10
verklaart dit arrest voor zover mogelijk uitvoerbaar bij voorraad;
5.11
wijst al het meer of anders gevorderde af.
Dit arrest is gewezen door mrs R. Kalden, M.Y. Bonneur en M.W.D. van der Burg en in bijzijn van de griffier uitgesproken ter openbare terechtzitting van 2 juli 2019.
Uitspraak 16‑04‑2019
Inhoudsindicatie
IE, octrooi, Geldigheid UMTS-standaard essentieel octrooi, nieuwheid en inventiviteit, Octrooi opgenomen in de standaard? Inbreuk. Aanhouding voor behandeling van Frand-verweer.
Partij(en)
GERECHTSHOF DEN HAAG
Afdeling Civiel recht
Zaaknummer : 200.219.487/01
Zaaknummer rechtbank : C/09/511922/HA ZA 16-623
Arrest van 16 april 2019
in de zaak met zaaknummer 200.219.487/01
inzake
Koninklijke Philips N.V.
gevestigd te Eindhoven,
appellante,
hierna te noemen: Philips
advocaat: mr. J.A. Dullaart,
tegen
WIKO SAS
gevestigd te Marseille (Frankrijk),
geïntimeerde,
hierna te noemen: Wiko,
advocaat: mr. R.E. Ebbink.
1. Het geding
1.1
Bij exploot van 16 juni 2017 is Philips in hoger beroep gekomen van een door de rechtbank Den Haag tussen partijen gewezen vonnis van 22 maart 2017. Bij memorie van grieven met producties (MvG) heeft Philips 25 grieven aangevoerd. Bij memorie van antwoord met producties (MvA) heeft Wiko de grieven bestreden. Mede naar aanleiding van de door partijen gevoerde correspondentie heeft het hof bij tussenarrest van 20 februari 2018 een comparitie van partijen gelast teneinde de verdere procesgang te bespreken. Deze comparitie is gehouden op 18 mei 2018, bij welke gelegenheid Philips een akte heeft ingediend en een productie overgelegd. Nadien heeft Philips een memorie na comparitie met producties (MnC) genomen en Wiko een antwoordmemorie na comparitie met producties (AMnC). Daarna hebben beide partijen bij akte nog nadere producties ingediend.
1.2
Wiko heeft bezwaar gemaakt tegen de overlegging door Philips voorafgaand aan de pleidooizitting van een geldigheidsrapport van octrooigemachtigden vanwege de omvang daarvan. Het hof wijst dat bezwaar van de hand. Dit rapport, dat als een partij-deskundigenrapport heeft te gelden, is tijdig in het geding gebracht en de inhoud noch omvang ervan kan, mede in aanmerking nemend de omvang van de AMnC en de overgelegde deskundigenverklaringen aan de zijde van Wiko waarop in het rapport wordt gereageerd, als in strijd met de goede procesorde worden aangemerkt.
1.3
Wiko heeft voorts bezwaar gemaakt tegen de op het ‘clippingmechanisme’ gebaseerde stellingen van Philips (vgl. 4.57 e.v. hierna), zoals kenbaar uit het op 19 juli 2018 gewezen vonnis in de Engelse procedure over het Engelse deel van het in dit geding aan de orde zijn octrooi (zie 2.35), omdat dit in strijd zou komen met de goede procesorde en met de twee-conclusieregel. Het hof heeft ter zitting, voorafgaand aan de pleidooien, beslist dat het bezwaar niet wordt gehonoreerd. Bedoeld standpunt van Philips (dat door de Engelse rechter is gevolgd) heeft zij in onderhavige procedure reeds bij MvG, als subsidiair standpunt, voldoende kenbaar en gemotiveerd aangevoerd (in grief 15 met voetnoten 16 en 17). Nadere onderbouwing van dat standpunt in latere processtukken en tijdens pleidooi, waarbij Wiko voldoende gelegenheid heeft gehad daarop te reageren, hetgeen zij ook heeft gedaan, is derhalve toegelaten.
1.4
Philips heeft bezwaar gemaakt tegen bepaalde onderdelen van de AMnC omdat deze in strijd zouden komen met de twee-conclusie-regel. Op deze bezwaren zal, voor zover nodig, hierna bij de beoordeling worden beslist.
1.5
Partijen hebben 21 januari 2019 de zaak doen bepleiten, Philips door mr. B.J. van den Broek en mr. G. Theuws, advocaten te Amsterdam; Wiko door mr. Ebbink voornoemd en mr. R. Broekstra, kantoorgenoot, aan beide zijden aan de hand van overgelegde pleitnotities (PA). Ten slotte hebben partijen arrest gevraagd.
2. De feiten
de partijen
2.1
Philips houdt zich bezig met de ontwikkeling en verkoop van producten op diverse terreinen en beschikt over een uitgebreide octrooiportefeuille, waaronder op het terrein van de (draadloze) communicatie.
2.2
Wiko houdt zich (onder meer) bezig met het in Nederland verhandelen van mobiele telefoons.
het octrooi
2.3
Philips is houdster van het Europese octrooi 1 623 511 (hierna: het octrooi of EP 511) met de titel “Communication System”, verleend op 7 maart 2007 op een aanvraag van 20 april 2004, met een beroep op prioriteitsdatum 3 mei 2003 van GB 03 10289. Het octrooi kent 44 conclusies, waarvan de onafhankelijke conclusie 1 en de daarvan afhankelijke conclusies 2 tot en met 22 zien op een radiostation, onafhankelijke conclusie 23 op een radiocommunicatiesysteem en onafhankelijke conclusie 24 en de daarvan afhankelijke conclusies 25 tot en met 44 betrekking hebben op een werkwijze. Conclusies 1, 9, 10, 12, 23, 24, 32, 33 en 35 van EP 511 luiden in de oorspronkelijke Engelse taal:
1. A radio station (100) comprising transmitter means (110) for transmitting over a channel in a predetermined time period (0 to t1) a data block comprising information symbols (1) and panty check symbols (C) and control means (150) responsive to an indication of a reduction in channel quality according to a first criterion for decreasing the data transmit power and responsive to an indication within the predetermined time period of an increase in channel quality according to a second criterion for increasing the data transmit power.
9. A radio station as claimed in any of claims 1 to 8, wherein the indication of a reduction in channel quality according to the first criterion is an indication to increase transmit power above a predetermined threshold (P2).
10. A radio station as claimed in claim 9, wherein the indication to increase transmit power is a received command.
12. A radio station as claimed in any of claims 1 to 10, wherein the transmitter means (110) is further adapted to, in the time period between the first criterion
being met and the second criterion being met, transmit a control signal at a variable transmit power responsive to received power control commands, and wherein the second criterion is the transmit power of the control signal becoming equal to or less than the transmit power of the control signal when the first criterion was met.
23. A radio communication system comprising at least one radio station (100) as claimed in any of claims 1 to 21.
24. A method of operating a radio communication system (100, 200), comprising, at a first radio station (100), transmitting (500) over a channel in a predetermined time period (510, 550) to a second radio station (200) a data block comprising information symbols (1) and panty check symbols (C), and, in response to an indication of a reduction in channel quality according to a first criterion (520), decreasing the data transmit power (530) and, in response to an indication within the predetermined time period (550) of an increase in channel quality according to a second criterion (560), increasing the data transmit power (570).
32. A method as claimed in any of claims 24 to 31, wherein the indication of a reduction in channel quality according to the first criterion is an indication to increase transmit power above a predetermined threshold (P2).
33. A method as claimed in claim 32, wherein the indication to increase transmit power is a received command.
35. A method as claimed in any of claims 24 to 33, further comprising transmitting in the time period between the first criterion being met and the second criterion being met a control signal at a variable transmit power responsive to received power control commands, and wherein the second criterion is the transmit power of the control signal becoming equal to or less than the transmit power of the control signal when the first criterion was met.
2.4
In de onbestreden Nederlandse vertaling luiden deze conclusies:
1. Radiostation (100) dat zendmiddelen (110) omvat voor het over een kanaal verzenden van een datablok in een vooraf vastgestelde tijdperiode (0 tot tl), welk datablok informatiesymbolen (1) omvat en pariteitchecksymbolen (C), en regelmiddelen (150) die reageren op een aanwijzing van een teruggang in kanaalkwaliteit volgens een eerste criterium voor het reduceren van het datazendvermogen en die reageren op een aanwijzing binnen de vooraf vastgestelde tijdperiode van een verhoging in kanaalkwaliteit volgens een tweede criterium voor het verhogen van het datazendvermogen.
9. Radiostation volgens een van de conclusies 1 tot en met 8, waarin de aanwijzing van een teruggang in kanaalkwaliteit volgens het eerste criterium een aanwijzing is om het zendvermogen boven een vooraf vastgestelde drempel (P2) te verhogen.
10. Radiostation volgens conclusie 9, waarin de aanwijzing om het zendvermogen te
verhogen een ontvangen commando is.
12. Radiostation volgens een van de conclusies 1 tot en met 10, waarin de zendmiddelen (110) verder zijn ingericht om in de tijdperiode tussen het voldoen aan het eerste criterium en het voldoen aan het tweede criterium, een regelsignaal te verzenden met een variabel zendvermogen in reactie op ontvangen vermogen regelcommando' s, en waarin het tweede criterium is dat het zendvermogen van het regelsignaal gelijk wordt aan of lager wordt dan het zendvermogen van het regelsignaal toen werd voldaan aan het eerste criterium.
23. Radiocommunicatiesysteem omvattende ten minste een radiostation (100) volgens een van de conclusies 1 tot en met 21.
24. Methode voor het werken met een radiocommunicatiesysteem (100, 200), omvattende in een eerste radiostation (100) het verzenden (500) over een kanaal in een vooraf vastgestelde tijdperiode (510, 550) aan een tweede radiostation (200) een datablok dat informatiesymbolen (1) en pariteitchecksymbolen (C) bevat en, in reactie op een aanwijzing van een teruggang in kanaalkwaliteit volgens een eerste criterium (520), het verminderen van het datazendvermogen (530) en, in reactie op een aanwijzing binnen de vooraf vastgestelde tijdperiode (550) van een verhoging van kanaalkwaliteit volgens een tweede criterium (560), het verhogen van het datazendvermogen (570).
32. Methode volgens een van de conclusies 24 tot en met 31, waarin de aanwijzing van een teruggang in kanaalkwaliteit volgens het eerste criterium een aanwijzing is om het zendvermogen tot boven een vooraf vastgestelde drempel (P2) te verhogen.
33. Methode volgens conclusie 32, waarin de aanwijzing om het zendvermogen te verhogen een ontvangen commando is.
35. Methode volgens een van de conclusies 24 tot en met 33, verder omvattend het in de tijdperiode tussen het voldoen aan het eerste criterium en het voldoen aan het tweede criterium verzenden van een regelsignaal met een variabel zendvermogen in reactie op ontvangen vermogenregelcommando's, en waarin het tweede criterium is dat het zendvermogen van het regelsignaal gelijk wordt aan of lager wordt dan het zendvermogen van het regelsignaal toen werd voldaan aan het eerste criterium.
2.5
Philips heeft drie hulpverzoeken voorgesteld. In het tweede hulpverzoek is de navolgende maatregel toegevoegd aan conclusie 1 zoals verleend:
“wherein, between the times of the first and second criteria being met, the transmission of the data block continues at a lower power level”.
In het derde hulpverzoek is daaraan nog toegevoegd:
“and wherein the power level at which the data block is transmitted between the times of the first and second criteria being met, varies during the predetermined time period.”
2.6
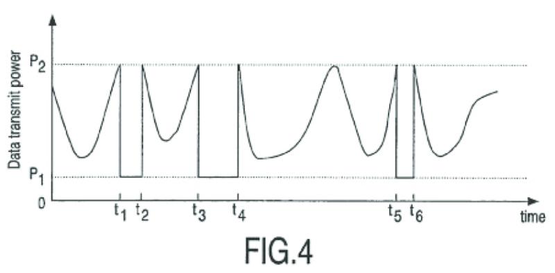
Bij het octrooi behoren onder meer de figuren 2, 3 en 4, hieronder weergegeven met de daarop betrekking hebbende passages uit paragraaf 20 van de beschrijving:

Figure 2 is a graph illustrating variation of channel quality as a function of time.

Figure 3 is a graph illustrating variation in transmit power as a function of time according to known schemes of transmit power control.

Figure 4 is a graph illustrating variation in transmit power as a function of time according to the invention.
2.7
In de beschrijving zijn verder onder meer de volgende passages opgenomen:
[0006] One problem with the TPC schemes described above is that power consumption of the transmitter increases when channel conditions are poor, and therefore the schemes may not be power efficient. Another problem is that the increase in transmitted power increases
the interference to other users, which can degrade system efficiency.
(…)
[0008] An object of the invention is to contribute to improved efficiency.
[0009] According to a first aspect of the invention there is provided a radio station comprising transmitter means for transmitting over a channel in a predetermined time
period a data block comprising information symbols and parity check symbols and control means responsive to an indication of a reduction in channel quality according to a first criterion for decreasing the data transmit power and responsive to an indication within the predetermined time period of an increase in channel quality according to a second criterion for increasing the data transmit power.
[0010] By decreasing the data transmit power while the channel quality is poor, power is saved and interference is reduced.
(…)
[0012] Between the times of the first and second criteria being met, transmission of the data block may either be suspended or continue at a lower power level, possibly with a reduced data rate.
(…)
[0023] The data block is transmitted by the transmitting means 110 of the first radio station 100 in a predetermined time period of duration tF. This time period may be part of a frame structure comprising a plurality of such time periods. While the data block is being transmitted the receiving means 120 of the first radio station receives a signal from the second radio station 200 on the second channel 260. A form of either open-loop or closed-loop power control is used.
[0024] If open-loop power control is used, receiving means 120 monitors the quality of a signal received on the second channel 260 and the control means 150 adjusts the transmit power of the transmitter means 110 in response to quality changes.
[0025] If closed-loop power control is used, the receiving means 220 of the second radio station 200 monitors the quality of the received signal and the control means 250 generates TPC commands which are transmitted on the second channel 260 by the transmitter means 210 to the first radio station 100. The first radio station 100 may also transmit a control signal as a pilot signal on the first channel 160 to assist the receiving means 220 of the
second radio station 200 in monitoring the quality of the received signal.
[0026] While the data block is being transmitted the quality of the first channel 160 varies as illustrated in Figure 2. The power control scheme causes the transmit power of the transmitting means 110 to vary but only to a limited extent. If the quality of the first channel 160 degrades to an extent determined by a first criterion, the control means 150, instead of, as in known schemes, increasing the transmit power of the transmitting means 110 above a level denoted P2 in Figure 4 in an attempt to restore the received signal quality, according to the invention decreases the transmit power of the data to a level P1. When the control means 150 determines that the channel quality has subsequently increased to an extent determined by a second criterion, the control means 150 increases the transmit power of the data. In Figure 4, the decrease to a transmit power level P1 takes place at times t1, t3, and t5 and the increase in transmit power takes place at times t2, t4, and t6.
(…)
[0034] The second criterion, for determining when to increase the transmit power and if appropriate resume the full tracking of the variations in channel quality by the transmit power level, may take one of several forms. (…).
2.8
De uitvinding van het octrooi kan in CDMA-systemen worden toegepast (zie hierna, 2.11).
Technische achtergrond / stand van de techniek
2.9
De uitvinding volgens het octrooi ligt op het gebied van de besturing van het vermogen van een mobiel station (telefoon) in een draadloos telecommunicatienetwerk. In mobiele telecommunicatiesystemen worden zgn. basisstations (BS) gebruikt. Een basisstation kan communiceren met verschillende zgn. mobiele stations (MS), wanneer deze zich binnen het bereik van het basisstation bevinden. Het basisstation verbindt de mobiele stations met een achterliggend netwerk, zoals bijv. het vaste telefoonnet of het internet.
vermogensbesturing
2.10
De door een mobiel station aan een basisstation verzonden signaal dient voldoende vermogen te hebben voor de goede ontvangst door het basisstation, waardoor de foutmarge zo klein mogelijk blijft. Anderzijds moet het vermogen ook niet te hoog zijn, omdat anders interferentie optreedt: de signalen van het ene mobiele station overschreeuwen de signalen van een ander. Dit kan worden toegelicht aan de hand van onderstaande figuur.

2.11
Bovenstaande figuur toont twee mobiele stations (MS1 en MS2) die zich op verschillende afstand bevinden van het basisstation (BS). In een CDMA (Code Division Multiple Access)-systeem worden de signalen van beide mobiele stations op dezelfde frequentie verzonden en worden deze gescheiden door middel van ‘spreading codes’. Daardoor kunnen verschillende mobiele stations in eenzelfde frequentieband tegelijkertijd signalen naar en van een basisstation zenden en ontvangen. In CDMA-systemen worden bij het versturen van data (opgebouwd uit nullen en enen (bits), in het octrooi aangeduid als ‘information symbols’), die in blokken (‘data blocks’) worden verzonden, tevens ‘parity check symbols’ verzonden. Dat zijn bits die fouten die tijdens de verzending zijn ontstaan kunnen corrigeren en/of detecteren (waarna het foutief ontvangen deel opnieuw kan worden verzonden). De tijdsduur waarbinnen de datablokken worden verzonden wordt aangeduid als ‘frame’ of ‘dataframe’. Een frame is opgedeeld in kleinere tijdseenheden, aangeduid als ‘slots’.
2.12
Omdat MS1 zich verder van het basisstation bevindt dan MS2, zal het signaal van MS1 meer vermogen verliezen op weg naar het basisstation dan het signaal van MS2. Indien de signalen door MS1 en MS2 met hetzelfde vermogen zouden worden verzonden – en er dus geen vermogensbesturing zou plaatsvinden – zou het verschil in afstand daarom tot gevolg hebben dat het signaal van MS1 zwakker is bij ontvangst door het basisstation dan dat van MS2. Het gevaar bestaat dat het signaal van MS2 dat van MS1 zal ‘overschreeuwen’.
2.13
Om dit overschreeuwen te voorkomen, is het van belang om ervoor te zorgen dat de signalen van de verschillende mobiele stations met vergelijkbare sterkte bij het basisstation binnenkomen. De sterkte van het door het basisstation ontvangen signaal van een mobiel station varieert door fluctuaties van de kanaalkwaliteit, bijvoorbeeld door verandering van de afstand of het verschijnen / verdwijnen van obstakels op het transmissiepad. Teneinde toch steeds een evenwicht in signaalsterkte te bereiken wordt het transmissievermogen (ook aangeduid als zendvermogen) van de verschillende mobiele stations zodanig bestuurd dat deze zo constant mogelijk blijven. Daartoe wordt in het op de prioriteitsdatum bekende ‘conventionele vermogensbesturingsschema’ het transmissievermogen waarmee de data door het mobiele station naar het basisstation worden gezonden verhoogd als de kanaalkwaliteit verslechtert, en wordt het transmissievermogen verlaagd als de kanaalkwaliteit verbetert. Dit leidt tot een inverse relatie tussen de kanaalkwaliteit en het datazendvermogen zoals getoond in de figuren 2 en 3 van het octrooi (zie 2.6 hiervoor).
2.14
In het conventionele vermogensbesturingsschema vindt de vermogensbesturing van de signalen van het mobiele station aan het basisstation – in UMTS aangeduid als ‘uplink’ signalen – in het algemeen plaats in een gesloten lus (‘closed loop’) en wordt dan ook wel aangeduid als ‘closed loop power control scheme’. Het basisstation meet hierbij de zgn. ‘signal-to-interference ratio’ (SIR) van het door het mobiele station verzonden ‘pilot signal’ en vergelijkt het basisstation het resultaat hiervan met een bepaalde drempelwaarde (‘target SIR’). Indien de gemeten waarde lager is dan de drempelwaarde, instrueert het basisstation het mobiele station om het transmissievermogen te verhogen; indien de gemeten waarde hoger is dan de drempelwaarde, instrueert het basisstation het mobiele station om het transmissievermogen te verlagen. De instructie die het basisstation aan het mobiele station verzendt, en door het mobiele station wordt opgevolgd, worden aangeduid met de term power control command (in UMTS als TPC (Transmit Power Control) command en in de 3GPP2-standaard aangeduid als ‘power control bit’). Een instructie om het zendvermogen te verhogen wordt wel aangeduid als TPC-up command en een instructie om te verlagen als een TPC-down command. Aangezien het commando afhankelijk is van de kwaliteit(sverandering) van het door het mobiele station verzonden en door het basisstation ontvangen kanaal, is het commando te zien als een indicatie van de kwaliteit van het zendkanaal.
2.15
Dit proces van meten van de kanaalkwaliteit door het basisstation en aan de hand daarvan de verzending van een power control command aan het mobiele station, vindt plaats in ieder ‘slot’.
UMTS-standaard
2.16
UMTS (“Universal Mobile Telecommunications System”) is een draadloos communicatiesysteem. De UMTS-standaard wordt met name in Europa toegepast en wordt gepubliceerd door de standaardisatie organisatie 3GPP. UMTS maakt gebruik van CDMA- techniek. De standaard bestaat uit verschillende specificaties: ETSI TS 123 002 v6.10.0 (2005-12) (hierna: TS 123 002) dat de basisaspecten van de netwerkstructuur, zoals bijvoorbeeld de interactie tussen het basisstation en het mobiele station beschrijft; ETSI TS 125 101 v6.12.0 (2006-06) (hierna: TS 125 101) dat de kenmerken van de mobiele stations, waaronder het maximum zendvermogen beschrijft; ETSI TS 125 211 v6.10.0 (2009-09) (hierna: TS 125 211) dat de kenmerken van de fysieke kanalen, met name de fysieke uplink en downlink kanalen beschrijft; 3GPP TS 25.212 v6.10.0 (2006-12) (hierna: TS 125 212) dat het multiplexen van diverse datastromen en de kanaalcodering beschrijft; 3GPP TS 25.213 v6.5.0 (2006-03) (hierna: TS 125 213) dat het spreiden en moduleren van data beschrijft en 3GPP TS 25.214 v6.11.0 (2006-12) (hierna: TS 125 214) dat het multiplexen van diverse datastromen en de kanaalcodering beschrijft.
2.17
In de UMTS-standaard wordt communicatie van het basisstation naar het mobiele station aangeduid als communicatie in de downlink richting (DL). Communicatie van het mobiele station naar het basisstation wordt aangeduid als communicatie in de uplink richting (UL). In zowel de uplink- als de downlink richting van het UMTS-systeem worden
meerdere soorten gegevens verstuurd. Naast de gebruikersgegevens verzendt en ontvangt het mobiele station ook besturingsgegevens. Gebruikersgegevens en besturingsgegevens kunnen over verschillende kanalen worden verstuurd; besturingsgegevens via besturingskanalen (‘control channels’) en gebruikersgegevens via gegevenskanalen (‘data channels’).
2.18
Elke mobiel station met UMTS-functionaliteit beschikt over zendmiddelen waarmee datablokken worden verzonden over een uplink-kanaal. In Figuur 1 van TS 125 213 wordt (links) de verzameling ‘physical channels’ opgesomd die tezamen (rechts) een uplink-kanaal vormen.

2.19
De Enhanced-Dedicated Physical Data Channels (E-DPDCHs) van het uplink-kanaal zijn samen met het Enhanced-Dedicated Physical Control Channel (E-DPCCH) in Release 6 van de UMTS-standaard geïntroduceerd als onderdeel van het zgn. HSUPA (High Speed Uplink Packet Access)-protocol. HSUPA stelt een mobiel station in staat om gebruikersdata (zoals bijvoorbeeld foto’s of filmpjes, die met het mobiele station zijn gemaakt) met hoge snelheid te uploaden naar het netwerk.
2.20
Volgens TS 125 212, paragraaf 4.8: “Data arrives to the coding unit in form of a maximum of one transport block once every transmission time interval (TTI)” worden de data die door het mobiele station via een of meer van de E-DPDCH kanalen naar het basisstation worden verzonden, onderverdeeld in datablokken (‘transport blocks’). Tevens wordt in TS 125 212 voorgeschreven dat aan een datablok onder meer een CRC (Cyclic Redundancy Check) wordt toegevoegd bestaande uit 24 bits. CRC-bits zijn pariteitschecksymbolen (zie 2.11 hiervoor).
2.21
De datablokken worden in een vooraf vastgestelde tijdsperiode van 10 ms verzonden via de (uplink) Enhanced-Dedicated Physical Data Channels (E-DPDCHs), zoals getoond in figuur 2B van TS 125 211, waarin één dataframe van 10ms wordt getoond bestaande uit 5 subframes met elk drie ‘slots’. Elk dataframe bestaat derhalve uit 15 slots.

2.22
In de UMTS-standaard wordt het conventionele vermogensbesturingsschema toegepast. Ieder slot wordt in de downlink-richting steeds één TPC commando door het basisstation aan het mobiele station verzonden. Dat gebeurt via de downlink DPCCH en is geïllustreerd in figuur 9 van TS 125 211:

3GPP2-standaard
2.23
De CDMA2000-standaard is een mobiele telefonie standaard die met name in
Amerika en delen van Azië en Afrika wordt toegepast en die wordt gepubliceerd door de
standaardisatie organisatie 3GPP2. Tot deze standaard behoorde het document 3GGP2 C.S0002 version 3.0 van 15 juni 2001, dat betrekking heeft op de ‘physical layer’ van het draadloze netwerk, waarin onder meer besturingssignalen worden beschreven (hierna: de 3GPP2-standaard).
2.24
Volgens de 3GPP2-standaard vindt communicatie van het mobiele station naar het basisstation (aangeduid als ‘reverse link’) plaats over het Reverse CDMA Channel. Verschillende kanalen worden tegelijkertijd verzonden. De structuur van het Reverse CDMA Channel is weergegeven in het hieronder getoonde schema op pag. 2-57:

‘Reverse Pilot Channel’ is als volgt gedefinieerd: “An unmodulated, direct-sequence spread spectrum signal transmitted continuously by a CDMA mobile station. A reverse pilot channel provides a phase reference for coherent demodulation and may provide a means for signal strength measurement”. Via dit kanaal zendt het mobiele station continu ‘pilot signals’ aan het basisstation. Over het Reverse Dedicated Control Channel worden besturingsberichten gestuurd en over het Reverse Fundamental Channel spraakberichten. Het Reverse Supplemental Channel is in de 3GPP2-standaard gedefinieerd als: “A portion of a Radio Configuration 3 through 6 Reverse Traffic Channel which operates in conjunction with the Reverse Fundamental Channel or the Reverse Dedicated Control Channel in that Reverse Traffic Channel to provide higher data rate services, and on which higher-level data is transmitted.” Over dit kanaal worden gebruikersgegevens (tekstberichten, foto’s, etc.) gestuurd.
2.25
In de 3GPP2-standaard worden door het mobiele station steeds blokken met gegevens (‘information bits’) en een pariteitschecksymbool aan het basisstation gestuurd. Zo’n blok wordt ook aangeduid met ‘frame’. Een frame kan een lengte hebben van 20, 40 of 80 ms. Een frame is opgedeeld in slots van 1.25 ms. Een frame van 20ms bevat dus 16 slots.
2.26
Communicatie door het basisstation aan een mobiel station wordt in de 3GPP2-standaard aangeduid als ‘forward link’ en vindt plaats over het Forward CDMA Channel. De structuur van het Forward CDMA Channel is weergegeven in het hieronder getoonde schema op pag. 3-6 van de 3GPP2-standaard.

2.27
Het Forward Power Control Subchannel wordt gebruikt om het zendvermogen van het mobiele station te regelen, wanneer deze over het Reverse Traffic Channel verzendt.
Rulnick
2.28
Tot de stand van de techniek op de prioriteitsdatum van het octrooi hoort de publicatie van Rulnick en Bambos, getiteld 'Mobile power management for wireless communication networks', gepubliceerd in Wireless Networks 3 (1997) 3-14. De ‘abstract’ luidt als volgt:
“For fixed quality-of-service constraints and varying channel interference, how should a mobile node in a wireless network adjust its transmitter power so that energy consumption is minimized? Several transmission schemes are considered, and optimal solutions are obtained for channels with stationary, extraneous interference. A simple dynamic power management algorithm based on these solutions is developed. The algorithm is tested by a series of simulations, including the extraneous-interference case and the more general case where multiple, mutually interfering transmitters operate in a therefore highly responsive interference environment. Power management is compared with conventional power control for models based on FDMA/TDMA and CDMA cellular networks. Results show improved network capacity and stability in addition to substantially improved battery life at the mobile terminals.”
US 214
2.29
US 6,341,214 B2 (hierna: US 214) is gepubliceerd op 22 januari 2002 en behoort dus ook tot de stand van de techniek voor het octrooi. Dit octrooischrift openbaart een zend/ontvangstapparaat en een werkwijze voor de besturing van het zendvermogen.
2.30
De beschrijving van US 214 bevat de volgende passages:
“However, in the conventional reception/transmission apparatus descried above, the transmission power is controlled to be increased in the case where the reception quality decreases by the decrease of the reception level due to the fading, or the like, and to be decreased in the case of the good communication quality. In the case where the reception level decreases due to the fading, it is necessary to increase the transmission level to tens of dB to transmit, which requires a transmission amplifier to have a large dynamic range. However, especially in the mobile station, the requirements for a battery life and specification on amplifiers have become severe, which makes it difficult to use an amplifier with the large dynamic range. In addition, the increase of the level makes the instant interference (to signals of other users) high in the CDMA communication.” (kolom 2, r. 19-34)
“Thus, according to the first embodiment, since the transmission power control inversely corresponding to reception quality is performed along with interleaving, error correction and so on, the averaged transmission power can be reduced. Therefore, the battery saving of the mobile station is achieved more than the conventional apparatuses and the peak transmission power is suppressed. That allows moderating of the specification of amplifiers, further reducing of the cost and power consumption of the transmission/reception apparatus. In addition, it is possible to improve the system capacity more than the conventional constitution because the decrease of the averaged transmission power results in the decrease of interference (volume) in the CDMA system.” (kolom 6, r. 6-19)
US 821
2.31
Ook tot de stand van de techniek behoort US 2003/0058821 A1 (hierna: US 821), gepubliceerd op 27 maart 2003. Ook daarin wordt een vermogensbesturingssyteem voor gebruik binnen een CDMA-systeem geopenbaard.
2.32
De ‘abstract’ van US 821 luidt als volgt:
“Methods and apparatuses for a closed-loop power control in a code-division multiple-access communication system wherein both received signal quality and communication channel quality are used to determine appropriate transmitter power, and transmission may be suspended when a channel quality metric, such as by short-term fading, degrades below a preset minimum threshold, or when a commanded transmitter power exceeds a preset maximum threshold, and wherein the transmitter power is controlled to mitigate fading effects so that received signal quality metric, such as by the average received signal power or by the average received SIR over a control cycle, approaches a preset desired level, and by momentarily suspending a remote terminal, overall system capacity and throughput may be enhanced.”
Bij US 821 behoren onder meer de navolgende figuren en daarop betrekking hebbende passages uit de beschrijving:
Figuur 1:



Figuur 7B:


achtergrond van het geschil
2.33
Philips heeft (onder meer) EP 511 en twee andere octrooien (EP 1 440 525 (EP 525) en EP 1 685 659 (EP 659) waarover eveneens procedures tussen partijen aanhangig zijn), aangemeld als essentieel voor (het HSUPA-protocol van) de UMTS-standaard (ook wel aangeduid met 3.5G of 3G+) en voor de LTE (“Long-Term Evolution)-standaard (4G) voor mobiele communicatie. Philips heeft zich er schriftelijk toe verbonden deze octrooien op eerlijke, redelijke en niet-discriminerende (FRAND) voorwaarden in licentie te geven, overeenkomstig ETSI’s IPR Policy.
2.34
Bij brief van 13 oktober 2014 heeft Philips haar UMTS- en LTE-octrooiportfolio
en licentieprogramma bij Wiko onder de aandacht gebracht, zich daarbij op het standpunt
stellend dat Wiko diverse mobiele communicatie-apparaten fabriceert of verhandelt die
inbreuk maken op één of meer van haar UMTS/LTE-octrooien. Een licentieovereenkomst is
niet tot stand gekomen.
2.35
Philips heeft ook in Duitsland en Frankrijk inbreukprocedures tegen Wiko (of een groepsmaatschappij) aanhangig gemaakt. In Engeland heeft zij ter zake van inbreuk op EP 511 een procedure aanhangig gemaakt tegen Asus- en HTC-vennootschappen. In die procedure is op 19 juli 2018 uitspraak gedaan. De Engelse rechter achtte EP 511 (volgens conclusie 10 van het tweede hulpverzoek) nieuw en inventief in het licht van de 3GPP2-standaard. In Nederland is een parallelle procedure aanhangig tussen Philips en diverse Asus-vennootschappen.
3. Het geschil in eerste aanleg en in hoger beroep
3.1
In eerste aanleg vorderde Philips, kort weergegeven, een inbreukverbod, een verklaring voor recht dat de producten van Wiko onder de beschermingsomvang van EP 511 vallen, opgave van afnemers, recall, vernietigig van voorraad en promotiemateriaal, een en ander op straffe van een dwangsom, schadevergoeding en/of winstafdracht, opgave van behaalde winst en veroordeling van Wiko in de volgens artikel 1019h van het Wetboek van Burgerlijke Rechtsvordering (hierna: Rv) te begroten proceskosten, alles voor zover mogelijk met uitvoerbaar bij voorraad verklaring.
3.2
Wiko heeft verweer gevoerd en in reconventie gevorderd dat EP 511, althans de door Philips ingeroepen conclusies daarvan, wordt vernietigd, met veroordeling van Philips in de proceskosten volgens 1019h Rv, uitvoerbaar bij voorraad.
3.3
De rechtbank heeft de vorderingen van Philips in conventie afgewezen en in reconventie het Nederlandse deel van EP 511 vernietigd, met veroordeling van Philips in de proceskosten ex artikel 1019h Rv (in conventie en reconventie). In het bestreden vonnis heeft de rechtbank verwezen naar r.o. 4.2 t/m 4.12 van het eveneens op 22 maart 2017 gewezen vonnis in de zaak met rolnummer C/09/512839/HA ZA 16-712 tussen Philips als eiseres in conventie en gedaagde in reconventie, en drie Asus-vennootschappen als gedaagden in conventie en eiseressen in reconventie.
3.4
Philips komt in beroep van deze beslissingen van de rechtbank en vordert vernietiging van het vonnis en, voor zover mogelijk uitvoerbaar bij voorraad, haar vorderingen alsnog toe te wijzen en de vorderingen van Wiko alsnog af te wijzen, met veroordeling van Wiko in de kosten van beide instanties overeenkomstig artikel 1019h Rv.
3.5
Ter zitting heeft Philips laten weten zich primair te beroepen op haar tweede hulpverzoek en subsidiair op haar derde hulpverzoek, onder de voorwaarde dat deze toelaatbaar worden geacht en de door Wiko daartegen aangevoerde bezwaren worden verworpen. Indien die voorwaarde niet wordt vervuld, beroept Philips zich primair op de conclusies van het octrooi zoals verleend en subsidiair op het eerste hulpverzoek.
3.6
Wiko heeft de gestelde inbreuk en de geldigheid van de door Philips ingeroepen conclusies (ook die volgens het tweede en derde hulpverzoek) bestreden. Daartoe heeft zij, voor zover van belang, aangevoerd dat de conclusies
( i) niet nieuw zijn ten opzichte van
(a) de 3GPP2-standaard;
(b) Rulnick;
(c) US 214;
(d) het door Philips gedane voorstel TSGR1#11(00)0314 ingediend eind februari / begin maart 2000 (hierna: het Philips-Voorstel);
(ii) niet inventief zijn uitgaand van
(a) de 3GPP2-standaard
(i) in combinatie met de algemene vakkennis op de prioriteitsdatum;
(ii) in combinatie met US 821;
(iii) in combinatie met Rulnick;
(b) Rulnick;
(c) de algemene vakkennis op de prioriteitsdatum;
(d) een van de in het kader van nieuwheid aangevoerde documenten, al dan niet in combinatie met elkaar.
3.7
Ten slotte heeft Wiko de inbreuk bestreden en aangevoerd dat Philips geen recht heeft op een inbreukverbod, ook als wel inbreuk zou worden gemaakt op een geldig octrooi, omdat Philips EP 511 heeft aangemeld als standaard-essentieel voor de UMTS-standaard en zij de daaraan verbonden contractuele en mededingingsrechtelijke verplichtingen niet is nagekomen (het Frand-verweer).
4. De beoordeling
uitleg van EP 511 en het tweede hulpverzoek
4.1
Er is geen verschil van mening over de voor het onderhavige octrooigeschil relevante gemiddelde vakman. De relevante vakman is een ingenieur op het gebied van de telecommunicatie die kennis heeft op het gebied van het draadloze deel van een telecommunicatienetwerk tussen een basisstation en een mobiele telefoon en de wijze van communicatie daartussen. De op de prioriteitsdatum gepubliceerde op telecommunicatienetwerken betrekking hebbende standaarden waaronder de UMTS en 3GPP2-standaarden behoren tot zijn algemene vakkennis.
4.2
Partijen hebben op een aantal punten een verschillende opvatting over de wijze waarop de gemiddelde vakman het octrooi zou lezen. Het hof overweegt daaromtrent als volgt.
‘within the predetermined time period’
4.3
Met de term ‘predetermined time period’ wordt blijkens de beschrijving en conclusies, in overeenstemming met de algemene vakkennis, de tijd waarin een datablok wordt verzonden aangeduid, een ‘dataframe’ of kortweg ‘frame’ dus. Niet ter discussie is dat volgens de conclusies van het tweede (en derde) hulpverzoek de aanpassingen van het datazendvermogen op basis van het eerste en het tweede criterium plaatsvinden binnen de ‘predetermined time period’ van verzending van het datablok en derhalve binnen één frame (zie par. 26 AMnC).
tijdelijke uitzondering op het conventionele vermogensbesturingsschema
4.4
Philips stelt dat de uitvinding volgens het octrooi ziet op een tijdelijke uitzondering op het conventionele besturingsschema. Wiko heeft dat bestreden. Zij erkent dat dit wel uit de figuren kan worden afgeleid, maar wijst erop dat in de conclusies geen kenmerk is opgenomen dat het volgen van het conventionele vermogensbesturingsschema vereist. Het hof verwerpt het standpunt van Wiko. Gelezen in samenhang met de beschrijving en de figuren zou de vakman de conclusies zo begrijpen, dat de daarin beschreven uitvinding betrekking heeft op een tijdelijke uitzondering op het conventionele schema en ten doel heeft om een oplossing te bieden voor de (tijdelijke) problemen die zich daarbij voordoen, te weten dat bij een (zeer) slechte kanaalkwaliteit het excessief verhogen van het zendvermogen extreem veel energiegebruik vergt – wat nadelig is voor de batterij – terwijl bovendien bij het excessief verhogen van het zendvermogen interferentie optreedt – wat nadelig is voor de efficiëntie van het systeem omdat andere mobiele stations worden ‘overschreeuwd’ en het basisstation andere mobiele stations daardoor minder goed kan ontvangen.
4.5
De oplossing volgens het octrooi bestaat daarin dat het station dat uitzendt (derhalve het mobiele station bij verzending van data over een uplink kanaal) is toegerust met regelmiddelen die ervoor zorgen dat bij ontvangst van een indicatie van verslechtering van de kanaalkwaliteit (bijvoorbeeld een TPC-up commando, vgl. conclusies 9 en 10) volgens een eerste criterium (bijvoorbeeld bij opvolging waarvan het datazendvermogen boven een vooraf bepaalde limiet zou komen, vgl. conclusies 9 en 10) het mobiele station het datazendvermogen in plaats van verhoogt volgens het conventionele vermogensbesturingsschema, juist verlaagt (naar niveau P1 op tijdstippen 1, 3 en 5 in figuur 4). Indien het mobiele station daarna een indicatie van verbetering van de kanaalkwaliteit ontvangt (bijvoorbeeld een TPC-down commando) volgens een tweede criterium (bijvoorbeeld wanneer het zendvermogen van het blijvend vermogensbestuurd uitgezonden besturingssignaal gelijk wordt aan of lager wordt dan het vermogen dat het had toen aan het eerste criterium werd voldaan, vgl. conclusie 12) zal het mobiele station het datazendvermogen, in plaats van verlagen volgens het conventionele vermogensbesturingsschema, juist weer verhogen (naar niveau P2 op tijdstippen 2, 4 en 6 in figuur 4). De gemiddelde vakman zal begrijpen dat daarna weer een situatie is bereikt waarin zich geen problemen meer voordoen, zodat het conventionele vermogensbesturingsschema weer kan worden vervolgd, zoals ook is te zien in figuur 4 waar in de periodes vóór t1, tussen t2 en t3, tussen t4 en t5 en na t6 sprake is van een inverse relatie tussen de kanaalkwaliteit en het datazendvermogen. (vergelijk figuur 2 en figuur 3, waarvan figuur 4 een bewerking is, weergegeven in 2.6 hiervoor). De gemiddelde vakman begrijp dat ook uit paragraaf 34 van de beschrijving “The second criterion, for determining when to increase the transmit power and if appropriate resume the full tracking of the variations in channel quality by the transmit power level, (…)” (onderlijning toegevoegd). De woorden ‘if appropriate’ zal de vakman, in context gelezen, begrijpen als: in alle gevallen, behalve als (opnieuw) de drempelwaarde overschreden dreigt te worden (en een volgend ‘eerste criterium’ zich aandient).
4.6
Naar het oordeel van het hof zal de gemiddelde vakman conclusie 1 derhalve zo begrijpen dat de daarin beschreven maatregelen bij gebruik van het conventionele besturingsschema een oplossing bieden voor het probleem dat een mobiel station bij een slechte kanaalkwaliteit met een excessief hoog transmissievermogen gaat verzenden, door het mobiele station te voorzien van regelmiddelen die het in staat stellen tijdelijk af te wijken van het conventionele besturingsschema, namelijk gedurende de periode tussen de toepassing van het eerste en het tweede criterium, op basis waarvan het mobiele station het datazendvermogen bij ontvangst van een TPC-up commando verlaagt respectievelijk bij ontvangst van een TPC-down commando verhoogt. Dat Wiko dit ook zelf zo heeft begrepen volgt uit par. 119 CvA/CvErec waar zij (met betrekking tot conclusie 9) opmerkt: “Volgens het octrooi behoeft het basisstation niet te worden aangepast, maar kan het basisstation TPC commando's of power control bits blijven versturen volgens de stand van de techniek. In de alternatieve implementatie moet echter wel het mobiele station worden aangepast door de TPC commando's of de power control bits te duiden als indicaties van de signaalkwaliteit en de eerste en tweede criteria toe te passen.” Dat conclusies 1 tot en met 9 niet het gebruik van TPC commando’s voorschrijven, maar ook zien op het gebruik van andere kwaliteitsindicatoren – bijvoorbeeld een ‘signal quality measurement’ door het mobiele station van de kwaliteit van een door het basisstation verzonden (downlink) signaal – doet daaraan niet af. Dit is een uit de stand van de techniek bekende (ook in de 3GPP2-standaard toegepaste) variant van kanaalkwaliteitsmeting, aangeduid als ‘open loop power control’ die in een conventioneel besturingsschema kan worden toegepast, zoals ook in paragraaf 23-25 van de beschrijving uiteengezet.
4.7
Uit het voorgaande volgt dat het standpunt van Wiko dat conclusie 1 zich ook zou uitstrekken tot de situatie waarin het datazendvermogen wordt verhoogd bij verbeterende kanaalkwaliteit en wordt verlaagd bij verslechterende kanaalkwaliteit, zonder dat het conventionele vermogensbesturingsschema wordt toegepast niet als juist kan worden aanvaard. In een dergelijke uitleg zou de toepassing van een eerste en tweede criterium bovendien zinledig zijn, terwijl voorts bij steeds verbeterende kanaalkwaliteit en dus steeds hoger zendvermogen daarmee geen oplossing wordt geboden voor het probleem dat het octrooi beoogt op te lossen: het voorkomen dat het mobiele station met een excessief vermogen gaat uitzenden. Nu het standpunt van Wiko ter zake van de uitleg van EP 511 wordt afgewezen, behoeft op het bezwaar van Philips dat de bij AMnC aangevoerde stellingen van Wiko op dit punt in strijd zijn met de ter comparitie gemaakte procesafspraken (voor zover het conclusie 1 betreft) dan wel in strijd met de twee-conclusieregel (voor het zover het conclusies 9, 10 en 12 betreft), niet te worden beslist.
(on)duidelijkheid tweede hulpverzoek
4.8
Wiko heeft de geldigheid van de conclusies volgens het tweede hulpverzoek bestreden omdat deze, met name gelet op de zinsnede ‘at a lower power level’, volgens haar onduidelijk zijn en derhalve in strijd met artikel 84 Europees Octrooiverdrag (EOV) resp. 25 Rijksoctrooiwet (ROW), omdat iedere referentie ten opzichte waarvan het zendvermogen van het datablok lager is ontbreekt. Daardoor is onduidelijk of daarmee het zendvermogen wordt bedoeld waarmee het datablok wordt verzonden vlak voordat aan het eerste criterium wordt voldaan, of het zendvermogen nadat het is gereduceerd, dan wel het zendvermogen dat zou zijn gehanteerd als er geen reductie had plaatsgevonden, of nog een ander zendvermogen (zie par. 120 MvA).
4.9
Het hof verwerpt dat standpunt. Conclusie 1 heeft betrekking op de aanpassing van het zendvermogen van een datablok, binnen de vooraf bepaalde tijdsperiode voor verzending daarvan (een ‘frame’). Conclusie 1 schrijft voor dat als aan een eerste criterium voor het verlagen van het datazendvermogen is voldaan, het mobiele station dat datazendvermogen verlaagt en wanneer binnen diezelfde periode, datzelfde frame, is voldaan aan een tweede criterium voor het verhogen van het datazendvermogen, dat het mobiele station dat datazendvermogen weer zal verhogen. Tussen het voldoen aan het eerste en het tweede criterium wordt de verzending van het datablok voortgezet op een lager zendvermogen.
4.10
Reeds gelet op de zinsnede ‘between the times of the first and second criteria being met’ zal de gemiddelde vakman begrijpen dat wordt gedoeld op de situatie ná het intreden van het eerste criterium en derhalve nadat het zendvermogen op basis daarvan is verlaagd en voor het intreden van het tweede criterium op grond waarvan het datazendvermogen weer zal worden verhoogd. Hij vindt voor die lezing bevestiging in paragraaf 30 van de beschrijving: “During operation of the first radio station after decreasing the data transmit power following the first criterion being met and before the second criterion is met, the transmission power may be either (a) switched off, (b) continued at a reduced and constant level, or (c) continued at a reduced and variable level, to some extent tracking variations in channel quality.”
4.11
In figuur 4 wordt getoond dat het datazendvermogen in de periodes t1-t2, t3-t4 en t5-t6 is gedaald tot P1. Uit paragraaf 26 van de beschrijving begrijpt de gemiddelde vakman dat de verlaging op t1, t3 en t5 plaatsvindt op basis van toepassing van het eerste criterium. Het standpunt van Wiko dat figuur 4 de lezing toelaat dat op een verlaging wordt gedoeld ten opzichte van het vermogensniveau dat het signaal zou hebben gehad wanneer het eerste criterium niet zou zijn toegepast (par. 74 AMnC) kan niet worden gevolgd. Voor een dergelijke lezing bieden conclusie noch beschrijving enig aanknopingspunt. Daarin wordt slechts gesproken van een verlaging op basis van het eerste criterium, zodat met ‘lager’ niveau evident wordt gedoeld op lager dan het niveau vóór toepassing van dat criterium. Wiko heeft niet op enige passage uit de beschrijving gewezen op grond waarvan de gemiddelde vakman van haar lezing zou uitgaan.
4.12
Dat de gemiddelde vakman zou uitgaan van de zojuist genoemde lezing van Wiko kan ook niet worden aangenomen gelet op doel en strekking van de uitvinding volgens het octrooi. Daarmee wordt immers beoogd dat wordt voorkomen dat het mobiele station met een excessief hoog vermogen gaat uitzenden. Dat wordt bewerkstelligd door het niveau van het datazendvermogen op het punt waar is voldaan aan een eerste criterium (in figuur 4 aangegeven met respectievelijk t1, t3 en t5) juist te verlagen. Op dat punt ligt de omslag van het verhogen van het datazendvermogen – volgens het principe van het conventionele vermogensbesturingsschema – naar het verlagen van het datazendvermogen – volgens de maatregelen van de conclusies van het tweede hulpverzoek, in afwijking van het conventionele vermogensbesturingsschema. De gemiddelde vakman zal dat omslagpunt daarom beschouwen als het relevante referentiepunt ten opzichte waarvan een verlaging plaatsvindt. Hoe hoog het datazendvermogen geweest zou zijn indien het eerste criterium niet zou zijn toegepast, is voor de uitvinding van geen enkel belang. Dat niveau ligt immers bóven het niveau waarop wordt voldaan aan het eerste criterium en de maatregelen volgens de conclusies zijn er nu juist op gericht te vermijden dat dat hogere niveau van het zendvermogen wordt bereikt.
4.13
Aldus is het naar het oordeel van het hof voor de gemiddelde vakman, gelet op de bewoordingen van de conclusie, gelezen in samenhang met de beschrijving en de figuren, duidelijk dat met ‘lower power level’ wordt verwezen naar het zendvermogen ná toepassing van het eerste criterium voor het verlagen van het zendvermogen en vóór toepassing van het tweede criterium voor het verhogen van het zendvermogen. Het woord ‘lower’ zal daarbij worden begrepen als lager dan het niveau van het zendvermogen voorafgaand aan de toepassing van het eerste criterium op basis waarvan het is verlaagd.
4.14
Het voorgaande leidt tot de slotsom dat de onduidelijkheids-bezwaren van Wiko tegen het tweede hulpverzoek worden afgewezen. Andere redenen waarom het tweede hulpverzoek niet toelaatbaar zou zijn zijn door Wiko niet voldoende gemotiveerd aangevoerd. Bij die stand van zaken zal, gelet op hetgeen hiervoor in 3.5 is vermeld, bij de beoordeling van de door Wiko opgeworpen geldigheidsbezwaren primair worden uitgegaan van de conclusies volgens het tweede hulpverzoek. Waar hierna wordt gesproken over (de conclusies van) het octrooi wordt daarmee gedoeld op de conclusies volgens het tweede hulpverzoek, tenzij nadrukkelijk anders vermeld.
nieuwheid
(i)(a) de 3GPP2-standaard
4.15
Wiko stelt zich op het standpunt dat de 3GPP2-standaard alle kenmerken van conclusie 1 direct en ondubbelzinnig openbaart, zodat dit document in de weg staat aan de nieuwheid van het octrooi.
4.16
Wiko stelt daartoe dat in de 3GPP2-standaard wordt geopenbaard dat het datazendvermogen van het Reverse Supplemental Channel (of een van de andere code channels genoemd in de passage op pag. 2-47, te weten het Reverse Fundamental Channel of de Reverse Dedicated Control Channel – hierna wordt kortheidshalve verder alleen het Reverse Supplemental Channel genoemd) onmiddellijk – derhalve op slotbasis – kan én moet worden verlaagd, zodra het mobiele station bij opvolging van een power control bit in de situatie zou komen dat deze “is unable to transmit at the requested output power level” (hierna ook kortweg aangeduid als ‘unable’ is) zoals vermeld op pag. 2-47 van de 3GPP2-standaard (zie 4.21 hierna). In het bijzonder zou dit volgens Wiko volgen uit de voorwaarde van de laatste zin van de bewuste passage, dat het zendvermogen van het Reverse Pilot Channel in overeenstemming blijft met de per slot ontvangen power control commands. Voorts zou het datazendvermogen op het Reverse Supplemental Channel ook weer worden verhoogd zodra daarvoor de mogelijkheid ontstaat doordat de kanaalkwaliteit verbetert en het zendvermogen van het Reverse Pilot Channel in overeenstemming met ontvangen power control commands weer wordt verlaagd. Volgens Wiko volgt dat uit pag. 2-53 dat voorschrijft dat de vastgestelde offset (ratio) moet worden gehandhaafd (zie 4.30 hierna). Die offset zou de gemiddelde vakman zien als een ‘default’ offset, waarvan kan worden afgeweken in de situatie dat het mobiele station ‘unable’ is als bedoeld op pag. 2-47 en waarnaar moet worden teruggekeerd zodra die situatie zich niet langer voordoet.
4.17
Het hof is met Philips van oordeel dat deze lezing van Wiko niet logischerwijs en zeker niet noodzakelijkerwijs voortvloeit uit de 3GPP2-standaard. Daartoe wordt als volgt overwogen.
4.18
Partijen zijn het erover eens dat de 3GPP2-standaard gebruik maakt van het conventionele vermogensbesturingsschema. Dit is beschreven op pag. 2-46 in paragraaf 2.1.2.3.2 “Closed Loop Output Power”. Daarin is onder meer de volgende passage opgenomen:
“For closed loop correction on the Reverse Traffic Channel (with respect to the open loop estimate), the mobile station shall adjust its mean output power level in response to each valid power control bit (see 3.1.3.1.10) received on the Forward Fundamental Channel or the Forward Dedicated Control Channel”
In paragraaf 3.1.3.1.10 “Forward Power Control Subchannel” van de 3GPP2-standaard is bepaald dat het basisstation iedere 1.25 ms de signaalsterkte van het mobiele station meet en aan de hand daarvan de waarde van de ‘power control bit’ bepaalt. Zo’n bit (power control command) wordt iedere 1.25 ms (dus per slot) door het basisstation aan het mobiele station verzonden. Per 20ms frame ontvangt het mobiele station 16 power control commands. Met een ‘0’-bit wordt een commando aan het mobiele station gegeven dat het de ‘mean output power level’ dient te verhogen, een ‘1’-bit geeft aan dat het ‘mean output power level’ dient te worden verlaagd. In reactie op iedere ontvangen power control bit past het mobiele station zijn ‘mean output power level’ aan.
4.19
Op pag. 2-34 van de 3GPP2-standaard is onder het hoofdstuk “2.1.2 Power Output Characteristics” de volgende paragraaf opgenomen:
“2.1.2.1 Maximum Output Power
(…) The mobile station shall not exceed the maximum specified power levels under any circumstances.”
Ter zitting heeft Wiko verduidelijkt dat dit gedefinieerde maximum een regulatoire limiet betreft, een wettelijk voorschrift. Verhoging boven deze limiet mag niet.
4.20
Daarnaast heeft ieder mobiel station een limiet waarboven het zendvermogen fysiek niet meer kan worden verhoogd – vergelijkbaar met het maximum volume van een radio. Verhoging boven deze limiet kan niet.
4.21
Aan het eind van paragraaf 2.1.2.3.2 “Closed Loop Output Power” (zie 4.18 hiervoor) is op pag. 2-47 de volgende passage opgenomen:
“For the Reverse Traffic Channel with Radio Configuration 3 through 6, if the mobile station is unable to transmit at the requested output power level, it shall reduce the data rate on the Reverse Fundamental Channel, or reduce the transmission power or terminate transmission on at least one of the following code channels that are active: the Reverse Fundamental Channel, the Reverse Supplemental Channels, or the Reverse Dedicated Control Channel. The mobile station shall perform this action not later than the 20 ms frame boundary occurring no later than 40 ms after determining that the mobile station is unable to transmit at the requested output power level. The mobile station should attempt to reduce the transmission power, the data rate, or terminate transmission first on the code channel with the lowest priority. The mobile station shall transmit at the commanded output power level on the Reverse Pilot Channel.”
Deze passage ziet derhalve op de situatie dat op grond van een door het basisstation verzonden power control bit aan het mobiele station de opdracht wordt gegeven het zendvermogen te verhogen, maar het mobiele station niet in staat is (‘unable’) op het verzochte niveau uit te zenden (‘to transmit at the requested output power level’) .
4.22
Partijen twisten over de vraag wat precies onder ‘unable’ moet worden verstaan, in het bijzonder of de gemiddelde vakman daaronder ook een ‘zachte grens’ zou begrijpen (naar het hof begrijpt door de fabrikant in het mobiele station softwarematig ingesteld) die (ook fysiek) nog overschreden kan worden. Daarop zal hierna (in 4.53) nader ingegaan worden. Partijen zijn het er wel over eens dat de situatie waarin het mobiele station ‘unable’ is in de zin van de hiervoor geciteerde passage zich in elk geval voordoet indien de mobiele telefoon fysiek niet meer in staat is het zendvermogen verder te verhogen (zie 4.20 hiervoor) en dat de gemiddelde vakman dat ook zo zou begrijpen.
4.23
De passage op pag. 2-47 uit de 3GPP2-standaard voorziet in drie mogelijkheden voor de actie die moet (‘shall’) worden ondernomen als de situatie zich voordoet dat het mobiele station ‘unable’ is:
(i) het verlagen van de datasnelheid op het Reverse Fundamental Channel; of
(ii) het verlagen van het transmissievermogen op ten minste een van de volgende code-kanalen die actief zijn: het Reverse Fundamental Channel, de Reverse Supplemental Channels, of het Reverse Dedicated Control Channel; of
(iii) het beëindigen van de transmissie op ten minste een van die kanalen.
4.24
Tevens is een tijdslimiet gespecificeerd wanneer die actie moet worden uitgevoerd:
“The mobile station shall perform this action not later than the 20 ms frame boundary occurring no later than 40 ms after determining that the mobile station is unable to transmit at the requested output power level.”
Partijen verschillen van mening hoe die zin door de gemiddelde vakman op de prioriteitsdatum zou worden begrepen. Daarnaast hebben zij een fundamenteel andere opvatting over de vraag wanneer moet zijn voldaan aan de laatste zinsnede van de passage: “The mobile station shall transmit at the commanded output power level on the Reverse Pilot Channel.” Hierop wordt hierna (in 4.32 e.v.) teruggekomen.
4.25
Er is geen verschil van mening tussen partijen dat de actie genoemd in 4.23 onder (i) alleen kan plaatsvinden op een framegrens. Partijen verschillen van mening over wanneer en hoe de hiervoor onder (ii) en (iii) genoemde acties kunnen en moeten plaatsvinden. Ook daarop wordt hierna (in 4.32 e.v.) teruggekomen.
4.26
In paragraaf 2.1.2.3.3.2. “Code Channel Output Power for Reverse Traffic Channel with Radio Configuration 3, 4, 5, or 6” op pag. 2-49 is bepaald dat het zendvermogen van het Reverse Fundamental Channel, het Reverse Supplemental Channel en het Reverse Dedicated Control Channel zal worden vastgesteld gerelateerd aan (‘relative to’) het zendvermogen van het Reverse Pilot Channel. Het mobiele station moet ieder van de Reverse Fundamental Channel, Reverse Supplemental Channel en Reverse Dedicated Control Channel uitzenden op een vermogen berekend volgens navolgende formule:
“The mobile station shall set the output power of the Reverse Fundamental Channel, the Reverse Supplemental Channel, and the Reverse Dedicated Control Channel relative to the output power of the Reverse Pilot Channel. The mobile station shall transmit each of the Reverse Fundamental Channel, Reverse Supplemental Channel, and Reverse Dedicated Control Channel at an output power given by
mean code channel output power (dBm) =
mean pilot channel output power (dBm)
+ 0.125 × (Nominal_Attribute_Gain[Rate, Frame Duration, Coding]
+ Attribute_Adjustment_Gain[Rate, Frame Duration, Coding]
+ Reverse_Channel_Adjustment_Gain[Channel]
– Multiple_Channel_Adjustment_Gain[Channel]
+ RLGAIN_TRAFFIC_PILOTs
+ RLGAIN_SCH_PILOT[Channel]s).
where Channel identifies the Fundamental Channel, the Dedicated Control Channel, and each Supplemental Channel.”
4.27
Indien het zendvermogen (de mean output power level) van het Reverse Pilot Channel wordt aangepast ten gevolge van een ontvangen power control bit (zie 4.18 hiervoor), dan dient het zendvermogen van ieder van de actieve Reverse Traffic Channels te worden aangepast met inachtneming van deze formule, derhalve in directe relatie tot het zendvermogen van het Reverse Pilot Channel. Deze relatie, of ratio, van het zendvermogen van een Reverse Traffic Channel tot dat van het Reverse Pilot Channel wordt ook wel aangeduid als de ‘offset’ of de ‘traffic-to-pilot’ (T/P) ratio. Met de offset wordt de optimale verdeling van het beschikbare zendvermogen tussen het Reverse Pilot Channel en de Traffic Channels bereikt. De in de hiervoor weergegeven formule opgenomen variabelen kunnen alleen op framebasis worden aangepast, zoals ook verklaard door de partijdeskundige aan de zijde van Wiko, William O. Camp (hierna: Camp): “None of those terms can change during a frame period” (par. 21 2e verklaring).
4.28
Zoals blijkt uit de hiervoor weergegeven formule op pag. 2-49, is de Nominal Attribute Gain een belangrijke variabele voor het bepalen van de offset. De waarde daarvan is afhankelijk van de datasnelheid (‘data rate’) en wordt door het mobiele station bepaald op basis van de Reverse Link Nominal Attribute Gain Table die is opgenomen op pag. 2-51 en 2-52 van de 3GPP2-standaard en waarvan een deel hieronder is opgenomen. Met ‘target error rate’ wordt aangegeven welk percentage van de te verzenden data maximaal verloren mag gaan. ‘Convolutional’ is een foutdetectiecode die pariteitschecksymbolen genereert.
Table 2.1.2.3.3.2-1. Reverse Link Nominal Attribute Gain Table (Part 1 of 2)
Data Rate (bps) | Frame Length (ms) | Coding | Nominal_ Attribute _Gain | Pilot_ Reference _Level | Target Error Rate7 |
1,200 | 80 | Convolutional | –56 | 0 | 0.05 |
1,350 | 40 | Convolutional | –54 | 0 | 0.05 |
1,500 | 20 | Convolutional | –47 | 0 | 0.01 |
1,800 | 20 | Convolutional | –42 | 3 | 0.01 |
1,800 | 40 or 80 | Convolutional | –45 | 3 | 0.05 |
2,400 | 40 or 80 | Convolutional | –30 | 0 | 0.05 |
2,700 | 20 | Convolutional | –22 | 0 | 0.01 |
3,600 | 20 | Convolutional | –13 | 3 | 0.01 |
3,600 | 40 or 80 | Convolutional | –17 | 3 | 0.05 |
4,800 | 20 | Convolutional | -2 | 0 | 0.01 |
4,800 | 40 or 80 | Convolutional | -3 | 0 | 0.05 |
7,200 | 20 | Convolutional | 15 | 3 | 0.01 |
7,200 | 40 or 80 | Convolutional | 10 | 3 | 0.05 |
(…)
4.29
Volgens pag. 2-49 is deze Table opgeslagen in het geheugen van het mobiele station:
“The mobile station shall maintain a Reverse Link Nominal Attribute Gain Table containing the nominal Reverse Fundamental Channel, Reverse Supplemental Channel, or Reverse Dedicated Control Channel power relative to the Reverse Pilot Channel power for each transmission rate, frame duration, and coding rate supported by the mobile station”.
Uit de tabel en voornoemde passage volgt dat het zendvermogen en de datasnelheid van een Reverse Traffic Channel aan elkaar zijn gerelateerd. Voor verzending met een lagere datasnelheid is minder zendvermogen nodig. In de tabel komt dat tot uitdrukking doordat een lagere datasnelheid is gekoppeld aan een lagere Nominal Attribute Gain, wat leidt tot een lager zendvermogen. Om met dezelfde betrouwbaarheid (error rate) te kunnen blijven verzenden bij een lager zendvermogen zal derhalve de datasnelheid eveneens verlaagd moeten worden (zie ook par. 75 en 103 PA Wiko).
4.30
Op pag. 2-53 van de 3GPP2-standaard is het navolgende opgenomen.
“The mobile station shall maintain the ratio
mean pilot channel output power
mean code channel output power
within ±0.25 dB of the number specified by
0.125 x (Nominal_Attribute_Gain[Rate, Frame Duration, Coding]
+ Attribute_Adjustment_Gain[Rate, Frame Duration, Coding]
+ Reverse_Channel_Adjustment_Gain[Channel]
- Multiple_Channel_Adjustment_Gain[Channel]
+ RLGAIN_TRAFFIC_PILOTs
+ RLGAIN_SCH_PILOTs[Channel])
for every code channel (i.e., the Reverse Fundamental Channel, Reverse Supplemental Channel, or Reverse Dedicated Control Channel) having an output power greater than 1/30 of the total output power of the mobile station. The mobile station shall maintain the above ratio to within ±0.35 dB for every code channel having an output power greater than 1/60 and less than 1/30 of the total output power of the mobile station. The mobile station shall maintain the above ratio to within ±0.6 dB for code channel having an output power less than 1/60 of the total output power of the mobile station.”
Hieruit volgt dat de met behulp van de formule op pag. 2-49 vastgestelde offset binnen een zekere bandbreedte dient te worden gehandhaafd (‘shall be maintained’) gedurende de verzending van een datablok, om de beoogde kwaliteit van de verzending (target error rate) te kunnen bereiken (zie ook Camp, par. 7-8, 1e verklaring: “The offset is constant during the transmission of a data packet”). Een datablok wordt verzonden binnen een frame (zie 2.11 hiervoor) De offset moet dus gedurende een frame worden gehandhaafd.
4.31
Op pagina 2-64 van de 3GPP2-standaard is de volgende figuur opgenomen:

In deze figuur is de wijze waarop het zendvermogen van de diverse Reverse Channels wordt bepaald te zien. Aanpassing van het zendvermogen van het Reverse Pilot Channel naar aanleiding van een ontvangen power control bit leidt – via de vastgestelde offset, voor ieder van de kanalen op basis van het voor dat kanaal toepasselijke ‘Relative Gain’ (het relatieve vermogen van het ene kanaal ten opzichte van de andere kanalen) – tot aanpassing van het zendvermogen op álle andere Reverse Channels (zie 4.26 e.v. hiervoor). De vastgestelde offset blijft daarbij hetzelfde. De aanpassing van het zendvermogen op alleen één van de Reverse Channels vergt aanpassing van de Relative Gain van dat kanaal met inachtneming van de formule op pag. 2-49, welke aanpassing – ook volgens Camp – alleen op een framegrens kan plaatsvinden. De aanpassing van de Relative Gain van één Reverse Traffic Channel leidt tot een andere offset.
4.32
Het standpunt van Wiko dat de 3GPP2-standaard nieuwheidsschadelijk is voor het octrooi, is vooral daarop gebaseerd dat aan de voorwaarde van de laatste zin van de bewuste passage op pag. 2-47 “The mobile station shall transmit at the commanded output power level on the Reverse Pilot Channel” altijd onmiddellijk dient te worden voldaan. Aangezien een power control bit ieder slot wordt verzonden en daaraan dus ieder slot moet worden voldaan, zal – indien opvolging van dat commando leidt tot de situatie dat het mobiele station ‘unable’ is – het zendvermogen van (bijvoorbeeld) het Reverse Supplemental Channel onmiddellijk, dus in datzelfde slot, verlaagd moeten worden, om de voorgeschreven stijging van het zendvermogen van het Reverse Pilot Channel mogelijk te maken, aldus Wiko.
4.33
Die voorwaarde van ‘onmiddellijke’ actie volgt naar het oordeel van het hof echter niet – en zeker niet noodzakelijkerwijs – uit de desbetreffende laatste zin, niet op zichzelf, noch gelezen in samenhang met de voorafgaande zinnen en ook niet indien gelezen in context van de gehele 3GPP2-standaard. Het hof licht dat als volgt toe.
4.34
Dat de laatste zin van de passage op pag. 2-47 onmiddellijke actie zou vergen is niet in overeenstemming met de in die passage gestelde tijdslimiet voor het nemen van een van de mogelijke acties indien een mobiel station ‘unable’ is: “The mobile station shall perform this action not later than the 20 ms frame boundary occurring no later than 40 ms after determining that the mobile station is unable to transmit at the requested output power level.”. Volgens Wiko betekent dit dat een actie uiterlijk op de grens van het volgende frame moet zijn uitgevoerd en laat dit de mogelijkheid van een onmiddellijke actie open. Volgens Philips begrijpt de gemiddelde vakman dat een actie ofwel op het eind van het huidige frame ofwel op de grens van het volgende frame moet worden uitgevoerd.
4.35
Naar het oordeel van het hof wijst de formulering van de tijdslimiet erop dat de actie moet worden uitgevoerd op een frame boundary en zou de gemiddelde vakman dat ook zo begrijpen. Voorgeschreven is immers dat de te ondernemen actie moet worden uitgevoerd not later than the 20ms frame boundary occurring no later than 40ms after determining that the mobile station is unable to transmit at the requested output power level. Gelet op deze formulering zal de gemiddelde vakman begrijpen dat een actie moet worden uitgevoerd op een van de framegrenzen die zich voordoen (‘occurring’) binnen de gestelde tijdslimiet. Omdat een frame 20 ms duurt en de situatie dat een mobiel station ‘unable is’ binnen een frame ontstaat (naar aanleiding van de ontvangst van een power control bit dat per slot wordt verstuurd), komen er binnen 40 ms na het ontstaan van die situatie twee frame boundaries voor, namelijk die van het huidige frame en die van het opvolgende frame. Indien de lezing van Wiko, dat op ieder moment binnen de gegeven tijdslimiet een van de acties uitgevoerd zou kunnen (en moeten) worden, juist zou zijn, dan had met een veel eenvoudiger formulering volstaan kunnen worden, bijvoorbeeld: no later than at the frame boundary of the next frame.
4.36
Dat de actie moet worden uitgevoerd op de grens van het huidige of daarop volgende frame is ook in overeenstemming met de in de 3GPP2-standaard geopenbaarde mechanismen en benodigde tijd voor uitvoering van de te ondernemen acties. Van de actie genoemd in 4.23 onder (i) is niet in geschil dat deze op de grens van het lopende frame moet worden uitgevoerd. Van de actie onder (iii) stelt Wiko dat deze op ieder moment, dus per slot, kan worden uitgevoerd. Zij stelt echter ook dat het een verspilling van bronnen zou zijn om halverwege het frame met verzending te stoppen (par. 119 PA). In overeenstemming daarmee bepaalt de 3GPP2-standaard net vóór de in 4.21 geciteerde passage ten aanzien van Radio Configurations 1 en 2 – waar de enige mogelijke actie bij de situatie dat het mobiele station ‘unable’ is, het beëindigen van de transmissie van een Reverse Supplemental Code Channel is – dat die beëindiging plaatsvindt niet later dan de verzending van het volgende frame (“not later than the transmission of the next frame”), derhalve ook uiterlijk op de grens van het frame waarin het mobiele station ‘unable’ wordt.
4.37
Voor Radio Configurations 3 tot en met 6 zijn er in de situatie dat het mobiele station ‘unable to transmit’ is méér actiemogelijkheden (namelijk ook acties (i) en (ii)) én is de tijdslimiet ruimer, namelijk tot en met de volgende framegrens. De gemiddelde vakman zal daaruit afleiden dat die additionele tijd beschikbaar is gemaakt om de additionele acties uit te kunnen voeren. Omdat hij weet dat aanpassing van de datasnelheid van het Reverse Fundamental Channel en beëindiging van de transmissie op een van de genoemde kanalen (acties (i) en (iii)) op de grens van het huidige frame kunnen plaatsvinden, zal hij begrijpen dat die additionele tijd dus beschikbaar is gemaakt voor het aanpassen van het datazendvermogen op het Reverse Supplemental Channel (actie (ii), aanpassing van het datazendvermogen op het Reverse Dedicated Control Channel vindt plaats op de eerstvolgende framegrens, zie 4.55 hierna).
4.38
Zoals hiervoor overwogen vergt aanpassing van het zendvermogen op één Traffic Channel, aanpassing van de Relative Gain en daarmee van de offset, hetgeen alleen op een 20 ms frame boundary kan plaatsvinden (zie 4.31). Indien het mobiele station op één kanaal met een lager transmissievermogen wil verzenden, dan kan het door middel van ‘upper layer signaling’ (ook wel ‘layer 3 signaling’) aan het basisstation vragen om een lagere datasnelheid, met bijbehorend lagere Nominal Attribute Gain en lager zendvermogen, vast te stellen. Vojcic heeft daarover als volgt verklaard (par. 15, 1e verklaring):
“(…) layer 3 signaling is fast enough to implement a reduction in data rate and power within the time limit specified on page 2-47, i.e. at the frame boundary
of the current 20ms frame or subsequent 20ms frame. Upon determining that it is unable to transmit at the required power level, the mobile station can send a "Supplemental Channel Request Mini Message" carried over a 5ms frame. The base station then responds with a "Reverse Supplemental Channel Assignment Mini-Message" which can also be carried over a 5ms frame.”
Indien de situatie dat het mobiele station ‘unable is’ zich voordoet aan het begin van het frame, kan deze procedure binnen het lopende frame plaatsvinden en op de eerste framegrens geëffectueerd (en dus niet binnen het lopende frame). Indien die situatie zich aan het eind van het frame voordoet zal de procedure op de opvolgende framegrens kunnen worden afgerond, in overeenstemming met de gestelde tijdslimiet.
4.39
Het standpunt van Wiko dat de gemiddelde vakman niet zou aannemen dat deze ‘Mini Message’-procedure moet worden gevolgd, omdat dit geen onderdeel zou uitmaken van de 3GPP2-standaard wordt verworpen. Deze procedure is opgenomen in onderdelen C.S0017-0-2.12 en C.S0005-0-2, die samen met andere onderdelen, waaronder onderdeel C.S0002 waarin de bewuste passage op pag. 2-47 is opgenomen, de volledige CDMA2000- standaard vormen.
4.40
Dat het basisstation niet verplicht is om een verzoek van het mobiele station om de datasnelheid aan te passen binnen de gestelde tijdslimiet te honoreren, waarop Wiko heeft gewezen, moge zo zijn, maar naar het oordeel van het hof staat dat aan de door Philips voorgestelde lezing door de gemiddelde vakman niet in de weg. Niet bestreden is dat het basisstation wel in staat is om tijdig te reageren en niet valt in te zien waarom het basisstation niet positief zou willen antwoorden, aangezien dit ten gunste komt van het efficiënte functioneren van het systeem (vgl. par. 13, 2e verklaring Vojcic). Datzelfde geldt voor de stelling van Wiko (noot 8 bij par. 107 PA) dat het verzenden van Mini Messages van 5ms niet altijd mogelijk zou zijn, omdat het basisstation en het mobiele station kunnen overeenkomen dat alleen 20 ms frames mogen worden gebruikt op het Reverse Fundamental Channel en het Reverse Dedicated Control Channel. Niet valt in te zien waarom de Mini Message procedure niet zou worden geïmplementeerd. Volgens Wiko behoorde tot de algemene vakkennis dat telecommunicatiesystemen zijn ingericht om optimaal gebruik te maken van de beschikbare bronnen en verspilling van bronnen zoveel mogelijk tegen te gaan (par. 215 sub vi MvA). Bovendien heeft het mobiele station, mocht het verzoek niet (tijdig) (kunnen) worden ingewilligd, altijd nog actiemogelijkheid (iii), to terminate transmission.
4.41
De hiervoor (in 4.35) uiteengezette uitleg van de in de passage op pag. 2-47 gestelde tijdslimiet is derhalve in overeenstemming met de geopenbaarde mechanismen en benodigde tijd voor uitvoering van de te ondernemen acties. Indien daarentegen het standpunt van Wiko gevolgd zou worden, dat aanpassing van het zendvermogen direct zou kunnen en moeten plaatsvinden, dan zou de geboden tijd tussen de grens van het huidige frame en die van het opvolgende frame geen enkel doel dienen, hetgeen voor de gemiddelde vakman een aanwijzing is dat die uitleg niet bedoeld kan zijn.
4.42
Wiko en haar deskundige Camp (par. 40 e.v., 2e verklaring) hebben – om die extra tijd te verklaren – betoogd dat de bewuste passage op pag. 2-47 twee tijdslimieten bevat waarbinnen actie moet worden genomen. Uit de laatste zin zou (impliciet) voortvloeien dat onmiddellijke actie (in de vorm van aanpassing van het zendvermogen) is vereist, terwijl met de expliciet genoemde tijdslimiet zou worden aangegeven dat de 3GPP2-standaard een tijdelijke verlaging van het zendvermogen zonder aanpassing van de datasnelheid – hetgeen immers leidt tot een hogere foutmarge en dus slechtere kwaliteit – voor de genoemde periode (tot aan de framegrens van het opvolgende frame) accepteert. Daarna zou, indien de ‘unable’-situatie voortduurt, op diezelfde uiterste grens, de datasnelheid van het Reverse Fundamental Channel aangepast moeten worden, of verzending op een van de kanalen moeten worden beëindigd, om aan het kwaliteitsverlies een einde te maken en de ‘unable’-situatie definitief op te lossen. Op die manier zou het mobiele station in staat zijn de ontwikkelingen van de kanaalkwaliteit gedurende langere tijd te monitoren voordat het definitieve (meer drastische) maatregelen neemt om de ‘unable’-situatie te verhelpen.
4.43
Het hof verwerpt dat betoog. Daarvoor is geen enkele aanwijzing te vinden in de 3GPP2-standaard. Integendeel. Daar waar wel wordt geadviseerd om eerst actie te ondernemen op het codekanaal met de laagste prioriteit, ontbreekt enig advies om eerst tijdelijke maatregelen (actie (ii)) te nemen alvorens meer ingrijpende maatregelen (acties (i) of (iii)) te nemen. Dat klemt temeer omdat het wel opgenomen advies betrekkelijk voor de hand ligt, hetgeen niet gezegd kan worden van de door Wiko betoogde volgorde van tijdelijke en definitieve maatregelen die ook nog op verschillende tijdstippen zouden moeten worden genomen.
4.44
Dat de gemiddelde vakman zou aannemen dat in de situatie dat een mobiel station ‘unable’ is, twee onderscheiden tijdslimieten zouden gelden voor het nemen van verschillende acties, niettegenstaande het feit dat deze acties in een en dezelfde passage zijn genoemd en er voor het nemen van al die acties één tijdslimiet is vermeld, kan ook niet worden aangenomen, mede in aanmerking nemend hetgeen hiervoor (zie 4.37 e.v.) reeds is overwogen over het gebrek aan noodzaak om aan de laatste zin het (impliciete) vereiste van het nemen van onmiddellijke actie te verbinden. Dat geldt temeer omdat het niet voor de hand ligt om niet het – verder in de 3GPP2-standaard nergens genoemde – vereiste van onmiddellijke actie in de standaard op te nemen en wel de – uit de geopenbaarde methode voor aanpassing van het zendvermogen op framebasis voortvloeiende – ruimere termijn.
4.45
Voorts is het betoog van Wiko en haar deskundige Camp niet in overeenstemming met de bewoordingen van de bewuste passage op pag. 2-47, dat één van de acties (‘or’ ‘or’ ‘or’) moet wordt ondernomen. Een aanpassing van de datasnelheid op het Reverse Fundamental Channel of beëindiging van het zendvermogen op een of meer kanalen in combinatie met de verlaging van het zendvermogen op een of meer van de genoemde kanalen, zoals door Wiko gesuggereerd, wordt niet genoemd. Aangezien definitieve aanpassing van het zendvermogen (in overeenstemming met de standaard) bij afloop van de tijdslimiet niet meer mogelijk is, komen in de lezing van Wiko bovendien alleen acties (i) en (iii) nog voor uitvoering in aanmerking en zou actie (ii) een uitsluitend tijdelijk toepasbare maatregel zijn. Ook voor dat onderscheid is in de 3GPP2-standaard geen aanwijzing te vinden, zodat niet valt aan te nemen dat de gemiddelde vakman die mogelijkheid in de 3GPP2-standaard zal ‘inlezen’.
4.46
Daarenboven is de lezing van Wiko dat de 3GPP2-standaard de onmiddellijke (slotsgewijze) aanpassing van het datazendvermogen zou voorschrijven in strijd met de op pag. 2-49 geopenbaarde methode voor aanpassing van het individuele zendvermogen op een kanaal en het voorschrift op pag. 2-53 dat de ratio (offset) tijdens een frame dient te worden gehandhaafd.
4.47
Wiko heeft aangevoerd dat de gemiddelde vakman weet dat het zendvermogen van het Reverse Supplemental Channel, in navolging van en gerelateerd aan de aanpassing van het Reverse Pilot Channel, op basis van het closed loop power control schema, ieder slot wordt aangepast. De gemiddelde vakman zou daarom aannemen dat een aanpassing van het Reverse Supplemental Channel in tegenovergestelde richting, zoals voorgeschreven in de passage op pag. 2-47 in de situatie dat het mobiele station ‘unable’ is, eveneens op slotbasis mogelijk – en gelet op het voorschrift in de laatste zin van bedoelde passage – ook bedoeld en vereist is.
4.48
Het hof verwerpt dat standpunt. Onmiddellijke aanpassing van het zendvermogen op (bijvoorbeeld) het Reverse Supplemental Channel – anders dan op basis van closed loop power control schema – is niet in de 3GPP2-standaard geopenbaard en wijkt af van de enige wel in de 3PGG2-standaard geopenbaarde wijze waarop het zendvermogen van een individueel kanaal kan worden aangepast, namelijk door aanpassing van de Relative Gain op framebasis volgens de formule op pag. 2-49. Camp heeft erkend dat een mechanisme voor onmiddellijke aanpassing van het individuele zendvermogen op het Reverse Supplemental Channel niet in de 3GPP2-standaard wordt geopenbaard. Hij stelt echter dat de gemiddelde vakman de noodzaak van implementatie van een ‘adjustment factor’ (volumeknop) voor de Relative Gain, waarmee de aanpassing van het zendvermogen van een individueel kanaal technisch mogelijk gemaakt zou worden, zou inlezen (vgl par. 77, 2e verklaring Camp). Dat standpunt wordt verworpen. Onmiddellijke aanpassing van het zendvermogen leidt immers tot een afwijking van de vastgestelde offset (ratio), hetgeen in strijd is met het voorschrift op pag. 2-53 van de 3GPP2-standaard dat de vastgestelde ratio gedurende een frame dient te worden gehandhaafd, zoals overigens ook bevestigd door Camp in par. 8 van zijn 1e verklaring: “The offset is constant during the transmission of a data packet”. Het kan niet worden aangenomen dat de gemiddelde vakman iets in de 3GPP2-standaard zou inlezen dat daarmee in strijd zou komen. Dat geldt temeer omdat de gemiddelde vakman daarvoor de noodzaak niet zou inzien, nu de beschikbare tijd voldoende is voor het uitvoeren van de verlaging van het zendvermogen op de framegrens in overeenstemming met pag. 2-49 van de standaard, zoals hiervoor in 4.38 is overwogen. Bij het volgen van de daar genoemde procedure wordt de offset aangepast op de framegrens (of indien nodig: de daarop volgende framegrens). Tot die tijd blijft de geldende offset gehandhaafd. De nieuwe offset wordt dan vanaf het volgende (of indien nodig: het daarop volgende) frame weer gehandhaafd, alles in overeenstemming met de voorwaarde van pag. 2-53.
4.49
De stelling van Wiko voorts dat bij onmiddellijke verlaging van het zendvermogen op het Supplemental Channel weliswaar van de vastgestelde offset wordt afgeweken, maar dat dit niet in strijd zou zijn met de 3GPP2-standaard, omdat de passage op pag. 2-47 die afwijking nadrukkelijk zou voorschrijven, kan niet als juist worden aanvaard. Dat standpunt gaat ervan uit dat de laatste zinsnede van die passage een onmiddellijke actie zou vereisen. Zoals hiervoor reeds overwogen is dat echter een onjuiste lezing. De bewuste passage schrijft, als één van de mogelijke acties het verlagen van het zendvermogen op (bijvoorbeeld) het Supplemental Channel voor, hetgeen aanpassing – niet afwijking – van de offset impliceert. Dat moet blijkens de in de 3GPP2-standaard op pag. 2-49 e.v. geopenbaarde methode op een framegrens worden geëffectueerd en de passage op pag. 2-47 biedt ook de daarvoor benodigde tijd.
4.50
Voor de stelling van Wiko dat de regeling op pag. 2-47 voor het geval het mobiele station ‘unable’ is een lex specialis zou zijn, die de lex generalis (“The mobile station shall maitain the ratio”) van pag. 2-53 (tijdelijk) opzij zou mogen zetten, is geen aanwijzing te vinden in de 3GPP2-standaard. De verklaring van Camp dat standaarden zo gelezen worden is niet onderbouwd. Naar het oordeel van het hof zou de gemiddelde vakman – tegen de achtergrond van de betekenis die volgens de 3GPP2-standaard moet worden gehecht aan gebruik van ‘shall’: ““Shall” and “shall not” identify requirements to be followed strictly to conform to the standard and from which no deviation is permitted.” (pag. x1) – hebben verwacht dat de mogelijkheid van het tijdelijk buiten werking stellen van een dwingend voorschrift in de standaard expliciet was genoemd. Bij gebreke daarvan zou hij er daarom niet zomaar van uitgaan dat die mogelijkheid er was.
4.51
In de omstandigheid dat op pag. 2-46 van de 3GPP2-standaard is voorgeschreven dat de power control bits per slot moeten worden opgevolgd, is ook geen aanwijzing gelegen voor de lezing dat aan het vereiste van de laatste zin eveneens per slot moet zijn voldaan. Het voorschrift op pag. 2-46 ziet op het geval dat het mobiele station niet ‘unable’ is. In die situatie bestaat voor het opvolgen van een power control command in het opvolgende slot geen enkele belemmering. In het geval dat het mobiele station wél ‘unable’ is aan een power control command te voldoen gelden er andere instructies, namelijk die beschreven in de bewuste passage op pag. 2-47, met de daarbij behorende – in diezelfde passage gestelde – tijdslimiet om die acties te kunnen uitvoeren. Anders dan Wiko suggereert wordt het voorschrift op pag. 2-46 “the mobile station shall adjust its mean output power level in response to each valid power control bit” waaruit een aanpassing per slot voortvloeit, juist níet herhaald in de laatste zin van de bewuste passage op pag. 2-47 en de gemiddelde vakman ziet daarin daarom ook niet een terugverwijzing naar dat voorschrift op pag. 2-46. Daarom bestaat er voor de gemiddelde vakman ook geen aanleiding om de laatste zin van die passage te beschouwen als vallend buiten de gestelde tijdslimiet en daarin, niettegenstaande de in dezelfde passage opgenomen afwijkende tijdslimiet, de noodzaak van slotsgewijze aanpassing in te lezen. Dat de tijdslimiet verwijst naar ‘this action’ en aanpassing van het zendvermogen op het Reverse Pilot Channel daartoe niet behoort, betekent nog niet dat daarvoor een andere tijdslimiet zou moeten gelden, zoals Wiko heeft betoogd.
4.52
De passage op pag. 2-34 “The mobile station shall not exceed the maximum specified power levels under any circumstances” leidt er ook niet toe dat de gemiddelde vakman – niettegenstaande de in de passage op pag. 2-47 opgenomen ruimere tijdslimiet – toch zou veronderstellen dat onmiddellijk actie moet worden genomen indien en zodra het mobiele station ‘unable’ is. Zoals hiervoor reeds overwogen ziet deze op pag. 2-34 genoemde grens volgens Wiko op een ‘regulatory limit’, een wettelijk maximum. Wiko heeft niet gesteld, laat staan onderbouwd, dat en waarom de gemiddelde vakman zou aannemen dat die verband zou houden met en/of gelijk zou zijn aan het fysieke maximale zendvermogen. Integendeel, Wiko beschouwt de op pag. 2-34 genoemde limiet als een mogelijke reden waarom het mobiele station ‘unable’ kan zijn, naast en los van de fysieke beperking van het mobiele station (zie par. 146-148 MvA). Ook door het verschillende woordgebruik van beide passages (‘maximum specified power levels’ en ‘unable to transmit’) zou de gemiddelde vakman niet veronderstellen dat deze grenzen noodzakelijkerwijs dezelfde zijn.
4.53
Het hof is met Philips van oordeel dat uit de woorden ‘unable to transmit’ niet direct en ondubbelzinnig volgt dat daarmee een niet-overschrijdbare maximumgrens wordt bedoeld. De 3GPP2-standaard laat de (implementatie-)ruimte om het mobiele station zo in te richten dat de drempelwaarde wordt ingesteld onder de niet-overschrijdbare fysieke grens voor het datazendvermogen van het mobiele station. Daarmee wordt derhalve ruimte (door Philips en haar deskundigen aangeduid als ‘headroom’) gecreëerd voor het tijdelijk – binnen het frame – nog wel laten stijgen van het datazendvermogen boven die ingestelde drempelwaarde (tot aan het werkelijke fysieke maximum), totdat op een framegrens een van de voorgeschreven acties kan worden ondernomen. Daarmee kunnen (in elk geval tot aan het fysieke maximum, waarna alsnog kan worden geclipt (zie 4.57 hierna), dan wel de verzending gestaakt) de power commands opgevolgd blijven worden.
4.54
Ten slotte sluit de lezing van Wiko niet aan bij het feit dat aanpassing van de datasnelheid op het Reverse Fundamental Channel is genoemd als een van de mogelijke acties om de situatie dat het mobiele station ‘unable’ is op te lossen. Daarvan staat vast dat die niet eerder kan worden uitgevoerd dan op de eerstvolgende frame boundary. Indien de laatste zin van de bewuste passage op pag. 2-47 zo uitgelegd zou moeten worden dat onmiddellijke actie vereist is, dan is het noemen van die mogelijke actie, die niet onmiddellijk uitgevoerd kán worden, zinledig. Wiko’s standpunt dat die actie wel genomen kan worden als het mobiele station toevallig op de framegrens ‘unable’ wordt, doet daaraan niet af. Het is niet realistisch te veronderstellen dat actie (i) alleen is opgenomen voor die specifieke, beperkte aantal, gevallen.
4.55
Wiko heeft betoogd dat de door Philips voorgestane lezing van de passage op pag. 2-47 van de 3GPP2-Standaard – namelijk dat verlaging van het zendvermogen moet worden gerealiseerd door verlaging van de datasnelheid op de framegrens – niet juist kan zijn, omdat de datasnelheid van het Reverse Dedicated Control Channel niet aangepast kan worden. Daarmee miskent Wiko dat het zendvermogen van dat kanaal kan worden verlaagd door de datasnelheid te verlagen naar nul. Deze mogelijkheid – ook wel aangeduid als ‘DTX-en’ – is in de 3GPPs-standaard voorzien en vindt eveneens plaats op de eerstvolgende framegrens, zoal Philips onbestreden heeft aangevoerd.
4.56
Naar het oordeel van het hof zou de gemiddelde vakman er om al de hiervoor genoemde redenen van uitgaan dat voor het voldoen aan de gestelde voorwaarde die is opgenomen in de laatste zin van dezelfde passage op pag. 2-47, dat “The mobile station shall transmit at the commanded output power level on the Reverse Pilot Channel”, dezelfde tijdslimiet geldt als voor het uitvoeren van een van de voorgeschreven acties. Met andere woorden: indien en zodra een of meer van de mogelijke acties is ondernomen, moet het zendvermogen op het Reverse Pilot Channel in overeenstemming zijn met de ontvangen power control commando’s. Anders dan Wiko heeft betoogd en de rechtbank heeft geoordeeld, impliceert deze laatste zin naar het oordeel van het hof derhalve niet dat onmiddellijke actie is vereist.
4.57
De omstandigheid dat de ruime tijdslimiet tot en met de opvolgende framegrens met zich brengt dat vanaf het moment dat het mobiele station ‘unable’ is, totdat een van de acties is ondernomen (op de frame boundary van het huidige of opvolgende frame), de power control commands niet kunnen worden opgevolgd – in elk geval indien sprake is van een ‘harde’ grens, bijvoorbeeld omdat het fysieke maximale zendvermogen van het mobiele station is bereikt – maakt niet dat de gemiddelde vakman toch van de door Wiko voorgestane lezing van de standaard zou uitgaan. Naar Philips heeft gesteld, en Wiko onvoldoende gemotiveerd heeft bestreden, behoorde op de prioriteitsdatum tot de algemene vakkennis van de gemiddelde vakman dat dit probleem van het niet verder kunnen verhogen van het zendvermogen bij verslechterende kanaalkwaliteit, in de stand van de techniek werd opgelost door het tijdelijk niet opvolgen van de power control commands. Dit wordt ook wel aangeduid als ‘clipping’. Vojcic heeft erop gewezen dat clipping ‘a well known and widely recognised mechanism’ was, dat ook werd toegepast in de voor de prioriteitsdatum gepubliceerde UMTS-standaard die – ook volgens Wiko – tot de algemene vakkennis van de gemiddelde vakman behoorde. Ook in andere door Wiko aangehaalde stand van de techniek, zoals US 214 en Wireless Communications (zie 4.87 hierna) wordt clipping toegepast. Bij clipping blijft de offset in stand, alleen het zendvermogen wordt niet verder verhoogd en op het toegestane (of fysiek mogelijke) maximum gehandhaafd, totdat een van de mogelijke acties is ondernomen. Het standpunt van Wiko ter zitting dat clipping in strijd zou zijn met de ratio van de offset, omdat kanalen dan niet meer op het juiste vermogen worden verzonden, gaat uit van een onjuiste opvatting over het doel en belang van de offset. Daarmee wordt immers het relatieve zendvermogen van de verschillende kanalen ten opzichte van het pilootkanaal vastgesteld om te komen tot een optimale toedeling van een bepaald deel van het totale beschikbare vermogen aan elk van de kanalen.
4.58
Het is juist, zoals Wiko heeft opgemerkt, dat in geval van clipping wordt afgeweken van het closed loop power control schema, omdat de power control commands tijdelijk niet worden opgevolgd. Gelet op hetgeen hiervoor in 4.56 is overwogen leidt dat evenwel, anders dan Wiko stelt, niet tot strijd met de bewoordingen van de 3GPP2-standaard, in het bijzonder niet het vereiste dat de Reverse Pilot Channel vermogensbestuurd blijft. Die eis geldt immers nádat een van de voorgeschreven acties is ondernomen, waarna ook geen clipping meer plaatsvindt. Om diezelfde reden is er geen strijd met de in 2-47 limitatief genoemde acties die in een ‘unable’-situatie ondernomen kunnen worden en de prioritering daarbij. Clipping is immers geen extra actie, maar alleen een tijdelijke maatregel die genomen kan worden totdat één van de voorgeschreven acties is voltooid.Door clipping toe te passen wordt ook niet achter de feiten aangelopen, maar zal het zendvermogen van het Reverse Pilot Channel zich, nadat een van de vereiste acties is ondernomen, op een niveau bevinden dat in overeenstemming is met (onder meer) de kanaalkwaliteit op dat moment. Immers, zoals Camp ter zitting heeft verklaard, worden de niet-uitgevoerde power control commando’s door het mobiele station opgeslagen, waardoor het in staat is in overeenstemming met de 3GPP2-standaard zodanige maatregelen te nemen dat het Reverse Pilot Channel nadat een van de voorgeschreven acties is ondernomen op het (per saldo) ‘commanded output power level’ wordt uitgezonden.
4.59
Het door Camp ter zitting nog genoemde bezwaar van clipping dat het basisstation niet weet op welk niveau door het mobiele station wordt uitgezonden, omdat het er van uitgaat dat de power control commands worden opgevolgd, doet zich derhalve slechts tijdelijk voor. In de door Wiko aangehaalde stand van de techniek wordt van dit gestelde nadeel geen melding gemaakt, zodat zonder verdere onderbouwing ook niet is aan te nemen dat dit in de praktijk ook daadwerkelijk tot zodanige problemen aanleiding gaf dat de gemiddelde vakman er vanuit zou gaan dat clipping gedurende de gestelde tijdslimiet niet zou kunnen worden toegepast. Het probleem doet zich overigens ook voor in de door Wiko voorgestane lezing van de 3GPP2-standaard, waarbij het zendvermogen van een individueel kanaal immers zonder ‘overleg’ met het basisstation wordt verlaagd en het zendvermogen van het pilootkanaal daarvoor dus niet meer indicatief is. Daarenboven kan de toepassing van clipping nog worden voorkomen of beperkt door de drempelwaarde in het mobiele station in te stellen beneden de niet-overschrijdbare fysieke grens voor het datazendvermogen van het mobiele station, waardoor ook na het bereiken van de drempelwaarde ruimte is voor enige stijging van het datazendvermogen binnen het frame.
4.60
In zijn tweede verklaring (par. 30) heeft Camp erop gewezen dat het Reverse Pilot Channel, naast het meten van de signaalsterkte, ook gebruikt wordt voor het goed kunnen interpreteren van de op andere kanalen verzonden data, door hem aangeduid als ‘coherent detection’. Dat zou er volgens hem op wijzen dat clipping niet is bedoeld. Het moge zo zijn dat de Reverse Pilot Channel ook wordt gebruikt voor coherent demodulation (zie 2.24 hiervoor), maar enige onderbouwing waarom het tijdelijk niet verhogen van alle kanalen (clipping) in dat opzicht nadeliger zou zijn dan het weliswaar op het juiste niveau houden van het Reverse Pilot Channel maar met onmiddellijke verlaging van het zendvermogen op een datakanaal – met het daarbij behorende kwaliteitsverlies omdat de datasnelheid daarop niet is aangepast – ontbreekt, zodat aan deze door Philips weersproken stelling voorbij wordt gegaan.
4.61
Op grond van al het voorgaande is het hof van oordeel dat niet kan worden aangenomen dat de 3GPP2-standaard openbaart dat verlaging van het zendvermogen plaatsvindt binnen een frame (‘the predetermined time period’) onder het tijdelijk loslaten van de geldend offset, zoals Wiko heeft betoogd. Daaruit volgt dat in die standaard een daarop volgende verhoging van het zendvermogen evenmin binnen dat tijdsbestek kan plaatsvinden.
4.62
Overigens moet ook het standpunt van Wiko, dat de 3GPP2-standaard zou openbaren dat het zendvermogen van het Reverse Supplemental Channel wordt verhoogd bij verbetering van de kanaalkwaliteit, worden afgewezen. Zij hangt dat, zoals hiervoor opgemerkt (zie 4.16), op aan de voorwaarde op pag. 2-53 dat de vastgestelde ratio moet worden gehandhaafd. Anders dan Wiko meent zal de gemiddelde vakman die ratio evenwel niet zien als een ‘default’ ratio waarnaar, na afwijking ervan, weer moet worden teruggekeerd, maar als een variabele. Zoals hiervoor overwogen zal de situatie dat het mobiele station ‘unable’ is leiden tot een nieuwe ratio, die vervolgens in het daarop volgende frame weer wordt gehandhaafd en ook, afhankelijk van de omstandigheden, op een framegrens weer kan worden aangepast. Voor het terugkeren naar de vorige ratio bestaat derhalve geen noodzaak.
4.63
Ten slotte, ook indien aangenomen zou moeten worden dat de gemiddelde vakman de lezing van Wiko voor mogelijk houdt, dan geldt in elk geval dat hij de lezing van Philips zeker ook mogelijk (of anders gezegd: een realistisch alternatief) acht. Aldus kan in elk geval niet geoordeeld worden dat de lezing van Wiko de enig mogelijke lezing van de standaard is. Ook om die reden is niet voldaan aan het criterium dat alle kenmerken van conclusie 1 van het tweede hulpverzoek in de 3GPP2-standaard ‘direct en ondubbelzinnig’ worden geopenbaard.
4.64
De slotsom is dat het hof de 3GPP2-standaard niet nieuwheidsschadelijk acht voor conclusie 1 van het tweede hulpverzoek. Daaruit volgt dat de volgconclusies van dat hulpverzoek evenmin door de 3GPP2-standaard zijn geanticipeerd.
(i)(b) Rulnick
4.65
Rulnick beschrijft een theoretisch model voor de vermogensbesturing van een mobiel station, waarmee wordt beoogd dat bij een bepaalde interferentiewaarde (i) met een transmissievermogen (p) wordt verzonden dat optimaal is, gelet op een zo laag mogelijk energieverbruik en de correcte ontvangst van de verzonden gegevens conform een vooraf vastgestelde streefwaarde (de target transmission rate r). Het mobiele station berekent de waarde van het optimale transmissievermogen op basis van de interferentiewaarden die het van de basisstation ontvangt, aan de hand van twee vergelijkingen, waarvan de eerste

het minimale transmissievermogen (en dus minimale energieverbruik) bepaalt aan de hand van de ontvangen interferentiewaarde i.
De tweede vergelijking

heeft betrekking op de target transmission rate r, de streefwaarde voor de correcte ontvangst van de gegevens. Bij r=0,25 dienen 25% van de verzonden gegevens correct te worden ontvangen, bij r=0,99 is dat 99%. Met deze vergelijking wordt vastgesteld of met de waarde p(i) uit de eerste vergelijking de beoogde target transmission rate r kan worden behaald.
4.66
Indien aan beide vergelijkingen is voldaan wordt met de waarde p(i) de doelstelling van Rulnick bereikt: een minimaal transmissievermogen waarmee de streefwaarde voor de correcte ontvangst wordt bereikt. Het besturingsschema dat (alleen) wordt vastgesteld aan de hand van deze twee vergelijkingen wordt in Rulnick aangeduid als het optimale unrestricted vermogensbesturingsschema. Rulnick beschrijft nog verdere vermogensbesturingsschema’s, waarbij aan additionele vergelijkingen moet worden voldaan.
4.67
Wiko stelt zich op het standpunt dat conclusie 1 van het tweede (en derde) hulpverzoek wordt geanticipeerd door het optimale unrestricted vermogensbesturingsschema, dat is getoond in figuren 3 en 5 van Rulnick, in de hieronder weergegeven figuur 5 rood gemarkeerd. Na stijging van het zendvermogen bij stijgende interferentiewaarde is er een omslagpunt waarna het zendvermogen daalt bij verdere stijging van de interferentiewaarde.



Figuur 5 toont de situatie bij r = 0,25, dus waarbij de nagestreefde correcte ontvangst van de gegevens 25% bedraagt. Het hof merkt volledigheidshalve op dat de op het ‘constant-SIR w/threshold’ vermogensbesturingsschema gebaseerde aanval van Wiko niet ziet op het tweede hulpverzoek, zodat die verder onbesproken kan blijven.
4.68
Het hof is met Philips van oordeel dat conclusie 1 van het tweede hulpverzoek niet direct en ondubbelzinnig door Rulnick wordt geopenbaard.
4.69
In het model van Rulnick wordt het optimale transmissievermogen p(i) voor elk bit afzonderlijk bepaald. Ook de target transmission rate (r) wordt berekend aan de hand van het aantal correct ontvangen afzonderlijke bits. Rulnick openbaart derhalve geen framestructuur en dus geen ‘data block comprising information symbols and parity check symbols’ die in een ‘predetermined time period’ over een kanaal worden verzonden, zoals vereist door conclusie 1. Uit het ontbreken van een framestructuur vloeit tevens voort dat geen sprake is van de toepassing van een eerste en een tweede criterium ‘within the predetermined time period’.
4.70
Het feit dat in de abstract van Rulnick is vermeld dat de in Rulnick ontwikkelde vermogensbesturingsschema’s worden vergeleken met de bestaande schema’s in FDMA/TDMA en CDMA, maakt niet dat de gemiddelde vakman in het model van Rulnick een framestructuur zou ‘inlezen’. In Rulnick is niet geopenbaard – en Wiko heeft niet voldoende onderbouwd dat de gemiddelde vakman op grond van zijn algemene vakkennis zou begrijpen – dat en hoe het optimale unrestricted vermogensbesturingsschema zou kunnen worden geïmplemeteerd in systemen die een framestructuur gebruiken, en welke gevolgen dat zou hebben voor de berekening van het transmissievermogen; de vergelijkingen (1) en (2) zijn immers gebaseerd op individuele bits en niet op datablokken die (zoals conclusie 1 ook vereist) bestaan uit informatiesymbolen en foutcorrectie-symbolen. Daarbij is van belang dat de succesvolle ontvangst van een frame afhangt van de bits die gezamenlijk in een frame zijn ondergebracht en de foutcorrectie die op dat frame wordt toegepast. Als niet alle bits correct worden ontvangen kan toch het frame als geheel goed aankomen, terwijl omgekeerd ook bij de goede ontvangst van een groot deel van de bits het hele frame verloren kan gaan. Daaruit volgt dat de in Rulnick gehanteerde ‘bit error rate’ niet op één lijn is te stellen met de ‘error rate’ die in de tot de stand van de techniek behorende CDMA-systemen wordt gebruikt om het zendvermogen in relatie tot de datasnelheid vast te stellen. Het is derhalve geenszins evident dat en hoe het op de verzending van individuele bits gebaseerde model uit Rulnick kan worden gebruikt voor de berekening van het datazendvermogen dat nodig is voor de verzending van datablokken met pariteitschecksymbolen, waarbij wordt voldaan aan een bepaalde target transmission rate. Wiko heeft niet voldoende onderbouwd gesteld op grond waarvan dat voor de gemiddelde vakman duidelijk zou zijn. Aan de eerst ter zitting ingenomen stelling dat er een wiskundige relatie zou bestaan tussen bit error rate en frame error rate en het ter zake gedane bewijsaanbod wordt voorbij gegaan. Ook als die wiskundige relatie zou bestaan is daarmee immers nog steeds niet inzichtelijk wat de gevolgen daarvan zijn voor de vaststelling van het zendvermogen. Gelet op dat alles ontbreekt voor Wiko’s veronderstelling, dat de in figuren 3 en 5 getoonde curves (waarop Wiko de toepassing van een eerste en tweede criterium baseert) hetzelfde zouden zijn bij toepassing van een framestructuur, evenzeer voldoende onderbouwing. Dat geldt temeer omdat uit Rulnick zelf volgt dat de gehanteerde target transmission rate wezenlijk van invloed is op het benodigde datazendvermogen. De hieronder weergegeven figuur 6 van Rulnick toont de situatie bij een target transmission rate r van 0,99, dus voor een beoogde correcte ontvangst van 99% van de gegevens. Deze curve wijkt wezenlijk af van die van figuur 5, waar een target transmission rate van 0,25 is gehanteerd. Bij een toenemende interferentie neemt het vermogen ook toe.

4.71
Gegeven het feit dat ‘bit error rate’ niet op één lijn is te stellen met de uit de stand van techniek bekende ‘frame error rate’ en de invloed van de target transmission rate op de vaststelling van het datazendvermogen, en daarmee de onzekerheid over de mogelijkheid en invloed van toepassing van het systeem van Rulnick binnen een framestructuur, kan naar het oordeel van het hof niet worden aangenomen dat in het door Rulnick beschreven model een framestructuur en het gebruik van datablokken impliciet zou zijn geopenbaard. Voor het standpunt van Wiko ter zitting dat de gemiddelde vakman Rulnick zou implementeren in de veronderstelling dat de in Rulnick geopenbaarde vermogensbesturing per bit één op één toepasbaar zou zijn bij toepassing van een framestructuur (die je er volgens Wiko ‘overheen kan leggen’) en dat de curves dan hetzelfde zouden blijven, ontbreekt gelet op het voorgaande evenzeer voldoende onderbouwing.
4.72
Daarenboven openbaart Rulnick niet dat er eerste en tweede criteria zijn aan de hand waarvan voor het vaststellen van het datazendvermogen tijdelijk wordt afgeweken van het het conventionele schema (dat wordt gevolgd wanneer niet aan die criteria is voldaan en waarbij het transmissievermogen wordt verhoogd bij lagere kanaalkwaliteit en verlaagd bij een hogere kanaalkwaliteit) door juist tegenovergestelde aanpassingen door te voeren. In het door Rulnick ontwikkelde optimale ‘unrestricted’ vermogensbesturingsschema wordt het zendvermogen immers altijd en op dezelfde wijze berekend aan de hand van de vergelijkingen (1) en (2) die hiervoor zijn weergegeven. Drempelwaarden maken geen onderdeel uit van die vergelijkingen.
4.73
Wiko leidt de toepassing van een eerste en een tweede criterium af uit de in figuren 3 en 5 getoonde curves. Daarin kan zij niet worden gevolgd. In de eerste plaats tonen die curves het zendvermogen bij een r tussen 0,1 en 0,5 respectievelijk van 0,25, hetgeen naar de gemiddelde vakman weet voor in de praktijk toegepaste systemen zoals de 3GPP2-standaard en de UMTS-standaard onaanvaardbaar lage waarden zijn. Dat het octrooi ook een uitvoeringsvoorbeeld beschrijft met een beperkt aantal parity check symbols (figuur 5C en paragraaf 39 van de beschrijving) en dat dit de target transmission rate negatief zou beïnvloeden doet daaraan niet af. Het gaat er immers om hoe de gemiddelde vakman Rulnick zou lezen en daarvoor is het octrooi dat niet tot de stand van de techniek behoorde niet relevant. De gemiddelde vakman zou geen acht slaan op figuren 3 en 5 en figuur 6 tot uitgangspunt nemen. Het unrestricted vermogensbesturingsschema laat daarin alleen een stijgend transmissievermogen zien bij een stijgend interferentieniveau. Voorts zijn de in de figuren getoonde curves gebaseerd op een sequentie van afzonderlijke bits en niet op de verzending van datablokken in frames. Voor zover de gemiddelde vakman al acht zou slaan op de in figuren 3 en 5 getoonde curves, blijkt nergens uit Rulnick dat de momenten waarop een stijging van het datazendvermogen wordt omgezet in een daling en vice versa, zijn ingegeven door voldoening aan bepaalde criteria. Zoals hiervoor opgemerkt wordt het datazendvermogen altijd en op dezelfde wijze berekend aan de hand van de vergelijkingen (1) en (2) waarvan drempelwaarden geen onderdeel uitmaken. Uit de figuur opgenomen in par. 72 AMnC en de PA kunnen geen conclusies worden verbonden. Deze figuur is niet in Rulnick opgenomen, maar door Wiko opgesteld ‘als voorbeeld’ zonder dat inzichtelijk is gemaakt op welke gegevens en welke berekeningen deze is gebaseerd. Van een directe en ondubbelzinnige openbaring van de materie van conclusie 1 in Rulnick is daarom geen sprake.
4.74
Zoals in Rulnick vermeld (pag. 13, onder “Conclusion and future directions”) wordt de conventionele vermogensbesturingsschema door Rulnick expliciet niet gehanteerd en wordt daarentegen (“by contrast”) juist gekozen voor (variaties in) interferentiewaarde voor het vaststellen van het datazendvermogen.
“We have attempted to illustrate the potential benefits of low-power, rate- or delay-constrained operation. By contrast, conventional power control, because of its use of received SIRs and power levels (and ultimately network capacity) as performance measures, did not consider this way of exploiting fluctuations in interference to save energy. (…) The kind of power management introduced here explicitly capitalizes on variations in interference power, behaving (like carrier-sense multiple access (CSMA)) as an enhanced "listen-first" kind of protocol.”
Naar het oordeel van het hof zou de gemiddelde vakman in het licht van deze passage –waarin de potentiële voordelen van het door Rulnick ontwikkelde systeem worden afgezet tegen de beperkingen van het conventionele vermogensbesturingssysteem (“did not consider this way of exploiting fluctuations in interference”) – vermogensbesturing aan de hand van interferentiewaarden zeker niet beschouwen als gelijk aan de vaststelling van het datazendvermogen aan de hand van de gemeten kanaalkwaliteit in het conventionele vermogensbesturingsschema, zoals Wiko heeft betoogd.
4.75
Het voorgaande leidt tot de slotsom dat conclusie 1 niet direct en ondubbelzinnig wordt geopenbaard door Rulnick. Daaruit volgt dat de daarvan afhankelijke conclusies evenzeer nieuw zijn te achten.
(i)(c) US 214
4.76
US 214 openbaart een vermogensbesturingsschema dat geheel tegenovergesteld is aan het conventionele besturingsschema. US 214 schrijft voor dat steeds het datazendvermogen wordt verlaagd bij een verslechtering van de kanaalkwaliteit en wordt verhoogd bij een verbetering van de kanaalkwaliteit. Het standpunt van Wiko is dat dit overeenkomt met de maatregelen van conclusie 1, omdat daarin ook wordt voorzien in verlaging van het datazendvermogen in reactie op een indicatie van verslechtering van de kanaalkwaliteit en verhoging van het datazendvermogen in reactie op een indicatie van verbetering van de kanaalkwaliteit. Daarbij gaat Wiko evenwel uit van een te beperkte lezing van de conclusies van het octrooi. Zoals hiervoor (zie 4.4 e.v.) reeds overwogen heeft de uitvinding van het octrooi betrekking op een tijdelijke uitzondering op het conventionele vermogensbesturingsschema, die door het mobiele station wordt toegepast. US 214 gaat niet uit van het gebruik van het conventionele vermogensbesturingsprogramma, noch wordt een tijdelijke uitzondering aan de hand van twee criteria geopenbaard, op basis waarvan het mobiele station een tegenovergestelde actie uitvoert dan waartoe het door het basisstation wordt geïnstrueerd.
4.77
Zoals reeds overwogen voorziet die tijdelijke uitzondering in de oplossing van het probleem van het gebruik van een excessief hoog zendvermogen door het mobiele station. In US 214 wordt alleen voorzien in een maximering van het datazendvermogen, niet in een tijdelijke verlaging aan de hand van een eerste criterium (met daaropvolgende verhoging aan de hand van een tweede criterium).
4.78
Voorts bepaalt volgens US 214 het basisstation welk commando wordt verstuurd en wordt dat altijd op dezelfde wijze door het mobiele station opgevolgd. In US 214 is derhalve ook niet geopenbaard dat het mobiele station beschikt over regelmiddelen die het in staat stellen zelfstandig te beoordelen of het zendvermogen na ontvangst van een TPC commando volgens het ‘normale’ vermogensbesturingsschema dient te worden aangepast, dan wel (bij toepassing van een eerste respectievelijk tweede criterium, wat door het mobiele station wordt vastgesteld) in afwijking daarvan juist tegenovergesteld moet worden aangepast.
4.79
Het standpunt van Wiko dat de conclusies van het octrooi betrekking hebben op een radiostation en daarom niet zijn beperkt tot een mobiel station is op zich juist, maar leidt niet tot een ander oordeel. Conclusie 1 heeft betrekking op een radiostation met zendmiddelen voor het over een kanaal verzenden van data, die is voorzien van regelmiddelen waarmee kan worden vastgesteld of het eerste respectievelijke tweede criterium zich voordoet. Als dat zich voordoet, dan is het ook die verzender van het signaal die in reactie daarop het zendvermogen – tegengesteld aan het ontvangen commando – verlaagt respectievelijk verhoogt. Indien sprake is van verzending van data via het uplink kanaal is de verzender het mobiele station en de ontvanger het basisstation. Bij verzending van data via het downlink kanaal is dat andersom. De gemiddelde vakman zal uit de beschrijving van het octrooi begrijpen dat het steeds de verzender van data is die toetst of aan het eerste of tweede criterium is voldaan, aan de hand van de volgens het conventionele schema door de ontvanger van die data verzonden commando, dan wel (in een andere uitvoeringsvorm) door eigen meting (zie 4.6 hiervoor). US 214 betreft vermogensbesturing van het uplink kanaal, waarbij het mobiele station derhalve de verzender is. Anders dan bij het octrooi is het in US 214 niet het mobiele station (de verzender) maar het basisstation (de ontvanger) dat vaststelt of het zendvermogen moet worden verhoogd of verlaagd en wordt het commando opgevolgd door het mobiele station zonder toetsing aan enig criterium. Ook indien en voor zover US 214 tevens zou zien op vermogensbesturing van een downlink kanaal, blijft het de ontvanger die de vermogensbesuringscommado’s genereert en de verzender die deze opvolgt.
4.80
De maatregelen van conclusie 1 worden door US 214 derhalve niet direct en ondubbelzinnig geopenbaard.
(i)(d) het Philips-Voorstel
4.81
Het Philips-Voorstel heeft betrekking op de (herziening van de) vermogensbesturing van het zendvermogen van de uplink-kanalen. Hierin is het volgende opgenomen:

Anders dan Wiko aanvoert wordt hiermee niet de uitvinding volgens het octrooi geopenbaard. In deze passage wordt voorgeschreven dat als het totale zendvermogen op de code- en datakanalen het maximum zendvermogen dreigen te overschrijden, de verhoging van het totale zendvermogen (dus het vermogen op de code- en datakanalen) zal worden gemaximeerd (en niet verlaagd) tot die limiet. Hierin wordt derhalve de toepassing van het in de stand van de techniek bekende clipping mechanisme geopenbaard. Er is geen sprake van verlaging of verhoging van het zendvermogen van het datakanaal bij toepassing van een eerste respectievelijk tweede criterium, evenmin van voortzetting van vermogensbestuurde verzending op lager vermogensniveau in de tussengelegen tijd.
4.82
Naar het oordeel van het hof kan ook het Philips-Voorstel daarom niet de nieuwheid van conclusie 1 van het octrooi wegnemen.
inventiviteit
(ii)(a) de 3GPP2-standaard
4.83
In haar eerste inventiviteitsaanval uitgaande van de 3GPP2-standaard gaat Wiko ervan uit dat de 3GPP2-standaard wel een verlaging van het zendvermogen (na ontvangst van een TPC-up commando die tot overschrijding van een limiet zou leiden) binnen de vooraf vastgestelde periode openbaart. Zoals volgt uit hiervoor is overwogen kan die lezing niet als juist worden aanvaard. Naar het oordeel van het hof vindt de verlaging van het zendvermogen bij toepassing van de 3GPP2-standaard niet eerder plaats dan op de framegrens en dus niet binnen de vooraf vastgestelde tijdsperiode. Daaruit volgt reeds dat deze inventiviteitsaanval niet kan slagen. Het is immers niet mogelijk, en mede in aanmerking nemend hetgeen hierna (in 4.84-4.94) wordt overwogen, ook niet voor de hand liggend dat het datazendvermogen vervolgens weer binnen datzelfde frame wordt verhoogd.
4.84
Ook de inventiviteitsaanval uitgaande van de (juiste) lezing van de 3GPP2-standaard wordt verworpen. Het hof overweegt daartoe als volgt.
4.85
Tussen partijen is niet in geschil dat, uitgaande van de door Philips verdedigde – en door het hof als juist aanvaarde – lezing van de 3GPP2-staandaard, de verschilmaatregelen tussen de 3GPP2-standaard en het octrooi zijn: (1) dat het mobiele station binnen de ‘predetermined time period’ het datazendvermogen verlaagt bij ontvangst van een TPC-up commando dat bij opvolging tot overschrijding van een bepaalde drempelwaarde zou leiden ; (2) dat het mobiele station het datazendvermogen verhoogt als aan een tweede criterium voor verhoging van het datazendvermogen is voldaan en (3) dat die verhoging eveneens plaatsvindt binnen diezelfde ‘predetermined time period’.
4.86
Het technisch effect van deze verschilmaatregelen is volgens Philips dat een verbeterd vermogensbesturingssysteem wordt verkregen, waarin het mobiele station in staat is om direct en zelfstandig te reageren op fluctuaties in kanaalkwaliteit en te voorkomen dat de dataverzending onnodig lang plaatsvindt op een te hoog of een te laag vermogensniveau. Philips heeft het daaruit af te leiden objectieve technische probleem als volgt geformuleerd: “het verschaffen van een vermogensbesturingssysteem waarin op verbeterde wijze wordt voorkomen dat een mobiel station met een excessief transmissievermogen verzendt.”. Ook Wiko neemt deze probleemstelling tot uitgangspunt. Het hof gaat daar daarom eveneens van uit.
(ii)(a)(i) gecombineerd met algemene vakkennis
4.87
Wiko heeft onbestreden aangevoerd dat hetgeen is geopenbaard in het handboek ‘Wireless Communications in the 21th Century’ uit 2002 (hierna: Wireless Communications) tot de algemene vakkennis van de gemiddelde vakman behoorde. Daarin is onder meer het navolgende opgenomen:

en voorts:

4.88
Niet in geschil is dat met deze formules vermogensbesturingsschema’s worden beschreven. De eerste daarvan beschrijft een clipping-mechanisme. In het tweede schema wordt het zendvermogen altijd verhoogd als de kanaalkwaliteit beter wordt en altijd verlaagd als de kanaalkwaliteit verslechtert. Gelet op hetgeen hierna wordt overwogen kan in het midden blijven (de relevantie van de vraag) of de in Wireless Communications beschreven vermogensbesturingsschema’s een conventioneel vermogensbesturingssyteem met TPC-commando’s openbaren, zoals Wiko stelt en Philips heeft bestreden.
4.89
Het standpunt van Wiko is dat de gemiddelde vakman weet dat het soms beter is om niet het conventionele besturingsschema te volgen en te aanvaarden dat de kans dat verzonden data goed worden ontvangen afneemt, of om zelfs helemaal niets te verzenden. Daarmee ligt het volgens Wiko voor de hand om ook in de 3GPP2-standaard even te stoppen met zenden zo lang de kanaalkwaliteit te slecht is en de verzending weer op te pakken als de kanaalkwaliteit verbetert (par. 194 AMnC). Aangezien het octrooi de maatregelen van het staken van de verzending en het voortzetten van de verzending met een lager zendvermogen als twee gelijkwaardige alternatieven beschrijft, ligt de maatregel van het verzenden met een lager zendvermogen volgens het tweede hulpverzoek evenzeer binnen het bereik van de gemiddelde vakman, zo begrijpt het hof het standpunt van Wiko.
4.90
Anders dan Wiko stelt, is de uitvindingsgedachte van het octrooi niet gelegen in de enkele maatregel dat het zendvermogen wordt gestaakt of verlaagd als de kanaalkwaliteit slechter is dan een bepaalde grenswaarde en dat het zendvermogen wordt hervat of verhoogd als de kanaalkwaliteit weer boven een bepaalde grenswaarde uitstijgt. Wat het octrooi onderscheidt van de 3GPP2-standaard en de overige stand van de techniek is dat met regelmiddelen in het mobiele station, in afwijking van het overigens gehanteerde conventionele vermogensbesturingsschema, met gebruikmaking van de gebruikelijke kwaliteitsindicaties, het datazendvermogen tijdelijk kan worden aangepast binnen zo’n kort tijdsbestek dat het mogelijk is binnen een frame adequaat te reageren wanneer het datazendvermogen ten gevolge van een dalende kanaalkwaliteit een vooraf bepaalde limiet dreigt te overschrijden en de kanaalkwaliteit daarna weer boven een bepaald niveau uitstijgt.
4.91
Naar Wiko wel terecht aanvoert behoorde het inzicht dat er een grens is aan de effectiviteit van het verhogen van het datazendvermogen bij een dalende kanaalkwaliteit tot de algemene vakkennis van de gemiddelde vakman op de prioriteitsdatum, met name gelet op het aan een hoog zendvermogen verbonden hoge energieverbruik en het optreden van interferentie in CDMA-systemen. In de stand van de techniek zijn diverse oplossingen voorgesteld voor dit op zichzelf bekende probleem, waaronder de maatregelen op pag. 2-47 van de 3GPP2-standaard, of het gebruik van op andere uitgangspunten gebaseerde vermogensbesturingsschema’s zoals in Rulnick.
4.92
Wiko heeft niet inzichtelijk gemaakt op grond waarvan de gemiddelde vakman, die uitgaat van de 3GPP2-standaard – die bij het bereiken van een bepaalde limiet verlaging van het zendvermogen alleen op framebasis openbaart – tot de oplossing volgens het octrooi (verlaging en weer verhoging van het zendvermogen binnen een frame) zou komen. Dat de passage in Wireless Communications (“we trade off a decrease of the average received power value for an increase of error probability”) hem duidelijk zou maken dat het zendvermogen wordt verlaagd ten koste van een grotere foutkans en daarom hem ertoe zou leiden verlaging van het zendvermogen te realiseren door het loslaten van de offset (in plaats van verlaging van de datasnelheid) kan niet worden aangenomen. In die publicatie is immers juist gekozen voor andere oplossingen. De eerste betreft het clipping mechanisme (het maximeren van het datazendvermogen op een bepaald niveau, waarbij de offset wordt gehandhaafd, en waarbij dus niet eerst verlaging en vervolgens weer verhoging van het datazendvermogen plaatsvindt binnen de vooraf vastgestelde tijdsperiode) zoals ook bekend uit de ten tijde van de prioriteitsdatum toepasselijke UMTS-standaard. De tweede in Wireless Communications voorgestelde oplossing betreft een volledige omkering van het conventionele vermogensbesturingsschema (zoals ook geopenbaard in US 214). Een verlaging van het datazendvermogen bij verbetering van de kanaalkwaliteit en vice versa wordt daarin niet geopenbaard en evenmin toepassing van eerste en tweede criteria aan de hand waarvan tijdelijk wordt afgeweken van het gebruikelijke besturingsschema. In Wireless Communications, die dateert van na de 3GPP2-standaard, is niet gekozen voor verlaging van het datazendvermogen op slotbasis onder (noodzakelijkerwijs) loslating van de in de 3GPP2-standaard dwingend voorgeschreven handhaving van de offset. Daaruit volgt dat de oplossing volgens het octrooi voor de gemiddelde vakman niet voor de hand lag.
4.93
Andere tot zijn algemene vakkennis behorende feiten of omstandigheden op grond waarvan de gemiddelde vakman op de prioriteitsdatum uitgaande van de 3GPP2-standaard zonder inventieve denkarbeid tot het inzicht zou komen dat en hoe aanpassing van het datazendvermogen op slotbasis zou kunnen worden uitgevoerd, niettegenstaande doel en belang van het handhaven van de offset, zijn door Wiko niet (voldoende gemotiveerd) gesteld. Dat de gemiddelde vakman wist dat hij onder omstandigheden een grotere foutkans zou moeten accepteren om vermogen te sparen en dat het voor hem vanzelfsprekend is zo snel mogelijk te reageren wanneer er informatie binnenkomt over veranderende kanaalkwaliteit, zoals Wiko heeft aangevoerd, moge zo zijn. Daarmee is evenwel niet evident dat de gemiddelde vakman bij het bereiken van een grenswaarde voor het datazendvermogen ervoor zou kiezen de offset los te laten. De offset waarborgt immers de correcte ontvangst van verzonden data bij een bepaalde snelheid en bepaald zendvermogen die aan elkaar zijn gerelateerd; om dezelfde ontvangstkwaliteit te kunnen realiseren zal een verlaging van het zendvermogen gepaard moeten gaan met verlaging van de datasnelheid. Dat geldt temeer omdat op de prioriteitsdatum juist groot belang werd gehecht aan handhaving van die offset. In de 3GPP2-standaard is bepaald dat de offset ‘shall be maintained’ en in de toen toepasselijke UMTS-standaard werd voorgeschreven dat in het geval van dreigende overschrijding van de drempelwaarde voor het datazendvermogen gebruik moet worden gemaakt van clipping, onder nadrukkelijke vermelding dat de offset gehandhaafd diende te worden: “In the case that the total UE transmit power (…) would exceed the maximum allowed value, the UE shall apply additional scaling to the total transmit power so that it is equal to the maximum allowed power. This additional scaling [hof: clipping] shall be such that the power ratio between DPCCH and DPDCH remains as required by sub-clause 5.1.2.5.”. Wiko heeft niet voldoende onderbouwd op grond waarvan de gemiddelde vakman desalniettemin ervoor zou kiezen de offset los te laten, niettegenstaande de beschikbaarheid van andere oplossingen waarbij de offset – en daarmee de kwaliteit van de dataontvangst – wel gehandhaafd kon blijven, zoals bijvoorbeeld clipping en aanpassing van de offset (leidend tot een lager zendvermogen en lagere datasnelheid).
4.94
De slotsom is dat de inventiviteitsaanval uitgaand van de 3GPP2-standaard in combinatie met algemene vakkennis niet kan slagen.
(ii)(a)(ii) gecombineerd met US 821
4.95
In US 821 wordt een vermogensbesturingsschema beschreven waarin de verzending van data wordt gestaakt wanneer het (door een TPC-commando) opgedragen zendvermogen een bepaalde maximumwaarde bereikt.
4.96
De in de figuren 7A-9 geopenbaarde uitvoeringsvariant van US 821 waarop Wiko zich beroept is, naar Philips terecht heeft aangevoerd, niet nawerkbaar omschreven. Daarin wordt ervan uitgegaan dat het basisstation (en dus niet zoals in het octrooi (de regelmiddelen van) het mobiele station, welk kenmerk niet in US 821 is geopenbaard) aan de hand van het van het mobiele station ontvangen signaal monitort wanneer de kwaliteit van het zendkanaal weer zodanig is verbeterd dat de verzending kan worden hervat. Dat is echter niet mogelijk omdat het mobiele station de verzending van signalen op alle kanalen volledig heeft gestaakt.
4.97
Geen van de door Wiko aangedragen oplossingen voor dit probleem die de gemiddelde vakman daar op grond van zijn algemene vakkennis volgens haar zou inlezen, bijvoorbeeld het voortgezet verzenden van ‘control signals’ door het mobiele station zoals volgens Wiko staande praktijk is in CDMA-systemen, kunnen dat probleem ook werkelijk oplossen, omdat die allemaal onverenigbaar zijn met het in die uitvoeringsvariant geopenbaarde communicatie tussen het mobiele station en het basisstation. Die is namelijk daarop gebaseerd dat gedurende de periode dat de verzending is gestaakt, het van het mobiele station ontvangen signaal (nagenoeg) gelijk is aan nul. Aan de hand daarvan stelt het basisstation vast of het mobiele station de verzending heeft gestaakt. Voortgaande verzending op het besturingskanaal brengt het signaal boven (nagenoeg) nul, waardoor het basisstation (ten onrechte) zou menen dat het mobiele station de verzending niet heeft gestaakt. Dat het basisstation onderscheid zou kunnen maken tussen signalen ontvangen op enerzijds een datakanaal en anderzijds het besturingssignaal valt uit US 821 niet af te leiden. In US 821 wordt voor de bepaling of het mobiele station in ‘suspend mode’ is immers gekeken naar de waarde RP, omschreven als ‘power of the received signal’, wat door de vakman zal worden begrepen als het totale zendvermogen.
4.98
Bovendien – en los van het voorgaande – vindt tijdens de suspend mode geen vermogensbesturing plaats. De TPC-commando’s die gedurende die periode wel verzonden blijven worden hebben een andere betekenis: TPC-up commando’s moeten worden genegeerd en houden in dat de verzending gestaakt moet blijven en een TPC-down commando houdt de instructie in dat de verzending weer moet worden hervat. Bij voortgaande verzending op een vermogensbestuurd besturingskanaal zullen deze commando’s onbedoelde effecten hebben (namelijk het zendvermogen op het besturingskanaal zal steeds verder worden verhoogd) en het vermogensbesturingssyteem ontregelen. Het (nadere) standpunt van Wiko dat het zendvermogen op het besturingskanaal niet vermogensbestuurd zou zijn maar bevroren zou worden, is in tegenspraak met hetgeen zij zelf heeft gesteld en door haar deskundigen is verklaard, namelijk dat de gemiddelde vakman het uit CDMA bekende besturingssignaal zou inlezen, wat een vermogensbestuurd signaal is. Bovendien maakt US 821 ook niet duidelijk hoe dit bevriezen op het besturingskanaal – niettegenstaande de voortdurend verzonden TPC-up commando’s – bewerkstelligd zou kunnen worden. De gemiddelde vakman zou daarom inzien dat voortgaande verzending op het besturingssignaal niet in US 821 is voorzien en tot allerlei problemen leidt. Hij zou daarom de voortgaande verzending op het besturingskanaal ook niet in US 821 ‘inlezen’.
4.99
De gemiddelde vakman zal een vermogensbesturingsschema dat niet werkt en waarvoor hij niet op grond van zijn algemene vakkennis een oplossing ziet, niet toepassen.
4.100 Wiko heeft bovendien niet toegelicht hoe de gemiddelde vakman, uitgaande van de 3GPP2-standaard en kennis nemend van US 821, waarin onbestreden de verzending van data tijdelijk wordt gestaakt, tot de uitvinding van het octrooi volgens het tweede hulpverzoek zou komen, waarin de verzending van data met lager vermogen wordt voortgezet. Aangezien de TPC-commando’s gedurende de periode dat de verzending is gestaakt een andere betekenis krijgen, is zonder toelichting, die Wiko achterwege heeft gelaten, niet inzichtelijk hoe het in US 821 geopenbaarde systeem zou kunnen functioneren indien de verzending van data niet zou worden gestaakt, maar op een lager vermogensniveau voortgezet. Daarop strandt ook de alternatieve inventiviteitsaanval gebaseerd op figuur 1 en paragraaf 47 van US 821 – nog daargelaten dat daarin niet wordt geopenbaard dat (de regelmiddelen van) het mobiele station toetst of aan de criteria is voldaan en het zendvermogen daarop aanpast, en evenmin dat het naar en uit de ‘suspend mode’ schakelen binnen een dataframe kan plaatsvinden.
(ii)(a)(iii) gecombineerd met Rulnick
4.101 Gelet op hetgeen hiervoor ter zake van Rulnick is overwogen faalt ook de inventiviteitsaanval gebaseerd op de 3GPP2-standaard gecombineerd met die publicatie. In Rulnick wordt het in de 3GPP2-standaard gehanteerde conventionele vermogensbesturingsschema verlaten. In plaats daarvan wordt aan de hand van interferentiewaarden op basis van twee vergelijkingen het datazendvermogen vastgesteld. Volgens Rulnick leidt dit tot een verbetering van het energieverbruik. Het ligt daarom voor de hand dat als de gemiddelde vakman de 3GPP2-standaard al zou combineren met Rulnick, hij gebruik zou maken van het in Rulnick geopenbaarde optimale vermogensbesturingsschema.
4.102 Rulnick openbaart bovendien expliciet noch impliciet een framestructuur en evenmin eerste en tweede criteria aan de hand waarvan het datazendvermogen binnen de vooraf vastgestelde tijdsperiode wordt aangepast in afwijking van het reguliere vermogensbesturingsschema, al helemaal niet bij een door de 3GPP2-standaard gehanteerde minimale streefwaarde voor correcte dataontvangst van 95%. Aldus valt niet in te zien hoe de gemiddelde vakman zonder inventieve denkarbeid aan de hand van Rulnick tot de in 3GPP2-standaard ontbrekende maatregel van aanpassing van het datazendvermogen bij toepassing van eerste c.q. tweede critera binnen de vooraf vastgestelde tijdsperiode voor verzending van een frame zou komen.
(ii)(b) Rulnick
4.103 Wiko heeft eerst bij AMnC een beroep gedaan op gebrek aan inventiviteit uitgaande van Rulnick. Voor een beroep op gebrek aan inventiviteit van het tweede hulpverzoek uitgaande van Rulnick biedt de MvA geen basis. Daarin is slechts gesteld dat het tweede (en derde) hulpverzoek wordt geanticipeerd door het optimale vermogensbesturingsschema uit Rulnick. Een inventiviteitsaanval kan niet worden afgeleid uit de titel van het hoofdstuk uit de MvA, waarin immers ook de niet-inventiviteit van conclusies 9 en 10 wordt ingeroepen. Evenmin kan een beroep op gebrek aan inventiviteit worden afgeleid uit de stelling dat de additionele maatregelen van volgconclusies 9 en 10 niet inventief zouden zijn ten opzichte van de door Wiko niet nieuw geachte hoofdconclusie. Voorts houdt het argument van Wiko dat de omstandigheid dat Philips bij MnC, bij de bespreking van de op Rulnick gebaseerde niet-nieuwheidsaanval, heeft bestreden dat Rulnick een framestructuur openbaart, rechtvaardigt dat Wiko daarop bij AMnC reageert met een niet eerder ingeroepen nietigheidsgrond, geen stand. Die nietigheidsgrond had zij bij MvA (al dan niet als subsidiair standpunt) moeten inroepen. Het beroep op gebrek aan inventiviteit van conclusie 1 volgens het tweede hulpverzoek zoals aangevoerd in de AMnC moet derhalve in strijd worden geacht met de twee-conclusieregel.
4.104 Overigens, ook indien het beroep van Wiko op gebrek aan inventiviteit in het licht van Rulnick en de algemene vakkennis van de gemiddelde vakman op de prioriteitsdatum wel tijdig zou zijn gedaan, dan had dat Wiko niet kunnen baten. Naar het oordeel van hof moet het standpunt van Wiko, dat de gemiddelde vakman, uitgaande van Rulnick, reeds op grond van zijn algemene vakkennis tot de uitvinding volgens conclusie 1 zou zijn gekomen, worden verworpen.
4.105 In de eerste plaats acht het hof Rulnick geen reëel uitgangpunt, omdat het conventionele vermogensbesturingsschema daarin juist wordt verlaten. Als de gemiddelde vakman toch zou uitgaan van Rulnick, dan lag het vanwege de expliciete keuze die in Rulnick is gemaakt om het datazendvermogen vast te stellen aan de hand van de interferentiewaarden, geenszins voor de hand om weer van dit door Rulnick ontwikkelde systeem af te stappen en terug te keren naar het gebruik van het – door Rulnick bewust verlaten – conventionele vermogensbesturingsschema.
4.106 Voorts biedt Rulnick geen enkele aanwijzing voor het door het mobiele station toepassen van criteria aan de hand waarvan tijdelijk wordt afgeweken van het gebruikelijke vermogensbesturingsschema. Daarin schuilt de inventieve bijdrage van het octrooi en niet aangenomen kan worden – en Wiko heeft ook niet voldoende onderbouwd – dat, waarom en hoe de gemiddelde vakman daar zonder inventieve denkarbeid op grond van zijn algemene vakkennis toe zou zijn gekomen.
4.107 Naar Philips terecht heeft aangevoerd kan een aanwijzing voor de toepassing van criteria volgens conclusie 1 niet worden afgeleid uit de curves van de figuren 3 en 5 (hiervoor weergegeven) uit Rulnick omdat deze uitgaan van target transmission rates variërend van 0,2 tot 0,5 neerkomend op een streefwaarde van 20%-50% correcte gegevensontvangst, wat een volstrekt onrealistisch uitgangspunt is voor implementatie in een praktisch werkend systeem. Naar de gemiddelde vakman op grond van zijn algemene vakkennis (inhoudend onder meer de 3GPP2-standaard) weet, liggen de streefwaarden voor correcte data-ontvangst in praktische werkende systemen aanzienlijk hoger, namelijk target error rates van 0,01 en 0,05, overeenkomend met een correcte ontvangst van 95%-99% van de verzonden data, derhalve een target transmission rate van 0,95 - 0.99. De bij een target transmission rate van 0.99 horende curve van het unrestricted vermogensbesturingsschema volgens Rulnick is getoond in figuur 6 en laat een uitsluitend stijgende lijn zien. Voor zover de gemiddelde vakman derhalve al zou uitgaan van Rulnick voor de ontwikkeling van een verbeterd vermogensbesturingsschema, dan zou hij geen acht slaan op de in figuren 3 en 5 getoonde curves, maar op de curve van figuur 6.
4.108 Niet valt in te zien, en Wiko heeft niet onderbouwd, hoe de gemiddelde vakman, uitgaande van de curve getoond in figuur 6, zonder inventieve denkarbeid zou komen tot het inzicht dat ten grondslag ligt aan de uitvinding volgens het octrooi, ook niet indien de interferentiewaarde zou worden gelijkgesteld aan de (inverse van de) kanaalkwaliteit. Nergens in de curve van figuur 6 is immers een aanwijzing te vinden dat als de interferentiewaarde een bepaald niveau bereikt (volgens een eerste criterium), het datazendvermogen zou moeten worden verlaagd en voorts – als al zou worden uitgegaan van toepassing van het systeem van Rulnick binnen een framestructuur – evenmin een aanwijzing dat, binnen de voor de verzending van het frame benodigde tijd, het datazendvermogen weer wordt verhoogd indien de interferentiewaarde weer beneden een bepaalde waarde komt.
4.109 Naar het oordeel van het hof kan conclusie 1 in het licht van Rulnick en de algemene vakkennis van de gemiddelde vakman op de prioriteitsdatum geen inventiviteit worden ontzegd. Datzelfde heeft dan te gelden voor de onderconclusies.
4.110 Ten overvloede – en daargelaten de door Philips aangevoerde bezwaren (op grond van de twee-conclusieregel) tegen hetgeen Wiko ter zake van het gestelde gebrek aan inventiviteit van (onder meer) conclusies 9 en 10 (resp. 32 en 33) eerst na MvA heeft aangevoerd, waarop niet hoeft te worden beslist – overweegt het hof dienaangaande als volgt. De in conclusies 9 en 10 opgenomen maatregelen vormen een nadere invulling van de in conclusie 1 genoemde kenmerken ‘indicatie van de neergang in kanaalkwaliteit’ en ‘eerste criterium voor het verlagen van het datazendvermogen’.
4.111 Voor de maatregel van conclusie 9 (resp. 32) dat het eerste criterium bestaat uit een indicatie om het zendvermogen te verhogen boven een vooraf bepaalde drempelwaarde (P2), is in Rulnick geen aanwijzing te vinden. Uitgaande van de curve van figuur 6 als het enige realistische uitgangspunt is er immers geen enkele indicatie dat bij het bereiken van een bepaalde drempelwaarde het datazendvermogen bij een verder stijgende interferentiewaarde niet langer wordt verhoogd maar daarentegen juist wordt verlaagd. De in Rulnick geopenbaarde vergelijkingen aan de hand waarvan het datazendvermogen wordt vastgesteld bieden daarvoor ook geen ruimte. Een drempelwaarde maakt geen deel uit van die vergelijkingen en de berekening wordt dus niet ook anders uitgevoerd als de interferentiewaarde onder of boven een bepaalde drempel uitkomt.
4.112 Voor de maatregel van conclusie 10 (resp. 33) dat de indicatie om het zendvermogen te verhogen bestaat uit een ontvangen commando bevat Rulnick ook geen aanwijzing. De omstandigheid dat alle bekende vermogensbesturingssystemen gebruik maken van power control commando’s maakt dat niet anders. In Rulnick wordt immers juist – en ook bewust, in afwijking van het conventionele vermogenbesturingsysteem en de daarbij gebruikte commando’s– geen gebruik gemaakt van vermogensbesturingscommando’s, zodat Rulnick eerder een pointer-away dan een pointer naar de maatregel van conclusie 10 bevat. Ook indien het gebruik van ‘indicator-bits’ op slotbasis in Rulnick zou moeten worden ingelezen, zoals Wiko heeft betoogd, maar waarvoor geen enkele aanwijzing bestaat, leidt dat niet tot de uitvinding volgens het octrooi. Dergelijke indicator-bits zijn hooguit een indicatie van de (stijging of daling van de) interferentiewaarde, maar ook dan fungeren ze niet anders dan als input voor de berekening van het transmissievermogen aan de hand van de vergelijkingen (1) en (2). Ze kunnen bij gebreke van enige aanwijzing daarvoor in Rulnick niet worden beschouwd als (een aanwijzing voor) een commando dat door het mobiele station moet worden opgevolgd of, bij toepassing van het eerste of tweede criterium, juist moet worden genegeerd.
4.113 Gelet op het voorgaande moeten ook de volgconclusies 9 en 10 in het licht van Rulnick inventief worden geacht.
(ii)(c) algemene vakkennis
4.114 Wiko heeft aangevoerd dat het ‘logisch’ zou zijn de door het octrooi voorgestelde maatregelen toe te passen om te voorkomen dat het maximum zendvermogen wordt overschreden. Volgens Wiko zouden US 214 en US 821 de vakman op het spoor zetten om het vermogen van een van de kanalen tijdelijk te verlagen in plaats van te verhogen. Zoals hiervoor overwogen (zie 4.76 e.v. en 4.95 e.v.) kan dat niet als juist worden aanvaard. US 214 openbaart geen tijdelijke afwijking van het conventionele besturingsschema zoals het octrooi (of zoals Wiko het formuleert in par. 2 MvA: het systeem volgens het octrooi doet in sommige gevallen juist het omgekeerde). US 214 bevat daarvoor ook geen pointer. US 821 openbaart geen nawerkbare oplossing voor het probleem, al helemaal niet de oplossing volgens het tweede hulpverzoek waar data op lager vermogen verzonden blijven worden. Zoals volgt uit hetgeen hiervoor reeds is overwogen (4.87 e.v.) leidde de algemene vakkennis op de prioriteitsdatum de gemiddelde vakman ook niet naar de oplossing volgens het octrooi. De door Wiko gestelde ‘logica’ ontbeert derhalve voldoende onderbouwing.
(ii)(d) andere combinaties
4.115 Wiko heeft onvoldoende gesteld, laat staan onderbouwd, op grond waarvan de gemiddelde vakman, op basis van andere combinaties van de door Wiko in het kader van de niet-nieuwheid aangevoerde documenten, zonder inventieve denkarbeid tot de uitvinding volgens conclusie 1 van het octrooi zou zijn gekomen. Reeds daarom moet aan die inventiviteitsaanvallen voorbij worden gegaan. Overigens volgt uit hetgeen hiervoor ten aanzien van die publicaties is overwogen dat geen enkele combinatie daarvan de gemiddelde vakman zonder inventieve denkarbeid tot de uitvinding volgens EP 511 zou leiden.
slotsom geldigheid
4.116 De slotsom van al het voorgaande is dat de conclusies volgens het tweede hulpverzoek naar het oordeel van het hof geldig zijn te achten.
inbreuk
conclusie 1 geïncorporeerd in het HSUPA-protocol
4.117 Volgens Philips wordt in (het HSUPA-protocol van) de UMTS-standaard gebruik gemaakt van de uitvinding van EP 511 (volgens het tweede hulpverzoek). Omdat Wiko (het HSUPA-protocol van) die standaard toepast maakt zij inbreuk op het octrooi, aldus Philips.
4.118 Wiko stelt zich op het standpunt dat niet alle kenmerken van conclusie 1 in de UMTS-standaard (met name TS 125 214) zijn opgenomen, zodat toepassing van (het HSUPA-protocol van) de UMTS-standaard in haar in Nederland op de markt gebrachte telefoons – hetgeen zij op zichzelf niet bestrijdt - derhalve niet met zich brengt dat zij inbreuk maakt op het octrooi.
4.119 Philips heeft haar standpunt dat de UMTS-standaard de uitvinding volgens het octrooi incorporeert als volgt toegelicht.
4.120 De kwaliteit van het uplink-kanaal wordt door het basisstation gemeten aan de hand van de “signal-to-interference ratio” (SIR) van het signaal op de DPCH. De DPCH (“Dedicated Physical Channel”) omvat de vijf physical channels die tezamen het uplink dedicated kanaal vormen, te weten de DPCCH, de DPDCH, de E-DPDCH, de E-DPCCH en de HS-DPCCH. De DPCCH (“Dedicated Physical Control Channel”) vormt de basis van de vermogensbesturing.
4.121 Naar aanleiding van de uitgevoerde meting stelt het bassistation een TPC-commando op dat aan het mobiele station wordt verzonden. Wanneer de gemeten SIR (= SIRest) lager is dan de gewenste SIR (= SIRtarget) geeft het basisstation aan het mobiele station het commando om het transmissievermogen te verhogen (TPC-commando = “1”). In het omgekeerde geval geeft het basisstation aan het mobiele station het commando om het transmissievermogen te verlagen (TPC-commando = “0”). Het TPC-commando om het transmissievermogen te verhogen, is voor het mobiele station een aanwijzing van een teruggang in kanaalkwaliteit.
4.122 Op basis van het TPC-commando berekent het mobiele station de waarde “TPC_cmd” en aan de hand hiervan bepaalt het mobiele station hoeveel het transmissievermogen van de uplink DPCCH moet worden verhoogd (resp. verlaagd). De transmissievermogens van de overige signalen in het uplink DPCH-kanaal, waaronder het E-DPDCH datakanaal waarover de datablokken worden verzonden, zijn geschaald ten opzichte van het transmissievermogen van de DPCCH (twee keer zoveel, de helft etc.). Wanneer het transmissievermogen van de DPCCH wordt verhoogd of verlaagd, gaat het transmissievermogen van de andere signalen door de koppeling met het transmissievermogen van de DPCCH, eveneens omhoog of omlaag overeenkomstig de voor dat signaal toepasselijke verhouding tot de DPCCH.
4.123 Bij deze berekening wordt gebruik gemaakt van zgn. gain factors. Elk physical channel heeft een eigen gain factor, die wordt gebruikt om het zendvermogen van het betreffende kanaal aan te passen. De gain factor wordt aangeduid met de letter “β” en een achtervoegsel ter aanduiding van het specifieke physical channel. De gain factor van de E-DPDCH is βed. Omdat er verschillende E-DPDCHs kunnen zijn, wordt nog een extra variabele “k” aan het achtervoegsel toegevoegd, waarmee de specifieke E-DPDCH wordt aangeduid. Een en ander is weergegeven in figuur 1C van TS 125 213:

4.124 Na ontvangst van een TPC-commando ter verhoging van het transmissievermogen, berekent het mobiele station het totale transmissievermogen (van alle physical channels tezamen, dus het transmissievermogen van de PDCCH en de overige kanalen van de uplink DPCH) bij opvolging van dit TPC-commando. Indien het totale transmissievermogen het maximaal toelaatbare vermogen overschrijdt, verlaagt het mobiele station de gain factors van de E-DPDCH datakanalen met een bepaalde scaling factor tot βed,k,reduced, zodat het totale transmissievermogen komt te liggen op het maximaal toelaatbare niveau. Dit volgt uit TS 125 214, paragraaf 5.1.2.6:
“When E-DCH is configured [hof: volgens het HSUPA-protocol), if the total UE transmit power (after applying DPCCH power adjustments and gain factors) would exceed the maximum allowed value, the UE shall firstly reduce all the E-DPDCH gain factors βed,k by an equal scaling factor to respective values βed,k,reduced so that the total transmit power would be equal to the maximum allowed power. After calculating the reduced E-DPDCH gain factors, quantization according to table 1B.2 in [3] subclause 4.2.1.3 may be applied, where each βed,k,reduced is quantized such that βed,k/βc is the largest quantised value for which the condition βed,k ≤ βed,k,reduced holds.”
4.125 Hieruit volgt volgens Philips dat een mobiel station dat werkt volgens het HSUPA-protocol van de UMTS-standaard over regelmiddelen beschikt, die het zendvermogen van de E-DPDCH datakanalen verlaagt wanneer het opvolgen van een ontvangen TPC-commando om het zendvermogen te verhogen zou resulteren in overschrijding van het maximaal toelaatbare zendvermogen. Het mobiele station reageert aldus op een aanwijzing van een teruggang in kanaalkwaliteit volgens een eerste criterium voor het verlagen van het vermogen voor het verzenden van de datablokken op de E-DPDCH datakanalen, zoals bedoeld in conclusie 1. Deze reactie vindt blijkens de UMTS-standaard plaats binnen het dataframe. In paragraaf 5.1.2.6 van TS 125 214 is bepaald dat de schaling en verlaging van de gain factors plaatsvindt op slotbasis en wel op de slotgrens: “Any scaling, and any reduction in the E-DPDCH gain factor as described above, shall only be applied or changed at a DPCCH slot boundary.”
4.126 Het slotsgewijs verzenden van de TPC commando’s door het basisstation aan het mobiele station ter aanpassing van het zendvermogen gaat ook door na toepassing van het eerste criterium. Wanneer de kanaalkwaliteit vervolgens verbetert, stuurt het basisstation een TPC-downs commando (een aanwijzing voor een verhoging in kanaalkwaliteit) aan het mobiele station, derhalve de instructie om het vermogen van de DPCCH (en daaraan gerelateerd het vermogen van de andere kanalen op de uplink DPCH) te verlagen. Als het mobiele station vaststelt dat de drempelwaarde niet langer wordt overschreden bij opvolging van het commando (het tweede criterium), vermindert resp. schrapt het mobiele station de schaalfactor van de gain factor voor de E-DPDCHs, waardoor het datazendvermogen van de E-DPDCHs weer wordt verhoogd, een en ander op voorwaarde dat het maximaal toelaatbare zendvermogen hierdoor niet wordt overschreden. Zoals reeds opgemerkt schrijft de UMTS-standaard voor dat schaling en aanpassing van de gain factors op slotbasis gebeurt. Een mobiel station volgens de UMTS-standaard is derhalve in staat het eerste en tweede criterium binnen hetzelfde frame (en dus binnen de vooraf bepaalde tijdsperiode) toe te passen.
4.127 Dat de toepassing van het eerste respectievelijk het tweede criterium volgens het octrooi besloten ligt in het schalingsmechanisme dat in de UMTS-standaard is voorgeschreven wordt door Wiko niet bestreden. Zij heeft erop gewezen (par. 227 CvA/CvErec) dat in paragraaf 5.1.2.6 van TS 125 214 (slechts) wordt voorgeschreven dat het vermogen van de signalen op de datakanalen wordt verlaagd wanneer het vermogen tegen het maximaal toelaatbare vermogen aanloopt en weer wordt verhoogd wanneer dit niet langer het geval is. Volgens Wiko kan het maximaal toelaatbare zendvermogen van het mobiele station echter niet zowel als het eerste criterium als ook als het tweede criterium in de zin van het octrooi fungeren. Het boven resp. beneden het maximaal toelaatbare zendvermogen van het mobiele station komen, kan evenmin worden aangemerkt als een eerste en tweede criterium in de zin van het octrooi, omdat het immers niet mogelijk is boven het maximaal toelaatbare zendvermogen te verzenden, aldus Wiko.
4.128 Dat standpunt kan niet worden gevolgd. Van overschrijding van het maximaal toelaatbare zendvermogen is geen sprake, omdat de maatregelen beschreven in paragraaf 5.1.2.6. er nu juist op zijn gericht (en bewerkstelligen) dat dit wordt voorkomen. Voorts valt niet in te zien – en Wiko licht ook niet toe – waarom het (bij opvolging van een TPC-commando) uitkomen boven respectievelijk beneden het maximale totale transmissievermogen, niet zou kunnen worden aangemerkt als een eerste en tweede criterium in de zin van het octrooi. In paragraaf 54 van de beschrijving van het octrooi wordt de mogelijkheid dat het eerste criterium bestaat uit het overschrijden, en het tweede criterium bestaat uit het onderschrijden van dezelfde drempelwaarde immers expliciet beschreven:
“[0054] In the example illustrated in Figure 4, the first criterion is met when the channel quality falls below a predetermined level, and the second criterion is met when the channel quality increases above the same predetermined level. However, these two levels need not be identical.”
4.129 Het standpunt van Wiko dat uit de standaard niet zou blijken dat de vermogensbesturing plaatsvindt binnen een frame (‘the predetermined time period’ in de bewoordingen van het octrooi) wordt verworpen. Uit het feit dat de aanpassingen van het zendvermogen steeds op slotbasis moeten plaatsvinden (zie 4.125) volgt dat bij toepassing van het eerste en tweede criterium binnen een frame, die aanpassingen evenzeer binnen datzelfde frame kunnen plaatsvinden.
4.130 Wiko heeft voorts bestreden dat het door de uitvinding volgens het octrooi bereikte effect wordt gerealiseerd door toepassing van paragraaf 5.1.2.6. van TS 125 214, omdat het effect van het toepassen van de scaling factor is dat “the total transmit power would be equal to the maximum allowed power”, waardoor het totale zendvermogen van het mobiele station op het maximaal haalbare niveau blijft.
4.131 Hierin kan Wiko niet worden gevolgd. Anders dan zij veronderstelt schrijft het octrooi niet voor dat het totale zendvermogen moet worden verlaagd maar dat datazendvermogen wordt verlaagd (resp. verhoogd). Dat is ook geïncorporeerd in de UMTS-standaard. Zoals volgt uit bedoelde passage uit de TS 125 214 specificatie en de niet bestreden toelichting daarop van Philips (zie 4.124 hiervoor) worden de gain factors van de E-DPDCH datakanalen verlaagd, leidend tot een verlaging van het datazendvermogen. Deze verlaging is zodanig dat het totale transmissievermogen – dus inclusief het vermogen waarmee over het PDCCH besturingskanaal verzonden blijft worden, waarbij de TPC-commando’s wel gewoon opgevolgd blijven worden en dat dus in reactie op het ontvangen TPC-up commando wordt verhoogd (vgl. conclusie 12) – wordt gemaximeerd. Een en ander is in overeenstemming met hetgeen is beschreven in en wordt beoogd met het octrooi: overschrijding van de drempelwaarde van het totale zendvermogen – en daarmee excessief stroomverbruik en interferentie – wordt voorkomen, door een daling van het datazendvermogen.
4.132 Daarnaast zou volgens Wiko uit paragraaf 5.1.2.6. van TS 125 214 niet duidelijk zijn dat er verlaging respectievelijk verhoging van het datazendvermogen plaatsvindt bij toepassing van een eerste en tweede criterium. Ook dat standpunt is onjuist. Bedoelde passage schrijft voor dat het datazendvermogen wordt verlaagd in reactie op een TPC-up commando, welk commando een indicatie is van verslechtering van de kanaalkwaliteit. Deze maatregel wordt toegepast indien het totale transmissievermogen bij opvolging van het TPC-up commando het maximaal toelaatbare vermogen zou overschrijden. Deze omstandigheid is aan te merken als een ‘eerste criterium’ zoals bedoeld in het octrooi. Uit het schalingmechanisme volgt dat zodra de drempelwaarde wordt onderschreden bij opvolging van een TPC-down commando (het tweede criterium) het zendvermogen op de E-DPDCH weer wordt verhoogd, zoals Wiko heeft onderkend (zie 4.127 hiervoor).
4.133 Verder voert Wiko aan dat uit de UMTS-standaard niet volgt dat toepassing van het eerste en tweede criterium plaatsvindt in reactie op de ontvangst van een TPC-commando, omdat het bereiken van het maximale transmissievermogen en toepassing van de in dat geval voorgeschreven maatregelen, ook kan worden bereikt door aanpassing van de ‘gain factors’ onafhankelijk van de ontvangen TPC-commando’s. Zij heeft daartoe verwezen naar de volgende passage uit TS 125 214 (paragraaf 5.1.2.5.1):
“The gain factors may vary on radio frame basis depending on the current TFC used. Further, the setting of gain factors is independent of the inner loop power control.
After applying the gain factors, the UE shall scale the total transmit power of the DPCCH and DPDCH(s), such that the DPCCH output power follows the changes required by the power control procedure with power adjustments of ΔDPCCH dB, subject to the provisions of sub-clause 5.1.2.6.”
De aanpassing van de gain factors zoals geopenbaard in deze passage vindt plaats op framebasis. TPC-commando’s worden op slotbasis verzonden. Tijdens de verzending van een datablok binnen een frame vindt aanpassing van het datazendvermogen bij voldoen aan het eerste of tweede criterium derhalve altijd plaats in reactie op ontvangen TPC-commando’s en daarmee op basis van de kanaalkwaliteit. Dat er ook andere omstandigheden zijn die ertoe kunnen leiden dat het datazendvermogen op de framegrens wordt aangepast kan daar niet aan afdoen.
4.134 Het standpunt van Wiko ten slotte dat de UMTS-standaard, in het bijzonder TS 125 214, slechts (een niet-inventieve variant van) de stand van de techniek toepast, moet in het licht van het voorgaande worden verworpen. Immers, naar het oordeel van het hof past TS 125 214 de uitvinding volgens het octrooi toe en dat octrooi is, zoals hiervoor overwogen, inventief te achten in het licht van de stand van de techniek en de algemene vakkennis van de gemiddelde vakman op de prioriteitsdatum.
4.135 Wiko heeft niet bestreden dat zij in Nederland telefoons op de markt brengt die voldoen aan (het HSUPA-protocol van) de UMTS-standaard. Met de vaststelling dat alle kenmerken van conclusie 1 van het octrooi daarin zijn geïncorporeerd staat daarmee vast dat Wiko inbreuk maakt op EP 511.
meetrapporten
4.136 Ten overvloede overweegt het hof dat de toepassing van (het HSUPA-protocol van) de UMTS-standaard in de producten van Wiko, en daarmee op het octrooi, wordt bevestigd in (onder meer) het door Philips als productie 19 overgelegde meetrapport. De in dat rapport opgenomen figuur 7 is – in de door Philips bewerkte vorm, voorzien van verwijzingscijfers 1 en 2 – hieronder weergegeven.

Bij de meting is de drempelwaarde ingesteld op 24 dBm, onder het fysieke maximum. Te zien is dat het zendvermogen van de datasignalen (E-DPDCH; rood gekleurd) door de mobiele telefoon wordt verhoogd op basis van de eerste vijf TPC-up commando’s. Bij opvolging van het zesde TPC-up commando zou de ingestelde drempelwaarde worden overschreden. Naar aanleiding daarvan wordt het datazendvermogen (in het volgende slot) verlaagd in plaats van verhoogd (verwijzingscijfer 1). Dit is toepassing van het eerste criterium, volgens de door conclusies 9 en 10 onder bescherming gestelde uitvoeringsvorm.
4.137 Ook is te zien dat het vermogen van de DPCCH (groen gekleurd) na toepassing van het eerste criterium aangepast blijft worden op basis van de ontvangen TPC-commando’s. Bij opvolging van het elfde TPC commando (een TPC-down commando), komt het vermogensniveau van het besturingssignaal in het volgende tijdslot (verwijzingscijfers 2) op het niveau waar het was, toen aan het eerste criterium werd voldaan (verwijzingscijfer 1)). Bij opvolging van dit TPC-down commando door de DPCCH (en de andere uplink-kanalen) zal het totale zendvermogen in het opvolgende tijdslot de dremplwaarde niet langer overschrijden. Naar aanleiding van dat TPC-down commando wordt de schaling opgeheven en wordt het datazendvermogen in het opvolgende tijdslot verhoogd (verwijzingscijfer 2) en wordt de conventionele vermogensbesturing hervat. Dit is toepassing van het tweede criterium volgens conclusie 1, in de door conclusie 12 onder bescherming gestelde uitvoeringsvorm.
4.138 Het standpunt van Wiko dat uit het rapport niet zou blijken dat inbreuk wordt gemaakt op conclusie 12 mist relevantie, nu reeds sprake is van inbreuk door toepassing van de maatregelen volgens de conclusies 1, 9 en 10. Overigens is het standpunt onjuist, zoals volgt uit de hiervoor weergegeven (bewerkte) figuur 7 van het meetrapport en hetgeen hiervoor in 4.35 is overwogen. In aanvulling daarop geld het volgende. Conclusie 12 schrijft voor dat het tweede criterium is dat het zendvermogen van het besturingskanaal gelijk wordt (en niet: ‘is’, zoals Wiko ten onrechte stelt) aan of lager wordt dan het niveau van het zendvermogen van het besturingskanaal toen werd voldaan aan het eerste criterium. Bij ontvangst van het zesde TPC-up commando wordt aan het eerste criterium voldaan (zoals Wiko ook stelt, par. 128 pleitnota EA; in paragraaf 446 MvA gaat Wiko ten onrechte uit van het moment waarop het eerste criterium ‘is toegepast’: met de ontvangst van het zesde TPC-up commando wordt aan het eerste criterium voldaan – bij uitvoering daarvan zou de drempelwaarde worden overschreden – in reactie daarop wordt het datazendvermogen in het volgende slot verlaagd). Ten gevolge van het elfde TPC commando (een TPC-down commando) wordt in het opvolgende slot het zendvermogen van het besturingssignaal verhoogd, en wordt daarmee gelijk aan het niveau dat het zendvermogen had bij ontvangst van het zesde TPC-up commando. Daarmee past de mobiele telefoon ook het tweede criterium zoals beschreven in conclusie 12 van het octrooi toe.
4.139 Het tegen het meetrapport door Wiko ingebrachte bezwaar dat niet is aangegeven wat de grenzen zijn van de ‘predetermined time period’ wordt verworpen. Duidelijk is daaruit immers dat binnen een tijdsbestek van 15 slots (en dus binnen het tijdsbestek van een frame) op slotbasis wordt gereageerd op zowel een eerste als een tweede criterium, waarmee duidelijk is dat de geteste mobiele telefoon regelmiddelen bevat die het in staat stelt de maatregelen volgens EP 511 binnen de predetermined time period toe te passen. Dat de Wiko-telefoon ook binnen de predetermined time period zowel het eerste als tweede criterium toepast wordt – door Wiko onvoldoende gemotiveerd bestreden – ook bevestigd door het als productie 48 door Philips overgelegde tweede meetrapport..
4.140 Dat het meetrapport onbegrijpelijk zou zijn, zoals Wiko verder heeft gesteld, omdat het totale vermogen niet gelijk zou zijn aan de som van de de twee getoonde signalen, is evenmin juist. Naar Philips terecht heeft opgemerkt, miskent Wiko dat de mobiele telefoon ook uitzendt over andere uplink signalen, zoals ook getoond in de figuren 3 en 4 van het rapport.
4.141 Aan de stelling van Wiko dat uit de meetrapporten niet is te zien of de telefoons een look-up table toepassen en indicators gebruiken wordt voorbij gegaan. Niet alleen is dit standpunt voor het eerst ter zitting naar voren gebracht, ook is het onverenigbaar met het feit dat zij niet heeft bestreden dat zij (het HSUPA-protocol van) de UMTS-standaard toepast, zoals Philips reeds bij dagvaarding EA heeft gesteld.
4.142 Volgens Wiko zou ten slotte met het meetrapport niet zijn aangetoond dat aan het eerste en tweede criterium is voldaan, omdat een enkele meting daarvoor onvoldoende zou zijn. Het hof verwerpt dat standpunt. Philips heeft meerdere metingen verricht aan meerdere telefoons. Het is dan aan Wiko die resultaten gemotiveerd (bijvoorbeeld door een tegenrapport) ter discussie te stellen, hetgeen zij heeft nagelaten. Bij die stand van zaken ziet het hof geen aanleiding eraan te twijfelen dat ook bij nog verdere metingen de door Philips getoonde resultaten zullen worden bevestigd.
4.143 De slotsom is dat Wiko inbreuk maakt op in elk geval conclusie 1 (volgens het tweede hulpverzoek) van het octrooi.
4.144 Over het door Wiko opgeworpen Frand-verweer zullen partijen nog afzonderlijk pleiten (tegelijk met de behandeling van de Frand-verweren in de zaken betreffende EP 659 en EP 525). Op de vraag of Philips aanspraak kan maken op een inbreukverbod en over de toewijsbaarheid van het overigens door haar gevorderde, zal derhalve eerst daarna kunnen worden beslist.
5. De beslissing
Het hof houdt iedere beslissing aan. Eindarrest zal worden gewezen op de datum die zal worden bepaald na afloop van de pleidooien die zullen worden gehouden op 28 mei 2019.
Dit arrest is gewezen door mrs R. Kalden, M.Y. Bonneur en M.W.D. van der Burg en in bijzijn van de griffier uitgesproken ter openbare terechtzitting van 16 april 2019.