106/1694/1729/801
Rb. Rotterdam, 01-04-2009, nr. 271674 / HA ZA 06-3000
ECLI:NL:RBROT:2011:BU6288
- Instantie
Rechtbank Rotterdam
- Datum
01-04-2009
- Zaaknummer
271674 / HA ZA 06-3000
- LJN
BI1747
- Vakgebied(en)
Civiel recht algemeen (V)
- Brondocumenten en formele relaties
ECLI:NL:RBROT:2011:BU6288, Uitspraak, Rechtbank Rotterdam, 30‑11‑2011; (Eerste aanleg - meervoudig)
ECLI:NL:RBROT:2009:BI1747, Uitspraak, Rechtbank Rotterdam, 01‑04‑2009; (Eerste aanleg - enkelvoudig)
Uitspraak 30‑11‑2011
Inhoudsindicatie
Onrechtmatig handelen door de (ex-)voorzitter van de Raad van Toezicht van een Rotterdamse woningcorporatie en anderen (14), waaronder een adviseur en een professionele bemiddelaar, terzake een groot aantal vastgoedtransacties in met name de periode 1998-2003; vaststelling aansprakelijkheid; verwijzing naar schadestaat; afsplitsing in de zaak van drie gedaagden, waaronder de zaak tegen een directeur van een bouwbedrijf.
Partij(en)
vonnis
RECHTBANK ROTTERDAM
Sector civiel recht
zaaknummer / rolnummer: 271674 / HA ZA 06-3000
in de zaak van
de stichting
PATRIMONIUMS WONINGSTICHTING TE DELFSHAVEN,
gevestigd te Rotterdam,
eiseres in conventie,
ten aanzien van gedaagden sub 3, 4, 5, 6, 7, 8, 9, 10, 11, 12, 13, 14 en 15 tevens verweerster in (voorwaardelijke) reconventie,
advocaat mr. J.E. Polet,
tegen
1. de besloten vennootschap met beperkte aansprakelijkheid
TRANSFORMANAGEMENT B.V.,
gevestigd te Hoek van Holland,
gedaagde,
advocaat mr. J.G.M. Roijers,
2. de besloten vennootschap met beperkte aansprakelijkheid
CHILSTON PARK B.V.,
gevestigd te Tholen,
gedaagde,
advocaat mr. J.G.M. Roijers,
3. [ Gedaagde sub 3],
wonende te [woonplaats 1],
gedaagde in conventie,
eiser in (voorwaardelijke) reconventie,
advocaat mr. L.J. Böhmer,
4. de besloten vennootschap met beperkte aansprakelijkheid
VALTOP CONSULTANCY B.V.,
gevestigd te Steenbergen,
gedaagde in conventie,
eiseres in (voorwaardelijke) reconventie,
advocaat mr. L.J. Böhmer,
5. de besloten vennootschap met beperkte aansprakelijkheid
VALTOP BEHEER B.V.,
gevestigd te Dinteloord,
gedaagde in conventie,
eiseres in (voorwaardelijke) reconventie,
advocaat mr. L.J. Böhmer,
[Gedaagde sub 6],
wonende te [woonplaats 2],
gedaagde in conventie,
eiser in (voorwaardelijke) reconventie,
advocaat mr. J. Kneppelhout,
7. de vennootschap naar Antilliaans recht
JAMABEL N.V. ,
gevestigd te Curaçao, Nederlandse Antillen,
gedaagde in conventie,
eiseres in (voorwaardelijke) reconventie,
advocaat mr. J. Kneppelhout,
8. de besloten vennootschap met beperkte aansprakelijkheid
ZUIDSINGEL B.V.,
gevestigd te Middelaar,
gedaagde in conventie,
eiseres in (voorwaardelijke) reconventie,
advocaat mr. J. Kneppelhout,
9. de besloten vennootschap met beperkte aansprakelijkheid
BERKENDAAL B.V.,
gevestigd te Mook,
gedaagde in conventie,
eiseres in (voorwaardelijke) reconventie,
advocaat mr. J. Kneppelhout,
[Gedaagde sub 10],
wonende te [woonplaats 3],
gedaagde in conventie,
eiser in (voorwaardelijke) reconventie,
advocaat mr. J. Kneppelhout,
[Gedaagde sub 11],
gevestigd te Rotterdam,
gedaagde in conventie,
eiseres in (voorwaardelijke) reconventie,
advocaat mr. J. Kneppelhout,
12. de besloten vennootschap met beperkte aansprakelijkheid
GIAM PROJECTADVIESBUREAU B.V.,
gevestigd te Rotterdam,
gedaagde in conventie,
eiseres in (voorwaardelijke) reconventie,
advocaat mr. J. Kneppelhout,
[Gedaagde sub 13],
wonende te [woonplaats 4],
gedaagde in conventie,
eiser in reconventie,
advocaat mr. J.F. Rense,
14. de besloten vennootschap met beperkte aansprakelijkheid
BUBUCO B.V.,
gevestigd te Woudenberg,
gedaagde in conventie,
eiseres in reconventie,
advocaat mr. J.F. Rense,
[Gedaagde sub 15],
wonende te [woonplaats 5],
gedaagde in conventie,
eiser in reconventie,
advocaat mr. D. Vermaat.
Partijen zullen hierna PWS, Transformanagement, Chilston Park, [gedaagde sub 3], Valtop Consultancy, Valtop Beheer, [gedaagde sub 6], Jamabel, Zuidsingel, Berkendaal, [gedaagde sub 10], [gedaagde sub 11], Giam, [gedaagde sub 13], Bubuco en [gedaagde sub 15] genoemd worden.
1. De procedure
1.1.
Het verloop van de procedure blijkt uit:
- de dagvaardingen d.d. 27 juli 2006, met producties;
- de stukken van de ten verzoeke van PWS ten laste van Transformanagement,
Chilston Park, [gedaagde sub 3], Valtop Consultancy, Valtop Beheer, [gedaagde sub 6], Jamabel,
Zuidsingel, Berkendaal, [gedaagde sub 10], [gedaagde sub 11], Giam, [gedaagde sub 13], Bubuco en
[gedaagde sub 15] gelegde conservatoire (derden)beslagen;
- de conclusie van antwoord van de zijde van Transformanagement en Chilston Park;
- de conclusie van antwoord in conventie, tevens conclusie van eis in (voorwaardelijke) reconventie van de zijde van [gedaagde sub 3], Valtop Consultancy en Valtop Beheer, met productie;
- de conclusie van antwoord in conventie, tevens conclusie van eis in (voorwaardelijke) reconventie van de zijde van [gedaagde sub 6], met productie;
- de conclusie van antwoord in conventie, tevens conclusie van eis in (voorwaardelijke) reconventie van de zijde van Jamabel;
- de conclusie van antwoord in conventie, tevens conclusie van eis in (voorwaardelijke) reconventie van de zijde van Zuidsingel;
- de conclusie van antwoord in conventie, tevens conclusie van eis in (voorwaardelijke)
reconventie van de zijde van Berkendaal;
- de conclusie van antwoord in conventie, tevens conclusie van eis in reconventie van de zijde van [gedaagde sub 10], [gedaagde sub 11] en Giam;
- de conclusie van antwoord in conventie, tevens conclusie van eis in reconventie van de zijde van [gedaagde sub 13] en Bubuco, met producties;
- de conclusie van antwoord in conventie, tevens conclusie van eis in reconventie van de zijde van [gedaagde sub 15], met producties;
- de conclusie van repliek in conventie, tevens conclusie van antwoord in reconventie, tevens houdende wijziging van eis, met producties;
- de incidentele conclusie houdende vordering ex artikel 843a Rv van de zijde van [gedaagde sub 6], Jamabel, Zuidsingel en Berkendaal, met producties;
- de conclusie van antwoord in het incident van de zijde van PWS;
- de nadere akte in het incident van de zijde van [gedaagde sub 6], Jamabel, Zuidsingel en Berkendaal;
- antwoordakte in het incident van de zijde van PWS;
- de conclusie van dupliek van de zijde van Transformanagement en Chilston Park;
- de conclusie van dupliek in conventie, tevens conclusie van repliek in (voorwaardelijke)
reconventie, tevens houdende wijziging van eis van de zijde van [gedaagde sub 3], Valtop
Consultancy en Valtop Beheer, met producties;
- de conclusie van dupliek in conventie, tevens conclusie van repliek in reconventie van [gedaagde sub 10], [gedaagde sub 11] en Giam;
- de conclusie van dupliek in conventie, tevens conclusie van repliek in reconventie, tevens houdende wijziging van eis van [gedaagde sub 13] en Bubuco, met productie;
- de conclusie van dupliek in conventie, tevens conclusie van repliek in reconventie, tevens houdende wijziging van eis van [gedaagde sub 15], met productie;
- vonnis van deze rechtbank d.d. 1 april 2009, waarbij de incidentele vordering ex artikel 843a Rv deels is toegewezen en tevens een comparitie van partijen is gelast ten aanzien van Transformanagement, Chilston Park, [gedaagde sub 3], Valtop Consultancy, Valtop Beheer, [gedaagde sub 10], [gedaagde sub 11], Giam, [gedaagde sub 13], Bubuco en [gedaagde sub 15];
- de conclusie van dupliek in conventie, tevens conclusie van repliek in (voorwaardelijke) reconventie van [gedaagde sub 6], met producties;
- de conclusie van dupliek in conventie, tevens conclusie van repliek in (voorwaardelijke) reconventie van Jamabel, met productie;
- de conclusie van dupliek in conventie, tevens conclusie van repliek in (voorwaardelijke) reconventie van Zuidsingel, met producties;
- de conclusie van dupliek in conventie, tevens conclusie van repliek in (voorwaardelijke) reconventie van Berkendaal, met producties;
- het proces-verbaal van de comparitie van partijen, gehouden op 8 juli 2009, in de zaken van PWS tegen Transformanagement, Chilston Park, [gedaagde sub 3], Valtop Consultancy, Valtop Beheer, [gedaagde sub 10], [gedaagde sub 11], Giam, [gedaagde sub 13], Bubuco en [gedaagde sub 15];
- de brief d.d. 23 juni 2009, met bijlagen, van de zijde van [gedaagde sub 3], Valtop Consultancy en Valtop Beheer;
- de brief d.d. 24 juni 2009, met bijlagen, van de zijde van PWS;
- de akte tot wijziging van eis van de zijde van PWS;
- de akte houdende aanvullende producties in conventie en reconventie van de zijde van [gedaagde sub 13] en Bubuco;
- de antwoordakte aanvullende producties in conventie en reconventie van de zijde van PWS;
- de conclusie van dupliek in reconventie, met producties, ten aanzien van [gedaagde sub 3], Valtop Consultancy, Valtop Beheer, [gedaagde sub 10], [gedaagde sub 11], Giam, [gedaagde sub 13], Bubuco en [gedaagde sub 15];
- de conclusie na comparitie tevens houdende wijziging van eis, met producties, ten aanzien van Transformanagement, Chilston Park, [gedaagde sub 3], Valtop Consultancy, Valtop Beheer, [gedaagde sub 10], [gedaagde sub 11], Giam, [gedaagde sub 13], Bubuco en [gedaagde sub 15];
- de antwoordconclusie na comparitie, met producties, van de zijde van Transformanagement en Chilston Park;
- de antwoordconclusie na comparitie van de zijde van [gedaagde sub 3], Valtop Consultancy en Valtop Beheer;
- de antwoordconclusie na comparitie van de zijde van [gedaagde sub 10], [gedaagde sub 11] en Giam;
- de antwoordconclusie na comparitie, tevens houdende wijziging van eis, met producties, van de zijde van [gedaagde sub 13] en Bubuco;
- de antwoordconclusie na comparitie van de zijde van [gedaagde sub 15];
- het proces-verbaal van de comparitie van partijen, gehouden op 28 juni 2010, in de zaken van PWS tegen [gedaagde sub 6], Jamabel, Zuidsingel en Berkendaal;
- de conclusie van dupliek in reconventie, met producties, ten aanzien van [gedaagde sub 6], Jamabel, Zuidsingel en Berkendaal;
- de conclusie na comparitie, tevens houdende wijziging van eis, met producties, ten aanzien van [gedaagde sub 6], Jamabel, Zuidsingel en Berkendaal;
- de antwoordconclusie na comparitie van de zijde van [gedaagde sub 6], Jamabel, Zuidsingel en Berkendaal, met producties;
- de nadere akte houdende aanvullende producties in conventie en reconventie van de zijde van [gedaagde sub 13] en Bubuco;
- de bij gelegenheid van de pleidooien overgelegde pleitnotities.
1.2.
De zaak tegen de oorspronkelijk als gedaagde 15 gedagvaarde [persoon 1] (hierna: [persoon 1]) is ingetrokken.
De conclusie van antwoord, tevens houdende de exceptie tot gefaseerde procesvoering van de zijde van [persoon 1], die door de andere gedaagden (in conventie/ eisers in [voorwaardelijke] reconventie) is ontvangen, behoort nog wel tot de processtukken.
1.3.
Ten slotte is vonnis bepaald.
2. De vaststaande feiten (voor wat betreft [gedaagde sub 3], Valtop Consultancy, Valtop Beheer, [gedaagde sub 6], Jamabel, Zuidsingel, Berkendaal, [gedaagde sub 10], [gedaagde sub 11], Giam, [gedaagde sub 13], Bubuco en [gedaagde sub 15] zowel in conventie als in [voorwaardelijke] reconventie)
Als enerzijds gesteld en anderzijds erkend dan wel niet of onvoldoende gemotiveerd weersproken, gelet ook op de in zoverre niet betwiste inhoud van de in het geding gebrachte producties, staat tussen partijen – voor zover van belang – het volgende vast.
Daarbij zij opgemerkt dat het in 2.1. tot en met 2.10. en vanaf 2.29. gaat om vaststaande feiten tussen PWS en al haar wederpartijen. In 2.11. tot en met 2.28. zijn steeds feiten vastgesteld tussen PWS enerzijds en de in het betreffende cursieve kopje genoemde partij(en) anderzijds.
PWS
2.1.
PWS is een woningbouwstichting en is eigenaresse van een groot aantal onroerende zaken (in en om Rotterdam) die zij verhuurt. Uit dien hoofde koopt en verkoopt PWS onroerende zaken en initieert zij tevens de ontwikkeling van projecten.
2.2.
In 1994 is de organisatie van PWS veranderd; toen werd een directeur/bestuurder aangesteld en als toezichthoudend orgaan een Raad van Toezicht ingesteld. Op grond van de statuten houdt de Raad van Toezicht toezicht op het bestuur.
[bedrijf 7]
2.3.
PWS heeft, vanaf de aankoop van de aandelen in deze vennootschap op 20 september 2000, haar activiteiten ter zake van projectontwikkeling ondergebracht in [bedrijf 7] (hierna: [bedrijf 7]).
2.4.
Alle aandelen in [bedrijf 7] worden gehouden door de Stichting VH2000+ (opgericht door PWS op 23 augustus 2000). [persoon 2] (hierna: [persoon 2]) is van augustus 2000 tot begin 2006 voorzitter van de Raad van Advies van de Stichting VH2000+ geweest.
2.5.
Valtop Consultancy, vertegenwoordigd door haar directeur [gedaagde sub 3], is van 20 september 2000 tot 11 september 2002 statutair directeur van [bedrijf 7] geweest.
[persoon 2]
2.6.
In de periode van juli 1998 tot oktober 2005 heeft [persoon 2] als enig statutair bestuurder/directeur van PWS gefungeerd.
2.7.
PWS heeft [persoon 2] op 7 februari 2006 op staande voet ontslagen als werknemer van PWS.
2.8.
Als enig statutair bestuurder van PWS heeft [persoon 2] PWS in de periode juli 1998 tot oktober 2005 vertegenwoordigd bij alle koopovereenkomsten die PWS is aangegaan ter zake van de aan- en verkoop van (pakketten) onroerende zaken. Ook overeenkomsten met tussenpersonen, taxateurs, makelaars en andere adviseurs zijn vrijwel steeds aangegaan door [persoon 2] als directeur/bestuurder van PWS.
2.9.
Op grond van de statuten van PWS behoefde [persoon 2] in de periode juli 1998 – oktober 2005 de voorafgaande goedkeuring van de Raad van Toezicht van PWS voor onder meer de aan- en verkoop(beslissingen) van (pakketten) onroerende zaken.
2.10.
In een civiele procedure waarin PWS [persoon 2] aansprak op basis van artikel
7:661 Burgerlijk Wetboek (BW) is op 26 mei 2009 arrest gewezen door het gerechtshof te ‘s-Gravenhage; [persoon 2] is daarbij veroordeeld tot betaling aan PWS van € 5.445.394,41. Tegen dit arrest is door [persoon 2] beroep in cassatie ingesteld, waarop nog niet is beslist.
Transformanagement/Chilston Park
2.11. [
persoon 2] is directeur/enig aandeelhouder van Transformanagement. Transformanagement is enig statutair bestuurder van Chilston Park.
[gedaagde sub 6]
2.12. [
gedaagde sub 6] is in 1987 in dienst van PWS getreden als procuratiehouder met de titel directeur en is kort daarna toegetreden tot de Raad van Bestuur. Na de reorganisatie van PWS was hij in de periode van 9 september 1994 tot 5 oktober 2004 voorzitter van de Raad van Toezicht van PWS. Hij werd opgevolgd door de huidige voorzitter van de Raad van Toezicht, de heer [persoon 3] (hierna: [persoon 3]). In de periode van 5 oktober 2004 tot 17 oktober 2005 was [gedaagde sub 6] vice-voorzitter van de Raad van Toezicht van PWS.
Jamabel/Berkendaal/Zuidsingel
2.13. [
gedaagde sub 6] houdt 84% van de aandelen in Jamabel. De resterende 16% wordt gehouden door zijn vier kinderen, onder wie [gedaagde sub 13] Directeur van Jamabel is [persoon 4], een dochter van [gedaagde sub 6]
2.14.
Jamabel is 100% aandeelhouder van Berkendaal en 100% aandeelhouder/enig statutair bestuurder van Zuidsingel. [gedaagde sub 6] is enig statutair bestuurder van Berkendaal.
[gedaagde sub 3]
2.15. [
gedaagde sub 3] was in de periode van 1998 tot 2000 interim hoofd projectontwikkeling bij PWS. Hij hield zich op exclusieve basis voor PWS bezig met ontwikkeling en realisering van bestaand en nieuw onroerend goed.
2.16.
Tussen 2000 en 2005 werden de werkzaamheden van [gedaagde sub 3] beheerst door de hierna onder 2.19. te noemen overeenkomsten van PWS met Valtop Consultancy.
2.17.
Vanaf begin 2005 heeft [gedaagde sub 3], op verzoek van ([persoon 2] namens) PWS, een afdeling vastgoed PWS opgezet. Medio 2005 was deze operationeel. Valtop Consultancy/[gedaagde sub 3] had een werkplek bij en ondersteuning van PWS.
Valtop Beheer/Valtop Consultancy
2.18. [
gedaagde sub 3] is sedert het begin van de jaren (19)90 enig statutair bestuurder/directeur van Valtop Beheer. Valtop Beheer is enig statutair bestuurder van Valtop Consultancy.
2.19.
Valtop Consultancy heeft op 1 februari 2000 met PWS een basisovereenkomst en een projectovereenkomst gesloten.
2.19.1.
De basisovereenkomst vermeldt, voor zover van belang:
Artikel 1:
“Valtop Consultancy B.V. stelt aan Patrimoniums Woningstichting te Delfshaven de heer ir. [gedaagde sub 3] beschikbaar om als interim-manager geheel zelfstandig en onder eigen verantwoordelijkheid de werkzaamheden uit te voeren, zoals omschreven in punt 1 van de als bijlage hierbij gevoegde projectovereenkomst tussen Valtop Consultancy B.V. en haar opdrachtgever, Patrimoniums Woningstichting te Delfshaven.”
Artikel 7:
“Valtop Consultancy B.V. declareert aan Patrimoniums Woningstichting te Delfshaven tegen een tarief van f 1950,= per aan de in artikel 1 bedoelde opdracht bestede werkdag, inhoudend acht uren.”
2.19.2.
De als bijlage bij de basisovereenkomst gevoegde projectovereenkomst luidt, voor zover van belang:
Punt 1:
“Taken
1.1
Adviseren van de bestuurder van PWS.
1.2
Vertegenwoordigen van PWS, voor zover het ontwikkelingsactiviteiten betreft in collegiaal overleg en in extern overleg.
1.3
Adviseren van de nieuw op te richten afdeling “commercieel vastgoed”.”
Punt 5.3:
“Ontwikkelingsprojecten binnen de regio Rijnmond zullen exclusief aangeboden worden aan PWS of aan haar gelieerde organisaties. Indien van het project afgezien wordt, is Valtop vrij naar eigen inzicht het project verder ter hand te nemen.”
2.20.
Nadat Valtop Consultancy was teruggetreden als directeur van [bedrijf 7] heeft Valtop Consultancy management- en advieswerk voor [bedrijf 7] verricht.
[gedaagde sub 11]/Giam
2.21. [
gedaagde sub 10] is enig aandeelhouder en statutair bestuurder van [gedaagde sub 11]. De (ex-)echtgenote van [gedaagde sub 10], mevrouw [persoon 5], is enig aandeelhouder en statutair bestuurder van Giam (geweest).
[gedaagde sub 13]/Bubuco
2.22. [
gedaagde sub 13] is enig aandeelhouder en statutair bestuurder van Bubuco.
[gedaagde sub 15]
2.23. [
gedaagde sub 15] was in de periode 1997-2000 directeur van [bedrijf 1], één van de vennoten van [bedrijf 2].
2.24.
Een overeenkomst tussen [gedaagde sub 15] (namens [bedrijf 2] en in privé) en Jamabel houdt onder meer in dat [bedrijf 2] na het aangaan van een overeenkomst met PWS inzake de koop en herontwikkeling van het project Kwarts (in dit geding ook aangeduid als St. Jacobsplaats) aan Jamabel een vaste vergoeding verschuldigd is van in totaal ƒ 1.500.000,=. Deze overeenkomst is gedateerd 28 januari 1998 en is ondertekend met twee onleesbare handtekeningen zonder naamsvermelding.
2.25.
Een overeenkomst tussen [gedaagde sub 15] (namens [bedrijf 2] en in privé) en Jamabel, aangeduid met code D/132, houdt onder meer in dat [bedrijf 2] een eenmalige vergoeding betaalt aan Jamabel ten bedrage van ƒ 350.000,= onder de voorwaarde “dat Jamabel NV en haar adviseur zich sterk zullen maken om PWS er van te overtuigen dat de verkoopprijs (ad fl 220.000,-) wordt verhoogd tot fl 260.000,- waarbij de opbrengst voor PWS hetzelfde blijft”. Deze overeenkomst is ongedateerd en alleen namens Jamabel ondertekend.
2.26.
Een overeenkomst tussen [gedaagde sub 15] (namens [bedrijf 2] en in privé) en Jamabel houdt onder meer in dat [bedrijf 2] een vergoeding betaalt aan Jamabel gelijk aan 4 x 105 x ƒ 5.000,= (derhalve ƒ 2.100.000,=) onder de voorwaarde “dat Jamabel NV en haar adviseur zich sterk zullen maken om PWS er van te overtuigen dat de verkoopprijs (ad fl 220.000,-) wordt verhoogd tot fl 260.000,- waarbij de opbrengst voor PWS hetzelfde blijft”. Deze overeenkomst is ongedateerd en namens [gedaagde sub 15], [bedrijf 2] en Jamabel ondertekend. Op deze overeenkomst staat op pagina 2 bij de paragraaf beginnende met: “Betaling van de overeengekomen vergoeding zal plaatsvinden…” met pen de volgende tekst bijgeschreven:
1) een bedrag ad 500.000,-
2) een bedrag ad 800.000,-
3) een bedrag ad 800.000,-
Onderaan pagina 2 staat met pen de volgende tekst bijgeschreven: 1 en 2 betaald.
2.27.
Een als bijlage 5 bij het rapport van 17 maart 2006 van Ernst & Young Security & Integrity Services B.V. (hierna: Ernst & Young) gevoegde overeenkomst tussen PWS en [bedrijf 2] houdt in:
“IN AANMERKING NEMENDE:
dat PWS erfpachtster is van een perceel grond, gelegen te Rotterdam nabij de Sint Jacobsplaats (…). (…)
dat PWS een gedeelte van de op de voornoemd perceel gerealiseerde woningen wenst te verkopen. (…)
dat de Woningen gerenoveerd dienen te worden.
(…)
VERKLAREN TE ZIJN OVEREENGEKOMEN ALS VOLGT:
Artikel 1.
1.1
PWS verkoopt aan [bedrijf 2] gelijk [bedrijf 2] van PWS koopt 110 Woningen als in de considerans omschreven, hierna ook omschreven als “het Verkochte”.
1.2
De koopsom, hierna te noemen “de Koopsom”, bedraagt f 8 miljoen.
(…)
1.4
De betaling van de koopsom vindt plaats zodra [bedrijf 2] de Woningen met inachtneming van deze overeenkomst heeft gerenoveerd en opgeleverd aan de uiteindelijke kopers.
1.5
Levering van de appartementsrechten vindt op het in het vorige lid bedoelde moment plaats door PWS aan de uiteindelijke koper.
(…)
Artikel 3. (…)
3.2
De stichtingskosten van de Woningen bedraagt gemiddeld f 220.000,- per woning, levering vrij op naam.”
Deze overeenkomst is gedateerd 28 januari 1998 en is namens PWS en [bedrijf 2] ondertekend met twee onleesbare handtekeningen zonder naamsvermelding.
2.28.
Een door de Fiscale Inlichtingen- en Opsporingsdienst (hierna: FIOD) aangetroffen document, aangeduid met code D/126, houdt in:
“Waarde [gedaagde sub 15],
bijgevoegd zend ik je, zoals wij afspraken, de declaratie voor de termijn van de Jacobsplaats ad
fl. 800.000,-
Na ontvangst van de betaling zal ik een bedrag ad. Fl. 200.000,- door storten naar [gedaagde sub 15] Holding b.v. bij nummer 36.17.05.603. of een andere door jou op te geven bestemming.
Ik heb met de andere partners afgesproken dat de laatste overeengekomen termijn eerst per eind februari 2000 zal worden gedeclareerd.
Met betrekking tot het projekt aan de Noord Molenwerf had ik een gesprek met [persoon 2]. (…)
Ik maakte met behulp van jouw cijfermateriaal de volgende berekening. (…)
waardoor het bod naar PWS te stellen is op vrij op naam 13.000 **
hierdoor resteert 1.590
aftrekbare btw over verwervingskosten 1.715
beschikbaar voor pensioenfonds 3.305 **
Met het plaatsen van ** bedoel ik dat er een relatie ligt tussen deze getallen. Mag ik van jou vernemen of dit een basis is om verder over te spreken. Overigens besprak ik het concept met [persoon 2].”
Ernst & Young onderzoek
2.29.
PWS heeft naar aanleiding van de doorzoeking door de FIOD (zie onder 2.30.) aan Ernst & Young opdracht gegeven een onderzoek in te stellen. Het doel van het onderzoek was om feiten en omstandigheden te achterhalen die een indicatie kunnen geven voor de vraag of PWS bij onroerend zaaktransacties is benadeeld en zo ja, voor welke bedragen. Daarnaast werd met het onderzoek beoogd te achterhalen welke (rechts)personen bij die eventuele benadeling betrokken (zouden kunnen) zijn geweest. Ernst & Young heeft haar bevindingen neergelegd in twee rapporten van respectievelijk 14 februari 2006 (hierna: E&Y rapport I) en van 17 maart 2006 (hierna: E&Y rapport II). Het onderzoek heeft zich gericht op de periode van (15 juli) 1998 tot en met 2005.
Strafrechtelijk onderzoek
2.30.
Op 3 oktober 2005 heeft in het kader van een strafrechtelijk onderzoek van de FIOD een doorzoeking plaatsgevonden bij PWS in verband met het vermoeden van frauduleuze vastgoedtransacties. Het strafrechtelijk onderzoek richtte zich op [persoon 2], [gedaagde sub 6] en [gedaagde sub 3]. Ook bij [persoon 2] en [gedaagde sub 6] zijn huiszoekingen gedaan.
2.31.
PWS heeft op 11 april 2006 aangifte gedaan van onder meer valsheid in geschrift en/of oplichting. PWS is door het Openbaar Ministerie, met het oog op haar positie in het kader van het strafrechtelijk (voor)onderzoek, aangemerkt als benadeelde partij.
2.32.
De FIOD heeft bij haar doorzoeking in de woning van [gedaagde sub 6] drie documenten aangetroffen met als opschrift “Advies activiteiten en de partners in 2000”, “Advies activiteiten en de partners in 2001” en “[voornamen]”, welk laatste document betrekking heeft op de jaren 2002/2003 (aangeduid met code D/001, D/002 respectievelijk D/003).
2.32.1.
Het geschrift aangeduid met code D/001 luidt:

2.32.2.
Het geschrift aangeduid met de code D/002 luidt:

2.32.3.
Het geschrift aangeduid met code D/003 luidt:

2.33.
Een brief van 3 februari 2005 van [persoon 2] aan [gedaagde sub 11] (bijlage 18 bij E&Y rapport I) houdt in:
“Op 25 juni 2001 hebben wij met elkaar afgesproken dat uw bemiddelingsfee bij aan- en verkopen van bestaande en nieuwbouw woningen 1% van het aan- of verkoopbedrag exclusief BTW bedroeg.
Gezien de veranderde marktomstandigheden hebben wij in overleg met u afgesproken dat voor de huidige transactie deze fee wordt verlaagd naar 0,75% (…).”
2.34.
Een ambtsedig proces-verbaal van ambtshandeling (aangeduid met PV-code AH/75) met als opschrift “Overzicht 2001: Bremermax provisie Aelbrechtkade te Rotterdam” d.d. 22 november 2006, opgemaakt en ondertekend door [persoon 6] en [persoon 7], beiden ambtenaar van de Belastingdienst/FIOD-ECD, tevens buitengewoon opsporingsambtenaar, houdt in:


“RESUMÉ
Door [gedaagde sub 10] wordt op 7-8-2001 fl 75.000,- gestort op de bankrekening van Jamabel NV bij de ABN-AMRO te Rotterdam. [gedaagde sub 6] stort vervolgens van de Zwitserse bankrekening van Jamabel NV twee maal (het equivalent hiervan in Zwitserse francs) fl 25.000,- door op Zwitserse bankrekeningen van [persoon 2] en [gedaagde sub 3]. (…) [gedaagde sub 6] vermeldt bij de overboekingen naar [persoon 2] en [gedaagde sub 3] de omschrijving: “25.000 inzake Bremermax”. (…) Tevens heeft [gedaagde sub 10] de bemiddelingsprovisie die hij in [gedaagde sub 11] BV heeft ontvangen van P.W.S. ad fl 24.500,- met de drie functionarissen van P.W.S. gedeeld door fl 18.000,- over te maken aan Valtop Consultancy BV van [gedaagde sub 3].”
2.35.
Een ambtsedig proces-verbaal van ambtshandeling (aangeduid met PV-code AH/70) met als opschrift “Overzicht 2000: Comanco NV” d.d. 22 november 2006, opgemaakt en ondertekend door [persoon 6] en [persoon 7], voornoemd, houdt in:

“RESUMÉ
Eljawa Beheer BV heeft fl 10.600.000 ontvangen voor de onroerende zaaktransactie van Giam Projectadviesbureau BV ([gedaagde sub 10]), onder voorwaarde dat Eljawa Beheer BV fl 1.454.831 doorstort op een rekening van Comanco NV waarover [gedaagde sub 10] de beschikking had.
(…) Giam heeft voor fl 12.200.000 de van Eljawa Beheer BV gekochte onroerende zaken met een aantal andere onroerende zaken doorverkocht aan P.W.S. (…) Van de provisie van Eljawa Beheer BV ad fl 1.454.831 heeft [gedaagde sub 10] van de rekening van Comanco NV fl 1.144.113 doorbetaald aan Jamabel NV. (…) [gedaagde sub 6] betaalde vervolgens fl 368.023 door aan zowel [gedaagde sub 3] als [persoon 2] op hun Zwitserse bankrekening.”
2.36.
Een ambtsedig proces-verbaal van ambtshandeling (aangeduid met PV-code AH/76) met als opschrift “Overzicht 2001: [gedaagde sub 11]: Slaakhuys (en Rijnhotel)” d.d. 22 november 2006, opgemaakt en ondertekend door [persoon 6] en [persoon 7], voornoemd, houdt in:
“D/380 Een afgedrukt e-mailbericht van Jamabel NV [e-mailadres 1] (…) gedateerd woensdag 24 oktober 2001 om 16.06 uur, met als onderwerp: de appeltjes!!!!!!!!!. Het e-mailbericht heeft de volgende tekst:
Middelaar, 24 oktober 2001
Waarde [voornaam],
Heden vlogen 60.625 appeltjes uit de hotelgaard naar de boompjesdijk, eigenlijk 62.500 maar Swiss air moet ook blijven vliegen.
De peertjes van onze [gedaagde sub 10] aan het sluisje zijn ook gaar, en consumeerbaar als je me vertelt waar je wilt eten.
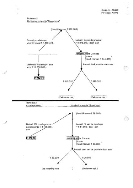
Met immer vriendelijke groet,
Uw dw. Inhaler”
(…)


“RESUMÉ
Provisie voor [gedaagde sub 10] [gedaagde sub 10] en [persoon 8] ad fl 500.000,- van [bedrijf 3]
Door [gedaagde sub 10] [gedaagde sub 10] en [persoon 8] worden de koper (P.W.S.) en de verkoper ([bedrijf 3]) van het pand “Slaakhuys” aan de Slaak 34 te Rotterdam bijeengebracht. Hiervan ontvangen zij een provisie van [bedrijf 3] ad fl 500.000,- (…). Zo maakt [persoon 8] de helft hiervan over naar een rekening van [gedaagde sub 10]. (…) [gedaagde sub 10] op zijn beurt keert ¾ van zijn deel uit aan Jamabel NV, om te delen met [gedaagde sub 6], [gedaagde sub 3] en [persoon 2]. (…) Ieder komt derhalve één vierde deel ad fl 62.500,- toe. Het deel voor [persoon 2] en [gedaagde sub 3] wordt door [gedaagde sub 6] verminderd met 3% van dit bedrag (…). Hierdoor ontvangen [persoon 2] en [gedaagde sub 3] uiteindelijk ieder fl 60.625,-. (…) [gedaagde sub 6] komt derhalve fl 62.500 + 2 maal fl 1.875 = fl 66.250 toe.
(…)
Ophoging koopprijs “Slaakhuys”
Los hiervan wordt door [gedaagde sub 10] [gedaagde sub 10] (…) de koopprijs van het pand “Slaakhuys” bij [bedrijf 3] verhoogd met fl 1.500.000,-. (…) Dit bedrag wordt door [bedrijf 3] uitgekeerd aan [gedaagde sub 11] BV. Van dit bedrag wordt door [gedaagde sub 11] fl 199.580,- aan omzetbelasting verschuldigd aan de Belastingdienst. Het restant ad fl 1.300.420 wordt vervolgens gelijkelijk verdeeld over [gedaagde sub 10], [gedaagde sub 6], [persoon 2] en [gedaagde sub 3]. Ieder komt derhalve één vierde deel ad fl 325.105,- toe. Het deel voor [persoon 2] en [gedaagde sub 3] wordt door [gedaagde sub 6] verminderd met 3% van dit bedrag (…). Hierdoor ontvangen [persoon 2] en [gedaagde sub 3] uiteindelijk ieder fl 315.352,-. [gedaagde sub 6] komt derhalve fl 325.105 + 2 maal fl 9.753 = fl 344.611 toe.
(…)
Bemiddelingsfee voor [gedaagde sub 11] BV inzake transactie “Slaakhuys”
Naast het delen in zowel de provisie als de verhoging van de koopprijs van het “Slaakhuys” deelt [gedaagde sub 10] ook de door hem ontvangen courtage/bemiddelingsfee ad fl 112.000,- die [gedaagde sub 11] BV aan P.W.S. mocht factureren. Hij deelt dit wederom gelijkelijk met [gedaagde sub 6], [persoon 2] en [gedaagde sub 3]. Ieder komt derhalve één vierde deel ad fl 28.000,- toe. Het deel voor [persoon 2] en [gedaagde sub 3] wordt door [gedaagde sub 6] verminderd met 5% van dit bedrag (…). Hierdoor ontvangen [persoon 2] en [gedaagde sub 3] uiteindelijk ieder fl 26.600,- hiervan. [gedaagde sub 6] komt derhalve fl 28.000 + 2 maal fl 1.400 = fl 30.800 toe. [persoon 2] heeft dit geld via Jamabel NV op de bankrekening van zijn zoon [persoon 9] ontvangen. [gedaagde sub 3] heeft dit geld via Jamabel NV op zijn Zwitserse bankrekening ontvangen.”
2.37.
Een ambtsedig proces-verbaal van ambtshandeling (aangeduid met PV-code AH/10) d.d. 21 september 2005, opgemaakt en ondertekend door [persoon 10] en [persoon 11], beiden ambtenaar van de Belastingdienst, tevens buitengewoon opsporingsambtenaar, houdt in:
“Op 30 december 2002 heeft Eljawa Beheer BV in één levering 194 onroerende zaken verkocht aan TKN Totaal Kantoorautomatisering Nederland BV (hierna TKN) voor een koopprijs van
€ 11.219.797,70. Op dezelfde dag zijn deze onroerende zaken, eveneens in één levering door TKN doorverkocht aan Patrimoniums Woningstichting te Delfshaven (hierna PWS) voor een bedrag van
€ 13.345.707,16.”
2.38.
Een ambtsedig proces-verbaal van ambtshandeling met als opschrift “Overzicht 2002/2003: Pakket Groot deel 1 (via Atta) Compagnie (via Atta)” (aangeduid met PV-code AH/79) d.d. 22 november 2006, opgemaakt en ondertekend door [persoon 6] en [persoon 7], voornoemd, houdt in
“D/232 Een document met de volgende tekst:
[persoon 2],
Bijgevoegd de samengestelde declaratie van Bubuco ten behoeve van onze vriend. Kun jij hem deze morgenvroeg per fax doen toekomen zodat hij per omgaande telefonisch kan betalen.
Het is een samenvoeging van;
115.200
118.125
---------
233.325
aftrek 118.750 500/4-5% voor omweg
---------------------------------------------
114.575
Het origineel zend ik per post morgen naar zijn adres.
Gegroet,
[voornaam]”
(…)

“RESUMÉ
P.W.S. heeft via Atta Makelaars BV gezocht naar onroerende zaken in Rotterdam om in te investeren. Atta heeft middels zijn contacten met [persoon 12] een “projekt” gevonden. (…) de betrokken onroerende zaken zijn uiteindelijk afkomstig van [persoon 13] en zijn Eljawa Beheer BV. Eljawa Beheer BV verkoopt aan TKN BV van [persoon 12] en vervolgens verkoopt TKN BV op zelfde dag door aan P.W.S.
(…)
€ 500.000,- via Bubuco BV
Uit de transactiewinst voor TKN BV wordt direct bij de notaris een provisie aan Bubuco BV betaald ter grootte van € 500.000,- (exclusief € 95.000,- BTW). (…)
[gedaagde sub 13], zoon van [gedaagde sub 6], [is] directeur van Bubuco BV (…). [gedaagde sub 6] droeg vervolgens zorg voor het doorsluizen van deze provisie naar [persoon 2] (…), [gedaagde sub 3] (…) en naar (…) Atta Makelaars BV. Vervolgens heeft Bubuco BV doorbetaald aan Transformanagement BV (van [persoon 2]) en aan [gedaagde sub 6] via Berkendaal BV (…) en verrekend met Atta Makelaars.
(…)
€ 600.000,- in contanten
Daarnaast wordt de transactiewinst voor TKN BV door de notaris uitgekeerd op de privébankrekening van [persoon 12]. Van de privébankrekening van [persoon 12] worden door [persoon 12] diverse contante opnamen gepleegd.
(…)
Courtage TKN-deal
Tevens is de courtage met betrekking tot de TKN-deal ad € 192.000,- die Atta Makelaars aan P.W.S. heeft gefactureerd door [persoon 1] gedeeld met de functionarissen van P.W.S. en [persoon 12] van TKN BV. Ieder komt van deze courtage derhalve € 192.000,- gedeeld door 5 is
€ 38.400,- toe.
Courtage projekt “Compagnie”
Daarnaast is eveneens de courtage met betrekking tot een onroerende zaak transactie genaamd “compagnie (via Atta)” ad € 157.500,- die Atta Makelaars aan P.W.S. heeft gefactureerd door [persoon 1] gedeeld met de functionarissen van P.W.S. Deze courtage heeft [persoon 1] middels Atta Makelaars aan P.W.S. gefactureerd. Ieder komt van deze courtage derhalve € 157.500,- gedeeld door 4 is € 39.375,- toe.”
2.39.
Door de FIOD is aangetroffen een factuur d.d. 5 januari 2003 van Bubuco aan Marritta Management B.V. voor een bedrag van € 500.000,= vermeerderd met € 95.000,= BTW, aangeduid met code D/248. De omschrijving op de factuur luidt:
“Vergoeding voor de informatie- en databestanden ten behoeve van een inventarisatie en herontwikkeling advies van onroerend goed projecten alsmede een bijdrage in de reis en verblijfkosten.”
2.40.
Door de FIOD is aangetroffen een factuur d.d. 14 januari 2003 van Bubuco aan Atta Makelaars B.V. voor een bedrag van € 114.575,= vermeerderd met € 21.769,25 BTW, aangeduid met code D/249. De omschrijving op de factuur luidt:
“Beoordeling, advisering en advies alsmede tot standkoming overeenkomst.”
2.41.
Door de FIOD is aangetroffen een factuur (creditnota) d.d. 2 maart 2003 van Bubuco aan Atta Makelaars B.V. voor een bedrag van € 3.740,38 vermeerderd met € 710,67 BTW, aangeduid met code D/250. De omschrijving op de factuur luidt:
“Wegens overeengekomen vermindering van honorarium”.
2.42.
Een door de FIOD aangetroffen declaratie d.d. 6 augustus 1999 van Jamabel aan Almeas V.O.F./[gedaagde sub 15], aangeduid met code D/228, houdt in:
“Conform overeenkomst met [gedaagde sub 15] van 12 maart 1999 heeft onze onderneming met de U bekende partners zich ingespannen met betrekking tot de realisatie van het woningbouwproject gelegen aan de St. Jacobsplaats te Rotterdam.
Wij kwamen voor onze honorering een vaste vergoeding overeen op basis van no-cure, no pay, die thans ineens invorderbaar is, wij declareren derhalve de derde termijn.
overeengekomen vergoeding fl. 800.000,-“
2.43.
Een ambtsedig proces-verbaal van ambtshandeling (aangeduid met PV-code AH/77) met als opschrift “Overzicht 2002/2003: [pakket 1] (via Atta) en Pakket Groot deel 2 (via Atta)” d.d. 22 november 2006, opgemaakt en ondertekend door [persoon 6] en [persoon 7] voornoemd, houdt in:
“D/231 Een document aanvangend met “Ff de onderbouwing” en eindigend met “28.11.2002”. In dit document staat uitgewerkt dat Valtop € 260.677 aan [partij 1] declareert, dat de courtage ad
€ 35.940,- van Atta aan Patrimoniums Woningstichting te Delfshaven hierbij wordt opgeteld, waarna het totaal bedrag in vieren wordt gedeeld, (zodat Atta na de ontvangen courtage van € 35.940,- nog
€ 38.214,25 toekomt. Opmerking verbalisanten: dit komt overeen met één vierde deel van het totaalbedrag.
(…)
D/230 Een E-mail van Valtop Consultancy BV / [gedaagde sub 3] aan Carpe diem (opmerking verbalisanten: carpe diem staat vermoedelijk voor [gedaagde sub 6]) en [persoon 2] [persoon 2]. Verzonden op vrijdag 20 december 2002 om 19.04 uur. Hierin staat onder andere vermeld:
Onderwerp: Faktuur [bedrijf 10].xls
Tekst: Vrienden, het is binnen!!!!!!!!!!!!
Ik zie jullie facturen tegemoet!!
Gr [gedaagde sub 3]
Aan deze e-mail is een factuur zonder koptekst gehecht gedateerd 18 december 2002, gericht aan [bedrijf 10] met de volgende omschrijving: “Hierbij doen wij u onze faktuur toekomen voor herontwikkeling en adviezen in zake woningen en bedrijfsruimten diverse complexen”. Het gefactureerde bedrag bedraagt € 283.970 vermeerderd met 53.954,30 omzetbelasting.”
(…)


“RESUMÉ
[persoon 1] (Atta) heeft twee maal een onroerende zaaktransactie tot stand gebracht tussen P.W.S. (koper) en (een BV van) [persoon 14] (verkoper). In beide gevallen is de koopprijs voor P.W.S. verhoogd met een bedrag gelijk aan één maal de jaarhuur van het aangekochte “projekt”. Voor “[pakket 1] (via Atta)” werd de koopprijs opgehoogd met € 260.676,72 en voor “Pakket Groot deel 2 (via Atta)” werd de koopprijs opgehoogd met € 283.970,-.
(…)
In het geval van het projekt “[pakket 1] (via Atta)” heeft [persoon 1] de door Atta Makelaars BV van Patrimoniums Woningstichting te Delfshaven ontvangen courtage gedeeld met de betrokken functionarissen van P.W.S. Daarnaast is naar voren gekomen dat de gelden waarmee de koopprijzen van de onroerende zaken – zowel voor “[pakket 1] (via Atta)” als voor “Pakket Groot deel 2 (via Atta)” – voor P.W.S. zijn opgehoogd verdeeld zijn onder Atta ([persoon 1]), [gedaagde sub 6], [gedaagde sub 3] ([gedaagde sub 3]) en [persoon 2] ([persoon 2]). De delen van Atta, [gedaagde sub 6] en [gedaagde sub 3] en [persoon 2] zijn op rekening van besloten vennootschappen van betrokkenen terechtgekomen. Dit met uitzondering van het deel van [persoon 2] ([persoon 2]) met betrekking tot het projekt “[pakket 1] (via Atta)”. Ten aanzien van deze transactie is een bedrag groot
€ 74.000,- op de Zwitserse bankrekening van [persoon 2] terechtgekomen.”
2.44.
Een ambtsedig proces-verbaal van ambtshandeling (aangeduid met PV-code AH/71) met als opschrift “Overzicht 2000: Almaes inzake Jacobsplaats” d.d. 22 november 2006, opgemaakt en ondertekend door [persoon 6] en [persoon 7] voornoemd, houdt in:

2.45.
Een ambtsedig proces-verbaal van ambtshandeling (aangeduid met PV-code AH/78) met als opschrift “Overzicht 2002/2003: Pleinweg (via Bremamax)” d.d. 22 november 2006, opgemaakt en ondertekend door [persoon 6] en [persoon 7] voornoemd, houdt in:
“D/406 Een document gelijkend op D/003: het overzicht over 2002/2003 met als opschrift/kop de volgende tekst: “[gedaagde sub 6] en [gedaagde sub 3]”, waarop diverse penaantekeningen staan vermoedelijk met betrekking tot de verdeling van gelden met betrekking tot het projekt “Pleinweg (via Bremamax). De regel met betrekking tot dit project is geel gearceerd.
Opmerkingen verbalisanten
Op dit overzicht staan onder andere de volgende met rode pen geschreven aantekeningen:
“326.231,21 / 3 108.743,74”
Op de geel gearceerde regel staan de volgende bedragen: bij “Eventuele courtage”: 94.746, en bij “Oorspronk. bedrag”: 348.175
Onderaan het document staat geschreven:
108.743,74
- 100.000,- prive
8743,94 res Jamabel
Het document is aangetroffen in een mapje met opschrift “Pleinweg – Bremermax via jamabel (geen decl) december 2002”
Het bedrag vermeld bij “Oorspronk. bedrag” ad (€) 348.175 komt overeen met het bedrag op bijlage D/234: “Pleinweg ½ X huur = ca € 348.175,-“. Het bedrag bij “Eventuele courtage” ad (€) 94.746 wijkt af ten opzichte van “Courtage Bremamax = € 94.007,-“.
(…)
D/234 Een faxbericht van [persoon 2], vermoedelijk aan [gedaagde sub 6]. In het faxbericht staat het volgende:
Theo Pleinweg
[gedaagde sub 10] belt je en Atta Belt je
Pleinweg ½ X huur = ca € 348.175,- <- ----- I
Courtage Bremamax = € 94.007,- I
Koopsom = € 9.400.746,60 kk gebaseerd op 13,5 X huur
Totaal/4 = € 442.182/4”
(…)

“RESUMÉ
[gedaagde sub 10] heeft een onroerende zaaktransactie tot stand gebracht tussen P.W.S. (koper) en [persoon 15] (verkoper). De koopprijs voor P.W.S. is door functionarissen van P.W.S. (…) verhoogd met een bedrag van ongeveer een half maal de jaarhuuropbrengst van het aangekochte “projekt”. (…) Naar voren is gekomen dat dit geld, waarmee de koopprijs van het projekt “Pleinweg (via Bremamax” voor P.W.S. is opgehoogd, verdeeld is onder [gedaagde sub 11] ([gedaagde sub 10]), ([gedaagde sub 6]), ([gedaagde sub 3]) en [persoon 2] ([persoon 2]).
(…) Daarnaast heeft [gedaagde sub 10] de door Bremamax Beheer en Beleggingen BV (een vennootschap van [gedaagde sub 10]) van Patrimoniums Woningstichting te Delfshaven ontvangen courtage gedeeld met de betrokken functionarissen van P.W.S. ([gedaagde sub 6]) heeft van zijn aandeel ad € 108.743,- een bedrag groot € 100.000,- via Jamabel NV op zijn internetspaarrekening gestort. [persoon 2] ([persoon 2]) heeft zijn aandeel ad € 108.743,- via Jamabel NV op zijn Zwitserse bankrekening laten storten door [gedaagde sub 6]. (…)
[gedaagde sub 10] heeft zijn aandeel genoten op rekening van [gedaagde sub 11] BV en Bremamax Beheer en Beleggingen BV.”
2.46.
Een ambtsedig proces-verbaal van ambtshandeling (aangeduid met PV-code AH/72) met als opschrift “Overzicht 2000 en 2001: Dunehold” d.d. 22 november 2006, opgemaakt en ondertekend door [persoon 6] en [persoon 7] voornoemd houdt in:

“RESUMÉ (…)
Dunehold BV heeft (…) fl 1.306.138,- aan winst uitgekeerd aan Jamabel NV. Hiervan is in 2000
fl 600.000,- en in 2001 fl 600.000,- verdeeld onder (…) [persoon 2], (…) [gedaagde sub 6] (…) alsmede (…) [gedaagde sub 3] (…). Het geld is vanuit Jamabel gedeeltelijk (onder inhouding van het deel van [gedaagde sub 6] ad fl 212.000 + fl 406.000 = fl 618.000,-) doorbetaald aan [persoon 2] (fl 194.000 + fl 74.000 = fl 268.000,- op Zwitserse rekening en fl 23.000 op rekening van
B. Buschman [persoon 2]) en [gedaagde sub 3] (fl 194.000 + fl 97.000 = fl 291.000,- op Zwitserse rekening). De eindafrekening van Dunehold BV ad fl 106.138,- wordt door [gedaagde sub 6] op
6-8-2003 ontvangen op de bankrekening van Jamabel NV. [gedaagde sub 6] boekt dit bedrag vervolgens geheel over naar zijn privérekening.”
2.47.
Een ambtsedig proces-verbaal van ambtshandeling (aangeduid met PV-code AH/49) d.d. 25 januari 2006, opgemaakt en ondertekend door [persoon 7] voornoemd, houdt in:
“D/324 Door mij werd een document aangetroffen, waarvan door mij een afdruk is gemaakt. Dit document heb ik aangetroffen op de databestanden, afkomstig van de computer inbeslaggenomen op het adres te Steenbergen (…). Op deze afdruk is ondermeer het volgende te lezen:
Message 0003
From: [e-mailadres 1]
Date: Tue, 10 sep. 2002 12:40:08 + 0200
To: “[gedaagde sub 3], [e-mailadres 3]
[e-mailadres 2]
Subject: <No Subject>
Message Body
Waarde Vrienden,
Ik pleegde overleg met onze [persoon 16] over de beloning van onze geweldige denk inspanningen om zijn projecten succesvol te doen verlopen.
Ik declareerde heden een bedrag groot euro 22.800,-, derhalve per partner euro 7.600,-
Mag ik van jullie een aan Berkendaal b.v. gerichte declaratie ontvangen voor genoemd bedrag. Na ontvangst door mij zal ik dan e.e.a. door betalen.
Ik reken op tevredenheid voor mijn inspanningen.
Met groet
[gedaagde sub 6].
D/235 Door mij werd een document aangetroffen, waarvan door mij een afdruk is gemaakt. Dit document heb ik aangetroffen op de databestanden, afkomstig van de computer inbeslaggenomen op het adres te Middelaar (…). Op deze afdruk is ondermeer het volgende te lezen:
(…)
From: [persoon 2] [persoon 2]
Date: 20-9-2002(..)
To: [e-mailadres 1]
Message Body
Beste vriend, zou het mogelijk zijn om jou (…) op Jamabel NV een factuur te sturen (…)
Bij voorbaat mijn dank en niet doorsturen naar de leden van de RvT (…)
[persoon 2](op vrijdagmiddag doe ik leuke dingen zoals dit)”
2.48.
Tegen [persoon 2], [gedaagde sub 6] en [gedaagde sub 3] loopt thans een strafrechtelijk vooronderzoek.
2.49.
Het strafrechtelijk (voor)onderzoek dat zich richtte tegen Bubuco, Valtop Consultancy, Transformanagement en Berkendaal als verdachten heeft geleid tot een sepot. Ook het strafrechtelijk (voor)onderzoek dat zich richtte tegen [gedaagde sub 15] heeft geleid tot een sepot nadat [gedaagde sub 15] had voldaan aan de door de Officier van Justitie gestelde voorwaarde.
3. Het geschil
in conventie
3.1.
De gewijzigde vordering luidt – samengevat en zakelijk weergegeven – om bij vonnis uitvoerbaar bij voorraad:
- Transformanagement hoofdelijk te veroordelen aan PWS te betalen een bedrag van
€ 3.405.183,98 met rente en kosten;
- Chilston Park te veroordelen aan PWS te betalen een bedrag van € 84.610,00 met rente en kosten;
- [ gedaagde sub 3] hoofdelijk te veroordelen aan PWS te betalen een bedrag van € 11.313.850,62 met rente en kosten;
- Valtop Consultancy en Valtop Beheer hoofdelijk te veroordelen aan PWS te betalen een bedrag van € 2.154.216,90 met rente en kosten;
- [ gedaagde sub 6] hoofdelijk te veroordelen aan PWS te betalen een bedrag van
€ 11.313.850,62 met rente en kosten;
- Jamabel hoofdelijk te veroordelen aan PWS te betalen een bedrag van € 4.972.774,16 met rente en kosten;
- Zuidsingel hoofdelijk te veroordelen aan PWS te betalen een bedrag van € 81.680,44 met rente en kosten;
- Berkendaal hoofdelijk te veroordelen aan PWS te betalen een bedrag van € 918.806,09 met rente en kosten;
- [ gedaagde sub 10] hoofdelijk te veroordelen aan PWS te betalen een bedrag van € 2.937.969,23 met rente en kosten;
- [ gedaagde sub 11] hoofdelijk te veroordelen aan PWS te betalen een bedrag van
€ 2.672.108,46 met rente en kosten;
- Giam hoofdelijk te veroordelen aan PWS te betalen een bedrag van € 726.048,35 met rente en kosten;
- [ gedaagde sub 13] en Bubuco hoofdelijk te veroordelen aan PWS te betalen een bedrag van
€ 1.818.765,14 met rente en kosten;
- [ gedaagde sub 15] hoofdelijk te veroordelen aan PWS te betalen een bedrag van € 1.111.761,53 met rente en kosten;
een en ander kosten rechtens, de kosten van de gelegde beslagen daaronder begrepen, met rente.
3.2.
Gedaagden voeren gemotiveerd verweer, dat strekt tot afwijzing van de vordering.
3.3.
Op de stellingen van partijen wordt hierna, voor zover van belang, nader ingegaan.
in reconventie
3.4.
De gewijzigde vordering van [gedaagde sub 3], Valtop Consultancy en Valtop Beheer luidt – samengevat en zakelijk weergegeven – om bij vonnis:
- de door PWS ten laste van [gedaagde sub 3], Valtop Consultancy en Valtop Beheer gelegde beslagen op te heffen;
- voor recht te verklaren dat PWS onrechtmatig heeft gehandeld jegens [gedaagde sub 3] en/of Valtop Consultancy en/of Valtop Beheer;
- PWS te veroordelen aan [gedaagde sub 3], Valtop Consultancy en Valtop Beheer te vergoeden de door hen geleden schade met rente, nader op te maken bij staat;
- PWS te veroordelen tot vergoeding van gederfde inkomsten in verband met afgebroken architectuuropdrachten met rente, nader op te maken bij staat, en PWS te veroordelen tot voldoening van openstaande facturen, waaronder begrepen de aan [gedaagde sub 3] toekomende winstuitkering over het jaar 2005, met rente;
kosten rechtens.
3.5.
De vordering van [gedaagde sub 6] luidt – samengevat en zakelijk weergegeven – om bij vonnis uitvoerbaar bij voorraad:
- voor recht te verklaren dat PWS onrechtmatig heeft gehandeld jegens [gedaagde sub 6];
- PWS te veroordelen aan [gedaagde sub 6] te vergoeden de door hem geleden schade, nader op te maken bij staat;
- PWS te veroordelen aan [gedaagde sub 6] te betalen een voorschot ten bedrage van € 200.000,00 met rente;
kosten rechtens.
3.6.
De vordering van Jamabel luidt – samengevat en zakelijk weergegeven – om bij vonnis uitvoerbaar bij voorraad:
- voor recht te verklaren dat PWS onrechtmatig heeft gehandeld jegens Jamabel;
- PWS te veroordelen aan Jamabel te vergoeden de door haar geleden schade, nader op te maken bij staat;
- PWS te veroordelen aan Jamabel te betalen een voorschot ten bedrage van € 10.000,00 met rente;
kosten rechtens.
3.7.
De vordering van Zuidsingel luidt – samengevat en zakelijk weergegeven – om bij vonnis uitvoerbaar bij voorraad:
- voor recht te verklaren dat PWS onrechtmatig heeft gehandeld jegens Zuidsingel;
- PWS te veroordelen aan Zuidsingel te vergoeden de door haar geleden schade, nader op te maken bij staat;
- PWS te veroordelen aan Zuidsingel te betalen een voorschot ten bedrage van € 10.000,00 met rente;
kosten rechtens.
3.8.
De vordering van Berkendaal luidt – samengevat en zakelijk weergegeven – om bij vonnis uitvoerbaar bij voorraad:
- voor recht te verklaren dat PWS onrechtmatig heeft gehandeld jegens Berkendaal;
- PWS te veroordelen aan Berkendaal te vergoeden de door haar geleden schade, nader op te maken bij staat;
- PWS te veroordelen aan Berkendaal te betalen een voorschot ten bedrage van € 10.000,00 met rente;
kosten rechtens.
3.9.
De vordering van [gedaagde sub 10], [gedaagde sub 11] en Giam luidt – samengevat en zakelijk weergegeven – om bij vonnis uitvoerbaar bij voorraad:
- voor recht te verklaren dat PWS jegens [gedaagde sub 10] en/of [gedaagde sub 11] en/of Giam aansprakelijk is voor de schade die [gedaagde sub 10], [gedaagde sub 11] en Giam hebben geleden als gevolg van de door PWS ten laste van [gedaagde sub 10], [gedaagde sub 11] en Giam gelegde beslagen;
- PWS te veroordelen aan [gedaagde sub 10], [gedaagde sub 11] en Giam te vergoeden de door hen geleden schade, nader op te maken bij staat;
- PWS te veroordelen tot opheffing van de door haar ten laste van [gedaagde sub 10], [gedaagde sub 11] en Giam gelegde beslagen, zulks op straffe van een dwangsom;
kosten rechtens.
3.10.
De gewijzigde vordering van [gedaagde sub 13] en Bubuco luidt – samengevat en zakelijk weergegeven – om bij vonnis uitvoerbaar bij voorraad:
- voor recht te verklaren dat PWS onrechtmatig heeft gehandeld jegens [gedaagde sub 13] en/of Bubuco;
- PWS te veroordelen tot nakoming van de met [gedaagde sub 13] en Bubuco overeengekomen minnelijke regeling;
- PWS te veroordelen aan [gedaagde sub 13] en Bubuco te vergoeden de door hen geleden (materiële en immateriële) schade, nader op te maken bij staat;
- de door PWS ten laste van [gedaagde sub 13] en Bubuco gelegde beslagen op te heffen;
kosten rechtens.
3.11.
De gewijzigde vordering van [gedaagde sub 15] luidt – samengevat en zakelijk weergegeven – om bij vonnis uitvoerbaar bij voorraad:
- PWS te veroordelen tot opheffing van de door haar ten laste van [gedaagde sub 15] gelegde beslagen;
- PWS te veroordelen aan [gedaagde sub 15] te vergoeden de door hem geleden schade, waaronder begrepen de huurkosten, met rente;
kosten rechtens.
3.12.
PWS voert gemotiveerd verweer, dat strekt tot afwijzing van de respectieve vorderingen.
3.13.
Op de stellingen van partijen wordt hierna, voor zover van belang, nader ingegaan.
4. De beoordeling
in conventie
Splitsing
4.1. [
gedaagde sub 3] c.s. ([gedaagde sub 3], Valtop Consultancy en Valtop Beheer), [gedaagde sub 15] en [gedaagde sub 13] c.s. ([gedaagde sub 13] en Bubuco) hebben verzocht om afsplitsing van hun zaken. PWS heeft zich daartegen verzet.
4.1.1.
Voor wat betreft de zaken tegen [gedaagde sub 15] en [gedaagde sub 13] c.s. zal de rechtbank dat verzoek toewijzen. Gegeven enerzijds de reeds gebleken aanzienlijke vertraging die het onvermijdelijk gevolg is van het gevoegd houden van de zaken, waarin de betrokken partijen - naar vanzelfsprekend hun goed recht is - elk een eigen koers volgen, en anderzijds de duidelijke en in het hierna volgende nader te bespreken verschillen tussen de feitelijke posities en de gemaakte verwijten acht de rechtbank de verwevenheid van de feiten en de daaruit voortvloeiende wens van PWS om de zaken tezamen te blijven behandelen niet langer zwaarwegend genoeg.
De zaak van PWS tegen [gedaagde sub 15] en de zaak van PWS tegen [gedaagde sub 13] c.s. zullen dus elk worden afgesplitst. De beslissingen over kosten in die procedures worden gereserveerd tot de eindbeslissing in die zaken.
4.1.2.
Voor wat betreft de zaak tegen [gedaagde sub 3] c.s. is de rechtbank daarentegen van oordeel, dat sprake is van een zo grote verwevenheid tussen de posities van enerzijds [gedaagde sub 3] c.s. en anderzijds [gedaagde sub 6] c.s. ([gedaagde sub 6], Jamabel, Zuidsingel en Berkendaal) en [gedaagde sub 10] c.s. ([gedaagde sub 10], [gedaagde sub 11] en Giam) dat de belangen van een goede rechtsbedeling meebrengen dat van splitsing geen sprake kan zijn. De belangen van [gedaagde sub 3] c.s. wegen niet tegen de aan splitsing verbonden nadelen op.
Wel zal de zaak in reconventie worden afgesplitst als hierna onder 4.147.3. nader te bespreken.
Inhoudelijk-algemeen-aanpak
4.2.
PWS baseert haar vorderingen in de kern op de stelling dat zij is benadeeld door onrechtmatige gedragingen van gedaagden, bestaande uit betrokkenheid in diverse hoedanigheden bij doorleveringen van onroerend goed, andere onroerend goed transacties, aan adviseurs betaalde vergoedingen en neveninkomsten van haar directeur [persoon 2]. Het gaat daarbij om de projecten Aelbrechtskade, Giam-pakketten, Rijnhotel, TKN pakketten A tot en met E, Vissersdijk, Atta-pakket, Schoterbos, St. Jacobsplaats, Woonplus I en II, Slaakhuys, Ruygrok, Pleinweg, Dunehold, Hooge Marinier en Branderspoort, die zich alle hebben afgespeeld in de periode juli 1998 - oktober 2005. De rechtbank zal hierna per “cluster” van gedaagden, zoals in de tussenvonnissen reeds aangeduid, de vorderingen behandelen. Daarbij zullen de zaken van [gedaagde sub 6], Jamabel, Zuidsingel en Berkendaal (gedaagden 6 tot en met 9; [gedaagde sub 6] c.s.) vóór die van [gedaagde sub 3], Valtop Consultancy en Valtop Beheer (gedaagden 3 tot en met 5; [gedaagde sub 3] c.s.) worden besproken. Daarbij zullen voorts eerst de processuele/formele verweren (voor zover gevoerd) worden besproken, vervolgens de algemene uitgangspunten worden geschetst die voor die (groep van) gedaagde(n) gelden, waarna de verwijten per onderdeel/project zullen worden behandeld.
4.3.
Aan de eerder in de procedure ingenomen stelling dat elk van gedaagden zelf onrechtmatig heeft gehandeld dan wel onrechtmatig heeft nagelaten te handelen, zodat hen dus elk een eigen verwijt te maken is, heeft PWS bij gelegenheid van het pleidooi subsidiair de stelling toegevoegd dat sprake is van groepsaansprakelijkheid als bedoeld in artikel 6:166 Burgerlijk Wetboek (BW). De rechtbank zal hierna die verschillende juridische grondslagen behandelen met inachtneming van deze door PWS zelf aangebrachte rangorde.
4.4.
De rechtbank gaat er, mede gelet op de opstelling van partijen bij pleidooi, van uit dat de ter comparitie gemaakte afspraken met betrekking tot het parkeren van het debat over de schade gehandhaafd blijven. Dat betekent, dat, nadat een oordeel is gegeven over de vraag of sprake is van aansprakelijkheid (uit hoofde van art. 6:162 BW dan wel 6:166 BW) van de betreffende gedaagde(n) jegens PWS slechts zal worden bezien of voldoende aannemelijk is dat sprake is van enige schade; omtrent alle kwesties die samenhangen met de becijfering van de schade, maar ook met daarvoor relevante onderwerpen als medeschuld, eigen schuld en schadebeperking, zullen in dit vonnis, voor zover daartoe aanleiding bestaat, slechts voorlopige oordelen worden gegeven. Partijen kunnen ten aanzien van de nader aan te geven projecten/onderwerpen vervolgens het debat over de schade voortzetten in een schadestaatprocedure.
In dat verband, en met het oog op dat nadere debat, merkt de rechtbank thans het volgende op. Om tot het oordeel te kunnen komen dat één of meer gedaagden gehouden is/zijn aan PWS bedragen wegens vergoeding van schade te betalen, zal schade, dus nadeel voor PWS, moeten blijken en zal de omvang daarvan moeten worden begroot. Er zijn diverse benaderingen denkbaar, die vermoedelijk alle (afhankelijk van het project/de projecten en de posities van de betrokkene(n) in meer of mindere mate) complex zullen zijn. Op dit moment komt het de rechtbank voor dat vergelijking van de feitelijke situatie met een nader in te vullen hypothetische situatie in de rede ligt. In die hypothetische situatie zou, naar het zich laat aanzien, het onrechtmatig gedrag moeten worden weggedacht (hetgeen niet zonder meer betekent dat het betrokken project geheel wordt weggedacht); vervolgens zou kunnen worden bezien welke resultaten kundige en loyale bestuurders, werknemers en/of adviseurs van PWS in de betreffende periode al dan niet met dit specifieke project zouden hebben bereikt. Dat lijkt een ingewikkelde, tijdrovende en complexe exercitie te worden. Er kan ook gekozen worden voor een eenvoudiger benadering, bijvoorbeeld deze dat als hypothetisch vergelijkingsmateriaal wordt uitgegaan van normaal renderende, vergelijkbare projecten.
Denkbaar is voorts dat PWS (anders dan zij tot dusverre heeft gedaan) de schadebegroting via de met het onrechtmatig gedrag behaalde winst benadert, op de voet van art. 6:104 BW.
Het is aan partijen om zich daarop in het kader van het schadedebat nader te beraden en zich vervolgens daarover uit te laten.
De zaak tegen Transformanagement en Chilston Park
4.5.
De onrechtmatige daad die PWS verwijt aan Transformanagement en Chilston Park valt in twee delen uiteen, te weten de betrokkenheid bij een aantal projecten (na wijziging van eis uiteindelijk Atta, Woonplus II en de TKN-pakketten) en de nevenwerkzaamheden van [persoon 2], die via Transformanagement en Chilston Park werden beloond.
Formeel
4.6.
Bij conclusie van antwoord hebben Transformanagement en Chilston Park zich op het standpunt gesteld dat de dagvaarding in strijd is met artikel 111 en artikel 120 Wetboek van Burgerlijke Rechtsvordering (Rv) zodat PWS niet ontvankelijk verklaard moet worden. Daargelaten of gebreken op dit punt tot niet ontvankelijkheid zouden moeten leiden, nu Transformanagement en Chilston Park dit verweer in hun latere conclusies niet hebben herhaald, gaat de rechtbank ervan uit dat het verweer niet wordt gehandhaafd.
Positie beslissing gerechtshof-rechtbank (kantonrechter) in de zaak tegen [persoon 2]
4.7.
Aan hetgeen in het arrest van het gerechtshof ’s-Gravenhage in de procedure tussen PWS en [persoon 2] is overwogen en beslist (omtrent welk arrest partijen in deze procedure uitvoerige stellingen hebben ontwikkeld) komt in deze procedure geen formele betekenis toe. Dat arrest is immers gewezen tussen andere partijen dan de procespartijen in deze procedure, in een ander juridisch kader ([persoon 2] was werknemer van PWS) en op basis van de door die partijen in dat geding gestelde feiten en gevoerde verweren. Materiële betekenis voor dit geding komt aan hetgeen het gerechtshof in dat arrest heeft overwogen en beslist slechts toe met inachtneming van voorgaande relevante verschillen en indien en voor zover deze rechtbank dienovereenkomstig oordeelt op basis van haar zelfstandige afweging van hetgeen in dit geding is gesteld en gebleken. Daarop zal hierna, voor zover daartoe aanleiding bestaat, worden teruggekomen bij de behandeling van de specifieke verwijten.
Ditzelfde geldt mutatis mutandis voor de overwegingen en beslissingen van de kantonrechter in deze rechtbank in het vonnis dat is voorafgegaan aan voormeld arrest;
met name kunnen aan de enkele omstandigheid dat PWS tegen bepaalde beslissingen in dat vonnis niet in appel is opgekomen geen conclusies worden verbonden voor haar positie in dit geding.
Schadebeperking-voordeeltoerekening
4.8.
Transformanagement en Chilston Park menen dat PWS de schade aan zichzelf te wijten heeft, omdat een concreet aanbod is gedaan (door De Wilgen) om alle projecten die onderwerp zijn van deze procedure over te nemen voor een prijs die gelijk is aan de door PWS aan die projecten toegekende/ toe te kennen waarde.
Dat PWS heeft nagelaten een aanbod (van De Wilgen) te accepteren om alle projecten over te nemen, hetgeen bij de bespreking van haar schade in haar nadeel zou moeten werken, is op dit moment niet aannemelijk nu PWS ontkent dat dat aanbod voldoende concreet en expliciet aan een (beslissings)bevoegde vertegenwoordiger van PWS is gedaan. Bovendien brengt het gegeven dat, in het algemeen, van een benadeelde verwacht mag worden dat hij zijn schade zoveel mogelijk beperkt niet mee dat een aanbod als hier aan de orde, mede in aanmerking nemende de positie van PWS als woningcorporatie, zonder meer geaccepteerd had moeten worden. Dit verweer snijdt dus geen hout.
4.9.
Voor wat betreft de voordeeltoerekening geldt, dat thans niet, zeker niet zonder meer, duidelijk is dat of in hoeverre bij de relevante projecten sprake is van voordeel dat aan de onrechtmatige daad is toe te rekenen. Daarbij is van belang dat - ingevolge de strikte toepassing die de Hoge Raad in zijn jurisprudentie in dit verband aan de in artikel 6:100 BW gebruikte woorden “een zelfde gebeurtenis” geeft - een later opgekomen winst in verband met een geacquireerd project waarvan de acquisitie een onrechtmatig element bevat als hier aan de orde niet snel voor voordeeltoerekening in aanmerking zal komen. Voor zover het voor PWS mogelijk zou zijn geweest om met De Wilgen een voor PWS gunstige overeenkomst te sluiten, is dus niet zonder meer in te zien op grond waarvan eventueel uit een dergelijke transactie voor PWS voortvloeiend voordeel in mindering zou strekken op schade die voor PWS is voortgevloeid uit onrechtmatige daden van Transformanagement en Chilston Park. In het kader van het schadedebat kunnen partijen daarop echter desgewenst nader terugkomen.
Nevenwerkzaamheden
4.10.
PWS stelt zich op het standpunt dat het [persoon 2] niet vrij stond om naast zijn salaris als directeur van PWS verdiensten te genereren met werkzaamheden in de onroerend goed sector. Zijn arbeidsovereenkomst bevatte als artikel 7 lid 3 de passage:
“werknemer zal geen nevenwerkzaamheden, al dan niet gehonoreerd, uitoefenen zonder voorafgaande schriftelijke toestemming van werkgever. Werknemer heeft toestemming om voorzitter te blijven van Woningbouwvereniging Hoek van Holland en om incidentele managementtrainingen c.q. lezingen te geven, uiteraard in de vrije tijd van de werknemer en na voorafgaande melding aan de werkgever.”
Het handelen in strijd met deze bepaling dat PWS aan haar vordering ten grondslag legt, ziet concreet op:
het honorarium van [persoon 2], geïncasseerd door Transformanagement, de vennootschap waarvan hij directeur en enig aandeelhouder is, en de jaarvergoeding ad ƒ 15.000,= wegens het voorzitterschap van de Raad van Advies van de stichting VH2000+ (opgericht op 23 augustus 2000), in de jaren 2001-2005, aldus in totaal € 34.030,= (E&Y rapport I, p. 32);
betalingen in de jaren 1998-2001 ad in totaal ƒ 400.534,= (exclusief BTW) van [bedrijf 8] aan Transformanagement (E&Y rapport I, p.8 en p. 33-38, conclusie van repliek p. 51);
facturen van Transformanagement en Chilston Park aan Berkendaal en Bubuco verzonden tussen 4 januari 2001 en 10 oktober 2004, waarop betalingen zijn gevolgd van € 404.177,90 ten gunste van Transformanagement en € 84.610,= van Chilston Park (conclusie van repliek p. 52).
Volgens PWS zijn dit alle kwesties die niet onder de toestemming vastgelegd in de tweede zin van artikel 7 lid 3 van de arbeidsovereenkomst vallen en waarvoor [persoon 2] ook niet separaat toestemming heeft gevraagd (laat staan verkregen). Handelen en wetenschap van [persoon 2] als enig statutair bestuurder van Transformanagement en - via Transformanagement - van Chilston Park, kunnen aan die vennootschappen worden toegerekend. Daarmee hebben Transformanagement en Chilston Park onrechtmatig gehandeld jegens PWS. De schade die PWS daardoor heeft geleden is gelijk aan de ontvangen bedragen, aldus PWS.
4.11.
Transformanagement en Chilston Park hebben zich verweerd met de stelling dat eventueel handelen in strijd met de arbeidsovereenkomst door [persoon 2] niet gelijk gesteld kan worden aan een jegens PWS gepleegde onrechtmatige daad van Transformanagement en Chilston Park. Bovendien is tegen het oordeel van de kantonrechter op dit punt jegens [persoon 2], die de overeenkomstige vordering jegens [persoon 2] heeft afgewezen, door PWS geen appel ingesteld.
Transformanagement en Chilston Park hebben zich voorts op het standpunt gesteld dat [persoon 2] inderdaad via Transformanagement en Chilston Park bedragen op zijn Zwitserse bankrekeningen heeft ontvangen wegens advieswerkzaamheden, doch dat hem dat was toegestaan. Tussen [persoon 2] en PWS was aanvankelijk de afspraak dat een managementovereenkomst gesloten zou worden, in welk geval hij uiteraard ook werkzaamheden voor anderen dan PWS zou mogen verrichten. Daarvan is alleen afgezien omdat deelname aan het pensioenfonds door [persoon 2] dan onmogelijk zou worden.
Het uitgangspunt, dat [persoon 2] naast zijn werkzaamheden voor PWS ook andere, betaalde bezigheden mocht hebben is echter niet verlaten, mits deze niet strijdig waren met zijn werkzaamheden voor PWS; in die zin is artikel 7 lid 3 van de arbeidsovereenkomst geen juiste en complete weergave van de afspraken tussen partijen. PWS, in de persoon van [persoon 3], de huidige voorzitter van de Raad van Toezicht, was van de betreffende werkzaamheden van [persoon 2] voor [bedrijf 7] (a en b onder 4.10. hiervoor) op de hoogte en heeft daarvoor toestemming gegeven (conclusie van dupliek p. 11, bewijsaanbod conclusie na comparitie p. 13).
Voor wat betreft de werkzaamheden die zijn gefactureerd aan en betaald door Berkendaal en Bubuco (4.10. onder c hiervoor) geldt dat deze niet samenhangen met de door PWS gestelde fraude die voor het overige inzet van deze procedure is.
Voorts betreft het werkzaamheden voor derden die Transformanagement (in de persoon van [persoon 2]) in zijn vrije tijd heeft gedaan, terwijl dat op geen enkele wijze ten koste van zijn werk voor PWS is gegaan; dat is door PWS ook niet gesteld, laat staan onderbouwd. Er is dus geen sprake van onrechtmatig handelen. Daar komt bij dat de betaalde bedragen geen schade voor PWS opleveren. Het was immers geen werk dat [persoon 2] ook namens PWS had kunnen doen en de gelden waren hoe dan ook niet naar PWS gegaan, aldus nog steeds Transformanagement en Chilston Park.
4.12.
De rechtbank is van oordeel dat aan het arrest van het gerechtshof in de procedure tussen PWS en [persoon 2] geen betekenis toekomt voor wat betreft de neveninkomsten. Nog daargelaten het uitgangspunt als hiervoor onder 4.7. uiteengezet, brengt de aard van de afwijzing door de kantonrechter van dit onderdeel van de vergelijkbare vordering in die zaak dat mee; die afwijzing is immers gebaseerd op de constatering dat de schade bij gebreke aan feitelijke onderbouwing niet is komen vast te staan. In appel is aan dit onderdeel geen aandacht meer besteed. Waar in die zaak de schade niet (voldoende) was onderbouwd wil dat uiteraard niet zeggen dat dat thans ook in deze zaak niet het geval is.
Aan de omstandigheid dat PWS geen appel heeft ingesteld, dat wil zeggen, geen grief heeft gericht tegen afwijzing van de overeenkomstige vordering jegens [persoon 2] door de kantonrechter, komt zoals hiervoor reeds overwogen geen zelfstandige betekenis toe.
4.13.
De rechtbank verwerpt eveneens het verweer dat ziet op de onrechtmatigheid. Zoals ook uit de stellingen van Transformanagement en Chilston Park blijkt is over het arbeidscontract betrekkelijk uitvoerig onderhandeld, terwijl beide partijen deskundig waren, althans deskundige bijstand hadden. Aan de tekst van het onderhavige contract, waarin, met enige specifieke uitzonderingen die hier niet aan de orde zijn, nevenwerkzaamheden worden verboden is [persoon 2] dan ook gebonden. Omdat [persoon 2] de enig bestuurder van Transformanagement is moet zijn kennis aan Transformanagement worden toegerekend, zodat ook Transformanagement kan worden verweten dat deze overeenkomst door [persoon 2] is overtreden, nu Transformanagement [persoon 2] daarbij behulpzaam is geweest door facturen op haar naam te zenden en betalingen aan [persoon 2] door te geven. Dat geldt mutatis mutandis ook voor Chilston Park, dat via Transformanagement evenzeer door [persoon 2] wordt bestuurd.
Daarbij komt, dat uit de stukken blijkt dat de werkzaamheden in kwestie door [persoon 2] werden uitgevoerd juist omdat hij directeur was van PWS, althans tenminste dat hij bij die werkzaamheden zijn kennis vanuit die positie inzette. Of PWS met de werkzaamheden bekend was, zoals Transformanagement en Chilston Park stellen, doet niet ter zake, nu gesteld noch gebleken is dat zij ook wist van de (hoogte van de) financiële beloning. In zoverre is het bewijsaanbod van Transformanagement en Chilston Park niet ter zake.
4.14.
De rechtbank is echter, met Transformanagement en Chilston Park, van oordeel dat voor wat betreft de bedragen die gemoeid zijn met de werkzaamheden voor [bedrijf 7] (bedoeld onder 4.10. onder a en b hiervoor) PWS niet voldoende heeft gesteld en onderbouwd hoe en waarom dit onrechtmatig handelen van Transformanagement en Chilston Park tot schade van PWS geleid heeft. Het betreft hier betalingen van [bedrijf 7] wegens (niet [voldoende gemotiveerd] betwiste) daadwerkelijk verrichte werkzaamheden in de vrije tijd van [persoon 2] die geen verband houden met de fraudeverwijten. Deze betalingen zouden nooit aan PWS gedaan zijn en daarvan is ook niet gesteld dat die op enigerlei wijze zijn bekostigd uit gelden die anders aan PWS zouden zijn toegekomen.
Uit het overtreden van het verbod op nevenwerkzaamheden vloeit ook niet zonder meer voort dat de met die overtreding gegenereerde bedragen aan PWS moeten worden afgedragen; de overeenkomst voorziet daarin niet. Voor zover de stellingen van PWS moeten worden gezien als een beroep op ongerechtvaardigde verrijking is aan de daarvoor geldende eisen, bij gebreke van een verarming van PWS, niet voldaan.
4.15.
Voor wat betreft de hiervoor onder 4.10. onder c bedoelde facturen geldt, dat PWS stelt dat het hier valse facturen betreft en dat daar tegenover geen werkzaamheden hebben gestaan. De verklaring die Transformanagement en Chilston Park geven voor de facturen aan Bubuco, te weten coaching activiteiten van [persoon 2] ten behoeve van [gedaagde sub 13] zonder dat deze laatste van de coaching op de hoogte was, is zowel opzichzelf genomen als gelet op de verklaring van [gedaagde sub 13] zo onaannemelijk dat daaraan voorbij wordt gegaan. Dat coaching wordt gegeven waarvan de gecoachte persoon onkundig is moet immers minst genomen zeer uitzonderlijk worden geacht. Dat die gecoachte daarvoor vervolgens - via zijn vennootschap - betaalt, zonder te weten waarvoor wordt betaald, is redelijkerwijs uitgesloten. Deze facturen en de daarop gebaseerde betalingen ontberen dus een deugdelijke grond.
Voor wat betreft de facturen aan Berkendaal geldt, dat Berkendaal een door [gedaagde sub 6] gecontroleerde vennootschap is. De rol van [gedaagde sub 6] is zodanig dat, zoals hierna in de zaak tegen [gedaagde sub 6] c.s. zal worden overwogen, als onvoldoende gemotiveerd betwist moet worden aangenomen dat de door Berkendaal aan Transformanagement en Chilston Park betaalde bedragen (in elk geval ten dele) afkomstig zijn uit gelden die aan PWS hadden moeten toekomen, althans die kosten betreffen die PWS niet zou hebben gemaakt indien [persoon 2] en [gedaagde sub 6] zich naar behoren zouden hebben ingespannen om de belangen van PWS te dienen in plaats van hun eigen belangen. Uit de door de FIOD aangetroffen staatjes D/001, D/002 en D/003 (zie onder 2.32.1., 2.32.2. en 2.32.3.) blijkt immers dat sprake was van een verdeling tussen [persoon 2] en [gedaagde sub 6] van gelden, waarbij Transformanagement en Chilston Park door [persoon 2] werden gebruikt om facturen te schrijven en betalingen te ontvangen. Deze facturen zijn blijkens de aangetroffen mailwisseling (zie bijvoorbeeld onder 2.36. en 2.38.) opgesteld om de op andere gronden te effectueren geldstromen een (valse) schijn van legitimiteit te verlenen.
Dat betekent dat er op dit moment, ten aanzien van de verwijten hiervoor onder 4.10.
onder c., voldoende is gesteld (en niet door deugdelijk verweer ontzenuwd) aangaande de schade om het bestaan daarvan aannemelijk te achten. Het debat over de hoogte van de schade kunnen partijen in de schadestaatprocedure verder voeren.
Projecten-algemeen
4.16.
De (onderbouwing van de) verwijten die PWS Transformanagement (en - doch dat is niet geheel duidelijk - mogelijk ook Chilston Park) maakt (is) zijn gelijk aan de verwijten die PWS [persoon 2] maakte in de procedure die heeft geleid tot meergenoemd arrest, in combinatie met de stelling dat [persoon 2] enig beleidsbepaler in bedoelde vennootschap(pen) was. Het verweer in dit geding ziet niet op het aspect van de rol van [persoon 2] in Transformanagement en Chilston Park, in het bijzonder niet op de omstandigheid dat [persoon 2], zoals PWS stelt, als enig beleidsbepaler optrad. Daarmee is dus in deze procedure gegeven dat de kennis van [persoon 2] aan Transformanagement respectievelijk Chilston Park kan worden toegerekend.
Nu het gerechtshof over deze verwijten in meerbedoeld arrest heeft geoordeeld en Transformanagement en Chilston Park en PWS zich hierover in dit geding hebben kunnen uitlaten en dat ook daadwerkelijk (uitvoerig) hebben gedaan, zal de rechtbank de oordelen van het gerechtshof aangaande de onrechtmatige betrokkenheid van [persoon 2] bij een aantal projecten tot uitgangspunt nemen bij de beoordeling van de aan Transformanagement en Chilston Park gemaakte verwijten.
De rechtbank heeft daarbij mede acht geslagen op D/326, zoals geciteerd in productie 32 bij inleidende dagvaarding, waarin [persoon 2] (in het strafrechtelijk onderzoek, nadat hij gewezen was op zijn recht om geen vragen te beantwoorden c.q. geen verklaring af te leggen) expliciet aangeeft dat hij zowel Transformanagement als Chilston Park gebruikte om van daaruit te factureren. Bovendien geldt voor wat betreft de onrechtmatigheid, dat als aan de strenge eis van artikel 7:661 BW (waaraan het gerechtshof in het arrest toetste) is voldaan, in het algemeen ook aan de lichtere eis van artikel 6:162 BW is voldaan. Transformanagement en Chilston Park hebben daaromtrent ook geen inhoudelijke stellingen in andere zin ingenomen.
Atta
4.17.
PWS houdt Transformanagement (en kennelijk ook Chilston Park) aansprakelijk voor schade in verband met het project Atta. Het gerechtshof heeft geoordeeld dat PWS onvoldoende heeft gesteld om aansprakelijkheid van [persoon 2] vast te kunnen stellen. PWS heeft daaromtrent opgemerkt, dat daaraan geen beslissende betekenis toekomt omdat de maatstaf die het gerechtshof daar aanlegde die van artikel 7:661 BW was, dat wil zeggen dat opzet of roekeloosheid moet zijn gebleken. In deze procedure tegen Transformanagement en Chilston Park is “gewone” onrechtmatigheid voldoende. Uit D/003 (zie onder 2.32.3.) blijkt voorts dat een bedrag is overgemaakt aan Transformanagement wegens courtage.
4.18.
Transformanagement en Chilston Park hebben gemotiveerd verweer gevoerd en met name gewezen op de wel zeer summiere onderbouwing van de stellingen van PWS.
4.19.
De rechtbank is met Transformanagement en Chilston Park van oordeel, dat die onderbouwing van PWS onvoldoende is. In de FIOD-stukken die zijn overgelegd komen weliswaar vermeldingen van Atta voor, maar of en hoe die precies geacht moeten worden verband te houden met de verwijten die PWS nu aan Transformanagement en Chilston Park maakt is niet uitgewerkt. PWS noemt slechts een benadelingsbedrag.
Nu voorts vast staat dat Atta de (roep)naam is van een makelaar ([persoon 1], aanvankelijk medegedaagde in deze procedure) die bij meerdere transacties een rol heeft gespeeld, kon PWS hiermee niet volstaan.
4.20.
Gelet op dit gebrek aan onderbouwing kan ook de groepsaansprakelijkheid PWS niet baten. Er is sprake van een groep, in de zin van art. 6:166 BW, bestaande uit [persoon 2], [gedaagde sub 6] en [gedaagde sub 3]. Dat blijkt met name uit de staatjes D/001-003 en het hiervoor onder de vaststaande feiten geciteerde e-mail/faxverkeer (zie bijvoorbeeld onder 2.36., 2.38., 2.43. en 2.47.). Wat daarvan verder zij, voor aansprakelijkheid op basis van artikel 6:166 BW is echter in elk geval vereist dat aangaande het gepleegd zijn van de onrechtmatige daad door één van de leden van de groep voldoende is gesteld (en, bij betwisting, – uiteindelijk – is komen vast te staan). Gelet op het vorenstaande is daarvan geen sprake. Er is dus geen ruimte voor een veroordeling tot vergoeding van schade voor zover deze ziet op project Atta.
Woonplus II
4.21.
Het verwijt van PWS ziet op de factuur D/030 (productie 40 bij inleidende dagvaarding) van Transformanagement, waaraan geen werkzaamheden ten grondslag lagen. Het gerechtshof heeft geoordeeld dat sprake is van een onrechtmatige daad van [persoon 2] jegens PWS op dit punt. Transformanagement stelt zich op het standpunt met dit project niets van doen te hebben gehad.
4.22.
De door PWS overgelegde factuur voor ƒ 45.000,= van Transformanagement aan Valtop Consultancy is door [persoon 2] als bestuurder ondertekend. Nu Transformanagement zelf stelt niets met dit project van doen te hebben maar wel deze factuur heeft gestuurd, die, naar voldoende aannemelijk wordt uit het FIOD-rapport, ook is betaald, heeft niet alleen [persoon 2] maar ook Transformanagement zich aan een onrechtmatige daad jegens PWS schuldig gemaakt. Immers, de factuur heeft, gelet op het vorenstaande, louter als doel gehad een onoirbare geldstroom administratief te rechtvaardigen. Weliswaar is de factuur niet rechtstreeks door PWS betaald, maar uit hetgeen hierna over de samenwerking tussen [persoon 2], [gedaagde sub 3] en [gedaagde sub 6] zal worden overwogen en de rol die Valtop Consultancy daarbij heeft gespeeld wordt duidelijk, dat voldoende aannemelijk is dat deze geldstroom in elk geval ten dele bestaat uit gelden die aan PWS hadden moeten toekomen.
Over de omvang van de schade kunnen partijen na dit vonnis nader debatteren.
TKN-pakketten
4.23.
Voor deze transactie geldt mutatis mutandis hetzelfde als werd overwogen aangaande Woonplus II. Het gerechtshof heeft (in het arrest onder 3.17.) op basis van de toen en ook in deze procedure overgelegde bewijsstukken uit het FIOD-dossier (D/003,
AH-77 [zie onder 2.43.] en in het bijzonder D/230) geconcludeerd, dat [persoon 2] op dit punt onrechtmatig heeft gehandeld jegens PWS. Uit diezelfde stukken blijkt, dat Transformanagement daarbij betrokken was. Een factuur (D/047) van Transformanagement aan Bubuco d.d. 4 januari 2001 ad € 67.445,=, aangetroffen bij zowel Transformanagement als Bubuco, komt overeen met de daadwerkelijk geëffectueerde geldstroom. Dit geldt eveneens voor de factuur D/251 (d.d. 4 januari 2003), een andere factuur van Transformanagement.
Het verweer van Transformanagement ziet slechts op de precieze berekening. Daarop kan, zo nodig, in het debat over de schadecijfers worden teruggekomen.
4.24.
Aan Chilston Park worden geen specifieke verwijten aangaande betrokkenheid bij projecten/transacties gemaakt. Voor zover PWS op dit punt toch iets bedoeld heeft te vorderen, dient die vordering als onvoldoende onderbouwd te worden afgewezen.
Conclusie
4.25.
Transformanagement en Chilston Park zijn dus aansprakelijk uit onrechtmatige daad jegens PWS, waarbij voorshands voldoende aannemelijk is dat PWS daardoor schade heeft geleden. De rechtbank zal de zaak daarom verwijzen naar de schadestaatprocedure. Partijen kunnen dan in dat kader, in lijn met hetgeen ter comparitie was afgesproken en met inachtneming van hetgeen hiervoor is overwogen, het debat over de schade in volle omvang voeren.
4.26.
Transformanagement en Chilston Park zullen als de grotendeels in het ongelijk gestelde partij in de kosten van dit geding worden veroordeeld.
De zaak tegen [gedaagde sub 6] c.s.
De nietigheid van de dagvaarding
4.27. [
gedaagde sub 6] c.s. ([gedaagde sub 6], Jamabel, Zuidsingel en Berkendaal) heeft gesteld dat de dagvaarding nietig is. PWS bestrijdt dat en meent voorts, dat [gedaagde sub 6] c.s. bij dat beroep in elk geval inmiddels geen belang (meer) heeft.
4.28.
De rechtbank is van oordeel dat [gedaagde sub 6] c.s. (nog steeds enig) belang heeft bij dit verweer. Dat, in voorkomend geval, een nieuwe procedure over dezelfde feiten aangespannen zou kunnen worden en dat inmiddels de stellingen nader zijn uitgewerkt doet aan het belang van [gedaagde sub 6] c.s. op dit punt, dat in elk geval gelegen is in beëindiging van de onderhavige procedure (met in dat geval - waarschijnlijk - een veroordeling van PWS in de proceskosten), niet af.
4.29.
Aan zijn verweer legt [gedaagde sub 6] c.s. ten grondslag dat hij in zijn verdediging is geschaad doordat in de dagvaarding slechts zeer summiere stellingen zijn opgenomen, waardoor voor hem niet duidelijk is op welke (feitelijke en juridische) gronden PWS hem aanspreekt voor het aanzienlijke bedrag dat in het petitum is genoemd. PWS kon niet volstaan met die summiere dagvaarding en het overleggen van en verwijzen naar een grote hoeveelheid onbecommentarieerde stukken, die voor een deel (met name voor zover het gaat om de aangifte) ook nog in strijd zijn met die dagvaarding, aldus [gedaagde sub 6] c.s.
PWS acht haar dagvaarding niet nietig; zij meent dat zij, gegeven de bij [gedaagde sub 6] c.s. aanwezige kennis, voldoende inzicht heeft gegeven in haar vordering en de gronden daarvan om een deugdelijke verdediging mogelijk te maken.
4.30.
De rechtbank stelt voorop dat de nietigheid waarop [gedaagde sub 6] c.s. zich beroept ziet op een formeel gebrek dat op grond van de wet tot nietigheid van de dagvaarding kan leiden, te weten schending van het voorschrift van artikel 111 lid 2 onder d Rv, dat eiser verplicht tot het in de dagvaarding vermelden van “de eis en de gronden daarvan”.
Nu [gedaagde sub 6] c.s. is verschenen brengt artikel 122 Rv mee, dat het beroep op nietigheid wordt verworpen indien het gebrek de gedaagde niet onredelijk in zijn belangen heeft geschaad.
Daaruit, en uit de omstandigheid dat de wetgever een breuk met de van oudsher geldende toets niet heeft gewild, vloeit voort dat dit verweer slechts wordt gehonoreerd als aannemelijk is dat gedaagde daardoor in de verdediging wordt benadeeld in die zin dat de verdediging in relevante mate wordt bemoeilijkt (NJ 1995, 269). Dat daarvan sprake is kan, volgens vaste jurisprudentie, slechts in uitzonderlijke gevallen worden aangenomen. De rechtbank acht een dergelijk uitzonderingsgeval hier niet aanwezig.
Dat het feitelijk relaas in de dagvaarding summier is en dat voor de onderbouwing deels wordt verwezen naar een groot aantal overgelegde maar niet nader toegelichte stukken, is op zichzelf juist. Dat is echter niet voldoende. Het gaat hier om een naar de bewoordingen duidelijke vordering, inhoudende dat [gedaagde sub 6] c.s. wordt veroordeeld tot betaling van een geldsom aan PWS als eiseres, die wordt toegelicht en onderbouwd met een weliswaar beknopt, maar wel coherent en redelijkerwijs te begrijpen feitelijk relaas aangaande een aantal vastgoedtransacties en een juridische duiding daarvan als onrechtmatige daad.
Voorts wordt daarbij verwezen naar de aangifte, een door PWS opgesteld en bijgevoegd stuk, die als ingevoegd moet worden aangemerkt; deze maakt daardoor op toelaatbare wijze deel uit van de dagvaarding. De verwijzing naar de bijgevoegde stukken was weliswaar niet op alle punten specifiek, maar in verband en samenhang met de dagvaarding was wel duidelijk wat het verwijt inhield. Daarmee was [gedaagde sub 6] c.s. voldoende duidelijk gemaakt wat werd gevorderd en waarom, en daarmee dus ook waartegen hij zich had te verweren. Dat, in de visie van [gedaagde sub 6] c.s., in de dagvaarding sprake is van inconsistenties, niet onderbouwde standpunten en veronderstellingen maakt dat niet anders; [gedaagde sub 6] c.s. kon immers bij het verweer, zoals hij ook heeft gedaan, daarop ingaan.
4.31.
Aan vorenstaand oordeel doet niet af dat het, blijkens artikel 21 Rv, de bedoeling van de wetgever is geweest dat de feiten die de grondslag vormen voor de eis zo duidelijk, waarheidsgetrouw en volledig mogelijk in de dagvaarding worden weergegeven. In voorkomend geval zou een presentatie van de vordering waarbij grote hoeveelheden stukken zonder deugdelijke toelichting worden overgelegd dan wel een deel van de relevante onderbouwende stukken pas in een later stadium van de procedure wordt overgelegd (waarop [gedaagde sub 6] c.s. bij conclusie na comparitie met nadruk wijst) ertoe kunnen leiden dat de rechtbank artikel 21 Rv geschonden acht. Bij de introductie van artikel 21 Rv is er echter uitdrukkelijk van afgezien om aan schending van die verplichting de sanctie van nietigheid van de dagvaarding te verbinden, zodat dit aspect voor het thans voorliggende verweer belang mist.
4.32.
Voor zover in de stellingen van [gedaagde sub 6] c.s. moet worden gelezen dat de procedure door voormelde opzet van de dagvaarding in zodanige mate niet aan de eisen van een eerlijk proces als bedoeld in artikel 6 EVRM voldoet dat de beginselen van goede procesorde meebrengen dat het nietig verklaren van die dagvaarding de enige passende sanctie zou zijn, snijden die stellingen evenmin hout. De rechtbank komt tot dat oordeel op de volgende gronden.
Voor beantwoording van de vraag of een procedure voldoet aan de eisen van artikel 6 EVRM moet, naar vaste jurisprudentie, de procedure in haar geheel worden bezien. Eigen aan de civiele procedure is een zekere ontwikkeling van het debat en de standpunten van partijen die voldoende mogelijkheden biedt voor een gedaagde om, als in een later stadium blijkt dat hij, al dan niet als gevolg van de beknoptheid van de dagvaarding, een bepaald aspect onbesproken heeft gelaten, dat later alsnog te bespreken. Dit kan, omdat de procedure in haar geheel wordt bezien, ertoe leiden dat een aanvankelijk ontoereikend of summierlijk toegelichte vordering gelet op de nadere uitwerking toch de toets der kritiek kan doorstaan. In dit geval zijn de stellingen door PWS in haar latere processtukken verder uitgewerkt en onderbouwd, waarna [gedaagde sub 6] c.s. steeds in de gelegenheid is geweest - en die gelegenheid ook heeft benut - om daarop te reageren, zodat een eventueel gebrek in de dagvaarding [gedaagde sub 6] c.s. dus niet in de verdediging heeft geschaad.
Voorts is van belang dat in een civiele procedure als de onderhavige voor de rechter meerdere mogelijkheden bestaan om consequenties te verbinden aan een vorm van procesvoering waarbij de eiser nalaat deugdelijke verbanden te leggen tussen zijn stellingen en de overgelegde stukken. Onvoldoende duidelijk toegelichte stukken kunnen buiten beschouwing worden gelaten en stellingen kunnen als niet behoorlijk gemotiveerd worden gepasseerd.
Dit alles speelt zich af in het kader van de (bewijsrechtelijke) oordeelsvorming in ruime zin als bedoeld in artikel 149 Rv en verder, niet in het kader van de daaraan voorafgaande vraag of de dagvaarding nietig is, maar daarmee kan in voorkomend geval voldoende tegemoet gekomen worden aan bezwaren als door [gedaagde sub 6] c.s. genoemd en bestaat, ook vanuit het thans besproken gezichtspunt van een eerlijk proces, niet de noodzaak om een dagvaarding nietig te verklaren.
Tenslotte biedt de civiele procedure mogelijkheden om de partij die door een dergelijke wijze van procederen de wederpartij op kosten jaagt in de sfeer van de proceskostenveroordeling een correctie op te leggen. In dit kader is wel relevant de mate van complexiteit van de materie waarop de vorderingen betrekking hebben, alsmede de vraag of die complexiteit al dan niet mede toerekenbaar is aan enig handelen of nalaten van de wederpartij.
Alles overziende is, gegeven de nadere uitwerking en onderbouwing van haar stellingen door PWS en de mogelijkheden tot reactie daarop door [gedaagde sub 6] c.s., in verband gezien met de remedies die binnen de procedure bestaan, in dit geval voldaan aan de eisen van een eerlijk proces. Dit verweer wordt dus verworpen.
Er is geen sprake van nietigheid van de dagvaarding en er zal inhoudelijk worden ingegaan op de vordering en het verweer.
Eiswijziging en procedurele punten
4.33. [
gedaagde sub 6] c.s. heeft bij pleidooi bezwaar gemaakt tegen de wijziging van eis en aangevoerd dat deze niet duidelijk in de betreffende conclusie is vermeld; [gedaagde sub 6] c.s. klaagt er specifiek over dat aanvankelijk de onrechtmatigheid volgens PWS gelegen zou zijn in handelen in strijd met een wettelijke verplichting, terwijl thans strijd met de in het maatschappelijk verkeer betamelijke zorgvuldigheid wordt aangevoerd. Deze wijziging schaadt [gedaagde sub 6] c.s. naar zijn stelling in de verdediging en is in strijd met de goede procesorde.
Dit verweer wordt verworpen.
Dat de conclusie na comparitie een wijziging van eis bevat, staat in de kop daarvan vermeld. Inhoudelijk was uit de eerdere processtukken redelijkerwijs al duidelijk dat PWS zich
- ook - op strijd met hetgeen in het maatschappelijk verkeer betaamt baseerde. Niet in te zien valt - [gedaagde sub 6] c.s. heeft het ook niet toegelicht - welk verschil de explicitering die thans heeft plaatsgevonden gemaakt zou hebben voor de verdediging. Op de toevoeging van de subsidiaire grondslag - aansprakelijkheid ex artikel 6:166 BW - heeft [gedaagde sub 6] c.s. zijn pijlen niet gericht. Ambtshalve acht de rechtbank deze toevoeging toelaatbaar. Ten tijde van het pleidooi is nader verduidelijkt dat PWS, zoals ook uit de conclusie na comparitie is op te maken, de vordering primair blijft stoelen op artikel 6:162 BW. Slechts voor het geval de vordering op die grondslag niet toewijsbaar zou zijn wenst PWS dat de rechtbank de subsidiaire grondslag van artikel 6:166 BW behandelt. Nu bovendien bij gelegenheid van het pleidooi [gedaagde sub 6] c.s., voor zover nodig, op die subsidiaire grondslag heeft kunnen reageren, ziet de rechtbank geen strijd met de goede procesorde en - dus ook - geen aanleiding deze eiswijziging niet toe te staan. Derhalve zal op de gewijzigde eis recht worden gedaan.
4.34.
Bij conclusie na comparitie heeft [gedaagde sub 6] c.s. te kennen gegeven dat hij ten aanzien van het strafrechtelijk onderzoek - in het bijzonder het overleggen van het complete strafdossier, inclusief de resultaten van het gerechtelijk vooronderzoek - en ten aanzien van de uitkomst van de procedure van PWS tegen [persoon 2] nog een akte wil nemen alvorens vonnis wordt gewezen, als de rechtbank de onderhavige zaak niet aanhoudt totdat die beide procedures zijn voltooid (en als de rechtbank, zo begrijpt de rechtbank de opmerkingen van [gedaagde sub 6] c.s. bij pleidooi, de betreffende stukken bij haar beslissing wil laten meewegen). Voor zover [gedaagde sub 6] c.s. dit standpunt heeft willen handhaven, overweegt de rechtbank daaromtrent als volgt.
4.35.
Nu duidelijk is dat het gerechtelijk vooronderzoek, de daarop (eventueel) volgende behandeling van de strafzaak ter zitting alsmede de cassatieprocedure PWS-[persoon 2] niet op (voldoende) korte termijn gereed zullen zijn, ziet de rechtbank gelet op de eisen van een goede procesorde onvoldoende aanleiding de zaak aan te houden teneinde de uitkomsten daarvan af te wachten. Het betreft in beide gevallen procedures waarin de inzet weliswaar - tenminste ten dele - hetzelfde feitencomplex betreft, doch waarbij de verwijten anders zijn en de beoordeling aan de hand van andere maatstaven plaatsvindt, zodat een dergelijke aanhouding niet noodzakelijk is voor de oordeelsvorming in deze zaak.
4.36.
Ter voorkoming van misverstand merkt de rechtbank op, dat voor zover PWS meent dat de door haar overgelegde stukken uit het strafrechtelijk (voor)onderzoek een bijzondere waarde toekomt als bedoeld in artikel 161 Rv, dat onjuist is, nu van een strafrechtelijke veroordeling geen sprake is. Ook hebben de ambtsedige processen-verbaal van opsporingsambtenaren in deze civiele procedure niet de bijzondere bewijskracht die zij volgens de strafvorderlijke bewijsregels (artikel 344 Sv) hebben. Dat neemt niet weg, dat aan deze stukken volgens de normale regels van het civiele recht waarde toekomt voor het bewijs; daarop zal hierna worden teruggekomen, voor zover noodzakelijk en aan de orde.
Voor het arrest van het gerechtshof in de zaak tussen PWS en [persoon 2] geldt mutatis mutandis hetgeen daaromtrent onder 4.7. werd overwogen in het kader van de verwijten jegens Transformanagement en Chilston Park.
Aan het inmiddels overgelegde vonnis van de belastingkamer, waarvan het hoger beroep nog loopt, komt geen bijzondere betekenis toe; het betreft daar een toetsing aan andere normen. Weliswaar is daarbij [gedaagde sub 6] c.s. partij, maar niet is duidelijk wat, gelet op aard en inzet van die procedure, het verband met de huidige verwijten is en wie er schuil gaan achter de geanonimiseerde vennootschappen.
4.37.
Nu inmiddels bij pleidooi ruimte is geweest om naar voren te brengen hetgeen [gedaagde sub 6] c.s. nog nodig of wenselijk achtte en bij die gelegenheid desgewenst ook nog een akte genomen had kunnen worden, ziet de rechtbank evenmin aanleiding om op het punt van deze andere procedures nog een akte toe te staan. Wel zal, zoals onder 4.4 hiervoor reeds werd overwogen, het debat over de omvang van de schade, voor zover na de hierna te geven oordelen nog van belang, na dit vonnis kunnen worden voortgezet in een schadestaatprocedure.
Inhoudelijk-hoofdlijnen
4.38.
de vordering van PWS
PWS vordert van [gedaagde sub 6] c.s. in hoofdsom een bedrag van bijna € 12 miljoen.
Het gaat daarbij om een aantal projecten, waarbij het verwijt er in het algemeen, kort samengevat, op neer komt dat [gedaagde sub 6] jegens PWS een onrechtmatige daad heeft gepleegd door in zijn hoedanigheid van (aanvankelijk) voorzitter en (later) vice-voorzitter van de Raad van Commissarissen mee te werken aan vastgoedtransacties, vaak op instigatie van [persoon 2], die financieel nadeel voor PWS opleverden en door mee te delen in de aldus onrechtmatig gegenereerde bedragen. Hij moest de belangen van PWS be[persoon 8]igen, mocht geen werkzaamheden verrichten die daarmee strijdig waren en moest toezicht houden op het bestuur. [gedaagde sub 6] heeft in strijd met die verplichtingen gehandeld en in strijd met hetgeen, ten opzichte van PWS, in het maatschappelijk verkeer betaamde; hij koos (met [persoon 2] en [gedaagde sub 3]) de projecten, onderhandelde (mee) over de koopsom, bepaalde de hoogte van de provisie, onderhield de contacten met de tussenpersonen en zorgde dat de projecten werden geaccepteerd door de Raad van Toezicht door die Raad niet volledig te informeren, aldus PWS.
Ook de vennootschappen Jamabel, Zuidsingel en Berkendaal hebben, zo stelt PWS, een onrechtmatige daad jegens PWS gepleegd door actief mee te werken aan benadeling van PWS. Zij betaalden ontvangen bedragen door, waarbij onder meer valse facturen gebruikt werden. Wetenschap en gedrag van [gedaagde sub 6] kunnen aan die vennootschappen worden toegerekend, gelet op de nauwe band (vergelijk de vaststaande feiten onder 2.13. en 2.14.) die tussen [gedaagde sub 6] en die vennootschappen bestaat; ook de vennootschappen hebben gehandeld in strijd met hetgeen in het maatschappelijk verkeer jegens PWS betaamde. De schade moet gesteld worden op het verschil in koopsom (hetgeen door PWS teveel werd betaald dan wel te weinig ontvangen) dat is veroorzaakt althans mogelijk gemaakt door het handelen van [gedaagde sub 6] c.s. [gedaagde sub 6], Jamabel, Zuidsingel en Berkendaal ([gedaagde sub 6] c.s.) zijn, gelet op de samenhang, voor de schade alle hoofdelijk aansprakelijk.
PWS acht voor het bewijs van haar stellingen wezenlijk de overzichten D/001-003, die bij [gedaagde sub 6] zijn aangetroffen door de FIOD. D/001 en D/002 zijn door hem opgesteld, D/003 is door [persoon 2] opgesteld en naar hem toegefaxt. De betreffende bedragen zijn blijkens het FIOD-onderzoek daadwerkelijk op de bankrekeningen van [gedaagde sub 6] c.s. binnengekomen. Voor deze betalingen ontbrak elke deugdelijke grondslag.
4.39.
het verweer van [gedaagde sub 6] c.s.
[gedaagde sub 6] c.s. betwist een onrechtmatige daad gepleegd te hebben, dat eventueel onrechtmatig handelen aan hem is toe te rekenen en dat sprake is van daardoor veroorzaakte schade, laat staan van de gestelde omvang.
Voor wat betreft de onrechtmatigheid betwist [gedaagde sub 6] dat hij enige specifieke (wettelijke) verplichting jegens PWS en/of hetgeen uit de maatschappelijke betamelijkheid jegens haar voortvloeide heeft geschonden. [gedaagde sub 6] was, voordat hij werd aangetrokken door PWS, al geruime tijd werkzaam in de vastgoedsector; het sprak vanzelf dat hij zijn bezigheden voort mocht zetten. Zeker toen hij toetrad tot de Raad van Toezicht was dat duidelijk, nu dat een nevenfunctie betrof waar [gedaagde sub 6] slechts € 10.000,- per jaar voor ontving.
De normen die PWS geschonden acht bestonden niet in de periode dat [gedaagde sub 6]
(vice-)voorzitter van de Raad van Toezicht was, de statuten bepalen op dat punt niets relevants. Alleen ten aanzien van het project St. Jacobsplaats heeft [gedaagde sub 6] zich in het voortraject met het project bemoeid, en daarvoor had hij uitdrukkelijk mandaat van PWS. Voor het overige heeft hij zich in het voortraject niet met de projecten ingelaten.
Voor zover [gedaagde sub 6] bedragen heeft ontvangen staan daar daadwerkelijk verrichte werkzaamheden tegenover en/of berusten deze op daartoe gesloten overeenkomsten. Die werkzaamheden zijn door [gedaagde sub 6] niet verricht in zijn hoedanigheid als voorzitter van de Raad van Toezicht en het stond hem vrij die te verrichten. PWS was daarvan op de hoogte, zoals ook blijkt uit de verklaring van [persoon 3]. Dat [gedaagde sub 6] voor projecten waarvan hij bewerkstelligde dat PWS (en niet [gedaagde sub 6] zelf) die kon verwerven van de verkopende partij een vergoeding ontving, is redelijk. Dat hij deze vergoedingen via Jamabel, Zuidsingel of Berkendaal ontving gaat PWS niet aan. Deze vennootschappen hebben evenmin enige norm jegens PWS geschonden. Niet is voldaan aan het relativiteitsvereiste, aldus nog steeds [gedaagde sub 6] c.s.
4.40.
Aangaande de toerekenbaarheid betwisten [gedaagde sub 6] en zijn vennootschappen dat hen een verwijt gemaakt kan worden, nu zij niet beoogden PWS te benadelen en zich daarvan ook niet bewust waren of hoefden te zijn. Overigens mogen [gedaagde sub 6] en zijn vennootschappen niet vereenzelvigd worden; hij is niet in privé aansprakelijk voor de schade uit eventuele onrechtmatige handelingen van zijn vennootschappen omdat hem daarvan geen ernstig persoonlijk verwijt gemaakt kan worden terwijl andersom de vennootschappen niet vereenzelvigd kunnen worden met [gedaagde sub 6]
4.41.
Voor wat betreft de schade meent [gedaagde sub 6] c.s. dat die ontbreekt. Voor elke aankoop geldt, dat de door PWS betaalde koopsom reëel was, dat deze is besproken en (unaniem) goedgekeurd in de Raad van Toezicht omdat zij voldeed aan de eigen investeringscriteria van PWS. Daarnaast geldt voor alle transacties dat uit de rapporten van Ernst & Young, een deskundige partij die onder meer was verzocht vast te stellen of sprake was van benadeling, blijkt dat die benadeling niet vastgesteld kon worden. Over de vergoedingen die [gedaagde sub 6] ontving werd pas onderhandeld nadat met PWS overeenstemming bereikt was over de koopprijs, zodat de koopprijs daardoor niet is verhoogd. Het verschil in koopprijs bij opeenvolgende transacties bij de gestelde doorleveringen is geen schade. Dat vastgoed wordt doorgeleverd is op zichzelf niet ongebruikelijk of onrechtmatig, evenmin als de omstandigheid dat daarbij winst wordt gemaakt. De projecten zijn verworven voor de door derden getaxeerde prijzen en voldeden aan de vooraf door PWS zelf vastgestelde rendementseisen.
4.42.
Voor zover het gaat om vergoedingen die [gedaagde sub 11] aan [gedaagde sub 6] (al dan niet via de vennootschappen) heeft betaald geldt, dat [gedaagde sub 11] een overeenkomst had met PWS die hem recht gaf op een aanbrengvergoeding/
commissie/courtage van 1% van alle ver- en aankopen van PWS. [persoon 3] was op de hoogte van die overeenkomst. De betalingen in het kader van de projecten Aelbrechtskade, Giam, Woonplus I en II, Slaakhuys en Pleinweg vloeien rechtstreeks voort uit die met [gedaagde sub 10] (Holding) gesloten overeenkomst. Jamabel heeft ten aanzien van de projecten Aelbrechtskade, Giam, Woonplus I en II, Slaakhuys en Pleinweg recht op vergoedingen uit hoofde van overeenkomsten met [bedrijf 2].
4.43.
Er is voorts aanleiding voor verrekening van het voordeel als bedoeld in artikel 6:100 BW. Bijvoorbeeld bij de projecten Pleinweg en Vissersdijk zijn aanzienlijke winsten gerealiseerd, zo stelt [gedaagde sub 6] c.s.
Tenslotte heeft PWS niet voldaan aan haar schadebeperkingsplicht omdat zij niet is ingegaan op het aanbod van De Wilgen om alle projecten/aankopen tegen kostprijs over te nemen, inclusief de gemaakte kosten.
4.44.
oordeel rechtbank
Voorop gesteld wordt dat partijen het er, terecht, over eens zijn dat het aan PWS als eiseres is om te stellen en, bij voldoende gemotiveerde betwisting, te bewijzen, dat aan de vereisten voor een onrechtmatige daad is voldaan. Dat op [gedaagde sub 6] c.s. een verzwaarde stelplicht zou rusten, zoals PWS meent, acht de rechtbank niet juist. Van een verplichting voor [gedaagde sub 6] c.s. om PWS aanknopingspunten te bieden voor de bewijsvoering van PWS zou hoogstens sprake kunnen zijn als voldoende aannemelijk was dat [gedaagde sub 6] c.s. beschikt over wezenlijke informatie (althans daarover geacht moet worden te kunnen beschikken omdat deze tot zijn domein behoort) waartoe PWS niet op andere wijze toegang heeft of kan krijgen. Dat zich een dergelijke situatie voordoet heeft PWS niet aannemelijk gemaakt. Niet in te zien valt dat of waarom sprake zou zijn van een relevant verschil in (toegang tot de relevante) informatie. PWS beschikt immers niet alleen over haar eigen administratie aangaande de projecten in kwestie, maar heeft bovendien de beschikking over de Ernst & Young rapporten en – tenminste een groot deel van – het FIOD-dossier. Dat betekent, dat de normale regels omtrent stelplicht en bewijslast van toepassing zijn.
4.45.
De rechtbank oordeelt tegen die achtergrond als volgt.
Voor wat betreft de onrechtmatigheid acht de rechtbank het handelen van [gedaagde sub 6] in strijd met hetgeen hem uit hoofde van de zorgvuldigheid in het maatschappelijk verkeer jegens PWS betaamde op de hierna nader toe te lichten gronden. Datzelfde geldt, in de hierna aan te geven gevallen, op mutatis mutandis dezelfde gronden voor de door [gedaagde sub 6] gecontroleerde vennootschappen Jamabel, Zuidsingel en Berkendaal.
4.46.
De specifieke (gedrags)regels waarop PWS zich beroept, met name in het kader van corporate governance, zijn inderdaad, zoals [gedaagde sub 6] c.s. terecht aanvoert, grotendeels tot stand gekomen nadat de onderhavige transacties werden gesloten. Ook juist is, dat in de constructie zoals die na 1994 bij PWS als woningcorporatie bestond
- een stichting met een éénhoofdig bestuur, waarop toezicht werd gehouden door een Raad van Toezicht - de regels die boek 2 BW geeft voor het bestuur en de Raad van Commissarissen van een vennootschap, niet rechtstreeks op [gedaagde sub 6] in zijn verhouding tot PWS van toepassing waren. Dat neemt echter niet weg dat er in de periode 1998-2005, de periode van de onderhavige transacties, in het maatschappelijk verkeer wel degelijk normen golden voor hetgeen toelaatbaar was in de verhouding tussen [gedaagde sub 6] als voorzitter van de Raad van Toezicht en PWS als stichting, en dat die normen vergelijkbaar waren met hetgeen in de wet was vastgelegd voor de Raad van Commissarissen ten opzichte van een vennootschap. PWS was geen vennootschap en had dus geen winstoogmerk, maar zij bewoog zich wel op een - tenminste ten dele - commerciële markt en van haar werd, naar [gedaagde sub 6] zelf ook benadrukt, een zakelijke opstelling verwacht.
Weliswaar bracht haar positie als woningcorporatie mee dat zij ook maatschappelijke doeleinden diende na te streven, maar dat maakte het eerder belangrijker dan minder belangrijk dat zorgvuldig met de beperkte middelen werd omgesprongen.
De positie van de Raad van Toezicht bij PWS was in hoge mate vergelijkbaar met die van een Raad van Commissarissen bij een vennootschap in de zin dat toezicht op het bestuur moest worden gehouden, waarbij een zekere distantie en onafhankelijk karakter noodzakelijk waren en werden verwacht. Dat bestrijdt [gedaagde sub 6] c.s. overigens niet, in zijn stukken gaat hij uitgebreid in op de waarborgen die er op dat punt waren, onder meer om de indruk weg te nemen dat de omstandigheid dat [persoon 2] en [gedaagde sub 6] oude vrienden waren een rol zou hebben gespeeld bij de benoeming van [persoon 2]. Daarbij gaf de omstandigheid dat het bestuur slechts uit één man bestond, zodat van collegiale controle geen sprake was, en [gedaagde sub 6] dat wist en die man bovendien (goed) kende, juist extra gewicht aan de toezichthoudende taak van de Raad van Toezicht en aan die eisen van distantie en onafhankelijkheid.
4.47.
Ook de omstandigheid dat de functie als voorzitter van de Raad van Toezicht ontegenzeggelijk een nevenfunctie was, mede gelet op de beloning van € 10.000,- per jaar, komt overeen met hetgeen gebruikelijk is voor het voorzitterschap van een Raad van Commissarissen in een onderneming van vergelijkbare grootte. Dat het [gedaagde sub 6] vrij stond om naast zijn voorzitterschap andere, betaalde werkzaamheden te verrichten wordt door de rechtbank tot uitgangspunt genomen. Als vaststaand wordt voorts aangenomen dat PWS wist dat hij andere, betaalde bezigheden had. Dat hij andere bezigheden heeft verricht is echter niet wat PWS hem verwijt. De kern van de verwijten is dat sommige van die bezigheden zodanig waren dat zij zich niet verdroegen met zijn voorzitterschap van de Raad van Toezicht. Daarbij gaat het om transparantie en belangenverstrengeling, met name in financiële zin.
[gedaagde sub 6] diende, omdat hij voorzitter van de Raad van Toezicht was, naar het oordeel van de rechtbank af te zien van het op enigerlei wijze participeren in of goedkeuren van vastgoedtransacties van PWS in verband waarmee hij, om welke reden dan ook, zelf of via een door hem gecontroleerde vennootschap, geld zou ontvangen. Het behoorlijk houden van toezicht op het bestuur ter zake van (voorgenomen) transacties brengt immers mee, dat geen sprake mag zijn van eigen belangen bij die transacties in de vorm van als gevolg daarvan te ontvangen geld. Dat is een maatschappelijke norm, die ook toen gold. PWS mocht er van uitgaan dat [gedaagde sub 6], toen hij het voorzitterschap accepteerde, zich er rekenschap van had gegeven dat dergelijk behoorlijk toezicht van hem verlangd werd.
Het gaat er dus in het bijzonder om dat PWS er, bij elke individuele transactie, van moest kunnen uitgaan dat (het bestuur en) de toezichthouder geen eigen financieel belang had(den) bij de transactie. Dit geldt ongeacht of al dan niet daadwerkelijk werkzaamheden zijn verricht -hier: door [gedaagde sub 6]- in het kader van die transactie. Onder omstandigheden is niet ondenkbaar dat een voor een concrete individuele transactie met PWS gemaakte afspraak ruimte zou hebben geboden voor financieel voordeel bij [gedaagde sub 6], maar daartoe heeft hij onvoldoende feiten en omstandigheden gesteld; dit zal hierna (waar nodig) worden besproken in het kader van de individuele projecten. De algemene overeenkomst tussen [gedaagde sub 6] en [gedaagde sub 11] in combinatie met een overeenkomst tussen [gedaagde sub 11] en PWS (waaraan bijvoorbeeld gerefereerd wordt onder 2.33.) -wat daarvan verder ook zij-, die volgens [gedaagde sub 6] c.s. de directe aanleiding en grond vormden voor de ontvangst van gelden door [gedaagde sub 6] (of een door hem gecontroleerde vennootschap), neemt op zichzelf niet de bezwaren weg die zijn verbonden aan een eigen (financieel) belang van [gedaagde sub 6] bij transacties van PWS.
Overigens geldt wel dat evident is, kennelijk ook voor [gedaagde sub 6] c.s. zelf, dat het verdienen aan transacties van PWS ernstig laakbaar is als van feitelijk verrichte werkzaamheden die betreffende verdiensten rechtvaardigen en/of een overeenkomst die strekt tot vergoeding daarvan geen sprake was.
Uit het vorenstaande vloeit voort dat de hoogte van de ter zake van een object betaalde (of in een enkel geval, ontvangen) prijs en het gegeven dat die voldeed aan de rendementseisen van PWS niet ter zake doen voor de onrechtmatigheid, evenmin als de goedkeuring van de voltallige Raad van Toezicht, als die niet op de hoogte was van de achterliggende geldstromen. De toepasselijkheid van de corporate opportunities-leer is in dit verband niet van belang. Op deze aspecten zal hierna, zo nodig, per project worden teruggekomen in verband met de vraag of voldoende is gesteld (dan wel bewezen) aangaande de aannemelijkheid van schade.
4.48. [
gedaagde sub 6] moet, in zijn positie, in redelijkheid het laakbare van zijn handelwijze hebben beseft. De wijze waarop gecommuniceerd werd duidt er op dat hij dat ook besefte. Er zijn diverse e-mails aangetroffen waaruit blijkt dat [persoon 2], [gedaagde sub 6] en [gedaagde sub 3] veelvuldig contact hadden over financiële kwesties. Die mails zijn niet te verenigen met de openheid van zaken tegenover de Raad van Toezicht waartoe [gedaagde sub 6] verplicht was; de rechtbank wijst op de e-mail van [persoon 2] waarin gevraagd werd de Raad van Toezicht niet op de hoogte te stellen, waarna [gedaagde sub 6] dat ook niet heeft gedaan (D/235, zie 2.47.). Tenslotte is van de drie overzichten waarin de verhouding tussen de aan [persoon 2], [gedaagde sub 3] en [gedaagde sub 6] c.s. toebedeelde bedragen werd verantwoord er één, naar voldoende aannemelijk is geworden, door [gedaagde sub 6] zelf opgesteld (D/002) terwijl ze alle drie bij [gedaagde sub 6] zijn aangetroffen, zodat hij daarvan op de hoogte moet zijn geweest. Deze overzichten, in combinatie met de e-mails, laten geen andere verklaring toe dan deze, dat [gedaagde sub 6] wist dat (buiten de rest van de Raad van Toezicht om) bedragen werden verdeeld zonder dat daarvoor een deugdelijke rechtvaardiging bestond en daarmee ook dat [persoon 2], [gedaagde sub 3] en hijzelf misbruik maakten van hun positie bij PWS om zichzelf te verrijken. Tenslotte wijst ook het gebruik van Zwitserse bankrekeningen op bewustzijn bij [gedaagde sub 6] dat de geldstromen in kwestie een onoirbaar karakter hadden.
De rechtbank is derhalve van oordeel dat [gedaagde sub 6] jegens PWS onrechtmatig heeft gehandeld. Nu de gevolgde gedragslijn geheel is gebaseerd op bewuste keuzes van [gedaagde sub 6] dient zijn onrechtmatige gedrag hem ten volle te worden toegerekend, waarbij de aard van de onrechtmatige gedragingen een ruime toerekening van schade rechtvaardigt. Deze aard komt er immers op neer, dat [gedaagde sub 6] met opzet heeft meegewerkt aan constructies die, voor iemand in zijn positie redelijkerwijs voorzienbaar, tot financieel nadeel voor PWS zouden (kunnen) leiden, terwijl hij in een vertrouwenspositie ten opzichte van PWS verkeerde waarin hij juist haar financiële belangen diende te beschermen.
Hoewel op zichzelf juist is dat [gedaagde sub 6] niet vereenzelvigd kan worden met Jamabel, Zuidsingel en Berkendaal brengt de positie die hij bij die vennootschappen bekleedde mee, dat zijn wetenschap aan die vennootschappen kan worden toegerekend.
In zoverre vloeit uit de onrechtmatigheid van de handelingen van [gedaagde sub 6] dan ook de onrechtmatigheid van de handelingen van bedoelde vennootschappen - die met name zagen op facturering en het ontvangen en doorbetalen van gelden - voort. Op de aansprakelijkheid van de vennootschappen wordt onder 4.96., na bespreking van de projecten, teruggekomen.
4.49.
Voor zover [gedaagde sub 6] c.s. zich heeft willen beroepen op medeschuld van PWS wordt dat beroep, gegeven de feitelijke situatie, verworpen. Waar hij zelf voor anderen binnen de Raad van Toezicht de geldstromen in kwestie verborgen hield kan hij PWS niet verwijten dat zij hem teveel heeft vertrouwd.
4.50.
Dat PWS heeft nagelaten een aanbod (van De Wilgen) te accepteren om alle projecten over te nemen, hetgeen bij de bespreking van haar schade in haar nadeel zou moeten werken, is niet aannemelijk, nu PWS ontkent dat dat aanbod voldoende concreet en expliciet is gedaan. De als productie 6 bij conclusie na comparitie door [gedaagde sub 6] c.s. overgelegde brief is, tegenover de verklaring van [persoon 17] op dat punt, gelet op de positie van [persoon 17] binnen PWS en gelet op de bewoordingen van meerbedoelde brief zelf (waren bereid-boden aan ... indien de prognoses dat zouden toelaten) in dat verband onvoldoende. Voor het overige geldt mutatis mutandis hetgeen onder 4.8. werd overwogen.
4.51.
Voor wat betreft de voordeeltoerekening geldt mutatis mutandis hetgeen daaromtrent onder 4.9. werd overwogen. In het kader van het schadedebat kunnen partijen daarop desgewenst nader terugkomen.
4.52.
Meer in het algemeen verdient opmerking dat uit het voorgaande niet zonder meer voortvloeit dat de schade gelijk is aan het verschil tussen de eerdere aankoopprijs en de door PWS betaalde prijs; daaromtrent zal (pas) na nader partijdebat over de schade zo nodig beslist (kunnen) worden.
de projecten nader bezien
Aelbrechtskade
4.53.
PWS vordert een bedrag groot ƒ 575.000,=, zijnde het verschil tussen de door PWS betaalde prijs van ƒ 2.450.000,= en de minder dan 2 maanden daarvoor door de vorige eigenaar, Eljawa Beheer BV, voor die panden betaalde prijs. Het gaat hier om een pakket in slechte staat verkerende woningen dat is aangekocht door PWS in 2001. De verdeling van een bedrag van ƒ 75.000,= door Bremermax (bedoeld zal zijn: Bremamax, een door [gedaagde sub 10] gecontroleerde vennootschap) over Jamabel, [gedaagde sub 3] en [persoon 2] blijkt uit het door [gedaagde sub 6] zelf opgestelde en door de Fiod aangetroffen staatje D/002. [gedaagde sub 10] heeft deze ƒ 75.000,= gestort op de bankrekening van Jamabel; Jamabel heeft vervolgens van haar Zwitserse rekening twee overschrijvingen van de tegenwaarde van
ƒ 25.000,= op de Zwitserse bankrekeningen van [persoon 2] en [gedaagde sub 3] gedaan. Daarbij wordt ook vermeld “provisie Bremermax Aelbrechtskade Rotterdam” (vergelijk de constatering van de FIOD, 2.34.) Voorts blijken [gedaagde sub 3] en [persoon 2] elk de tegenwaarde van
ƒ 25.000,= op Zwitserse bankrekeningen te hebben ontvangen.
4.54. [
gedaagde sub 6] c.s. stelt dat, omdat PWS niet zelf wilde onderhandelen met de verkoper, door [gedaagde sub 10] is bemiddeld; [gedaagde sub 11] heeft daarvoor een courtage van 1% ontvangen. Dat is in de Raad van Toezicht besproken en goedgekeurd. De vergoeding die [gedaagde sub 6] voor Jamabel heeft ontvangen van [gedaagde sub 11] vindt zijn rechtvaardiging in de overeenkomst die [gedaagde sub 11] en [gedaagde sub 6] hadden.
4.55.
Dat de door [gedaagde sub 6] c.s. bedoelde afspraak tussen [gedaagde sub 11] en PWS is gemaakt staat naar het oordeel van de rechtbank vast, gelet op de door PWS zelf overgelegde brieven (bijlage 18-120 bij E&Y rapport I; zie ook onder 2.33.). De huidige voorzitter van de Raad van Toezicht, [persoon 3], heeft voorts verklaard (bij de rechter-commissaris, in het kader van het gerechtelijk vooronderzoek; productie 6 bij antwoordconclusie na comparitie) dat een dergelijke afspraak is gemaakt, hij beschikte zelfs over de overeenkomst. Hij heeft in verband met dit project verklaard dat het voor het imago van PWS beter was om niet rechtstreeks zaken te doen met “louche” partijen als Eljawa, zodat het zijn voorkeur had om een tussenpersoon in te schakelen, hoewel hij daaraan toevoegt “als ons dat geen cent kostte”. Uit het FIOD-dossier, waarnaar PWS verwijst, blijkt dat een factuur van ƒ 24.500,= met vermelding van 1% commissiekosten ter zake van dit project aan PWS is gezonden.
Dit alles baat [gedaagde sub 6] c.s. echter niet.
Dat PWS van de betalingen van [gedaagde sub 11] aan [gedaagde sub 6] c.s. wist en deze had goedgevonden blijkt niet; gesteld is zelfs niet dat daarvan mededeling is gedaan. PWS hoefde ook niet te verwachten dat de voorzitter van haar Raad van Toezicht aan deze constructie zou verdienen; dat het [gedaagde sub 6] vrij stond andere zakelijke werkzaamheden tegen betaling te verrichten zag immers juist niet op transacties waarbij PWS betrokken was. Met betrekking tot dergelijke transacties diende voor [gedaagde sub 6] het belang van PWS steeds leidend te zijn, niet zijn eigen - met dat belang van PWS strijdige - belang om voor zichzelf geld te verdienen aan dergelijke transacties.
Tegen die achtergrond zijn de betalingen die [gedaagde sub 6] (via Jamabel, die - naar vast staat - geen werkzaamheden heeft verricht in dit kader) heeft geaccepteerd, onrechtmatig jegens PWS en kunnen de provisie-overeenkomst tussen PWS en [gedaagde sub 11] en de stellingen van [gedaagde sub 6] c.s. aangaande de afspraken tussen [gedaagde sub 10] en [gedaagde sub 6] deze niet rechtvaardigen. PWS ging er slechts van uit, en mocht er ook vanuit gaan, dat [gedaagde sub 11] een vergoeding voor haar bemiddeling ontving, niet dat [gedaagde sub 6] daarvan een gedeelte zou krijgen. Aangenomen mag worden dat PWS niet met een dergelijke vergoeding voor [gedaagde sub 11] zou hebben ingestemd indien [gedaagde sub 6] PWS had geïnformeerd over zijn rechtstreekse persoonlijke belang daarbij.
Voor wat betreft de schade voor PWS geldt, dat [gedaagde sub 6] c.s. niet heeft betwist dat Jamabel ƒ 75.000,= heeft ontvangen (en aan [persoon 2] en [gedaagde sub 3] elk ƒ 25.000,= heeft doorbetaald) in verband met deze transactie. PWS heeft dit niet separaat aan [gedaagde sub 10] betaald; het bedrag is bovendien hoger dan de provisie die [gedaagde sub 10] heeft ontvangen en er is geen enkele reden om aan te nemen dat [gedaagde sub 10] op de transactie heeft toegelegd, zodat het ervoor moet worden gehouden dat dit bedrag - tenminste ten dele - van de verkoper, Eljawa, afkomstig moet zijn. Dat deze dat voor eigen rekening genomen heeft zonder dat in de verkoopprijs aan PWS door te berekenen is zeer onaannemelijk, mede in aanmerking genomen het verschil van ƒ 575.000,= tussen de aankoopprijs die Eljawa 2 maanden eerder had betaald en de verkoopprijs die Eljawa met PWS heeft afgesproken. Het gedeelte van de provisie dat [gedaagde sub 11] bereid was aan derden af te dragen is dus, naar voldoende aannemelijk is, verkregen van PWS en betreft een kostenpost die PWS niet had behoeven te maken indien [gedaagde sub 6] (en Jamabel, door als doorgeefluik te functioneren) niet onrechtmatig zou(den) hebben gehandeld.
Hoewel, op basis van het FIOD-rapport (vgl. 2.34. hiervoor), niet kan worden volgehouden dat de exacte geldstromen vast staan, acht de rechtbank gelet op de ruime toerekening die in dit geval aan de orde is, voorshands bewezen dat in ieder geval ƒ 75.000,= aan schade is geleden door PWS als gevolg van de onrechtmatige daad van (onder meer) [gedaagde sub 6] Het staat partijen vrij om in de schadestaatprocedure het debat voort te zetten en daarin bewijsaanbiedingen te doen om een en ander beter in kaart te brengen.
Giam
4.56.
De met “Giam” aangeduide transactie betreft een aankoop door PWS op 26 mei 2000 (productie 32 conclusie van repliek, AH-70, zie ook 2.35. hiervoor). PWS stelt daaromtrent kort gezegd het volgende. Giam, een vennootschap die [gedaagde sub 10] zegt te beheersen, heeft het betreffende pakket gekocht van Eljawa voor ƒ 10.600.000,= en dezelfde dag doorverkocht aan PWS voor ƒ 12.200.000,=. Eljawa heeft ter zake per bank op 3 juni 2000 aan een buitenlandse vennootschap, Comanco, een bedrag van ƒ 1.454.831,= betaald; Comanco heeft enkele dagen later (5 juni 2000) ƒ 1.144.113,= betaald aan Jamabel. Op het bij [gedaagde sub 6] aangetroffen overzicht D/001 komt dit bedrag en de datum 5 juni 2000 met vermelding Comanco inzake Slier 2 voor (met vermeldingen in de kolommen bij [persoon 2] en [gedaagde sub 3]). Tegenover de FIOD heeft [gedaagde sub 10], nadat hij op zijn zwijgrecht was gewezen, verklaard dat Slier een compagnon van [gedaagde sub 10] op Curacao was, die betrokken was bij Giam. PWS maakt op basis hiervan aanspraak op vergoeding van de op
ƒ 1.600.000,= begrote schade.
4.57. [
gedaagde sub 6] c.s. heeft daartegenover gesteld dat de levering van de betreffende panden rechtstreeks van de diverse verkopers (Eljawa, Engel en anderen) aan PWS heeft plaatsgehad, ongeacht de kennelijk tussenliggende verkoop aan Giam. Niet aangetoond is en evenmin in te zien valt dan ook dat aan Giam de koopsom zou zijn betaald. Voorts heeft Giam meer aan PWS verkocht dan slechts de van Eljawa gekochte panden, zodat het
verschil in koopsom dat PWS noemt niet juist is. [gedaagde sub 11] heeft intensief bemiddeld en voor de eventueel betaalde vergoeding is werk verricht, dat ook een rechtsgrond in de overeenkomst tussen [gedaagde sub 11] en PWS had. Hoe [gedaagde sub 11] het geld besteed heeft gaat PWS niet aan. Bovendien is dit een goedgekeurde transactie die aan de door PWS gestelde eisen voldeed en is de eventueel betaalde vergoeding door de verkoper voldaan, zodat niet valt in te zien wat de schade van PWS zou zijn.
4.58.
De rechtbank verwerpt die verweren. Uit de stukken blijkt genoegzaam dat de oorspronkelijke eigenaren aan Giam hebben verkocht. Nu het een ABC-transactie betreft is de rechtstreekse levering van de oorspronkelijke eigenaars aan PWS niet verrassend en doet deze niet af aan de relatie tussen de betaling door PWS aan Giam en de aankooptransactie. Voor deze civiele procedure is de precieze geldstroom niet doorslaggevend. Dat [gedaagde sub 11] werkzaamheden heeft verricht doet op grond van de onder 4.46./4.47. weergegeven overwegingen voor de onrechtmatigheid niet ter zake. Ook de goedkeuring van (de Raad van Toezicht) van PWS is niet van belang, nu deze niet volledig was ingelicht, met name niet over de omstandigheid dat [gedaagde sub 6]/Jamabel in verband met deze transactie zelf een bedrag betaald zou krijgen. Het door [gedaagde sub 6] zelf opgestelde overzicht (D/002) en de door de FIOD aangetroffen overschrijving per bank van Comanco naar Jamabel zijn voldoende bewijs dat dit geld in verband met deze transactie aan Jamabel is betaald.
4.59.
Dat deze transactie schade voor PWS heeft opgeleverd is voorts voldoende aannemelijk. De betreffende commissie is weliswaar voldaan door Comanco, doch het is zeer onaannemelijk dat die het -aanzienlijke- betrokken bedrag voor eigen rekening heeft genomen. Daarmee ligt voor de hand, dat deze betalingen tenminste ten dele zijn gefinancierd door een hogere koopprijs van PWS te bedingen dan zou zijn gedaan wanneer deze “commissie” niet betaald had hoeven worden, zodat gegeven de ruime toerekening voldoende aannemelijk is dat sprake is van schade als gevolg van de onrechtmatige daad.
Ook hier geldt, dat partijen over de hoogte van de schade in de schadestaatprocedure verder kunnen debatteren. PWS zal daarbij in elk geval hebben in te gaan op de onderbouwde stelling van [gedaagde sub 6] c.s. aangaande de samenstelling van het pakket, meer in het bijzonder op de stelling dat aan PWS meer is verkocht dan Giam van Eljawa c.s. had gekocht.
Rijnhotel
4.60.
De vordering van PWS is, kort gezegd, gebaseerd op de stelling dat het een doorlevering betreft aan PWS op 12 oktober 2001, in die zin dat haar verkoper, Concaris Holding (gecontroleerd door [persoon 8]) het pand (het voormalige Holiday Inn hotel) op dezelfde dag had aangekocht voor € 12.138.620,78 en heeft doorverkocht aan PWS voor een hoger bedrag, te weten € 13.613.406,48. Daarna zou, meent PWS, verdeling van bedragen via Jamabel hebben plaatsgevonden. De vermelding Rijnhotel komt voor op D/002. PWS vordert op basis van deze gegevens een bedrag van € 1.474.785,70 (het verschil tussen genoemde koopsommen) als schadevergoeding.
4.61. [
gedaagde sub 6] c.s. heeft gesteld dat hij met het project Rijnhotel niets van doen heeft. Zelfs de FIOD gaat er, bij nader inzien, van uit dat de vermelding op D/002 niet op dit project slaat (maar op Slaakhuys). Als al iets is verdeeld dan is het de provisie van [gedaagde sub 10], die niet door PWS is betaald. Het enkele gegeven van het verschil in prijs brengt niet mee dat PWS schade heeft geleden van ƒ 1.474.785,70, omdat niet blijkt dat PWS het object voor de lagere prijs had kunnen krijgen. Tenslotte is van belang dat PWS het object een jaar later met een nettowinst van circa 1 miljoen Euro heeft verkocht.
4.62.
De rechtbank is van oordeel dat PWS ter zake van dit project te weinig heeft gesteld, terwijl hetgeen zij wel heeft gesteld - met verwijzing naar de onderliggende
stukken - enerzijds in strijd is met haar eigen onderbouwing van de vordering en anderzijds onvoldoende duidelijk is.
In het bijzonder moet, op basis van de door PWS zelf aangehaalde FIOD-documenten
(AH-76, productie 32 bij inleidende dagvaarding) worden geconstateerd dat de opsporingsambtenaren tot de conclusie zijn gekomen dat de vermelding Rijnhotel op D/002 niet op deze transactie slaat (zie ook conclusie van repliek onder 9.4 en onder 2.36.), maar op Slaakhuys.
Deze conclusie baseren zij op een aantal aangetroffen stukken en met name, en dat acht de rechtbank een overtuigend bewijsmiddel, op verklaringen van [persoon 8], namens de verkoper, die onder meer inhouden dat “[gedaagde sub 10] zich heeft gep[gedaagde sub 3]eerd bij deze transactie tussen te wurmen, maar hij heeft er niets mee van doen gehad.”
De stellingen van PWS en de onderbouwende stukken bevatten weliswaar aanwijzingen voor een provisie van ƒ 250.000,= die zou zijn gedeeld en waarop de boeking in D/002 zou kunnen zien, maar een helder verband met deze transactie wordt niet gelegd, laat staan onderbouwd. PWS heeft daarin ook geen aanleiding gezien haar eis te wijzigen. In deze situatie dient de vordering voor zover deze ziet op dit project te worden afgewezen.
Ook de diverse stellingen omtrent de lagere prijs waarvoor het project eerder zou zijn aangeboden (waarvan [gedaagde sub 6] heeft opgemerkt dat hij dit later heeft vernomen, toen er geen weg meer terug was) kunnen PWS niet baten, nu het verband met enig handelen van [gedaagde sub 6] c.s. onduidelijk blijft. Het kan niet gelden als voldoende onderbouwing dat PWS, hoewel zij zelf ook twijfelt, deze vordering handhaaft omdat zij meent dat deze “in het patroon past”.
4.63.
Ook bezien in het licht van de subsidiaire groepsaansprakelijkheid geldt het voorgaande. Er is sprake van een groep, in de zin van art. 6:166 BW, bestaande uit [persoon 2], [gedaagde sub 6] en [gedaagde sub 3]. Dat blijkt met name uit de staatjes D/001-003 en het hiervoor onder de vaststaande feiten geciteerde e-mail/faxverkeer (zie bijvoorbeeld onder 2.36., 2.38., 2.43. en 2.47.). Voor aansprakelijkheid op basis van artikel 6:166 BW is echter in elk geval vereist dat aangaande het gepleegd zijn van de onrechtmatige daad door één van de leden van de groep voldoende is gesteld (en, bij betwisting, – uiteindelijk – is komen vast te staan). Gelet op het vorenstaande is daarvan geen sprake.
TKN pakketten
4.64.
Het gaat, volgens PWS, in de eerste plaats om aankoop door PWS van TKN van een grote hoeveelheid panden op 30 december 2002 voor € 13.345.707,16 (A+B), in totaal
€ 2.125.909,46 meer dan Eljawa, als voorgaand verkoopster, eerder die dag van TKN had ontvangen. De verdeling van bedragen via Berkendaal in verband met deze transactie komt voor in D/003. Er is € 500.000,= via Bubuco verdeeld door [gedaagde sub 6] en € 600.000,= contant opgenomen door [persoon 12], (indirect) directeur van TKN, en via [persoon 1] doorbetaald aan [gedaagde sub 3], [gedaagde sub 6] en [persoon 2]. [persoon 1] en [persoon 13] hebben daaromtrent verklaringen afgelegd, waaruit blijkt dat deze bedragen aan onder meer [gedaagde sub 6] c.s. ten goede zijn gekomen. Daarnaast noemt PWS het volgende.
Voor TKN pakket D is € 283.969,92 door [partij 1] uitbetaald aan [gedaagde sub 3] (Valtop Consultancy), die dat in vieren heeft gedeeld. Bij [gedaagde sub 6] is aangetroffen een e-mail met de tekst “vrienden het is binnen, ik zie jullie facturen tegemoet, Gr [gedaagde sub 3]” met als onderwerp “faktuur Ruigrok” en aangehecht een blanco factuur d.d. 18 december 2002, voor een bedrag van € 283.970,= vermeerderd met € 53.954,30 BTW (zie onder 2.43.). Een dienovereenkomstige factuur van Valtop Consultancy is later aangetroffen. Op basis van deze gegevens, die zij voornamelijk ontleent aan het FIOD-dossier, vordert PWS vergoeding van het verschil tussen de door TKN betaalde en de door haar betaalde prijs.
4.65. [
gedaagde sub 6] c.s. stelt zich op het standpunt dat TKN zelf de betreffende objecten van Eljawa Beheer, Trami en [bedrijf 4] had gekocht voor in totaal
€ 13.181.943,35. Als PWS haar schade begroot op het verschil tussen de koopsommen kan die dus niet de in de dagvaarding genoemde ruim € 2,1 miljoen bedragen, maar hoogstens
€ 163.763,81.
Bovendien verwijt PWS [gedaagde sub 6] blijkbaar slechts dat hij van Atta Makelaars, die voor verrichte taxatiewerkzaamheden courtage had ontvangen, een deel van die courtage heeft ontvangen. Dat regardeert PWS echter niet. De bedragen die Ruygrok zou hebben betaald aan [persoon 1] en/of Valtop Consultancy zien op een andere transactie (TKN pakketten C-E) en hebben met deze transactie niets uitstaande. Op het overzicht D/003 komt “pakket groot deel 1 pakket groot deel 2” voor, maar uit niets blijkt dat dit op A en B slaat.
Uit de verklaring van [persoon 3] blijkt dat ter bescherming van het imago van PWS bij deze transactie een tussenschakel werd ingezet. Logisch is, dat deze tussenschakel daaraan wat verdiende.
4.66.
De rechtbank is van oordeel dat voorshands op grond van met name de verklaringen van [persoon 1] en [persoon 13], in combinatie met de vermeldingen op
D/003 en de bevindingen van de FIOD, voldoende aannemelijk is dat schade is geleden ter zake van de TKN transactie, die op gelijke voet als hiervoor is toe te rekenen aan in elk geval [gedaagde sub 6] en Berkendaal.
4.66.1.
Volgens de verklaring van [persoon 13] betrof het een transactie voor een groot pakket, omdat men dan meer geld kon achterhouden. [persoon 12] en [gedaagde sub 10] hadden hem, [persoon 13], gezegd dat [persoon 2] en een lid van de Raad van Toezicht een deel moesten ontvangen. [persoon 1] (als verdachte, na op zijn zwijgrecht gewezen te zijn [V08-1]) heeft verklaard dat [gedaagde sub 6] een second opinion vroeg; er moest een bedrag van
€ 500.000,= aan het totale te betalen bedrag worden toegevoegd. [persoon 1] verklaart dat hij heeft ingestemd, dat via [persoon 12] heeft laten lopen en een factuur heeft gestuurd. Hij had daarbij later een onderbuikgevoel dat er iets niet goed ging.
4.66.2.
Anders dan [gedaagde sub 6] aanvoert ziet de rechtbank in de omstandigheid dat [persoon 1] inmiddels een regeling met PWS heeft getroffen geen reden om zijn verklaringen niet betrouwbaar te achten. Het betreft immers verklaringen die hij in het strafrechtelijk onderzoek als verdachte heeft afgelegd, zodat hij zich van de betekenis van zijn verklaring, gelet op die context, bewust moet zijn geweest, en op een moment dat hij nog geen regeling met PWS had gesloten, zodat die regeling daarop geen invloed kan hebben gehad. [persoon 13] staat geheel buiten zowel deze civiele als de strafrechtelijke procedure. Ook zijn verklaring wordt door de rechtbank niet onbetrouwbaar geacht.
4.66.3.
Voor wat betreft de vermelding op D/003 acht de rechtbank de analyse van de FIOD, die D/003 heeft vergeleken met een ander overzicht (D/406) dat bij de huiszoeking bij [gedaagde sub 6] is aangetroffen en waar, op de betreffende regel “Atta” staat vermeld, overtuigend (zie onder 2.38.). Uit de verklaringen blijkt, dat [persoon 1], die Atta wordt genoemd, bij dit project betrokken is geweest. De aangetroffen factuur van Bubuco aan Maritta Management d.d. 5 januari 2003 ad € 500.000,= exclusief BTW, het document D/232, dat een instructie inhoudt voor een declaratie van Bubuco waarop onder meer voorkomt “500/4 -5% voor omweg” passen bij een opslag van € 500.000,= en een verdeling over 4 personen, te weten [persoon 2], [gedaagde sub 6], [gedaagde sub 3] en [persoon 1].
[gedaagde sub 13] heeft tenslotte verklaard dat deze factuur van Bubuco op aangeven van [persoon 1] aan Maritta is gestuurd.
4.66.4.
Hoewel, gelet op de verklaring van [persoon 1], ook [persoon 12] aan deze transactie heeft meegewerkt is de omvang van de betrokken geldstroom op dat punt op dit moment onduidelijk.
Ten aanzien van de contante opname van [persoon 12] van € 600.000,= is van belang, dat [persoon 12] niet alleen tegenover de FIOD heeft ontkend dat hij een dergelijke opname heeft gedaan die aan - onder meer - [gedaagde sub 6] c.s. ten goede gekomen zou zijn, al dan niet via [persoon 1], maar dat bovendien uit de door de FIOD gerelateerde gegevens aangaande zijn kasopnames blijkt, dat hij weliswaar in de betrokken periode contante opnames heeft gedaan, maar dat deze zijn gespreid in verschillende bedragen en ook niet tot dit bedrag optellen.
4.66.5.
De rechtbank acht het vorenstaande wel voldoende voor het oordeel dat [gedaagde sub 6] een onrechtmatige daad heeft gepleegd jegens PWS, waaraan Berkendaal heeft meegewerkt. Het is immers duidelijk, dat in elk geval voor genoemd bedrag van
€ 500.000,= sprake is geweest van een verhoging van de door PWS betaalde prijs op verzoek van [gedaagde sub 6]; dit verzoek werd gedaan zonder commerciële achtergrond, doch louter om fondsen te genereren die vervolgens via Berkendaal werden verdeeld. Wat de schade voor PWS is geweest kan in het schadedebat nader aan de orde komen.
4.67.
In verband met het schadedebat wordt nog opgemerkt dat daarin ook aandacht kan worden besteed aan de door PWS gevorderde schade bestaande in het verschil in de verwervingsprijzen. Gelet op de beschikbare gegevens omtrent de juridische levering, de toelichting in E&Y rapport II (bijlage 2, pagina 13) op de getallen in bijlage 1 waarop [gedaagde sub 6] c.s. zich baseert en het beroep daarop bij repliek, acht de rechtbank de betwisting van [gedaagde sub 6] c.s. van het verschil tussen de door PWS betaalde prijs en de door TKN betaalde prijs onvoldoende gemotiveerd. Duidelijk is, dat Ernst & Young in het overzicht waarop [gedaagde sub 6] c.s. zich baseert, slechts de transactie waarbij Eljawa Beheer een deel van de panden heeft verworven heeft willen verantwoorden en niet nog een separate, bij te tellen deeltransactie.
4.68.
Tenslotte is voor het schadedebat nog relevant in hoeverre de bevindingen die de FIOD relateert aan “pakket groot deel 2”, in deze procedure ook wel de TKN-pakketten C-E genoemd en die PWS in dit verband mede aan haar stellingen omtrent de schade ten grondslag legt, een rol kunnen spelen, nu [gedaagde sub 6] c.s. meent dat deze buiten beschouwing moeten blijven.
In beginsel dient in een zaak als deze, waar de eis is onderverdeeld in een groot aantal zelfstandige onderdelen en de eis voorts meermalen is gewijzigd, PWS als eiseres dat zelf aangebrachte onderscheid te respecteren bij haar onderbouwing. Daar staat echter tegenover dat de verwijten die PWS maakt in het voorgaande ten aanzien van de serie TKN-transacties tenminste ten dele gegrond zijn bevonden. De aard van die verwijten - die neerkomen op grof onrechtmatig handelen van [gedaagde sub 6] als insider bij PWS, al dan niet met betrokkenheid van gelieerde rechtspersonen, dat is gemaskeerd door een op het oog sluitende papieren verantwoording - brengt mee, dat het PWS moeilijk is gemaakt om zicht te krijgen op de geldstromen, zelfs met gespecialiseerde financiële ondersteuning.
In die context en gelet op de stellingen van PWS in de dagvaarding (3.16 en 3.17) en de conclusie van repliek (10.8-10.12) ziet de rechtbank op dit moment geen aanleiding om de pakketten TKN C-E buiten beschouwing te laten. In het schadedebat zal dit door partijen nader kunnen worden uitgewerkt.
Vissersdijk
4.69.
PWS heeft dit project gekocht voor ƒ 8.250.000,=, terwijl haar verkoper er die dag ƒ 6.500.000,= voor had betaald. PWS vordert het verschil als schade, nu het past in het patroon.
4.70. [
gedaagde sub 6] c.s. heeft verweer gevoerd; doorleveringen zijn niet illegaal, maar worden ingegeven door overwegingen aangaande de overdrachtsbelasting waarbij valide economische en juridisch toelaatbare motieven voor prijsverschillen kunnen bestaan. PWS zelf heeft het project 9 maanden later doorverkocht voor ruim 2 miljoen gulden meer;
Ernst & Young merkt op dat het resultaatneutraal is doorverkocht. Als in aanmerking wordt genomen dat met een gunstig beheerscontract is doorverkocht, is zelfs winst geboekt.
Niet in te zien valt dan ook dat PWS benadeeld is en waarom [gedaagde sub 6] c.s. daarvoor aangesproken wordt.
4.71.
De rechtbank acht de vordering voor zover deze ziet op dit project niet toewijsbaar.
Na de hiervoor weergegeven betwisting zijn zijdens PWS geen nieuwe feiten aangevoerd en zijn ook haar stellingen niet nader onderbouwd, bijvoorbeeld met verwijzing naar nieuwe stukken. In die situatie is, gegeven het verweer, de conclusie dat de stellingen onvoldoende gemotiveerd gehandhaafd zijn door PWS. Het enkele prijsverschil tegen de achtergrond van de aannemelijkheid dat bij een aantal transacties onrechtmatig is gehandeld is niet voldoende voor het oordeel dat ook bij deze transactie onrechtmatig is gehandeld. Immers, bij de diverse transacties werd gebruik gemaakt van verschillende wijzen van afhandeling; bovendien kan in de stellingen en stukken geen rechtvaardiging gevonden worden voor de stelling dat bij alle transacties waar sprake was van een doorlevering en/of een
ABC-transactie onrechtmatig is gehandeld. Op louter vermoedens kan geen rechtsvordering worden gebaseerd. Ook de subsidiaire grondslag kan PWS hier, gelet op het voorgaande, niet baten. Aan debat over de hoogte van de schade wordt dus niet meer toegekomen.
Atta
4.72.
Het betreft hier een doorlevering waarbij het aankoopbedrag dat door PWS in 2000 is betaald ƒ 2.024.782,16 (€ 918.806,09) hoger lag dan het eerder die dag door de verkoper betaalde. PWS vordert het verschil als schade, nu het past in het patroon.
[gedaagde sub 6] c.s. heeft ook hier gemotiveerd verweer gevoerd.
4.73.
Op mutatis mutandis dezelfde gronden als bij Vissersdijk wordt de vordering op dit punt als onvoldoende gemotiveerd gehandhaafd aangemerkt en zal deze dus worden afgewezen.
Schoterbos
4.74.
Het betreft hier een doorlevering waarbij het aankoopbedrag dat door PWS in 2000 is betaald € 1.100.000,= hoger lag dan het eerder die dag door de verkoper betaalde. PWS vordert het verschil als schade, nu het past in het patroon.
[gedaagde sub 6] c.s. heeft ook hier gemotiveerd verweer gevoerd.
4.75.
Op mutatis mutandis dezelfde gronden als bij Vissersdijk en Atta wordt de vordering op dit punt als onvoldoende gemotiveerd gehandhaafd aangemerkt en zal deze dus worden afgewezen.
St. Jacobsplaats
4.76.
Dit betreft een verwijt van andere aard dan de voorgaande projecten. Het gaat hier om een verkoop door PWS aan [bedrijf 2], in 1998, van een p[gedaagde sub 3]lematisch project voor ƒ 8.000.000,=. PWS meent, dat zij meer had kunnen ontvangen, omdat [bedrijf 2] bereid was meer te betalen. Zij baseert dat op de volgende gedachtegang.
Het is duidelijk uit productie 63 bij inleidende dagvaarding, de overeenkomst tussen [bedrijf 2] en Jamabel uit 1999, dat Jamabel van [bedrijf 2]
ƒ 2.450.000,= betaald gekregen heeft. Op basis van het FIOD-rapport is duidelijk dat de vierde termijn daarvan is verdeeld onder [persoon 2], [gedaagde sub 3], (allebei op hun Zwitserse rekeningen) [gedaagde sub 6] (via Jamabel) en [gedaagde sub 15]. Omdat er naast bedoelde overeenkomst (productie 63 bij inleidende dagvaarding) nog een overeenkomst is aangetroffen waarin een bedrag van ƒ 1.500.000,= is genoemd (2.24.) en niet duidelijk is of die overeenkomsten naast elkaar golden dan wel de ene de andere vervangen heeft, vordert PWS het totaal bedrag als schade. Daarbij heeft zij mede in aanmerking genomen dat uit de overeenkomsten zelf blijkt dat de afspraken ten doel hebben gehad om specifiek PWS te benadelen (zie 2.26.). Uiteindelijk stelt PWS zich in haar conclusie na comparitie op het standpunt dat de schade bestaat uit een bedrag dat zij minder heeft ontvangen bij de verkoop in 1998 en een bedrag van ƒ 950.000,= dat zij later niet heeft gekregen doch wel had moeten ontvangen in verband met de ophoging van de verkoopprijs van de appartementen van
ƒ 220.000,= naar ƒ 260.000,= per stuk.
4.77. [
gedaagde sub 6] c.s. stelt daar tegenover dat van schade geen sprake kan zijn. De verkoop aan [bedrijf 2] was, gegeven de p[gedaagde sub 3]lematische aard van het project, verreweg het meest aantrekkelijke scenario, omdat alle andere mogelijkheden PWS tot forse investeringen zouden hebben genoopt. [gedaagde sub 6] is destijds door PWS specifiek benaderd om een oplossing te zoeken. [gedaagde sub 6] heeft hiervoor ook veel werk verricht. De huidige voorzitter van de Raad van Toezicht was, met [gedaagde sub 6] en [persoon 18], specifiek gemandateerd voor de besluitvorming rond dit project. Hij heeft een en ander goedgekeurd. Dat [bedrijf 2] aan Jamabel ƒ 350.000,= en/of ƒ 2.100.000,= betaald zou hebben leidt niet tot schade voor PWS. De verhoging van de koopprijs van de woningen was een gevolg van tijdsverloop en kostenontwikkeling, die tot een verliespost bij [bedrijf 2] dreigden te leiden. Deze verhoging zou, gelet op de contracten, nooit aan PWS hebben kunnen toekomen.
4.78.
De rechtbank stelt voorop, dat zij de vordering van PWS zo opvat dat die alleen ziet op ƒ 1.500.000,= te weinig ontvangen verkoopprijs. Weliswaar vordert zij formeel naast bedoelde ƒ 1.500.000,= nog steeds ƒ 2.450.000,= omdat “geheel niet is vastgesteld dat het bedrag van ƒ 1.500.000,= is opgenomen in het bedrag van ƒ 2.450.000,=”, maar dat is geen behoorlijke onderbouwing van het gevorderde bedrag. Van PWS mag in dit stadium verlangd worden dat zij - desnoods door een primair-subsidiair opgebouwde vordering - keuzes maakt en in dat kader een ondubbelzinnig standpunt inneemt over hetgeen naar haar visie uit het bewijsmateriaal moet worden opgemaakt.
Ten aanzien van dat bedrag van ƒ 1.500.000,= verwerpt de rechtbank de verweren. Dat dit bedrag ter zake van deze transactie werkelijk door [bedrijf 2] is betaald en is verdeeld over de genoemde personen blijkt uit D/001 en de door de FIOD aangetroffen bijschrijvingen op de bankrekeningen.
Weliswaar is ook duidelijk dat inderdaad [gedaagde sub 6] was gemachtigd, samen met twee anderen, om deze verkoop ter hand te nemen, maar die opdracht en machtiging hield niets in over door [gedaagde sub 6] (en [persoon 2]) daarvoor zelf te ontvangen bedragen. Uit de verklaring van [persoon 3] valt ook niet op te maken dat deze daarvan op de hoogte was; [persoon 3] en [persoon 18] hebben kennelijk zelf geen deel van de meeropbrengst ontvangen. Dat betekent, dat op basis van de hiervoor toegelichte maatstaf het handelen van [gedaagde sub 6], nu dat inhield dat hij hiervoor geld ontving, onrechtmatig jegens PWS is. Zelfs als, in deze bijzondere situatie waar [gedaagde sub 6] bij uitzondering door PWS gevraagd werd om
-naar het zich laat aanzien, serieuze- inspanningen te verrichten in het kader van een project van PWS en er dus, op zich genomen, een rechtvaardiging zou kunnen zijn voor een zekere extra beloning, bracht de bijzondere relatie tussen hem en PWS mee dat [gedaagde sub 6] daaromtrent expliciet afspraken had moeten maken. Hij kon en mocht niet zichzelf naar eigen goeddunken belonen. Dat betekent ook, dat het uit een oogpunt van onrechtmatigheid niet ter zake doet of de ontvangen bedragen in verhouding staan tot de werkzaamheden.
In het debat over (de omvang van) de schade kunnen partijen ook op dit punt hun standpunten nader uitwerken.
4.79.
Voor wat betreft de later doorgevoerde verhoging van de aan de kopers van de woningen in rekening gebrachte koopprijs stelt PWS dat deze eveneens onrechtmatig handelen van [gedaagde sub 6] c.s. jegens haar oplevert.
PWS heeft ter onderbouwing van haar vordering op dit punt, mede gelet op de - van de overige verwijten afwijkende - aard van dit verwijt en op het verweer, te weinig gesteld. Datzelfde geldt in het verband van de groepsaansprakelijkheid, nu zij omtrent de rol van de andere leden van de door PWS aangegeven groep ([persoon 2] en [gedaagde sub 3]) bij dit project geen stellingen betrekt en dit project bovendien niet past in het patroon dat PWS voor het overige tot uitgangspunt neemt. Dit deel van de vordering is niet toewijsbaar en kan verder buiten beschouwing blijven.
Woonplus (I en II)
4.80.
Bij de aankoop door PWS in 2001 van een aan een collega-woningcorporatie toebehorend project (Woonplus II) is courtage in rekening gebracht door [gedaagde sub 11]; verdeling van het daarmee gemoeide bedrag van ƒ 180.000,= (€ 81.680,44) over [gedaagde sub 10], [persoon 2] (via Transformanagement), [gedaagde sub 3] en [gedaagde sub 6] c.s. heeft, naar blijkt uit D/002 en door de FIOD aangetroffen facturen, plaatsgehad via Zuidsingel. Er is aan de Raad van Toezicht geen melding gemaakt van te betalen courtage en courtage is ook volstrekt niet gebruikelijk als het gaat om bemiddeling tussen twee woningbouwcorporaties, stelt PWS. Zij baseert zich op artikel 11 Besluit Sociale Woningsector van 5 november 2001, dat de ook voor het moment van in werking treden van dat besluit geldende algemene opvatting op dit punt weergeeft. Omdat bij een eerder pakket, Woonplus I, blijkens de aangetroffen stukken een courtage van ƒ 428.750,= aan [gedaagde sub 11] is betaald ligt voor de hand dat PWS ook daar op gelijke wijze is benadeeld.
4.81. [
gedaagde sub 6] c.s. heeft ten aanzien van Woonplus II aangevoerd dat niet in te zien valt waarom [gedaagde sub 6] aansprakelijk te houden zou zijn voor een courtage die door Woonplus is betaald aan [gedaagde sub 10] die, op verzoek van Woonplus, heeft bemiddeld bij de aankoop door PWS. Het Besluit van 5 november 2001 was ten tijde van deze transacties nog niet van toepassing.
Wat er ook zij van het gebruik in de sector, in verband met daadwerkelijk verricht werk door [gedaagde sub 11] heeft Woonplus courtage betaald. [gedaagde sub 11] was op haar beurt in verband met de daaromtrent gesloten overeenkomst gehouden een deel af te dragen aan (ondernemingen van) [gedaagde sub 6] Ten aanzien van Woonplus I stelt PWS niets concreets, zodat dit geheel buiten beschouwing moet blijven, aldus nog steeds [gedaagde sub 6] c.s.
4.82.
De rechtbank oordeelt als volgt. Kennelijk gold er ten tijde van de Woonplus II transactie geen regelgeving die in de weg stond aan het betalen van commissie bij een verkoop tussen twee woningcorporaties. Dat Woonplus, om haar moverende redenen, aanleiding zag om commissie te betalen blijkt uit de beschikbare gegevens. Uit D/002 in combinatie met de eigen stellingen van [gedaagde sub 6] c.s moet worden opgemaakt, dat
ƒ 45.000,= is overgemaakt aan Zuidsingel in verband met deze transactie, uit hoofde van de door [gedaagde sub 10] en [gedaagde sub 6] gemaakte afspraken als hiervoor vermeld.
Voldoende aannemelijk is dat door PWS schade is geleden, omdat de commissie van [gedaagde sub 11] hoger was dan noodzakelijk. [gedaagde sub 11] diende immers een deel daarvan aan anderen, die geen werkzaamheden hadden verricht, zoals [gedaagde sub 6] c.s., af te staan. Aannemelijk is dat PWS het project goedkoper had kunnen verkrijgen als de commissie lager was geweest.
Op basis van de hiervoor weergegeven norm is het gedrag van [gedaagde sub 6] onrechtmatig jegens PWS, omdat hij, gelet op zijn voormelde positie, niet behoorde te verdienen aan transacties waarbij PWS was betrokken, zeker niet in gevallen waarin hij geen werkzaamheden had verricht. Over de hoogte van de schade kunnen partijen nader debatteren.
4.83.
Aangaande de Woonplus I-transactie zijn de stellingen van PWS inderdaad summier en met name gebaseerd op extrapolatie vanuit de FIOD-gegevens van de Woonplus II-transactie. Zij zijn in deze context echter voldoende onderbouwd, omdat [gedaagde sub 6] zelf heeft erkend dat hij met [gedaagde sub 10] een afspraak had die erop neer kwam dat hij een deel van de door [gedaagde sub 11] geïnde commissie van [gedaagde sub 11] ontving terwijl [gedaagde sub 10] ten aanzien van deze transactie heeft aangegeven dat hij van de commissie een deel aan [gedaagde sub 6] heeft doorbetaald.
Voor dit deel van de vordering geldt voorts mutatis mutandis hetzelfde als voor
Woonplus II.
Slaakhuys
4.84.
Het betreft hier een aankoop door PWS in 2001, waarbij PWS ƒ 1.500.000,= meer heeft betaald dan de oorspronkelijke vraagprijs. [persoon 8], die optrad namens de verkoper [bedrijf 3], verklaart dat [gedaagde sub 10] [gedaagde sub 10] aan [bedrijf 3] had gevraagd de koopsom met circa 1 miljoen gulden te verhogen. [gedaagde sub 10] heeft ter zake van deze verkoop, blijkens het FIOD-onderzoek, provisie ontvangen van ƒ 250.000,= (van Concaris/[persoon 8]) en courtage van ƒ 112.000,= (van PWS). Al deze bedragen heeft hij gedeeld met [gedaagde sub 6], [persoon 2] en [gedaagde sub 3]. [gedaagde sub 6] heeft in dit verband per mail bericht “heden vlogen 60.250 appeltjes uit de hotelgaard naar de boompjesdijk, eigenlijk 62.500(…) ” (vgl. 2.36.).
De FIOD neemt aan dat de vermelding “Rijnhotel” op D/002 hierop slaat (het ging om dezelfde partijen en de bedragen komen overeen). PWS vordert, op grond van deze gegevens, het verschil in koopprijs als schade. [gedaagde sub 6] c.s. heeft er op gewezen, dat PWS slechts het verschil in koopsom ad ƒ 1.500.000,= vordert en niet de provisiebedragen van ƒ 250.000,= en ƒ 112.000,=. Voor wat betreft de verhoogde koopprijs stelt [gedaagde sub 6] c.s. dat [gedaagde sub 6] niet wist dat het project eerder voor een lagere prijs zou zijn aangeboden. Hij betwist dat hier onrechtmatig is gehandeld, met een beroep op zijn meergenoemde contractuele rechten op commissie.
4.85.
De rechtbank oordeelt als volgt.
Juist is, dat de vordering niet ziet op de provisiebedragen. Dat betekent, dat hetgeen daaromtrent is gesteld geen verdere bespreking behoeft.
De rechtbank constateert, dat vast staat dat de FIOD twee contracten heeft aangetroffen met een prijsverschil daartussen van 1,5 miljoen gulden. Voorts heeft [bedrijf 3] verklaard dat het prijsverschil door [gedaagde sub 10] is bepaald. [persoon 8] verklaart, dat [bedrijf 3] hem gebeld had omdat hij het “raar” vond dat [gedaagde sub 10] wilde dat de prijs verder werd verhoogd.
Voor zover PWS heeft willen stellen dat [gedaagde sub 6] c.s. daadwerkelijk wist dat aanvankelijk een lagere prijs was genoemd en welke dat was, is die stelling, naar het oordeel van de rechtbank, onvoldoende onderbouwd. De rechtbank acht dat echter niet van doorslaggevend belang. Immers, dat de prijs op die wijze is opgehoogd moet op basis van de beschikbare bewijsmiddelen als vaststaand worden aangenomen. Voor het overige blijkt uit D/002 -en heeft [gedaagde sub 6] c.s. ook niet ontkend- dat [gedaagde sub 6] c.s. ter zake van deze transactie bedragen heeft ontvangen, net als [gedaagde sub 3] en [persoon 2]. Gelet op de gehele gang van zaken, inclusief de hiervoor geciteerde mail, wist [gedaagde sub 6] c.s. dat [gedaagde sub 10] gelden ter zake van deze transactie doorbetaalde en moet [gedaagde sub 6] c.s. hebben geweten dat er geld ten koste van PWS gegenereerd werd uit deze koopovereenkomst. Dat dit gebeurde door verhoging van de koopprijs lag dan zozeer voor de hand dat [gedaagde sub 6] daarmee geacht moet worden rekening te hebben gehouden. Ook als [gedaagde sub 6] niet precies wist hoe de verhoging van de koopprijs is bereikt en hoe groot die precies was, levert het profiteren daarvan een onrechtmatige daad van [gedaagde sub 6] op, getoetst aan meergenoemde maatstaf. Partijen kunnen over de schade in de schadestaatprocedure nader in discussie gaan.
Ruygrok
4.86.
Dit betreft een aankoop door PWS in 2002, waar de verdeling van de bedragen ad
€ 296.627,= via Valtop Consultancy ([gedaagde sub 3]) is gelopen. De transactie komt voor op D/003 en in het document D/231 (“ff de onderbouwing”) [zie onder 2.43.] wordt deze nader toegelicht ten behoeve van de aan Atta makelaars te sturen en nog te vervaardigen factuur. Deze factuur is vervolgens inderdaad verstuurd. PWS vordert daarom het betrokken bedrag als schade.
Het verweer houdt in, dat de courtage van € 35.950,= die PWS aan Atta heeft betaald gerechtvaardigd was. De nota van Valtop Consultancy aan [partij 1] ad € 260.677,= zag op provisie die tussen die partijen was afgesproken en waarvoor ook is gewerkt. Wat Valtop Consultancy verder met het geld doet gaat PWS niet aan. Nu PWS voor een reële prijs heeft gekocht is er geen schade.
4.87.
De rechtbank stelt vast dat, op basis van de door PWS aangehaalde stukken (met name de onder 2.44. hiervoor weergegeven schema’s), voldoende is komen vast te staan dat [gedaagde sub 6] ter zake van deze transactie bedragen heeft geïncasseerd; op basis van voormelde toets heeft hij dus ook hier onrechtmatig gehandeld en is schade aannemelijk.
Jamabel - van wie gesteld noch gebleken is dat deze werkzaamheden heeft verricht - heeft onrechtmatig gehandeld door als doorgeefluik te fungeren. De verweren dat sprake is van daadwerkelijk werk en marktconforme prijzen zijn hiervoor reeds gewogen en te licht bevonden. Omtrent de juiste hoogte van de bedragen kan nader debat plaatsvinden.
Pleinweg
4.88.
PWS heeft op 18 december 2002 dit project voor € 9.227.488,20 gekocht van Schieland/[persoon 15], waarbij [gedaagde sub 11] heeft bemiddeld (zie het schema hiervoor weergegeven onder 2.46). Er is aan [gedaagde sub 11] een courtage betaald van
€ 92.474,99 en de koopsom zou zijn verhoogd met € 342.497,=, zodat PWS € 434.972,= vordert. Deze bedragen zijn via [gedaagde sub 11], die zelf ook een deel behield, verdeeld over [persoon 2], [gedaagde sub 3] en [gedaagde sub 6] c.s.; de verdeling komt voor op D/003. Uit productie 68 en 69, facturen van [gedaagde sub 11] aan Schieland en van Giam aan Schieland, blijken betalingen waarvoor geen deugdelijke grondslag bestaat, daarom vordert PWS ook het daarmee gemoeide bedrag van € 918.456,20,=.
4.89.
Het verweer van [gedaagde sub 6] c.s. ziet wederom op de commissie-afspraken voor zover het gaat om het verdeelde bedrag.
Uit de enkele omstandigheid dat een bedrag van € 434.972,= is verdeeld tussen een aantal personen, onder wie [gedaagde sub 6], blijkt volgens deze niet dat sprake is van een onrechtmatige daad jegens PWS en schade van haar. Het verweer van [gedaagde sub 6] c.s. ten aanzien van de facturen van [gedaagde sub 11] en Giam aan de verkoper ad € 918.456,20 houdt in, dat deze [gedaagde sub 6] niet aangaan en dat daaromtrent de vordering ook niet deugdelijk is onderbouwd.
4.90.
De rechtbank is met [gedaagde sub 6] c.s. van oordeel dat het deel van de vordering ad
€ 918.456,20 dat ziet op de facturen van [gedaagde sub 11] en Giam onvoldoende is onderbouwd. De enkele stelling dat voor deze facturen geen deugdelijke grondslag is aangetroffen houdt, als ze al juist is, geen verband met enig verwijt dat PWS aan [gedaagde sub 6] c.s. maakt en evenmin met de uit de stukken af te leiden geldstromen in zijn richting. Ook voor de subsidiaire groepsaansprakelijkheid is hetgeen thans beschikbaar is te mager, met name omdat PWS niet méér stelt dan dat geen grondslag voor deze geldstroom is gebleken en overigens niets naar voren brengt waaruit zou kunnen volgen dat dat haar in haar verhouding tot [gedaagde sub 6] c.s. aangaat.
4.91.
Voor wat betreft het bedrag van € 434.972,= geldt, dat niet alleen is gebleken
- en door [gedaagde sub 6] c.s. niet weersproken - dat de verdeling als door PWS gesteld heeft plaatsgevonden, maar dat bovendien [persoon 15] heeft verklaard dat zijn bedrijf de vraagprijs heeft gekregen terwijl de provisie ten laste van PWS als koper is gekomen. In zoverre is de rechtbank dan ook, op de voet van hetgeen eerder werd overwogen van oordeel dat sprake is van een onrechtmatige daad van [gedaagde sub 6] en dat schade aannemelijk is. Ook ten aanzien van dit onderdeel is ruimte voor nader schadedebat.
Dunehold
4.92.
Anders dan bij de andere projecten gaat het hier om verwijten van PWS aangaande een pand dat door PWS aanvankelijk, in 2000, is verkocht en vervolgens door haar gehuurd, waarna zij daarin haar kantoor heeft gevestigd. Nu PWS een solide huurder was zou het met haar gesloten huurcontract de waarde van het pand hebben verhoogd; zij had daarvan behoren te profiteren, maar het tegendeel is het geval. De transactie komt voor op D/001 en D/002 (“derde termijn”), terwijl er een provisiefactuur is aangetroffen van Jamabel aan Dunehold voor ƒ 600.000,=, die is betaald uit de winst van Dunehold; uit het FIOD onderzoek (zie schema onder 2.46.) blijkt ontvangst en verdeling van dit bedrag via Jamabel over [persoon 2] en [gedaagde sub 3]. Van een overeenkomst tussen Dunehold en Jamabel blijkt niet, bovendien valt niet in te zien waarom Jamabel ook [gedaagde sub 3] en [persoon 2] zou (door)betalen. PWS meent dan ook dat zij ter zake is benadeeld. Tenslotte blijkt [gedaagde sub 6] c.s. een slotbetaling te hebben ontvangen.
4.93. [
gedaagde sub 6] c.s. verweert zich met de stelling dat de bedragen die Dunehold aan Jamabel heeft betaald PWS niet aangaan, nu zij bij de onderhavige transactie geen partij is, geen schade heeft geleden en voorts niets stelt over onrechtmatige betrokkenheid van [gedaagde sub 6] c.s.. [persoon 19] (de externe jurist van PWS destijds) heeft op dit punt verklaard dat het een rechtmatig winstdeel betrof.
4.94.
De rechtbank oordeelt als volgt.
Aan de slotbetaling die genoemd wordt verbindt PWS geen vordering, zodat deze geen bespreking behoeft.
Voor het overige is de rechtbank is van oordeel dat voor een onrechtmatige daad van [gedaagde sub 6] c.s. onvoldoende is gesteld, maar dat de stellingen van PWS wel toereikend zijn om [gedaagde sub 6] c.s. aansprakelijk te houden op basis van art. 6:166 BW. Daartoe wordt als volgt overwogen.
Het gaat hier, naar partijen terecht tot uitgangspunt nemen, om een andere verhouding dan in de andere dossiers. Uit het dossier blijkt (productie 32 bij conclusie van repliek, AH-72; vergelijk onder 2.46.), dat sprake is van een maatschapsverhouding tussen Dunehold en Jamabel; de uitbetalingen zouden hun grondslag vinden in een winstuitkering uit dien hoofde. Uit de FIOD-stukken (die niet compleet zijn), blijkt dat deze gehele kwestie destijds door de externe jurist van PWS, [persoon 19], (die toen overigens kennelijk niet meer als advocaat optrad) is bekeken, die toen op de hoogte was van de positie van [gedaagde sub 6] c.s. als enerzijds voorzitter van de Raad van Toezicht en anderzijds bemiddelaar bij deze transactie. Hij heeft daarover kennelijk als getuige in het kader van het strafrechtelijk onderzoek verklaard dat het ging om legitieme betalingen (de complete tekst van zijn verklaring bevindt zich niet bij de stukken). Daarmee is echter niet meer of anders gezegd dan dat - kennelijk - sprake was van binnen de maatschap gegenereerde winst, die deze betaling toeliet, waarna de maatschapsverhouding de betaling verklaart.
Over de reden van de vermelding van deze betaling op D/001 en van de doorbetalingen aan [persoon 2] en [gedaagde sub 3] is daarmee niets gezegd. Als, zoals [gedaagde sub 6] c.s wenst, waarde wordt gehecht aan de verklaring van [persoon 19] dient ook hetgeen deze getuige daarna bij de rechter-commissaris heeft verklaard in de beschouwingen betrokken te worden.
In zijn verklaring van 13 mei 2008 bij de rechter-commissaris heeft [persoon 19] desgevraagd verklaard dat PWS een tegenprestatie wilde hebben van 3,5 ton in guldens verdeeld over twee panden, welke wens op diverse manieren kon worden ingewilligd en ook feitelijk is ingewilligd. Omdat niet alle stukken uit het FIOD-dossier zijn overgelegd zijn de verwijzingen daarnaar voor de rechtbank thans niet na te gaan; later (pagina 6) verduidelijkt [persoon 19] nog wel dat [gedaagde sub 6] meende recht te hebben op voorwinst en dat hij, [persoon 19], dat redelijk vond. [persoon 19] merkt verder op dat [persoon 2] zich met de kwestie had bemoeid. Deze nadere verklaring brengt naar het oordeel van de rechtbank mee dat aan de eerdere verklaring van [persoon 19] niet de betekenis toekomt die [gedaagde sub 6] c.s. daaraan toekent, te weten dat deze uitbetaling in verband met deze transactie door de externe adviseur van PWS is goedgekeurd en dus niet onrechtmatig is.
Uit het dossier blijkt dat [persoon 2] c.s, [gedaagde sub 3] c.s. en [gedaagde sub 6] c.s. op diverse manieren geldstromen ten koste van PWS genereerden die zij onderling verdeelden en administreerden in D/001. Dat D/001 ook voor de administratie van de winstverdeling van de maatschap werd gebruikt is gesteld noch gebleken en is, gelet op de aard van dat stuk, hoogst onaannemelijk. De rechtbank houdt het er daarom op, dat ook deze vermelding in D/001 moet worden gezien in het kader van de onrechtmatige transacties, en dat voldoende aannemelijk is dat ook ter zake van deze huurovereenkomst sprake is van enige schade. Voor het overige kunnen partijen daarop in het schadedebat terugkomen.
Branderspoort
4.95.
Blijkens de herformulering van de eis bij repliek vordert PWS ter zake niets concreets, zodat aan deze transactie geen aandacht besteed hoeft te worden.
Zuidsingel, Jamabel, Berkendaal
4.96.
Voor wat betreft de positie van Zuidsingel, Jamabel en Berkendaal geldt, dat [gedaagde sub 6] c.s. terecht heeft aangevoerd dat aan volstrekte vereenzelviging hoge eisen worden gesteld, waaraan in dit geval niet is voldaan. Dat neemt niet weg, dat de wetenschap en het gedrag van [gedaagde sub 6] als beleidsbepaler binnen elk van die vennootschappen (dat hij dat was heeft [gedaagde sub 6] niet betwist) aan die vennootschap kunnen worden toegerekend. Nu [gedaagde sub 6] onrechtmatig heeft gehandeld jegens PWS hebben Zuidsingel - ten aanzien van project Woonplus I+II -, Berkendaal - ten aanzien van project TKN - en Jamabel - ten aanzien van de projecten Aelbrechtskade, Giam en
St. Jacobsplaats - dat dus ook en zijn zij evenzeer uit dien hoofde aansprakelijk. Andersom is voldaan aan de eisen van de subsidiaire aansprakelijkheid van [gedaagde sub 6] als beleidsbepaler in die vennootschappen ten aanzien van die onrechtmatige daden, nu hem van zijn handelen een persoonlijk ernstig verwijt gemaakt kan worden. Hij was het immers zelf die namens de vennootschappen de betreffende overeenkomsten sloot, facturen opstelde en betalingen verrichtte. Dat de vennootschappen onderling aansprakelijk zouden zijn voor elkaars onrechtmatige daad heeft PWS kennelijk, gelet op de laatste herformulering van haar eis, niet bedoeld te stellen, zodat deze mogelijkheid geen bespreking behoeft.
de voorwaardelijke reconventie
4.97.
De voorwaarde waaronder de reconventionele vordering is ingesteld, is niet vervuld, zodat de reconventie geen bespreking behoeft.
4.98. [
gedaagde sub 6] c.s. is dus aansprakelijk uit onrechtmatige daad jegens PWS, waarbij voorshands voldoende aannemelijk is dat PWS daardoor schade heeft geleden.
De rechtbank zal de zaak daarom verwijzen naar de schadestaatprocedure. Partijen kunnen dan in dat kader, in lijn met hetgeen ter comparitie was afgesproken en met inachtneming van hetgeen hiervoor is overwogen, het debat over de schade in volle omvang voeren.
4.99. [
gedaagde sub 6] c.s. zal als de grotendeels in het ongelijk gestelde partij in de kosten van dit geding worden veroordeeld, een en ander als hierna te bespreken (zie onder 4.190.).
De zaak tegen [gedaagde sub 3] c.s.
Nietigheid van de dagvaarding
4.100. [gedaagde sub 3] c.s. ([gedaagde sub 3], Valtop Consultancy en Valtop Beheer) heeft, op vergelijkbare gronden als [gedaagde sub 6] c.s., de nietigheid van de dagvaarding bepleit. Dit beroep wordt op dezelfde gronden als hiervoor onder 4.27. tot en met 4.32. uiteengezet verworpen.
Eiswijziging en overige procedurele punten
4.101. [gedaagde sub 3] c.s. heeft geen bezwaar gemaakt tegen de eiswijziging als zodanig, die ook niet in strijd is met de goede procesorde, zodat op de gewijzigde eis recht wordt gedaan, waarbij uiteraard de inhoudelijke bezwaren hierna, voor zover nodig, in de beoordeling zullen worden meegenomen.
Onrechtmatigheid
4.102. PWS heeft zich op mutatis mutandis dezelfde gronden als ten aanzien van [gedaagde sub 6] c.s. op het standpunt gesteld dat [gedaagde sub 3] c.s. onrechtmatig jegens haar heeft gehandeld.
4.103. [gedaagde sub 3] c.s. heeft dat betwist. Voor wat betreft de eigen positie van [gedaagde sub 3] heeft hij benadrukt, dat zijn rol in de loop der jaren is gewijzigd. (vergelijk 2.15.-2.17.) In de hier relevante periode trad [gedaagde sub 3], nooit persoonlijk maar steeds via Valtop Consultancy, louter op als externe adviseur. De taak van Valtop Consultancy was gelegen in het creatieve traject. Valtop Consultancy heeft in opdracht van PWS werkzaamheden in de precontractuele fase verricht, tegen vergoeding. [gedaagde sub 3] c.s. stelt, dat in de precontractuele fase de beloning van Valtop Consultancy bestond uit een fee die een percentage van de verkoopprijs bedroeg, in combinatie met een honorarium uit de Standaardregeling Architecten, een en ander op no cure no pay basis: als de Raad van Toezicht het project niet accordeerde kreeg Valtop Consultancy geen beloning voor reeds verrichte werkzaamheden. Voor vervolgopdrachten na aankoop door PWS factureerde Valtop Consultancy op uurbasis. In de periode 2000-2005 heeft Valtop Consultancy in totaal aan managementfee € 262.678,= gedeclareerd. Valtop Consultancy had verder recht op een winstaandeel in de resultaten van VH2000+ van 40% voor 2000-2003 en 30% voor 2003-2004. Valtop Consultancy had contact met [persoon 2] en soms met [gedaagde sub 6], die zij allebei voor vertegenwoordigingsbevoegd mocht houden. De staatjes D/001-D/003 kent [gedaagde sub 3] niet.
4.104. Er is geen subsidiaire aansprakelijkheid van de vennootschappen, stelt [gedaagde sub 3] c.s. Valtop Beheer heeft in elk geval niets gedaan dat tot aansprakelijkheid kan leiden.
4.105. De rechtbank is van oordeel dat ook [gedaagde sub 3] onrechtmatig heeft gehandeld jegens PWS. In ieder geval is, als zijn rol al niet voldoende is voor een eigen onrechtmatige daad, hij aansprakelijk uit hoofde van art. 6:166 BW. De rechtbank baseert dat oordeel op de volgende overwegingen.
4.105.1. Weliswaar was de rol van [gedaagde sub 3] een andere dan die van [persoon 2] of [gedaagde sub 6] c.s., maar dat doet aan de onrechtmatigheid van zijn handelen/nalaten jegens PWS niet af. Ook voor [gedaagde sub 3] gold, dat hij op de hoogte was van de positie van PWS als woningcorporatie en dat hij in redelijkheid niet kan hebben gemeend dat het ontvangen van min of meer aanzienlijke bedragen op een Zwitserse privébankrekening (met de codenaam boompjesdijk 16111) tot de normale gang van zaken behoorde.
4.105.2. Dat Valtop Consultancy voor het zoeken en ontwikkelen van projecten, op basis van no cure-no pay, betaald kreeg maakt dat niet anders. PWS stelt immers ten aanzien van de normale betalingen voor verrichte werkzaamheden, conform het door [gedaagde sub 3] zelf weergegeven schema, niet dat die gerelateerd zijn aan de hier relevante onrechtmatige daden.
Voor de transacties die PWS onrechtmatig acht, geldt het volgende. Het verweer dat [gedaagde sub 3] (via Valtop Consultancy) werkzaamheden heeft verricht die, gelet op de normale gang van zaken in de markt, betaald zouden worden, doet aan de onrechtmatigheid niet af als de ontvangen betalingen niet op deugdelijke afspraken zijn gebaseerd. Het zich, via [gedaagde sub 6], toe-eigenen van gelden blijft dan immers in strijd met de maatschappelijke zorgvuldigheid jegens PWS. Dat wordt niet anders als, met [gedaagde sub 3] c.s., wordt aangenomen dat de geldende afspraken onder de overeenkomsten van Valtop Consultancy met PWS onder de maat waren in die zin dat zij in onvoldoende remuneratie voorzagen voor de grote hoeveelheid waardevol werk; ook een dergelijke discrepantie kan uiteraard niet rechtvaardigen dat [gedaagde sub 3] dan zelf nam wat hij meende dat hem toekwam.
4.105.3. Voor wat betreft zijn taak als algemeen adviseur van de bestuurder [persoon 2] komt daarbij, dat uit de aangetroffen documenten en verklaringen tegenover de FIOD blijkt, dat [persoon 2], [gedaagde sub 6] en [gedaagde sub 3] elkaar lang en goed kenden en dat tussen hen e-mails passeerden die niet te plaatsen zijn in een normale, zakelijke verhouding (vergelijk 2.37.).
De stelling van [gedaagde sub 3] dat hij niet bekend was met de overzichten D/001-D/003 doet daarbij niet ter zake. De waarde van deze overzichten voor het bewijs is jegens [gedaagde sub 3] c.s. daarin gelegen dat zij een, door betrokken personen ([gedaagde sub 6] en [persoon 2]) opgestelde, verantwoording van de geldstromen bevatten. Voorts blijkt uit het onderzoek van de FIOD dat die verantwoording bij een groot deel van de op die staatjes voorkomende transacties bevestigd wordt door andere gegevens. De rechtbank acht die staatjes daarmee voor het bewijs bruikbaar. Bovendien heeft [gedaagde sub 3] (als verdachte in het strafrechtelijk onderzoek, nadat hem gezegd is dat hij niet tot het afleggen van een verklaring verplicht is) erkend dat hij het overzicht dat is vervat in D/003 heeft ontvangen en verklaard dat hij wist dat [persoon 2] het had opgemaakt.
Uit die staatjes blijkt dat [gedaagde sub 3] voor gelijke delen meedeelde met [gedaagde sub 6] en [persoon 2]. Dit past niet in zijn lezing dat het hier reguliere betalingen betrof voor door Valtop Consultancy verrichte werkzaamheden.
Bedoelde nauwe relatie brengt bovendien, in het licht van het bepaalde in artikel 6:166 BW, mee dat [persoon 2], [gedaagde sub 6] en [gedaagde sub 3] als een groep in het kader van dat artikel gezien kunnen worden (zie ook 4.20.).
4.105.4. Met het voorgaande is ook verworpen het verweer dat [gedaagde sub 3] c.s. er op mocht vertrouwen dat [persoon 2] en [gedaagde sub 6], als bevoegd vertegenwoordigers van PWS, met hem afspraken mochten maken en betalingen mochten doen zonder dat hij gehouden was na te gaan of PWS - dat wil in dit verband zeggen: de rest van de Raad van Toezicht - daarmee instemde. [gedaagde sub 3] heeft dus misbruik gemaakt van enerzijds zijn contacten met [persoon 2] en [gedaagde sub 6] en anderzijds van de gebrekkige controlestructuur binnen PWS. Dat het onrechtmatige handelen hem kan worden toegerekend vloeit voort uit de omstandigheid dat het hier bewuste keuzes betreft.
4.106. De schade bestaat volgens PWS, zeer kort samengevat, in een achteruitgang van de vermogenspositie van PWS omdat zij ter zake van vastgoedtransacties teveel heeft betaald dan wel te weinig heeft ontvangen. [gedaagde sub 3] c.s. hebben er echter op gewezen dat de projecten in kwestie per saldo winstgevend zijn geweest voor PWS. Als [gedaagde sub 3] c.s. geen werkzaamheden had verricht en niet had bemiddeld zou PWS die projecten niet hebben verworven. Voor de bemiddeling en het werk had bovendien hoe dan ook betaald moeten worden.
4.107. Voor de vraag of inderdaad sprake is van nadeel kunnen de Ernst & Young rapporten weinig toevoegen. Deze hebben, ook als wordt aangenomen dat het begroten van schade binnen de opdracht viel (zoals de rechtbank uit die opdracht wel opmaakt) op dit punt weinig betekenis. Bij het opstellen van dat rapport werd immers niet beschikt over het volledige materiaal. Deze worden dus thans daargelaten.
4.108. Op dit moment acht de rechtbank, gelet op hetgeen hiervoor werd overwogen, voldoende aannemelijk dat PWS enig nadeel heeft ondervonden als gevolg van het onrechtmatig gedrag van [gedaagde sub 3] en Valtop Consultancy. Voorshands acht de rechtbank onaannemelijk dat sprake is van te verrekenen voordeel in de zin van artikel 6:100 BW, omdat de projecten later winstgevend bleken; verwezen wordt naar hetgeen werd overwogen onder 4.9., dat hier mutatis mutandis van toepassing is. Nog daargelaten eventuele latere (externe) ontwikkelingen, het is niet de (koop of verkoop-)transactie zelf die onrechtmatig is, althans dat is niet gesteld, zodat aan het eng op te vatten criterium dat nadeel en voordeel voortvloeien uit eenzelfde gebeurtenis niet voldaan is.
Voor wat de schade betreft verwijst de rechtbank voorts naar overweging 4.4. In dat verband verdient opmerking dat in de hypothetische situatie (waarmee de feitelijke situatie wordt vergeleken) weliswaar het onrechtmatig gedrag moeten worden weggedacht, maar dat betekent, anders dan [gedaagde sub 3] c.s. blijkbaar meent, niet zonder meer dat deze projecten geheel worden weggedacht.
4.109. Voor wat betreft de hoofdelijkheid geldt dat deze naast hetgeen hierover per project wordt overwogen, in de schadestaatprocedure nader kan worden besproken.
Aelbrechtskade
4.110. PWS heeft ten aanzien van dit project ten aanzien van [gedaagde sub 3] c.s. hetzelfde aangevoerd als ten aanzien van [gedaagde sub 6] c.s.
4.111. [gedaagde sub 3] c.s. heeft daartegenover gesteld, dat [gedaagde sub 3] c.s. niet betrokken is geweest bij de aankoop. Valtop Consultancy heeft wel in de precontractuele fase werkzaamheden verricht, die hebben geleid tot een zogenaamd fasedocument dat door [persoon 2] is voorgelegd aan de Raad van Toezicht. Valtop Consultancy heeft voor haar werkzaamheden € 18.000,= gedeclareerd aan [gedaagde sub 11] en € 25.000,= aan [gedaagde sub 6] c.s., die deze factuur heeft voldaan via Jamabel op een Zwitserse bankrekening van [gedaagde sub 3]. [gedaagde sub 3] c.s. is niets bekend van ophoging van de koopprijs en Ernst & Young heeft geen benadeling vastgesteld; van schade is geen sprake.
4.112. De rechtbank is van oordeel dat sprake is van een onrechtmatige daad van [gedaagde sub 3] en Valtop Consultancy. Naast hetgeen hiervoor in het algemeen werd overwogen geldt met betrekking tot dit project nog het volgende.
Ook als het, niettegenstaande het bepaalde in artikel 7:417 BW (het verbod op het dienen van twee heren) aanvaardbaar was om bij meerdere opdrachtgevers kosten in rekening te brengen kan [gedaagde sub 3] niet te goeder trouw en in redelijkheid gemeend en/of verwacht hebben dat werkzaamheden voor PWS betaald zouden worden door middel van een overboeking van de Curaçaose vennootschap van de voorzitter van de Raad van Toezicht op een persoonlijke Zwitserse bankrekening van [gedaagde sub 3]. Een dergelijke wijze van afrekening is zo ongebruikelijk dat het [gedaagde sub 3] c.s. duidelijk geweest moet zijn dat PWS - de rest van de Raad van Toezicht - deze niet had geaccordeerd. Van hem had dus verlangd mogen worden dat hij dit bij de Raad van Toezicht zou nagaan; anders gezegd: [gedaagde sub 3] moet hebben geweten dat de door hem ontvangen betalingen de vrucht waren van onrechtmatig handelen (en nalaten) jegens PWS. Daar komt bij, dat het ontvangen bedrag in de lezing van [gedaagde sub 3] c.s. niet op inzichtelijke wijze te verklaren valt; de verklaring van PWS, dat de ƒ 75.000,= in drie gelijke delen is verdeeld, is daarentegen, gelet op de ondersteuning door de documenten, in het bijzonder D/002, sluitend. Voor wat betreft de schade geldt hier mutatis mutandis hetgeen ten aanzien van dit project bij [gedaagde sub 6] c.s. werd overwogen.
Giam
4.113. PWS heeft ook hier aan [gedaagde sub 3] c.s. dezelfde verwijten gemaakt als aan [gedaagde sub 6] c.s.
4.114. [gedaagde sub 3] c.s. stelt dat hij bij dit project op geen enkele wijze betrokken is geweest. Juist is wel dat [gedaagde sub 3] op zijn Zwitserse rekening ƒ 368.023,= heeft ontvangen, maar dat staat los van dit project. Het betreft hier een betaling voor werkzaamheden in verband met een samenwerkingsverband met [gedaagde sub 6] c.s. op Curaçao en in de Dominicaanse Republiek. Deze projecten hebben vanaf medio jaren ‘90 gelopen, maar [bedrijf 7] is daarvoor in die periode, zoals te doen gebruikelijk voordat een project tot afronding komt, niet betaald. Omdat Valtop Consultancy [bedrijf 7] in 2000 verkocht heeft aan de Stichting VH2000+ en daarom afgerekend moest worden hebben [gedaagde sub 6] c.s. en [gedaagde sub 3] afgesproken dat de fee voor de verrichte werkzaamheden en de afkoop van de winstdeling, ad ƒ 370.000,= min administratiekosten, aldus
ƒ 368.023,=, door [gedaagde sub 3] bij [gedaagde sub 6] c.s. in rekening gebracht kon worden. [gedaagde sub 3] c.s. heeft van deze werkzaamheden diverse bewijsstukken overgelegd; ook bij de FIOD heeft [gedaagde sub 3], als verdachte, dienovereenkomstig verklaard.
4.115. De rechtbank is van oordeel dat [gedaagde sub 3] c.s. met dit verweer weliswaar aannemelijk heeft gemaakt dat hij ook op andere gronden aanspraak had op betalingen door [gedaagde sub 6] c.s., maar daarmee onvoldoende de (onderbouwde) stellingen van PWS heeft ontkracht. [persoon 2] speelt in de afwikkeling tussen [gedaagde sub 6] en [gedaagde sub 3] van bedoelde buitenlandse projecten geen rol, maar voldoende aannemelijk is dat [persoon 2], [gedaagde sub 6] en [gedaagde sub 3] (al dan niet met hun respectieve vennootschappen) gezamenlijk betrokken zijn bij diverse vastgoedtransacties waarbij PWS een rol speelde en de daaruit verkregen bedragen onderling verdeelden (welke verdeling onder meer in D/001 is neergelegd); daarop is de aansprakelijkheid ex artikel 6:166 BW gestoeld. Dat dit één van die transacties was acht de rechtbank voldoende aannemelijk. Met name is daarbij van belang dat de betaling is gedaan op een Zwitserse rekening, dat de betaling is opgenomen in D/001 en dat in deze periode, overeenkomstig D/001, eenzelfde bedrag ook aan [persoon 2] is betaald (zie 2.36.). Tegen die achtergrond schiet het verweer van [gedaagde sub 3] c.s., dat hieraan volstrekt voorbij gaat, te kort.
Op mutatis mutandis dezelfde gronden als hiervoor ten aanzien van [gedaagde sub 6] genoemd is enige benadeling van PWS aannemelijk; [gedaagde sub 3] en Valtop Consultancy zijn dus aansprakelijk jegens PWS. Over de schade kunnen partijen nader debatteren.
Rijnhotel
4.116. Tegenover mutatis mutandis dezelfde verwijten van PWS als die ten opzichte van [gedaagde sub 6] c.s. heeft [gedaagde sub 3] c.s. gesteld, en (deels) met stukken onderbouwd, dat het hotel op 17 mei 2000 aan PWS is aangeboden, die geen belangstelling had. [gedaagde sub 3] heeft voor het hotel een nieuw concept ontwikkeld (“Appartel”), een massastudie en haalbaarheidberekeningen gemaakt en een samenwerkingsovereenkomst gesloten. [bedrijf 7] heeft het pand voor 30 miljoen gulden gekocht op 22 december 2000, waarbij [bedrijf 6], een dochter van de [bedrijf 7], het project zou ontwikkelen en turn-key aan PWS zou leveren. Ook daarna is [gedaagde sub 3] betrokken geweest bij de ontwikkeling van het project; uiteindelijk is het gekomen tot verkoop van het project door PWS. Van schade is geen sprake en betalingen heeft [gedaagde sub 3] niet ontvangen.
4.117. Naar het oordeel van de rechtbank heeft PWS haar vordering, gelet op dit verweer, onvoldoende gemotiveerd gehandhaafd gelet op de hiervoor onder 4.58. e.v. ten aanzien van [gedaagde sub 6] c.s. weergegeven redenering, die ook hier mutatis mutandis geldt. Dit deel van de vordering zal dus worden afgewezen.
Vissersdijk, Atta en Schoterbos
4.118. PWS verwijt [gedaagde sub 3] c.s. mutatis mutandis hetzelfde als [gedaagde sub 6] c.s.
Ten aanzien van deze projecten heeft [gedaagde sub 3] c.s. gemotiveerd verweer gevoerd. Voor wat betreft Vissersdijk heeft [gedaagde sub 3] c.s. gesteld dat Valtop Consultancy, na aankoop van het project (inmiddels de Witte Keijzer gedoopt) door PWS, in opdracht van PWS ontwikkelingswerkzaamheden heeft verricht die zij bij [bedrijf 7] heeft gedeclareerd op regiebasis. Andere bedragen heeft [gedaagde sub 3] c.s. ter zake niet ontvangen. Van nadeel voor PWS is geen sprake geweest, op de transactie als geheel is winst geboekt.
4.119. Voor wat betreft deze projecten zal op mutatis mutandis dezelfde gronden als bij [gedaagde sub 6] c.s. uiteengezet de vordering op dit punt als onvoldoende gemotiveerd gehandhaafd aangemerkt worden en zal deze dus worden afgewezen.
St. Jacobsplaats
4.120. Ook hier betreft het een verwijt van PWS dat weliswaar ziet op een project van andere aard dan de voorgaande projecten, doch wel, voor zover relevant, gelijk is aan het verwijt dat PWS [gedaagde sub 6] c.s. ter zake maakt.
4.121. [gedaagde sub 3] c.s. heeft niet ontkend dat bedragen ten aanzien van dit project zijn ontvangen, maar heeft als verweer aangevoerd dat Valtop Consultancy met Jamabel had afgesproken dat, als zij erin slaagde een haalbaar project met een verkoopwaarde van
8 miljoen gulden te realiseren, [gedaagde sub 3] c.s. ƒ 170.000,= bij verkoop zou mogen declareren. Dat is, na aftrek van ƒ 250,= administratiekosten, ook het bedrag dat [gedaagde sub 3] c.s. heeft ontvangen. Bij de verkoop zelf is [gedaagde sub 3] niet betrokken geweest, eventuele afspraken van Jamabel met derden zijn [gedaagde sub 3] c.s. niet bekend. Na verkoop van het project heeft [gedaagde sub 3] c.s. vervolgens op uurbasis nadere werkzaamheden gedeclareerd.
4.122. De rechtbank vat ook ten aanzien van [gedaagde sub 3] c.s. de vordering van PWS zo op dat die ziet op ƒ 1.500.000,= te weinig ontvangen verkoopprijs en niet op de op uurbasis gedeclareerde werkzaamheden.
Ten aanzien van de te weinig ontvangen koopprijs verwerpt de rechtbank de verweren van [gedaagde sub 3] c.s. Dat het bedrag door [bedrijf 2] is betaald en is verdeeld over de genoemde personen blijkt uit D/001 en de door de FIOD aangetroffen bijschrijvingen op de bankrekeningen. Op basis van het FIOD-rapport (zie 2.28.) is duidelijk dat een geldbedrag (de vierde termijn) is verdeeld onder [persoon 2], [gedaagde sub 3] (allebei op hun Zwitserse rekeningen), [gedaagde sub 6] (via Jamabel) en [gedaagde sub 15]. Daarmee is de lezing van [gedaagde sub 3] niet te verenigen. Dat het hier een commissie-afspraak tussen Jamabel en Valtop Consultancy zou betreffen neemt, gelet op hetgeen hiervoor werd overwogen, niet weg dat [gedaagde sub 3] er niet van uit kon gaan dat PWS daarmee instemde en doet niet af aan de onrechtmatigheid en de aannemelijkheid van schade.
4.123. Voor wat betreft de later doorgevoerde verhoging van de aan de kopers van de woningen in rekening gebrachte koopprijs geldt mutatis mutandis hetgeen hiervoor op dit punt aangaande de overeenkomstige vordering jegens [gedaagde sub 6] werd overwogen. Dit deel van de vordering zal dus niet toewijsbaar zijn.
Woonplus (I en II)
4.124. PWS heeft haar vordering op mutatis mutandis dezelfde stellingen gebaseerd als hiervoor onder 4.79. e.v. weergegeven ten opzichte van [gedaagde sub 6] c.s.
4.125. [gedaagde sub 3] c.s. heeft gemotiveerd verweer gevoerd. Naast hetgeen meer in het algemeen is aangevoerd ziet het verweer op het punt dat het enkele ongebruikelijke karakter van het betalen van commissie geen deugdelijke basis voor de vordering biedt en voorts dat de betaalde beloningen PWS niet regarderen, omdat zij een uitvloeisel zijn van de afspraken tussen Woonplus en [gedaagde sub 11]. Ten aanzien van Woonplus I stelt PWS niets concreets, zodat dit geheel buiten beschouwing moet blijven.
4.126. De rechtbank oordeelt als volgt. Kennelijk gold er ten tijde van de Woonplus II-transactie geen regelgeving die in de weg stond aan het betalen van commissie bij een verkoop tussen twee woningcorporaties. Dat Woonplus, om haar moverende redenen, aanleiding zag om die te betalen blijkt uit de beschikbare gegevens.
Hoewel op zichzelf juist is dat het ongebruikelijke karakter daarvan de transactie nog niet onrechtmatig maakt, is dat op zich niet betwiste aspect wel van belang; de in acht te nemen zorgvuldigheid jegens PWS brengt mee, dat [gedaagde sub 3] c.s. bij een ongebruikelijke transactie extra diende na te gaan of de betrokken betalingen wel waren geaccordeerd. Uit D/002 moet worden opgemaakt, dat ƒ 45.000,= is overgemaakt aan [gedaagde sub 3] in verband met deze transactie.
Op basis van de hiervoor weergegeven norm is het gedrag van [gedaagde sub 3] c.s. onrechtmatig jegens PWS, zelfs als zou vast staan dat Valtop Consultancy werkzaamheden had verricht. Uit de stellingen van [gedaagde sub 3] c.s. moet immers worden opgemaakt, dat hij voor die, in de precontractuele fase verrichte, werkzaamheden de overgelegde factuur ad ƒ 135.000,= aan [gedaagde sub 11] heeft gezonden. Dat staat echter buiten de thans voorliggende verwijten, want dat is niet het bedrag van de courtage van ƒ 180.000,= dat door [gedaagde sub 11] verdeeld is en waarop PWS haar vordering baseert.
Op basis van de eigen stellingen van [gedaagde sub 3] c.s., valt niet in te zien waarom [gedaagde sub 3] nog ƒ 45.000,= zou ontvangen naast de vergoeding van ƒ 135.000,= voor de verrichte en gefactureerde werkzaamheden. [gedaagde sub 3] c.s. benadrukt zelf, dat ter zake van de aankoop en daarna geen werk meer is gedaan. Dat [gedaagde sub 11] de middelen voor deze doorbetaling van PWS had verkregen had [gedaagde sub 3] c.s., gelet op de situatie als geheel en zijn contacten met [gedaagde sub 6], moeten weten. Voldoende aannemelijk is dat er schade is geleden omdat de commissie van [gedaagde sub 11] hoger was dan noodzakelijk nu [gedaagde sub 11] een deel daarvan aan anderen zoals [gedaagde sub 3] c.s. diende af te staan. In zoverre heeft dit dan ook tot schade geleid, omdat aannemelijk is dat PWS het project goedkoper had kunnen verkrijgen als de commissie lager was geweest. Over de hoogte van de schade kunnen partijen nader debatteren.
4.127. Aangaande de Woonplus I-transactie ontbreekt (anders dan bij [gedaagde sub 6] c.s.) elke concrete aanwijzing dat [gedaagde sub 3] c.s. een deel van de commissie, na verdeling door [gedaagde sub 10], heeft ontvangen. Dit deel van de vordering is dus onvoldoende onderbouwd als het gaat om aansprakelijkheid uit hoofde van art. 6:162 BW.
Voor wat betreft de aansprakelijkheid uit hoofde van art. 6:166 BW geldt dat, zoals hiervoor reeds werd overwogen, sprake is van een groep in de zin van art. 6:166 BW, bestaande uit [persoon 2], [gedaagde sub 6] en [gedaagde sub 3]. Het gepleegd zijn van de onrechtmatige daad door [gedaagde sub 6] is voldoende komen vast te staan. Hoewel de kans op het toebrengen van schade [gedaagde sub 3] had behoren te weerhouden van deelname aan de groepsactiviteiten is onvoldoende gesteld om aan te kunnen nemen dat het doorsluizen van gelden door [gedaagde sub 10] naar [gedaagde sub 6] in verband met Woonplus I aan [gedaagde sub 3] kan worden toegerekend. Daarbij is met name meegewogen dat in de staatjes D/001-003 deze transactie niet voorkomt.
Dit deel van de vordering is dus niet toewijsbaar.
TKN-pakketten
4.128. PWS houdt [gedaagde sub 3] c.s. op mutatis mutandis dezelfde gronden als [gedaagde sub 6] c.s. aansprakelijk.
[gedaagde sub 3] c.s. stelt niet betrokken te zijn geweest bij de aankoop van dit pakket en, behoudens zijn algemene rol in het aanpakken van huisjesmelkers, ook niet op enigerlei andere wijze bij het pakket betrokken te zijn geweest. Betalingen zijn door hem niet ontvangen, ook niet op zijn Zwitserse rekening.
4.129. De rechtbank is van oordeel dat voorshands op grond van met name de hiervoor, in de zaak tegen [gedaagde sub 6] c.s. weergegeven, verklaringen van [persoon 1] en [persoon 13], in combinatie met de vermeldingen op D/003 en de bevindingen van de FIOD, voldoende aannemelijk is dat door PWS schade is geleden ter zake van de TKN-transacties. De rechtbank ziet echter, mede gelet op het verweer, onvoldoende aanknopingspunten voor een eigen onrechtmatige daad van [gedaagde sub 3] c.s. De FIOD heeft [gedaagde sub 3] niet specifiek over deze transactie gehoord en geldstromen in zijn richting zijn niet, via facturen en/of bankafschriften, achterhaald.
4.130. Gelet op de nauwe samenwerking tussen [gedaagde sub 6], [persoon 2] en [gedaagde sub 3], de vermelding op D/003 en de vergelijking met een ander overzicht (D/406) dat bij de huiszoeking bij [gedaagde sub 6] is aangetroffen en waar, op de betreffende regel “Atta” staat vermeld, acht de rechtbank echter aansprakelijkheid op basis van artikel 6:166 BW wel aanwezig. [gedaagde sub 3] wist, naar blijkt uit het e-mail verkeer, de verrekeningen en de genoemde overzichten, dat sprake was van meerdere transacties waarbij aanzienlijke geldstromen werden gecreëerd. Bij sommige daarvan was hij, zoals uit het vorenstaande blijkt, zelf zodanig betrokken dat hem een onrechtmatige daad kan worden verweten. Hij moet door die betrokkenheid dan tevens aansprakelijk geacht worden voor het in dezelfde lijn liggende en hem bekende handelen van de anderen ([persoon 2] en [gedaagde sub 6]).
4.131. PWS noemt in dit verband ook bevindingen die de FIOD relateert aan “pakket groot deel 2”, in deze procedure ook wel de TKN-pakketten C-E. Op mutatis mutandis dezelfde gronden als ten aanzien van [gedaagde sub 6] c.s. acht de rechtbank het betrekken van deze transacties bij de (onderbouwing van de) verwijten toelaatbaar; voor het overige zullen partijen hun posities in het schadedebat nader kunnen uitwerken.
Slaakhuys
4.132. Ook hier verwijt PWS aan [gedaagde sub 3] c.s. op dezelfde gronden als aan [gedaagde sub 6] c.s. een onrechtmatige daad.
4.133. [gedaagde sub 3] c.s. voert verweer en benadrukt, dat van de ophoging van de koopprijs niets bekend was, vanaf het begin is de koopprijs van ƒ 11.250.000,- genoemd. Toen de FIOD [gedaagde sub 3] met de ophoging confronteerde vernam hij daarover voor het eerst en heeft hij verklaard dat dat naar fraude riekt. [gedaagde sub 3] c.s. is bij de aankoop niet betrokken geweest; hij heeft slechts in het voorstadium uitgebreide werkzaamheden in het kader van haalbaarheidsstudies verricht, waarvoor hij met [gedaagde sub 6] c.s. een honorarium van
ƒ 375.000,= heeft afgesproken. [gedaagde sub 3] c.s. was niet op de hoogte van de verdeling door [gedaagde sub 6] c.s., aldus nog steeds [gedaagde sub 3] c.s.
4.134. De rechtbank constateert, dat vast staat dat de FIOD twee contracten heeft aangetroffen met een prijsverschil daartussen van 1,5 miljoen gulden. Voorts heeft [bedrijf 3] verklaard dat het prijsverschil door [gedaagde sub 10] is bepaald. [persoon 8] verklaart, dat [bedrijf 3] hem gebeld had omdat hij het raar vond dat [gedaagde sub 10] wilde dat de prijs verder werd verhoogd.
Voor zover PWS heeft willen stellen dat [gedaagde sub 3] daadwerkelijk wist dat aanvankelijk een lagere prijs was genoemd en welke dat was, is die stelling, naar het oordeel van de rechtbank, onvoldoende onderbouwd. De rechtbank acht dat echter niet van doorslaggevend belang. Immers, dat de prijs op die wijze is opgehoogd moet op basis van de beschikbare bewijsmiddelen als vast staand worden aangenomen. Voor het overige blijkt uit D/002 dat [gedaagde sub 3] ter zake van deze transactie bedragen heeft ontvangen, net als [gedaagde sub 6] en [persoon 2].
Gelet op de gehele gang van zaken, inclusief de hiervoor onder 2.37. geciteerde e-mail (die aan [gedaagde sub 3] gericht was) wist [gedaagde sub 3] dat [gedaagde sub 10] gelden ter zake van deze transactie doorbetaalde en moet hij hebben geweten dat er geld ten koste van PWS gegenereerd werd uit deze koopovereenkomst. Dat dit gebeurde door verhoging van de koopprijs lag dan zozeer voor de hand dat [gedaagde sub 3] daarmee geacht moet worden rekening te hebben gehouden. [gedaagde sub 3] heeft ook niet ontkend dat hij ter zake van deze transactie bedragen heeft ontvangen, maar hij relateert dat aan betalingsafspraken ter zake van daadwerkelijk verrichte werkzaamheden. Ook hier geldt dat [gedaagde sub 3] c.s. er, in de gegeven omstandigheden, niet van uit mocht gaan dat PWS instemde met deze betalingen en dat hij in de wijze van overboeking en de communicatie daarover reden te meer had moeten zien om een en ander nader te controleren. Dat het hier ging om reguliere betalingen ter zake van de door hem verrichte werkzaamheden kon hij in redelijkheid niet aannemen. Zijn gedrag was dus onrechtmatig, getoetst aan meergenoemde maatstaf. Over de p[gedaagde sub 3]lematiek van de omvang van de werkzaamheden en de vraag of/hoe deze van belang is voor de schade, kunnen partijen, indien [gedaagde sub 3] c.s. daartoe aanleiding zien, in het debat over de schade nader in discussie gaan.
Ruygrok
4.135. Tegenover de verwijten die PWS [gedaagde sub 3] c.s. maakt, die voor zover van belang overeenkomen met de verwijten aan [gedaagde sub 6] c.s., verweert [gedaagde sub 3] c.s. zich met een uitvoerig en met stukken onderbouwd betoog omtrent de werkzaamheden die in het kader van de ontwikkeling van de beide Ruygrok-pakketten zijn verricht. [gedaagde sub 3] c.s. stelt, dat vanwege de strategische waarde van deze pakketten en de omstandigheid dat er meerdere belangstellenden waren een extra honorarium is afgesproken. [bedrijf 9] heeft de ontwikkelingsopdracht gekregen en die in onderaanneming (in regie) aan Valtop Consultancy uitbesteed, terwijl tussen de aanbrenger, [persoon 1] en [gedaagde sub 3] afgesproken was dat [persoon 1] aan [gedaagde sub 3] een vergoeding mocht declareren. Uiteindelijk heeft Ruygrok, rekening houdend met al deze aanspraken, aan de jaarhuur gerelateerde bedragen van € 260.677,= en € 283.970,= in de te betalen koopsom begrepen. Dit alles was al verrekend in de aan PWS gepresenteerde bedragen. Een en ander is conform de afspraken en zonder dat gebruik is gemaakt van facturen van Bubuco met [persoon 1] en [gedaagde sub 3] c.s. afgerekend. Van andere verdelingen weet [gedaagde sub 3] c.s. niets af.
4.136. De rechtbank verwerpt het verweer. Vast staat, dat [gedaagde sub 3] c.s. bedragen heeft ontvangen. Op 25 november 2002 heeft Valtop Consultancy nog een factuur ad
€ 260.667,= gezonden aan Ruygrok voor dit project, dat op 28 november 2002 door PWS is gekocht. In de visie van de heer [persoon 3], zoals die blijkt uit het overgelegde proces-verbaal van zijn verhoor in de strafzaak, is dat in strijd met de projectovereenkomst.
De e-mail door de FIOD aangeduid als D/231 (zie 2.44., “ff onderbouwen”) alsmede de
e-mail d.d. 20 december 2002 aan [gedaagde sub 6] en [persoon 2] (aangetroffen bij de huiszoeking bij [gedaagde sub 6]), inhoudende : “vrienden het is binnen, ik zie jullie facturen tegemoet” (zie 2.44.), afkomstig van het e-mail adres van [gedaagde sub 3] en ondertekend met zijn voornaam [naam], in combinatie met de aangetroffen factuur van Valtop Consultancy voor € 283.970,=, welke inhoudelijk overeenkomt met de factuur gehecht aan de e-mail, zijn niet te plaatsen in de lezing van [gedaagde sub 3] c.s.. Deze passen daarentegen zeer goed in de lezing van PWS. Bovendien blijkt, dat de betrokken gelden zijn verdeeld.
Weliswaar is geen factuur van Bubuco aangetroffen, maar [gedaagde sub 3] zelf, als verdachte door de FIOD gehoord, verklaart dat hij [gedaagde sub 6] c.s. commissie heeft betaald ter zake van deze transactie. De transactie komt bovendien voor op D/003, een overzicht dat [gedaagde sub 3], zoals hiervoor overwogen, erkent te hebben ontvangen. In die situatie kan de conclusie slechts zijn dat [gedaagde sub 3] c.s. onrechtmatig heeft gehandeld jegens PWS, terwijl aannemelijk is dat PWS daardoor is benadeeld. Voor wat betreft de eventuele invloed van de verrichte werkzaamheden op de omvang van de schade geldt wederom dat [gedaagde sub 3] c.s. daarop desgewenst in het schadebat kan terugkomen.
Pleinweg
4.137. De verwijten komen overeen met die aan [gedaagde sub 6] c.s. en [gedaagde sub 3] c.s. heeft ook hier verweer gevoerd, waarbij is gesteld dat geen geld is ontvangen en de FIOD dat ook niet heeft geconcludeerd.
4.138. Dit verweer slaagt, in die zin dat de rechtbank van oordeel is dat PWS, tegenover het verweer van [gedaagde sub 3] c.s. en gelet op de door PWS zelf als wezenlijk aangeduide FIOD-rapportage, haar vordering op dit punt ten opzichte van [gedaagde sub 3] c.s. onvoldoende heeft onderbouwd. Weliswaar komt het voor op D/003, maar in het FIOD-onderzoek is dit project niet met [gedaagde sub 3] besproken, terwijl een geldstroom richting [gedaagde sub 3] c.s. niet is aangetroffen; er zijn slechts vermoedens op dat punt (er zou sprake zijn van een verrekening). Ook voor groepsaansprakelijkheid is dit te mager.
Dunehold
4.139. PWS houdt ook hier [gedaagde sub 3] c.s. aansprakelijk terwijl [gedaagde sub 3] c.s. gemotiveerd verweer voert. [gedaagde sub 3] c.s. stelt dat Valtop Consultancy voor twee kantoorpanden een ontwikkelingsvoorstel heeft gemaakt en dat PWS het ene en [bedrijf 7] het andere pand gehuurd heeft. Bij de verkoop van de [bedrijf 7] aan de stichting VH2000+ is een financieel accountantsonderzoek gedaan, waarbij is vastgesteld dat het een marktconform contract betrof. Er is inderdaad sprake geweest van een betaling door Dunehold, maar dat betrof “tekengeld”, een premie voor het huurcontract van [bedrijf 7] dat [gedaagde sub 3] namens [bedrijf 7] heeft gesloten. PWS had daarmee niets van doen.
4.140. De rechtbank is van oordeel, dat ten aanzien van het pand dat aan [bedrijf 7] is verhuurd en het daarvoor aan [gedaagde sub 3] c.s. betaalde tekengeld, wat daarvan verder ook zij, onvoldoende is gesteld om een verband tussen die transactie en PWS te kunnen aannemen. Het verwijt komt dus louter aan de orde voor zover het ziet op het pand dat PWS heeft gehuurd. Ten aanzien van dat pand acht de rechtbank de onrechtmatigheid voldoende gebleken. Niet alleen komt deze transactie voor op D/001, maar er is ook een betaling van
ƒ 97.000,= via Jamabel naar de Zwitserse rekening van [gedaagde sub 3] c.s. aangetroffen, die [gedaagde sub 3] als verdachte heeft toegegeven te hebben ontvangen.
Op mutatis mutandis dezelfde gronden als hiervoor onder 4.134. uiteengezet moet dit onrechtmatig worden geacht. Dat het hier om verhuur gaat en niet verkoop maakt geen relevant verschil. Dat hier sprake zou zijn van werkzaamheden, ten behoeve van PWS, die een provisie rechtvaardigden is onvoldoende gemotiveerd, zodat dat aspect in het schadedebat geen aandacht behoeft.
Conclusie
4.141. [gedaagde sub 3] is dus aansprakelijk uit onrechtmatige daad (op de voet van art. 6:162 dan wel 6:166 BW) jegens PWS.
4.142. Voor wat betreft de verhouding tussen [gedaagde sub 3] en Valtop Consultancy geldt op mutatis mutandis dezelfde gronden hetzelfde als hiervoor ten aanzien van [gedaagde sub 6] en de door hem gecontroleerde vennootschappen werd overwogen. Ook Valtop Consultancy is dus uit onrechtmatige daad aansprakelijk.
De rechtbank zal de zaak daarom verwijzen naar de schadestaatprocedure. Partijen kunnen dan in dat kader, in lijn met hetgeen ter comparitie was afgesproken en met inachtneming van hetgeen hiervoor is overwogen, het debat over de schade in volle omvang voeren.
4.143. [gedaagde sub 3] en Valtop Consultancy zullen als de grotendeels in het ongelijk gestelde partij in de kosten van dit geding worden veroordeeld.
4.144. Ten aanzien van Valtop Beheer heeft PWS echter, gelet op de minimale betrokkenheid van die vennootschap, onvoldoende concreet gesteld en onderbouwd dat en waarom die vennootschap aansprakelijk zou zijn. De vordering jegens haar zal dus worden afgewezen, met veroordeling van PWS in de kosten. Deze kosten zullen worden gematigd met 2 punten, een en ander overeenkomstig hetgeen wordt overwogen onder 4.190.
Reconventie
4.145. [gedaagde sub 3] legt aan zijn vordering ten grondslag, dat het gelegde beslag onrechtmatig is en dat de overeenkomst tussen PWS en Valtop Consultancy, inhoudende dat Valtop Consultancy/[gedaagde sub 3] voor PWS de vastgoedafdeling zou managen tot 2010 onterecht is opgeschort dan wel afgebroken. [gedaagde sub 3] zou voorts tegen betaling van een vergoeding ad 3% van de stichtingskosten projecten turn-key leveren aan ING Vastgoed en Nagron Vastgoed. [gedaagde sub 3] c.s. is projecten misgelopen als gevolg van de onterechte beschuldigingen. Daarnaast had Valtop Consultancy 5 projecten van [bedrijf 7] in architectuur-opdracht, die onterecht zijn opgeschort/afgebroken. Tenslotte bestond een recht op een winstuitkering van 40% ten opzichte van [bedrijf 7] op basis van in 2003 gemaakte afspraken, terwijl die niet is uitgekeerd. [gedaagde sub 3] c.s. lijdt daardoor schade.
4.146. PWS heeft gemotiveerd verweer gevoerd. Zij heeft gewezen op de door haar in conventie aangevoerde stellingen zodat de verwijten, de beslagen en de opschorting/ontbinding van de afspraken niet onterecht zijn geweest. Voor wat betreft de verhouding tussen [gedaagde sub 3] en [bedrijf 7] geldt, dat inderdaad een managementovereenkomst heeft bestaan, doch deze is per 1 januari 2005 beëindigd. De voorwaarden waaronder [gedaagde sub 3] c.s. aanspraak zou kunnen maken op een vergoeding van 40% zijn nooit vervuld.
4.147. De rechtbank oordeelt als volgt.
4.147.1. Voor wat betreft de beslagen blijkt uit het voorgaande dat deze niet onrechtmatig gelegd zijn, nu in elk geval sprake is van een onrechtmatige daad en zeer waarschijnlijk is dat PWS uit dien hoofde een (aanzienlijke) vordering heeft op [gedaagde sub 3] c.s.; daaraan doet niet af dat de exacte omvang van die vordering eerst later zal kunnen worden vastgesteld.
4.147.2. Het niet doorgaan van opdrachten als gevolg van onterechte beschuldigingen is, nu in elk geval op een aantal zeer relevante punten van terechte beschuldigingen sprake is, geen adequate grondslag van de vordering.
Onduidelijk is in hoeverre [gedaagde sub 3] c.s. zijn aanvankelijke stellingen over het niet verder voortzetten van de plannen aangaande de vastgoedafdeling van PWS en de misgelopen inkomsten uit architectuur-opdrachten handhaaft, maar ten aanzien daarvan zal, gelet op de overwegingen in conventie, toewijzing van enig schadebedrag niet aan de orde zijn, nu PWS in redelijkheid niet gehouden was eventuele toezeggingen - als die er al waren - gestand te doen nadat gebleken was van de zeer verwijtbare gedragingen die in deze procedure aan de orde zijn. Deze onderdelen van de vordering in reconventie zullen dus worden afgewezen.
4.147.3. Voor wat betreft de winstuitkering van [bedrijf 7] geldt dat dit een punt is dat vrijwel geheel los staat van de rest van het geschil; het debat op dat punt heeft weinig aandacht gekregen en is thans nog niet voldoende uitgekristalliseerd om daarin een beslissing te nemen. De rechtbank zal dit onderdeel van de zaak daarom afsplitsen.
4.148. Nu het debat in reconventie voornamelijk heeft gezien op de thans af te wijzen onderdelen zullen [gedaagde sub 3] c.s. als de grotendeels in het ongelijk gestelde partij in de kosten worden veroordeeld. In de afgesplitste procedure zal te zijner tijd een separate beslissing over de kosten worden genomen.
De zaak tegen [gedaagde sub 10] c.s.
Nietigheid van de dagvaarding
4.149. Voor zover [gedaagde sub 10] c.s. ([gedaagde sub 10], [gedaagde sub 11] en Giam) heeft willen betogen dat de dagvaarding nietig is dan wel zich heeft willen aansluiten bij de verweren van de andere gedaagden in conventie wordt het verweer verworpen, omdat de verwijten, hoewel summier, in de dagvaarding zijn geduid en onderbouwd terwijl op die feiten een duidelijke vordering met een geëxpliciteerde grondslag is gebaseerd. Verweer was dan ook in redelijkheid mogelijk. Het verweer van [gedaagde sub 11] op dit punt is niet zodanig uitgewerkt dat hierover meer gezegd hoeft te worden.
Inhoudelijk-algemeen
4.150. De verwijten die PWS [gedaagde sub 10] c.s. maakt zijn voornamelijk dezelfde als die zij [gedaagde sub 6] c.s. en [gedaagde sub 3] c.s. maakt. PWS heeft gesteld dat de in voorkomend geval door [gedaagde sub 11] daadwerkelijk verrichte werkzaamheden niet relevant zijn, gelet op de onrechtmatige benadeling van PWS en de verdeling van de aldus gegenereerde gelden over [persoon 2], [gedaagde sub 3] en [gedaagde sub 6], terwijl de betrokkenheid van [gedaagde sub 11] de benadeling mogelijk heeft gemaakt. Het onrechtmatige karakter van het gedrag van [gedaagde sub 11] is, in de visie van PWS, meer specifiek gelegen in drie elementen;
ten eerste dat [gedaagde sub 11] wist, althans moet hebben geweten, dat de door hem te betalen bedragen werden betaald aan [gedaagde sub 6], die als lid/voorzitter van de Raad van Toezicht niet geacht werd zelf van zulke transacties te profiteren, ten tweede dat [gedaagde sub 11] wist, althans moet hebben geweten dat PWS meer betaalde dan wel minder ontving dan het geval zou zijn geweest zonder de geldstroom naar [gedaagde sub 6] en ten derde dat
- ten aanzien van een aantal transacties - blijkt dat [gedaagde sub 10] wist dat een en ander op niet reguliere wijze werd afgewikkeld.
4.151. [gedaagde sub 10] c.s. heeft daartegenover zijn positie benadrukt, die wezenlijk afwijkt van die van [gedaagde sub 6] en [gedaagde sub 3]. [gedaagde sub 11] heeft een overeenkomst met PWS, op grond waarvan zij, overigens zonder dat sprake is van exclusiviteit, tegen betaling van een commissievergoeding, heeft bemiddeld bij aan- en verkoop van onroerend goed in ruime zin. Die overeenkomst sloot [gedaagde sub 11] met [persoon 2], de volledig bevoegde directeur van PWS, van wie [gedaagde sub 11] niet behoefde te betwijfelen dat hij PWS rechtsgeldig vertegenwoordigde. [gedaagde sub 6], van wie [gedaagde sub 10] niet wist dat hij voorzitter van de Raad van Toezicht van PWS was, kende [gedaagde sub 10] uit Curaçao. Zowel [gedaagde sub 10] als [gedaagde sub 6] woonden ten tijde van hun kennismaking daar. Via [gedaagde sub 6] is [gedaagde sub 10] in contact gekomen met PWS. [gedaagde sub 6] heeft vanaf het begin bedongen dat hij voor alle door [gedaagde sub 10] te verrichten vastgoedtransacties die door [gedaagde sub 6] werden aangebracht een aanbrengfee wilde ontvangen; aldus is ook afgesproken. Van verdeling van gelden weet [gedaagde sub 10] c.s. niets af. Dat [gedaagde sub 11] soms van beide partijen een commissie kreeg is niet onrechtmatig, PWS wist daarvan. Niet in te zien valt wat er onrechtmatig was aan het handelen van [gedaagde sub 10] c.s.
Van schade is bovendien geen sprake.
4.152. De rechtbank acht, met de door PWS zelf overgelegde brieven (producties 18-20 bij het E&Y rapport I) en de verklaring van [persoon 3] als getuige, een vaststaand feit dat een overeenkomst gold tussen PWS en [gedaagde sub 11] die [gedaagde sub 11] recht gaf op (aanvankelijk) 1% en later 0,75% commissie bij vastgoedtransacties (zie onder 2.33.), waarvan naast [persoon 2] ook anderen bij PWS op de hoogte waren. [persoon 3] heeft immers verklaard (bij de rechter-commissaris, in het kader van het gerechtelijk vooronderzoek, productie 6 bij antwoordconclusie na comparitie) dat een dergelijke afspraak is gemaakt, hij beschikte zelfs over de overeenkomst. Hij heeft in dat verband verklaard dat het voor het imago van PWS beter was om niet rechtstreeks zaken te doen met “louche” partijen als Eljawa, zodat het zijn voorkeur had om een tussenpersoon in te schakelen. Weliswaar voegt hij daaraan toe “als ons dat geen cent kostte”, maar uit de brieven blijkt de afgesproken vergoeding. Een dergelijke overeenkomst vereist, in het algemeen, wel enige activiteit maar niet een bepaalde hoeveelheid werkzaamheden; voldoende is dat tussen partijen wordt bemiddeld of zelfs dat louter het contact wordt gelegd (aanbrengfee). Dat of waarom dat in dit geval anders zou zijn is door PWS niet gesteld. Dat betekent, dat niet ter zake doet of [gedaagde sub 11] ter zake van de projecten waarvoor commissie in rekening werd gebracht voldoende werk heeft verzet. De enkele omstandigheid dat [gedaagde sub 11] die commissie ook daadwerkelijk bij PWS inde is niet onrechtmatig, evenmin als de wens van diverse partijen bij zulke transacties om winst te maken althans een gunstige overeenkomst te sluiten.
4.153. De rechtbank neemt eveneens als vaststaand aan dat tussen [gedaagde sub 6] en [gedaagde sub 11] een overeenkomst bestond, die inhield dat [gedaagde sub 6] voor elke vastgoedtransactie die [gedaagde sub 11] deed van [gedaagde sub 11] op zijn beurt een commissie verkreeg, waarbij [gedaagde sub 6] aangaf op welke rekening de betrokken bedragen gestort moesten worden. Dit is zowel door [gedaagde sub 6] als door [gedaagde sub 10] verklaard en het is in overeenstemming met vele door de FIOD aangetroffen facturen en overboekingen. Hoewel deze overeenkomst minder gebruikelijk is, omdat daarin besloten ligt dat [gedaagde sub 6] (ook) geld ontvangt voor transacties waar hij niets mee van doen heeft, zelfs niet als aanbrenger, is ook die overeenkomst op zichzelf niet onrechtmatig jegens derden. Bijkomende omstandigheden kunnen (het nakomen van) die overeenkomst echter wel onrechtmatig jegens derden maken (of, in voorkomend geval, wanprestatie opleveren). Het overboeken naar rekeningen van vennootschappen, zeker van vennootschappen waarvan [gedaagde sub 10] niet wist en ook niet heeft gevraagd hoe die zich verhielden tot [gedaagde sub 6] (Valtop Consultancy), is daarbij een bedenkelijk aspect.
4.154. Voor wat betreft de wetenschap van [gedaagde sub 10] omtrent de functie van [gedaagde sub 6] heeft [gedaagde sub 10] steeds verklaard, dat hij pas na de invallen van de FIOD heeft ontdekt dat [gedaagde sub 6] voorzitter/lid van de Raad van Toezicht was. Daarvoor kende hij [gedaagde sub 6] vanuit de tijd dat zij beiden (kennelijk in de jaren 1980/1990) op Curaçao woonden; wel heeft [gedaagde sub 6] hem, [gedaagde sub 10], op enig moment gezegd dat hij adviseur van PWS was.
De rechtbank acht deze verklaring niet geloofwaardig. [gedaagde sub 10] en [gedaagde sub 6] bewogen zich beiden in de Rotterdamse vastgoedwereld en [gedaagde sub 10] had, naar eigen zeggen, ook geregeld contact met [persoon 2]. Binnen PWS was het de Raad van Toezicht die het definitieve akkoord gaf voor transacties, terwijl [gedaagde sub 6] als voorzitter optrad; [gedaagde sub 10] heeft in het kader van het strafrechtelijk onderzoek verklaard, dat hij bij een akkoord ook stukken ontving. Dat [gedaagde sub 10], in die situatie, nooit de naam van [gedaagde sub 6] heeft gezien of gehoord als voorzitter van de Raad van Toezicht is zonder nadere toelichting (die ontbreekt) zo onaannemelijk dat die mogelijkheid buiten beschouwing moet blijven. De rechtbank acht in dit verband mede van belang dat [persoon 13] tegenover de FIOD heeft verklaard, dat [gedaagde sub 10] hem had gezegd dat de prijs moest worden opgehoogd omdat [persoon 2] en een lid van de Raad van Toezicht moesten worden betaald. Met die laatste aanduiding moet [gedaagde sub 6] bedoeld zijn.
4.155. Voor wat betreft de wetenschap van, kort gezegd, oneigenlijk verhoogde of verlaagde prijzen bestaan bij een aantal projecten concrete aanwijzingen (Slaakhuys, TKN-pakketten en Giam, zie hierna). Het gaat te ver om uit de omstandigheid dat [gedaagde sub 10] drie maal heeft meegewerkt aan ophoging van de prijs ten nadele van PWS af te leiden dat iets dergelijks bij alle projecten is voorgevallen, maar de omstandigheid dat dit meer dan eens is voorgevallen betekent wel, dat [gedaagde sub 10] duidelijk moet zijn geweest wat er aan de hand was.
4.156. Voor wat betreft het derde element - het niet regulier afwikkelen - valt enerzijds op, dat [gedaagde sub 10] niet genoemd wordt op de documenten waarin de verdeling werd vastgelegd (D/001-003) terwijl hij evenmin deel nam aan het eigenaardige e-mailverkeer tussen [persoon 2], [gedaagde sub 3] en [gedaagde sub 6]; hij kreeg daarvan kennelijk geen kopieën. Hij behoorde dus niet tot de groep die in onderling overleg een en ander regisseerde.
Daar staat echter tegenover dat hij bij tenminste één transactie (zie hierna) geld heeft overgemaakt naar een vennootschap waarvan hij volgens zijn stellingen niet wist wie deze controleerde, te weten Valtop Consultancy, en voor het overige overboekingen deed aan vennootschappen van [gedaagde sub 6], met welke vennootschappen hij geen overeenkomst had en welke ook zelf geen activiteiten hadden ontplooid. Ook dit wijst erop, dat hem duidelijk was dat de betalingen aan [gedaagde sub 6] geheim gehouden dienden te worden.
4.157. Voor wat betreft de persoonlijke aansprakelijkheid van [gedaagde sub 10] is de rechtbank van oordeel dat de hiervoor bedoelde betrokkenheid voldoende is om hem ook een ernstig persoonlijk verwijt te maken. Juist is, zoals [gedaagde sub 10] aanvoert, dat (vrijwel) alle betalingen via [gedaagde sub 11] zijn gelopen en dat door PWS slechts is gesuggereerd dat [gedaagde sub 10] zelf, in privé, gelden heeft ontvangen zonder dat dit door PWS nader is geadstrueerd en zonder dat uit de overgelegde delen van het FIOD-rapport blijkt van overboekingen of ander bewijsmateriaal op dat punt. Persoonlijk gewin is echter niet noodzakelijk voor persoonlijke aansprakelijkheid ten opzichte van PWS. Hoogstens zal, in het verband van de onderlinge verhouding tussen [persoon 2], [gedaagde sub 6], [gedaagde sub 3] en [gedaagde sub 10], de aanmerkelijk beperktere rol van [gedaagde sub 10] van belang kunnen zijn, maar nu de onderlinge draagplicht in deze zaak geen onderwerp van oordeelsvorming of beslissing door de rechtbank is, behoeft dat aspect geen nadere bespreking.
4.158. De stellingen die [gedaagde sub 10] c.s. inneemt over de winstgevendheid van de betrokken projecten en de invloed daarvan op de schade komen overeen met de stellingen van [gedaagde sub 6] c.s. en [gedaagde sub 3] c.s. op die punten, zodat voor de beoordeling daarvan wordt verwezen naar hetgeen werd overwogen onder onder meer 4.108. e.v. hiervoor.
Ook het beroep op matiging dat [gedaagde sub 10] c.s. heeft gedaan, kan in het kader van het schadedebat nader aan de orde komen.
Projecten
Aelbrechtskade
4.159. PWS heeft met betrekking tot dit project ten aanzien van [gedaagde sub 11] hetzelfde aangevoerd als ten aanzien van [gedaagde sub 6] c.s.
[gedaagde sub 11] stelt behoudens de commissie van 1% niets ontvangen te hebben en niet, zoals uit D/002 volgt, ƒ 75.000,= te hebben verdeeld onder [persoon 2], [gedaagde sub 6] en [gedaagde sub 3].
4.160. De rechtbank oordeelt als volgt.
Uit het FIOD-dossier, waarnaar PWS verwijst, blijkt dat een factuur van ƒ 24.500,=, met vermelding van 1% commissiekosten ter zake van dit project aan PWS is gezonden. Voorts zijn aangetroffen betalingsbewijzen van ƒ 29.155,= van PWS aan [gedaagde sub 11]
(ƒ 24.500,= vermeerderd met BTW) en ƒ 21.420,= van [gedaagde sub 11] aan Valtop Consultancy, uit september en oktober 2001. Verder is een boeking van 7 augustus 2001 van de privérekening van [gedaagde sub 10] naar een rekening van Jamabel aangetroffen, tot een bedrag van ƒ 75.000,= waarvoor geen factuur is gevonden en waaromtrent de FIOD opmerkt dat niet achterhaald is hoe [gedaagde sub 10] aan dat geld is gekomen. Op D/002 staan twee bedragen van ƒ 25.000,= ten gunste van [gedaagde sub 3] en [gedaagde sub 6] met vermelding “Bremermax provisie Aelbrechtkade”.
Hoewel [gedaagde sub 10] kan worden toegegeven dat PWS haar stellingen op dit punt niet erg uitgebreid heeft uitgewerkt, zijn zij toch in voldoende mate onderbouwd. De rechtbank acht op basis van voormelde gegevens en op basis van mutatis mutandis dezelfde overwegingen als hiervoor onder 4.55. bij [gedaagde sub 6] weergegeven voorshands voldoende aannemelijk dat een bedrag van ƒ 75.000,= door [gedaagde sub 10] is overgemaakt naar Jamabel en vervolgens is verdeeld, alsmede dat deze gelden op enigerlei wijze zijn gegenereerd uit dit project ten koste van PWS. Ook volgens de eigen stellingen van [gedaagde sub 10] speelde Jamabel geen inhoudelijke rol bij dit project; [gedaagde sub 10] heeft op dit punt verder volstaan met de mededeling, kort samengevat, dat het PWS niet aangaat hoe hij zijn geld besteedt. Die reactie is niet aan te merken als een voldoende gemotiveerde betwisting. Enige toelichting op de keuze voor voormelde reactie heeft hij niet gegeven, zodat een weging van zijn motieven niet aan de orde is.
Dat betekent dat de rechtbank, op basis van de overwegingen als hiervoor onder
4.150.-4.158. weergegeven, van oordeel is dat ook [gedaagde sub 10] een onrechtmatige daad jegens PWS kan worden verweten, waarbij voldoende aannemelijk is dat in elk geval enige schade is geleden, hoewel niet gezegd kan worden dat de geldstromen volledig vast staan.
Over de schade kunnen partijen in de schadestaatprocedure nader in debat treden.
Giam
4.161. PWS heeft ook hier [gedaagde sub 10] c.s. dezelfde verwijten gemaakt als [gedaagde sub 6] c.s.
[gedaagde sub 10] c.s. betwist dat Giam de Giam-pakketten geleverd heeft gekregen, dat zij gelden van PWS heeft ontvangen of ƒ 1.144.133,= aan Jamabel heeft betaald of betrokken is geweest bij de verdeling.
4.162. Dit verweer kan de rechtbank als strijdig met de overgelegde stukken niet overtuigen. Dat [gedaagde sub 10], hoewel hij formeel geen directeur-groot aandeelhouder van Giam is, deze vennootschap controleert heeft hij zelf, in het kader van het strafrechtelijk onderzoek (nadat hij was gewezen op zijn zwijgrecht) verklaard. Uit de stukken (met name de gedetailleerde afrekeningsnota van de notaris) blijkt voldoende dat de pakketten door de oorspronkelijke verkopers aan Giam zijn verkocht, waarna deze ze aan PWS heeft verkocht. Nu het een ABC-transactie betreft is de rechtstreekse levering van de oorspronkelijke eigenaars aan PWS niet verrassend en doet deze niet af aan de relatie tussen de betaling door PWS aan Giam en de aankooptransactie; voor deze civiele procedure is de precieze geldstroom niet doorslaggevend. Dat deze transactie schade voor PWS heeft opgeleverd, is voldoende aannemelijk. De betreffende commissie is weliswaar voldaan door Comanco, doch het is uit zakelijk oogpunt zeer onaannemelijk dat die het - aanzienlijke - betrokken bedrag voor eigen rekening heeft genomen. Daarmee ligt voor de hand, dat deze betalingen tenminste ten dele zijn gefinancierd door een hogere koopprijs van PWS te bedingen dan zou zijn gedaan wanneer deze commissie niet betaald had hoeven worden.
Nu [gedaagde sub 10] c.s., behoudens het verweer dat Giam in het geheel niet betrokken is geweest, geen inhoudelijk verweer heeft gevoerd, kan van enige benadeling worden uitgegaan.
Gegeven de ruime toerekening die, ook ten aanzien van [gedaagde sub 10] c.s., op haar plaats is gelet op de verwijtbaarheid van de onrechtmatige daad, is voldoende aannemelijk dat sprake is van schade als gevolg van de onrechtmatige daad. Ook hier geldt, dat partijen over de hoogte van de schade desgewenst verder kunnen debatteren.
TKN-pakketten
4.163. Het verwijt van PWS komt overeen met dat aan [gedaagde sub 6] (zie 4.62. e.v.). [gedaagde sub 10] c.s. verweert zich met verwijzing naar de overeenkomsten en betwist de betrouwbaarheid van [persoon 13] en [persoon 1] als getuigen.
4.164. Die verweren kunnen [gedaagde sub 10] c.s. niet baten.
De rechtbank acht, op grond van dezelfde overwegingen als hiervoor 4.65.1-4.65.3, op basis van de verklaringen van [persoon 13] en [persoon 1] in combinatie met de bevindingen van de FIOD en de vermeldingen op D/003, de factuur van Bubuco aan Maritta Management d.d. 5 januari 2003 ad € 500.000,= exclusief BTW, de verklaring van [gedaagde sub 13] op dat punt en het document D/232, voldoende aangetoond dat sprake is geweest van een opslag op de prijs van € 500.000,= en een verdeling van dat bedrag over vier personen, te weten [persoon 2], [gedaagde sub 6], [gedaagde sub 3] en [persoon 1].
4.165. De rechtbank acht het vorenstaande voldoende voor het oordeel dat [gedaagde sub 10] c.s. een onrechtmatige daad heeft gepleegd jegens PWS. Het is immers duidelijk, dat in elk geval voor dit bedrag van € 500.000,= sprake is geweest van een verhoging van de door PWS betaalde prijs zonder commerciële achtergrond, doch louter om fondsen te genereren die vervolgens werden verdeeld tussen de genoemde personen. [gedaagde sub 10] heeft, naar vast staat, bij deze overeenkomst bemiddeld. Hij moet hebben opgemerkt dat de prijs zonder duidelijke reden werd verhoogd. Bovendien blijkt uit de verklaring van [persoon 13] dat die verhoging bedoeld was om [persoon 2] en [gedaagde sub 6] te betalen en dat [gedaagde sub 10] dat wist. [gedaagde sub 10] wist verder dat [gedaagde sub 6] c.s. inderdaad een deel van zijn commissie kreeg, want op deze overeenkomst beroept [gedaagde sub 10] zich expliciet. Hij moet dus hebben beseft dat in elk geval [gedaagde sub 6] zich op deze wijze via hem, [gedaagde sub 10], verrijkte ten koste van PWS. Dat [gedaagde sub 10] bij de verdeling van dat geld niet betrokken was in die zin dat hij daarvan geen deel ontving, doet er niet aan af dat hij heeft meegewerkt aan de benadeling van PWS.
4.166. Ten aanzien van de contante opname van [persoon 12] van € 600.000,=, het verschil in verwervingsprijzen en de verwijzing naar de TKN-pakketten C-E geldt mutatis mutandis hetgeen daarover in de zaak tegen [gedaagde sub 6] c.s is gesteld ook hier.
Rijnhotel
4.167. Tegenover mutatis mutandis dezelfde verwijten van PWS als die ten opzichte van [gedaagde sub 6] c.s. heeft [gedaagde sub 10] c.s. gesteld, dat hij geen enkele betrokkenheid bij deze transactie heeft gehad en evenmin is betrokken bij enige verdeling.
4.168. Wat daarvan zij, de stellingen van PWS zijn niet te rijmen met het inmiddels door de FIOD ingenomen standpunt dat de aantekeningen die aanvankelijk op het Rijnhotel leken te slaan bij nader inzien op Slaakhuys slaan. Dat betekent, dat dit deel van de vordering als onvoldoende gemotiveerd niet voor toewijzing in aanmerking komt.
Woonplus II (en I)
4.169. PWS heeft haar vordering op mutatis mutandis dezelfde stellingen gebaseerd als hiervoor onder 4.79. e.v. weergegeven ten opzichte van [gedaagde sub 6] c.s.
4.170. [gedaagde sub 10] c.s. heeft gemotiveerd verweer gevoerd. Naast hetgeen meer in het algemeen is aangevoerd komt het verweer erop neer dat het enkele ongebruikelijke karakter van het betalen van commissie geen deugdelijke basis voor de vordering biedt en voorts dat de betaalde beloningen voor PWS in het kader van de verwijten niet relevant zijn, omdat zij een uitvloeisel zijn van de afspraken tussen Woonplus en [gedaagde sub 10] c.s. [gedaagde sub 10] erkent overigens dat [gedaagde sub 11] de commissie-vergoedingen van ƒ 428.750,= (Woonplus I) respectievelijk ƒ 180.000,= (Woonplus II) inderdaad ontvangen heeft, geheel overeenkomstig de overeenkomst als beloning voor de verrichte werkzaamheden. Daarvan heeft [gedaagde sub 11] conform de afspraak met [gedaagde sub 6] ƒ 135.000,= overgemaakt aan [gedaagde sub 6] op de door deze opgegeven rekening. Bij enige verdeling is [gedaagde sub 10] c.s. niet betrokken geweest. Dat Valtop Consultancy gelieerd was aan [gedaagde sub 3] wist [gedaagde sub 11] niet.
4.171. De rechtbank oordeelt als volgt.
PWS baseert haar vordering op het bedrag van de courtage van € 180.000,= dat door [gedaagde sub 11] verdeeld is. Kennelijk gold er ten tijde van de Woonplus II transactie geen regelgeving die in de weg stond aan het betalen van commissie bij een verkoop tussen twee woningcorporaties. Dat Woonplus, om haar moverende redenen, aanleiding zag om die te betalen blijkt uit de beschikbare gegevens. Hoewel op zichzelf juist is dat het ongebruikelijke karakter daarvan de transactie nog niet onrechtmatig maakt draagt dat aspect -en dat dit ongebruikelijk was is niet betwist- wel bij. Aan dat karakter draagt ook bij dat [gedaagde sub 11] het gedeelte van ƒ 135.000,= heeft gestort op een rekening van een hem onbekende vennootschap. [gedaagde sub 10] c.s. moet dus hebben beseft, mede tegen de achtergrond van hetgeen hiervoor is gesteld, dat de door hem overgemaakte gelden ten behoeve van [gedaagde sub 6] in het verborgene moesten blijven en daarmee, dat het geheel niet rechtmatig was. Voldoende aannemelijk is dat er schade is geleden omdat de commissie van [gedaagde sub 11] hoger was dan noodzakelijk, nu [gedaagde sub 11] een deel daarvan aan anderen diende af te staan. [gedaagde sub 10] heeft weliswaar verklaard dat het niet ongewoon is dat hij aan anderen een deel van de commissie moet afstaan, maar daaruit volgt nog niet dat hij die afdrachten niet (tenminste ten dele) doorberekent aan zijn wederpartij. In zoverre heeft dit dan ook tot schade geleid, omdat aannemelijk is dat PWS het project goedkoper had kunnen verkrijgen als de commissie die Woonplus had moeten betalen aan [gedaagde sub 11] lager was geweest. Ook hier is ruime toerekening op haar plaats.
Over de hoogte van de door [gedaagde sub 10] c.s. te vergoeden schade kunnen partijen nader debatteren.
4.172. Aangaande de Woonplus I transactie heeft [gedaagde sub 11] zelf aangegeven dat hij van de commissie een deel aan [gedaagde sub 6] heeft doorbetaald. Voor dit deel van de vordering geldt dus mutatis mutandis hetzelfde als voor Woonplus II.
Slaakhuys
4.173. Ook hier verwijt PWS aan [gedaagde sub 10] c.s. op dezelfde gronden als aan [gedaagde sub 6] c.s. een onrechtmatige daad.
4.174. [gedaagde sub 10] c.s. verweert zich met de stelling dat de verhoogde koopprijs die PWS heeft betaald (ƒ 11.250.000,=) veroorzaakt is door marktomstandigheden en het feit dat het pand verhuurd kon worden aan de gemeente.
PWS en [bedrijf 3] hebben inderdaad [gedaagde sub 10] c.s., ter zake van die verkoop, elk een commissievergoeding betaald conform de op dat punt gemaakte afspraken. Met verdeling heeft [gedaagde sub 10] c.s. niets te maken.
4.175. Dit verweer kan [gedaagde sub 10] c.s. niet baten.
Gelet op de eigen stellingen van [gedaagde sub 10] c.s. staat vast, dat PWS ƒ 1.500.000,= meer heeft betaald dan de oorspronkelijke vraagprijs. [persoon 8], die optrad namens de verkoper [bedrijf 3], verklaart dat [gedaagde sub 10] [gedaagde sub 10] aan [bedrijf 3] had gevraagd de koopsom met ca. 1 miljoen gulden te verhogen. [persoon 8] verklaart, dat [bedrijf 3] hem gebeld had omdat hij het raar vond dat [gedaagde sub 10] wilde dat de prijs verder werd verhoogd.
Hij vond dat vreemd, maar heeft wel ingestemd. Dat dit het gevolg is van marktomstandigheden wordt door die verklaring in het geheel niet ondersteund, maar juist weersproken. De rechtbank acht deze verklaring, afgelegd door iemand die in beginsel buiten de gehele kwestie staat, overtuigend. Het verweer is ook niet nader onderbouwd.
Dat betekent, dat de rechtbank ervan uitgaat dat [gedaagde sub 10] ten koste van PWS een hogere koopprijs heeft bedongen dan de prijs waarmee de verkoper genoegen had genomen. Dat is jegens PWS onrechtmatig en aannemelijk is dat PWS daardoor benadeeld is. Aangenomen moet worden, gelet op het gebruik dat courtage en provisie mede afhangen van de gerealiseerde prijs, dat [gedaagde sub 11] van die ophoging, die hij niet met PWS heeft afgestemd, bovendien ook heeft geprofiteerd.
4.176. Vast staat overigens voorts, dat [gedaagde sub 11] provisie heeft ontvangen van
ƒ 250.000,= (van Concaris/[persoon 8]) en courtage van ƒ 112.000,= (van PWS). De vordering ziet echter niet op de provisiebedragen. Dat betekent, dat hetgeen daaromtrent is gesteld geen verdere bespreking behoeft.
4.177. Over de omvang van de schade en de vraag of in dat kader betekenis toekomt aan de omstandigheid dat als de koopovereenkomst tot stand zou zijn gekomen zonder ophoging commissie verschuldigd geweest zou zijn, kunnen partijen in het debat over de schade, als [gedaagde sub 10] c.s. dat aangewezen achten, nader in discussie gaan.
Pleinweg
4.178. De verwijten komen overeen met die aan [gedaagde sub 6] c.s. en [gedaagde sub 10] c.s. heeft ook hier verweer gevoerd, waarbij is gesteld dat [gedaagde sub 11] op basis van de overeenkomst een commissie heeft gekregen van PWS als koper en eveneens van de verkoper ([bedrijf 5]). Van verdeling is [gedaagde sub 10] c.s. niets bekend.
4.179. Aangaande de tweede factuur van € 261.407,18 van Giam geldt, dat de rechtbank van oordeel is dat PWS, tegenover het verweer en gelet op de door PWS zelf als wezenlijk aangeduide FIOD-rapportage, haar vordering op dit punt onvoldoende heeft onderbouwd. Dat verwijt moet dus in elk geval terzijde blijven. Ook voor groepsaansprakelijkheid is te weinig gesteld.
4.180. Voor wat betreft de eerste factuur geldt, dat de FIOD een fax van [persoon 2] heeft aangetroffen (D/234) waarin staat: “[voornaam] Pleinweg- etc”. Voorts verklaart [persoon 15], als verkoper, dat de koopprijs is opgehoogd op verzoek van [gedaagde sub 10].
Dat gegeven, in combinatie met de omstandigheid dat [gedaagde sub 11] hier van zowel [persoon 15] als PWS commissie ontving en de overmaking van drievierde van elk van die bedragen naar Jamabel, de vennootschap van [gedaagde sub 6] (die [gedaagde sub 10] tegenover de FIOD heeft erkend) is, op dezelfde gronden als hiervoor ten aanzien van Slaakhuys weergegeven, voldoende voor het oordeel dat [gedaagde sub 11] onrechtmatig heeft gehandeld jegens PWS. Voor de schade geldt hetzelfde als hiervoor reeds meermalen werd overwogen.
Branderspoort
4.181. Het verwijt van PWS beperkt zich tot de vaststelling dat [gedaagde sub 11] voor dit project een commissie heeft ontvangen en het formuleren van vermoedens aangaande de verdeling. Van uitwerking van deze stellingen, onderbouwing met stukken of gedocumenteerde aanwijzingen van geldstromen is geen sprake.
[gedaagde sub 10] c.s. heeft zich verweerd en gewezen op dat gebrek aan concretisering enerzijds en op de daadwerkelijk verrichte werkzaamheden en de overeenkomst met PWS anderzijds.
4.182. Het verwijt is, ook tegen de achtergrond van het voorgaande, naar het oordeel van de rechtbank onvoldoende gesubstantieerd. Ook het subsidiaire verwijt van de groepsaansprakelijkheid moet om die reden falen, mede in aanmerking genomen dat, zoals hiervoor werd overwogen, [gedaagde sub 10] geen deel uitmaakte van de (binnenste) groep die samen de verdeling bepaalde.
Hooge Marinier
4.183. PWS stelt in feite ook hier slechts dat [gedaagde sub 11] een commissie heeft ontvangen.
4.184. [gedaagde sub 10] c.s. erkent dat [gedaagde sub 11] inderdaad, conform de overeenkomst, een commissie heeft ontvangen toen haar bemiddeling ertoe had geleid dat het project voor € 27.000.000,=, € 3 miljoen meer dan PWS zelf had kunnen bereiken, werd verkocht. Onrechtmatig is dat niet en PWS stelt ook niets waaruit die onrechtmatigheid volgt.
4.185. Ook hier is de rechtbank van oordeel dat dit deel van de vordering onvoldoende is onderbouwd, zodat de vordering (op de primaire of de subsidiaire grondslag) niet toewijsbaar is.
Conclusie
4.186. [gedaagde sub 10] c.s. is dus aansprakelijk uit onrechtmatige daad jegens PWS. De rechtbank zal de zaak daarom verwijzen naar de schadestaatprocedure. Partijen kunnen dan in dat kader, in lijn met hetgeen ter comparitie was afgesproken en met inachtneming van hetgeen hiervoor is overwogen, het debat over de schade in volle omvang voeren.
De rechtbank merkt daarbij op, dat het verweten gedrag bij een aantal projecten (bijvoorbeeld Slaakhuys) gelet op de tussen [gedaagde sub 10] c.s. en PWS gesloten overeenkomst(en) evenzeer geduid kan worden als wanprestatie. Nu partijen in de processtukken die invalshoek onbesproken laten en deze voor de begroting van de schade ook geen verschil behoeft te maken, gaat de rechtbank er van uit dat dit aspect buiten beschouwing kan blijven.
4.187. [gedaagde sub 10] c.s. zal als de grotendeels in het ongelijk gestelde partij in de kosten van dit geding worden veroordeeld.
In voorwaardelijke reconventie
4.188. Nu de voorwaarde (afwijzing van de vorderingen in conventie) waaronder de reconventionele vordering is ingesteld niet is vervuld behoeft de vordering in reconventie geen bespreking.
In de zaken tegen Transformanagement, Chilston Park, [gedaagde sub 6] c.s., [gedaagde sub 3] c.s. en [gedaagde sub 10] c.s.
4.189. De rechtbank zal nu geen beslissing nemen op de bijvorderingen, omdat deze sterk samenhangen met (het debat over) de schade. De rechtbank merkt in dat verband reeds nu op dat de kosten van de Ernst & Young-rapporten niet zonder meer voor integrale toewijzing in aanmerking komen, omdat niet voldoende duidelijk is dat zij, ten opzichte van deze gedaagden, voldoen aan de dubbele redelijkheidstoets van artikel 6:96 BW. Weliswaar is niet onredelijk dat PWS een registeraccountant heeft gevraagd om, nu het vermoeden van onregelmatigheden bestond, een onderzoek te doen, doch dat onderzoek richtte zich vrijwel geheel op [persoon 2]. In algemene zin merkt de rechtbank op dat PWS ten aanzien van elk van de projecten slechts degene(n) kan aanspreken die een onrechtmatige daad heeft/hebben gepleegd (dan wel uit hoofde van art. 6:166 BW aansprakelijk is/zijn), maar dan in beginsel elk voor het geheel. Partijen kunnen daarop in de schadestaatprocedure terugkomen.
4.190. Voor wat betreft de proceskosten geldt, dat de rechtbank in conventie steeds een proceskostenveroordeling ten gunste van PWS, die als de grotendeels in het gelijk gestelde partij heeft te gelden, zal geven. Wel zal, gelet op enerzijds de omstandigheid dat de vordering op een aantal punten wordt afgewezen en anderzijds dat de kosten die PWS gemaakt heeft (ten dele) op de zaken tegen meerdere gedaagden zien, de kostenveroordeling worden gematigd in die zin, dat steeds 2 punten niet in rekening gebracht zullen worden.
5. De beslissing
De rechtbank,
In de zaak tegen [gedaagde sub 13] en Bubuco
5.1.
splitst af de zaak tegen [gedaagde sub 13] en Bubuco, verleent de aldus afgesplitste zaak het zaak-/rolnummer 379306 / HA ZA 11-1253 en verwijst de zaak naar de rol van heden voor vonnis;
5.2.
verstaat dat de processtukken die tot dit vonnis in deze zaak (met rolnummer
06-3000) zijn gewisseld voor zover die betrekking hebben op de zaak tegen [gedaagde sub 13] en Bubuco worden gevoegd in het dossier met rolnummer 11-1253;
5.3.
houdt iedere verdere beslissing aan;
In de zaak tegen [gedaagde sub 15]
5.4.
splitst af de zaak tegen [gedaagde sub 15], verleent de aldus afgesplitste zaak het zaak-/rolnummer 379304 / HA ZA 11-1252 en verwijst de zaak naar de rol van heden voor vonnis;
5.5.
verstaat dat de processtukken die tot dit vonnis in deze zaak (met rolnummer
06-3000) zijn gewisseld voor zover die betrekking hebben op de zaak tegen [gedaagde sub 15] worden gevoegd in het dossier met rolnummer 11-1252;
5.6.
houdt iedere verdere beslissing aan;
In de zaak tegen Transformanagement en Chilston Park
5.7.
veroordeelt Transformanagement en Chilston Park tot vergoeding, nader op te maken bij staat en te vereffenen volgens de wet, van de schade van PWS tengevolge van de onrechtmatige daad als bedoeld onder 4.15. (facturen genoemd onder 4.10. onder c);
5.8.
veroordeelt Transformanagement tot vergoeding, nader op te maken bij staat en te vereffenen volgens de wet, van de schade van PWS tengevolge van de onrechtmatige daad als bedoeld onder 4.22. (Woonplus II) en 4.23. (TKN);
5.9.
veroordeelt Transformanagement en Chilston Park in de kosten van dit geding, tot op heden aan de zijde van PWS begroot op € 27.101,09 (€ 7.835,09 aan verschotten, de beslagkosten daaronder begrepen, en 6 punten à € 3.211,00 aan salaris voor de advocaat);
In de zaak tegen [gedaagde sub 6] c.s.
In conventie
5.10.
veroordeelt [gedaagde sub 6] tot vergoeding, nader op te maken bij staat en te vereffenen volgens de wet, van de schade van PWS tengevolge van de onrechtmatige daad als bedoeld onder 4.55. (Aelbrechtskade), 4.59. (Giam), 4.66.-4.68. (TKN-pakketten), 4.78.
(St. Jacobsplaats), 4.82.-4.83. (Woonplus I+II), 4.85. (Slaakhuys), 4.87. (Ruygrok), 4.91. (Pleinweg) en 4.94. (Dunehold) met inachtneming van hetgeen hiervoor in deze zaak overigens is overwogen;
5.11.
veroordeelt Zuidsingel, tezamen met [gedaagde sub 6], hoofdelijk, aldus dat de één betalende de ander zal zijn bevrijd, tot vergoeding, nader op te maken bij staat en te vereffenen volgens de wet, van de schade van PWS tengevolge van de onrechtmatige daad onder 4.82.-4.83. (Woonplus I+II);
5.12.
veroordeelt Berkendaal, tezamen met [gedaagde sub 6], hoofdelijk, aldus dat de één betalende de ander zal zijn bevrijd, tot vergoeding, nader op te maken bij staat en te vereffenen volgens de wet, van de schade van PWS tengevolge van de onrechtmatige daad onder 4.66.-4.68. (TKN-pakketten);
5.13.
veroordeelt Jamabel, tezamen met [gedaagde sub 6], hoofdelijk, aldus dat de één betalende de ander zal zijn bevrijd, tot vergoeding, nader op te maken bij staat en te vereffenen volgens de wet, van de schade van PWS tengevolge van de onrechtmatige daad onder 4.55. (Aelbrechtskade), 4.59. (Giam) en 4.78. (St. Jacobsplaats);
5.14.
veroordeelt [gedaagde sub 6] c.s. in de kosten van dit geding, tot op heden aan de zijde van PWS begroot op € 34.207,34 (€ 10.124,84 aan verschotten, de beslagkosten daaronder begrepen, en 7,5 punten à € 3.211,00 aan salaris voor de advocaat);
In de zaak tegen [gedaagde sub 3] c.s.
In conventie
5.15.
wijst af de vordering tegen Valtop Beheer;
5.16.
veroordeelt PWS in de kosten van dit geding, tot op heden aan de zijde van Valtop Beheer begroot op € 10.893,00 (€ 4.471,00 aan verschotten en 2 punten à € 3.211,00 aan salaris voor de advocaat);
5.17.
veroordeelt [gedaagde sub 3] en Valtop Consultancy hoofdelijk, aldus dat de één betalende de ander zal zijn bevrijd, tot vergoeding, nader op te maken bij staat en te vereffenen volgens de wet, van de schade van PWS tengevolge van de onrechtmatige daad als bedoeld onder 4.112. (Aelbrechtskade), 4.115. (Giam), 4.122. (St. Jacobsplaats), 4.130, 4.131. juncto 4.142. (TKN-pakketten), 4.134. (Slaakhuys), 4.136. (Ruygrok), en 4.140-4.141. (Dunehold), met inachtneming van hetgeen hiervoor in deze zaak overigens is overwogen;
5.18.
veroordeelt [gedaagde sub 3] en Valtop Consultancy, tezamen met [gedaagde sub 6], hoofdelijk, aldus dat de één betalende de ander zal zijn bevrijd, tot vergoeding, nader op te maken bij staat en te vereffenen volgens de wet, van de schade van PWS ten gevolge van de onrechtmatige daad als bedoeld in 4.115. (Giam), 4.126. (Woonplus II) en 4.130. (TKN-pakketten);
5.19.
veroordeelt [gedaagde sub 3] en Valtop Consultancy in de kosten van dit geding, tot op heden aan de zijde van PWS begroot op € 24.423,81 (€ 8.368,81 aan verschotten en 5 punten à € 3.211,00 aan salaris voor de advocaat;
In reconventie
5.20.
splitst af de vordering van [gedaagde sub 3] voor zover deze ziet op de winstuitkering ([bedrijf 7], als bedoeld in 4.147.3.), verleent de aldus afgesplitste zaak het zaak-/rolnummer 387869 / HA ZA 11-1965 en verwijst de zaak naar de rol van 11 januari 2012 voor nadere conclusie aan de zijde van [gedaagde sub 3];
5.21.
verstaat dat de processtukken die tot dit vonnis in deze zaak (met rolnummer
06-3000) zijn gewisseld voor zover die betrekking hebben op de zaak tegen [gedaagde sub 3] worden gevoegd in het dossier met rolnummer 11-1965;
5.22.
wijst af de vordering voor het overige;
5.23.
veroordeelt [gedaagde sub 3] in de kosten van dit geding, tot op heden aan de zijde van PWS begroot op € 3.211,00 (1 punt à € 3.211,00 aan salaris voor de advocaat);
In de zaak tegen [gedaagde sub 10] c.s.
In conventie
5.24.
veroordeelt [gedaagde sub 10] c.s. tot vergoeding, nader op te maken bij staat en te vereffenen volgens de wet, van de schade van PWS tengevolge van de onrechtmatige daad als bedoeld onder 4.160. (Aelbrechtskade), 4.162. (Giam), 4.165. (TKN-pakketten), 4.171. en 4.172. (Woonplus I+II), 4.175. (Slaakhuys) en 4.180. (Pleinweg) met inachtneming van hetgeen hiervoor in deze zaak overigens is overwogen;
5.25.
veroordeelt [gedaagde sub 10] c.s. in de kosten van dit geding, tot op heden aan de zijde van PWS begroot op € 24.851,50 (€ 8.796,50 aan verschotten en 5 punten à € 3.211,00 aan salaris voor de advocaat);
In reconventie
5.26.
wijst de vordering af;
5.27.
veroordeelt [gedaagde sub 10] c.s in de kosten van de procedure, tot op heden aan de zijde van PWS begroot op nihil;
In alle zaken, in conventie en in reconventie
5.28.
verklaart dit vonnis uitvoerbaar bij vooraad voor zover het de veroordelingen betreft;
5.29.
wijst af het meer of anders gevorderde.
Dit vonnis is gewezen door mr. P.F.G.T. Hofmeijer-Rutten, mr. R.J.A.M. Cooijmans en mr. C. Bouwman en in het openbaar uitgesproken op 30 november 2011.1.
Voetnoten
Voetnoten Uitspraak 30‑11‑2011
Uitspraak 01‑04‑2009
Inhoudsindicatie
complexe vordering tegen groot aantal gedaagden- incidenteel vonnis ex 843aRv tegen enigen van hen-tevens regiecvp in hoofdzaak
Partij(en)
Uitspraak
Rechtbank Rotterdam
Sector civiel recht
Zaak-/rolnummer: 271674 / HA ZA 06-3000
Uitspraak: 1 april 2009
VONNIS van de enkelvoudige kamer in de zaak van:
de stichting PATRIMONIUMS WONINGSTICHTING TE DELFSHAVEN,
gevestigd te Rotterdam,
eiseres in de hoofdzaak in conventie,
verweerster in de hoofdzaak in reconventie,
verweerster in het incident,
advocaat mr. J.E.Polet
- tegen -
1. de besloten vennootschap met beperkte aansprakelijkheid TRANSFORMANAGEMENT B.V.,
gevestigd Hoek van Holland,
gedaagde,
advocaat mr. J.G.M. Roijers,
2. de besloten vennootschap met beperkte aansprakelijkheid CHILSTON PARK B.V.
gevestigd te Tholen,
gedaagde,
advocaat mr. J.G.M. Roijers,
3. [gedaagde 3],
wonende te [woonplaats],
gedaagde in conventie,
eiser in reconventie,
advocaat mr. S.L.Braam,
4. de besloten vennootschap met beperkte aansprakelijkheid VALTOP CONSULTANCY B.V.
gevestigd te Tholen,
gedaagde in conventie,
eiseres in reconventie,
advocaat mr. S.L.Braam
5. de besloten vennootschap met beperkte aansprakelijkheid VALTOP BEHEER B.V.
gevestigd te Tholen,
gedaagde in conventie,
eiseres in reconventie,
advocaat mr. S.L.Braam,
6. [gedaagde 6],
wonende te [woonplaats],
gedaagde in de hoofdzaak,
eiser in het incident,
advocaat mr. J. Kneppelhout,
7. de vennootschap naar Antilliaans recht JAMABEL N.V.
gevestigd te Curaçao,
gedaagde in de hoofdzaak in conventie,
eiseres in de hoofdzaak in voorwaardelijke reconventie,
eiseres in het incident,
advocaat mr. J. Kneppelhout,
8. de besloten vennootschap met beperkte aansprakelijkheid ZUIDSINGEL B.V.,
gevestigd te Curaçao,
gedaagde in de hoofdzaak in conventie,
eiseres in de hoofdzaak in voorwaardelijke reconventie,
eiseres in het incident,
advocaat mr. J. Kneppelhout,
9. de besloten vennootschap met beperkte aansprakelijkheid BERKENDAAL B.V.,
gevestigd te Mook,
gedaagde in de hoofdzaak,
eiseres in het incident,
advocaat mr. J. Kneppelhout,
10. [gedaagde 10],
wonende te [woonplaats],
gedaagde in conventie,
eiser in reconventie,
advocaat mr. J.B. Kloosterman,
11. [gedaagde 11],
gevestigd te Rotterdam,
gedaagde in conventie,
eiseres in reconventie,
advocaat mr. J.B. Kloosterman,
12. de besloten vennootschap met beperkte aansprakelijkheid GIAM PROJECTADVIESBUREAU B.V.,
gevestigd te Rotterdam,
gedaagde in conventie,
eiseres in reconventie,
advocaat mr. J.B. Kloosterman,
13. [gedaagde 13],
wonende te [woonplaats],
gedaagde in conventie,
eiser in reconventie,
advocaat mr. J.F. Rense,
14. de besloten vennootschap met beperkte aansprakelijkheid BUBUCO B.V.,
gevestigd te Woudenberg,
gedaagde in conventie,
eiseres in reconventie,
advocaat mr. J.F. Rense,
15. [gedaagde 15],
wonende te [woonplaats],
gedaagde,
advocaat mr. R.B. Gerretsen,
16. [gedaagde 16],
wonende te [woonplaats],
gedaagde in conventie,
eiser in reconventie,
advocaat mr. D. Vermaat.
Partijen worden hierna aangeduid als “PWS” respectievelijk “Transformanagement”, “Chilston”, “[gedaagde 3]”, “Valtrop Consultancy”, “Valtop Beheer”, “[gedaagde 10]”, “[gedaagde 11]”, “Giam”, “[gedaagde 6]”, “Jamabel”, “Zuidsingel”, “Berkendaal”, “[gedaagde 13]”, “Bubuco” , “[gedaagde 15]” en “[gedaagde 16]”.
1. Het verloop van het geding
1.1
De rechtbank heeft kennisgenomen van de volgende stukken:
dagvaardingen d.d. 27 juli 2006 en de door PWS overgelegde producties;
conclusie van antwoord zijdens Transformanagement en Chilston, met producties;
conclusie van antwoord in conventie, tevens conclusie van eis in voorwaardelijke reconventie zijdens [gedaagde 3], Valtop Consultancy en Valtop Beheer, met producties;
conclusie van antwoord in conventie, tevens conclusie van eis in voorwaardelijke reconventie zijdens Zuidsingel met producties;
conclusie van antwoord in conventie, tevens conclusie van eis in reconventie zijdens [gedaagde 13] en Bubuco, met producties;
conclusie van antwoord in conventie, tevens conclusie van eis in reconventie zijdens [gedaagde 6] en Jamabel, met producties;
conclusie van antwoord in conventie, tevens conclusie van eis in reconventie zijdens [gedaagde 10], [gedaagde 11] en Giam, met producties;
conclusie van antwoord zijdens [gedaagde 16], met producties;
conclusie van antwoord tevens exceptie van gefaseerde procesvoering zijdens [gedaagde 15], met producties;
conclusie van repliek (voor wat betreft [gedaagde 3], Valtrop Consultancy, Valtop Beheer, [gedaagde 10], [gedaagde 11], Giam, [gedaagde 6], Jamabel, Zuidsingel, Berkendaal, [gedaagde 13], Bubuco en [gedaagde 16] in conventie, tevens conclusie van antwoord in reconventie), met producties;
incidentele conclusie houdende vordering ex art. 843a Rv zijdens [gedaagde 6], Jamabel, Zuidsingel en Berkendaal;
incidentele conclusie van antwoord in het incident zijdens PWS;
nadere akte in het incident zijdens [gedaagde 6], Jamabel, Zuidsingel en Berkendaal;
antwoordakte in het incident zijdens PWS;
conclusie van dupliek zijdens Transformanagement en Chilston;
conclusie van dupliek in conventie tevens conclusie van repliek in voorwaardelijke reconventie tevens vermeerdering van eis en antwoord wijziging van eis zijdens [gedaagde 3], Valtop Consultancy en Valtop Beheer, met producties;
conclusie van dupliek in conventie, tevens repliek in reconventie zijdens [gedaagde 10], [gedaagde 11] en Giam;
conclusie van dupliek in conventie tevens conclusie van repliek in reconventie tevens wijziging van eis in reconventie zijdens [gedaagde 13] en Bubuco;
conclusie van dupliek in conventie, tevens repliek in reconventie zijdens [gedaagde 16], met productie;
stukken van de gelegde conservatoire beslagen.
1.2
De zaak tegen [gedaagde 15] is inmiddels ingetrokken.
2. De vaststaande feiten
In de hoofdzaak (in conventie en in (voorwaardelijke) reconventie)
en in het incident
Als enerzijds gesteld en anderzijds erkend dan wel niet of onvoldoende gemotiveerd weersproken, gelet ook op de in zoverre niet betwiste inhoud van de in het geding gebrachte producties, staat tussen partijen -voor zover van belang - het volgende vast:
2.1
PWS is een woningstichting, die een groot aantal onroerende goederen in eigendom heeft; zij verhuurt deze. PWS koopt en verkoopt geregeld onroerend goed en initieert ook de ontwikkeling daarvan.
2.2
Van juli 1998 tot oktober 2005 heeft [persoon 1] (hierna: [persoon 1]) als enig bestuurder van PWS gefungeerd. [persoon 1] legde verantwoording af aan de Raad van Toezicht van PWS. [persoon 1] is op 7 februari 2006 schriftelijk op staande voet ontslagen.
2.3
[gedaagde 6] was van september 1994 tot oktober 2004 voorzitter van de Raad van Toezicht. Van oktober 2004 tot oktober 2005 was hij vice-voorzitter.
2.4
[gedaagde 3] was in de periode 1998-2000 interim hoofd Projectontwikkeling binnen PWS.
3. Het geschil
In de hoofdzaak (in conventie voor wat betreft [gedaagde 3], Valtrop Consultancy, Valtop Beheer, [gedaagde 10], [gedaagde 11], Giam, [gedaagde 6], Jamabel, Zuidsingel, Berkendaal, [gedaagde 13], Bubuco en [gedaagde 16])
3.1
De gewijzigde vordering luidt - verkort weergegeven - om bij vonnis uitvoerbaar bij voorraad:
-Transformanagement (met een aantal andere gedaagden hoofdelijk voor nader aangeduide bedragen) te veroordelen tot betaling van € 2.125.909,46, alsmede € 585.932,30;
-Chilston te veroordelen tot betaling van € 84.610,=;
-[gedaagde 3] (met een aantal andere gedaagden hoofdelijk voor nader aangeduide bedragen) te veroordelen tot betaling van € 11.746.496,19;
-Valtop Consultancy en Valtop Beheer (met een aantal andere gedaagden hoofdelijk voor nader aangeduide bedragen) te veroordelen tot betaling van € 2.504.216,90;
-[gedaagde 6] (met een aantal andere gedaagden hoofdelijk voor nader aangeduide bedragen) te veroordelen tot betaling van € 11.746.496,19
-Jamabel (met een aantal andere gedaagden hoofdelijk voor nader aangeduide bedragen) te veroordelen tot betaling van € 4.972.774,16;
-Zuidsingel (met een aantal andere gedaagden hoofdelijk voor nader aangeduide bedragen) te veroordelen tot betaling van € 81.680,44;
-Berkendaal (met een aantal andere gedaagden hoofdelijk voor nader aangeduide bedragen) te veroordelen tot betaling van € 918.806,09;
-[gedaagde 10] (met een aantal andere gedaagden hoofdelijk voor nader aangeduide bedragen) te veroordelen tot betaling van € 2.937.969,23;
-[gedaagde 11] (met een aantal andere gedaagden hoofdelijk voor nader aangeduide bedragen) te veroordelen tot betaling van € 2.672.108,46;
-Giam (met een aantal andere gedaagden hoofdelijk voor nader aangeduide bedragen) te veroordelen tot betaling van € 726.048,35;
-[gedaagde 13] en Bubuco (met een aantal andere gedaagden hoofdelijk voor nader aangeduide bedragen) te veroordelen tot betaling van € 2.125.909,46;
-[gedaagde 16] (met een aantal andere gedaagden hoofdelijk voor nader aangeduide bedragen) te veroordelen tot betaling van € 1.111.761,53,
steeds vermeerderd met rente en € 513.253,73 aan kosten.
Tegen de achtergrond van (een deel van) de vaststaande feiten heeft PWS aan de vordering, zeer verkort en zakelijk weergegeven ten grondslag gelegd dat zij is benadeeld door onrechtmatige gedragingen van de gedaagden jegens haar, bestaande uit betrokkenheid in diverse hoedanigheden bij doorleveringen van onroerend goed, andere onroerend goed transacties, betaling aan adviseurs van vergoedingen en het genieten van neveninkomsten van haar [persoon 1]. Als gevolg van deze onrechtmatige daden heeft PWS schade geleden.
Het gaat daarbij om betrokkenheid bij één of meer van de projecten Aelbrechtskade, Giam-pakketten, Rijnhotel, TKN-pakketten A+B, Vissersdijk, ATTA-pakket, Schoterbos, St. Jacobsplaats, Woonplus I en II, Slaakhuys, Ruijgrok, Pleinweg, Dunehold, Hooge Marinier en Branderspoort; deze hebben zich alle afgespeeld in de periode juli 1998- oktober 2005.
a) Transformanagement en Chilston zijn persoonlijke vennootschappen van [persoon 1]; zij zijn actief geweest bij benadeling van PWS terzake van de transacties Atta-pakket, Woonplus II en TKN-pakketten.
b) [gedaagde 3] is bestuurder van Valtop Beheer; Valtop Beheer is enig aandeelhouder en bestuurder van Valtop Consultancy. [gedaagde 3], Valtop Consultancy en Valtop Beheer zijn betrokken geweest bij de transacties Woonplus II, Ruijgrok en de TKN-pakketten A+B. [gedaagde 3] heeft samen gehandeld met onder meer [persoon 1] en [gedaagde 6].
c) [gedaagde 6] is enig bestuurder van Berkendaal. Jamabel is een vennootschap van [gedaagde 6] en is enig aandeelhouder van Berkendaal. Jamabel is enig aandeelhouder en bestuurder van Zuidsingel.
Jamabel is betrokken geweest bij Giam, St.Jacobsplaats, Dunehold, Slaakhuys, Rijnhotel en Pleinweg. Zuidsingel is betrokken geweest bij Woonplus II. Berkendaal is betrokken geweest bij het Atta-pakket.
d) [gedaagde 10] is enig aandeelhouder en bestuurder van [gedaagde 11]. De echtgenote van [gedaagde 10] ([echtgenote van gedaagde 10]) is enig aandeelhouder en bestuurder van Giam. [gedaagde 11] is betrokken geweest bij Aelbrechtskade, Giam-pakketten, Woonplus I en II, Rijnhotel, Slaakhuys, Branderspoort en Hooge Marinier, althans in elk geval bij Rijnhotel, Slaakhuys, Woonplus II en Pleinweg. Giam is betrokken geweest bij de Giam-pakketten.
e) [gedaagde 13] is een zoon van [gedaagde 6] en enig aandeelhouder en bestuurder van Bubuco. Bubuco en [gedaagde 13] zijn betrokken geweest bij de doorlevering van TKN-pakketten A+B.
f) [gedaagde 16] is betrokken geweest bij St.Jacobsplaats in de rol van koper (via Jamabel).
3.2
Gedaagden voeren, gebundeld in de samenstelling als hiervoor (in 3.1) onder a tot en met f bedoeld, gemotiveerd verweer en hebben geconcludeerd tot afwijzing van de vordering met veroordeling van PWS bij vonnis uitvoerbaar bij voorraad in de kosten van het geding.
Het geschil in de hoofdzaak in reconventie
In de zaken van [gedaagde 3], Valtop Consultancy en Valtop Beheer (voorwaardelijk)
- 4.1.
De vordering luidt - verkort weergegeven - om bij vonnis uitvoerbaar bij voorraad, indien de rechtbank de vorderingen in conventie deels afwijst:
- -
de ten laste van [gedaagde 3], Valtop Consultancy en Valtop Beheer gelegde beslagen op te heffen;
- -
voor recht te verklaren dat PWS onrechtmatig heeft gehandeld jegens [gedaagde 3], Valtop Consultancy en Valtop Beheer;
- -
PWS te veroordelen tot vergoeding van de daardoor geleden schade, nader op te maken bij staat;
met veroordeling van PWS in de proceskosten.
Tegen de achtergrond van (een deel van) de vaststaande feiten hebben [gedaagde 3], Valtop Consultancy en Valtop Beheer aan de vordering, kort en zakelijk weergegeven ten grondslag gelegd:
- -
de beslagen zijn onrechtmatig, evenals de (in de media) geuite verdachtmakingen;
- -
[gedaagde 3], Valtop Consultancy en Valtop Beheer hebben kosten voor verweer moeten maken;
- -
[gedaagde 3], Valtop Consultancy en Valtop Beheer hebben als gevolg van het handelen van PWS schade geleden; een debiteur weigert bijvoorbeeld betaling, vermoedelijk na overleg met PWS.
4.2
PWS heeft gemotiveerd verweer gevoerd
In de zaken van [gedaagde 6] en Bubuco
- 5.1.
De vordering luidt - verkort weergegeven - om bij vonnis uitvoerbaar bij voorraad:
- -
voor recht te verklaren dat PWS onrechtmatig heeft gehandeld en/of wanprestatie heeft gepleegd jegens [gedaagde 6] en Bubuco;
- -
PWS te veroordelen tot vergoeding van de daardoor geleden schade, nader op te maken bij staat;
- -
de ten laste van [gedaagde 6] en Bubuco gelegde beslagen direct op te heffen;
met veroordeling van PWS in de proceskosten.
Tegen de achtergrond van (een deel van) de vaststaande feiten hebben [gedaagde 6], Jamabel, Zuidsingel, Berkendaal aan de vordering, kort en zakelijk weergegeven ten grondslag gelegd:
- -
het beslagrekest is onjuist en onvolledig, de beslagen zijn onrechtmatig en voldoen niet aan de wettelijke eisen;
- -
PWS heeft afspraken met [gedaagde 6] en Bubuco geschonden;
- -
[gedaagde 6] en Bubuco hebben als gevolg van het handelen van PWS schade geleden.
- 5.2.
PWS heeft gemotiveerd verweer gevoerd.
In de zaak van Zuidsingel (voorwaardelijk)
- 6.1.
De vordering luidt - verkort weergegeven - om bij vonnis uitvoerbaar bij voorraad, indien de rechtbank de vorderingen in conventie deels afwijst:
- -
voor recht te verklaren dat PWS onrechtmatig heeft gehandeld jegens Zuidsingel;
- -
PWS te veroordelen tot vergoeding van de daardoor geleden schade, nader op te maken bij staat;
- -
PWS te veroordelen tot betaling van een voorschot op de schade ad € 10.000,=;
met veroordeling van PWS in de proceskosten.
Zij baseert die vordering op de stelling dat PWS onrechtmatig heeft gehandeld door haar ten onrechte in rechte te betrekken, waardoor Zuidsingel aanzienlijke kosten voor haar verdediging heeft moeten maken en aldus schade heeft geleden.
- 6.2.
PWS heeft gemotiveerd verweer gevoerd.
In de zaak van [gedaagde 10], [gedaagde 11] en Giam (voorwaardelijk)
- 7.1.
De vordering luidt - verkort weergegeven - om bij vonnis uitvoerbaar bij voorraad, indien de rechtbank de vorderingen in conventie deels afwijst:
- -
voor recht te verklaren dat PWS aansprakelijk is jegens [gedaagde 10] en/of [gedaagde 11] en/of Giam voor de schade als gevolg van de gelegde beslagen;
- -
de ten laste van [gedaagde 10], [gedaagde 11] en Giam gelegde beslagen direct op te heffen op straffe van een dwangsom,
met veroordeling van PWS in de proceskosten.
Zij baseren die vordering op de stelling dat door PWS onrechtmatig beslag is gelegd, welke beslagen tot grote (reputatie)schade hebben geleid.
- 7.2.
PWS heeft gemotiveerd verweer gevoerd.
In de zaak van [gedaagde 16]
- 8.1.
[gedaagde 16] vordert, kort gezegd, opheffing van de gelegde beslagen en veroordeling van PWS tot betaling van de als gevolg van die beslagen door hem geleden schade ad
€ 371.639,50.
Hij baseert die vordering op de stelling dat door PWS onrechtmatig en vexatoir beslag is gelegd, welke beslagen gelet op bestaande verplichtingen tot grote schade hebben geleid.
- 8.2.
PWS heeft gemotiveerd verweer gevoerd.
In het incident ex art. 843a Rv
- 9.1.
[gedaagde 6], Jamabel, Zuidsingel en Berkendaal (hierna ook: [gedaagde 6] c.s.) hebben, bij incidentele conclusie, gevorderd om PWS, kort en zakelijk weergegeven, te veroordelen tot het verschaffen van afschriften van:
Primair :
- a.
agenda’s, notulen, agendastukken etc. met bijlagen van de Raad van Toezicht van PWS over de periode 15 juli 1998- 31 december 2005,
- b.
althans voor zover daarin sprake is van de projecten Aelbrechtskade, Giam-pakketten, Rijnhotel, TKN-pakketten A+B, Vissersdijk, ATTA-pakket, Schoterbos, St. Jacobsplaats, Woonplus I en II, Slaakhuys, Rijnhotel, Pleinweg, Dunehold, Hooge Marinier en Branderspoort, waarbij een onafhankelijke derde benoemd moet worden om erop toe te zien dat PWS daaraan voldoet,
subsidiair:
- -
(gedurende drie maanden) inzage te verstrekken in deze stukken,
een en ander op straffe van verbeurte van een dwangsom.
De rechtbank begrijpt het standpunt van [gedaagde 6] c.s. zo, dat het daarbij uitsluitend gaat om de stukken waarover [gedaagde 6] c.s. blijkens de bij de incidentele conclusie gevoegde lijstjes niet beschikt.
[gedaagde 6] c.s. leggen aan die vordering in de kern ten grondslag dat zij pas in staat zijn hun verweer naar behoren te onderbouwen als zij over die stukken kunnen beschikken; aan de eisen van art. 843a Rv, met name het vereiste van voldoende bepaaldheid en een rechtmatig belang, is in hun visie voldaan.
- 9.2.
PWS heeft gemotiveerd verweer gevoerd. Zij is van oordeel dat niet aan de eisen die ingevolge art. 843a Rv aan een dergelijke vordering gesteld moeten worden is voldaan, met name omdat [gedaagde 6] c.s. geen rechtmatig belang hebben bij afschrift of inzage en omdat de stukken in kwestie onvoldoende bepaald zijn. Bovendien acht zij de vordering onnodig of in elk geval prematuur, omdat een behoorlijke rechtsbedeling ook zonder exhibitie gewaarborgd is, en toewijzing voor haar (administratief) zo belastend is, dat haar belang bij afwijzing moet prevaleren.
- 10.
De beoordeling
in het incident
- 10.1.
De rechtbank stelt vast dat tussen partijen niet in geschil is dat [gedaagde 6] c.s. aangemerkt moeten worden als partij bij de rechtsbetrekking, zodat in zoverre voldaan is aan de eisen van art. 843a Rv. De kern van het geschil is gelegen in de vraag of [gedaagde 6] c.s. voldoende rechtmatig belang bij afschrift van of inzage in die stukken hebben.
In het algemeen kan daaromtrent worden opgemerkt, dat, hoewel juist is dat het Nederlandse recht geen algemene exhibitieplicht kent, de strenge eisen die aan een verzoek ex art. 843 a Rv in de jurisprudentie en literatuur waarop PWS zich beroept worden gesteld, met name zien op situaties waarin het de eisende partij in de (veelal nog aanhangig te maken) procedure was die een dergelijk verzoek deed. In die situaties doet zich het risico van de fishing expedition immers het meest gevoelen. Als, zoals in dit geval, gedaagden in een reeds aangevangen procedure een dergelijk verzoek doen, vloeit het rechtmatig belang veel sneller voort uit het gegeven dat, ook als de bewijslast bij de eisende partij ligt, een verweer gemotiveerd en onderbouwd moet worden om te kunnen voorkomen, dat de vordering aanstonds wordt toegewezen. Het verzoek dient uiteraard wel te voldoen aan eisen van proportionaliteit en subsidiariteit.
In dit geval acht de rechtbank van belang, dat PWS een zeer substantiële schadevergoeding van [gedaagde 6] c.s. vordert uit hoofde van onrechtmatige daad. Nu de verwijten van PWS met name zien op de invulling die [gedaagde 6] gaf aan zijn positie als (vice)voorzitter van de Raad van Toezicht ten opzichte van bepaalde projecten en [gedaagde 6] zich op het standpunt stelt dat die invulling niet onrechtmatig is geweest, lijken de notulen en vergaderstukken van de vergaderingen waar de betreffende projecten aan de orde zijn geweest voorshands rechtstreeks van belang te kunnen zijn voor de beoordeling van die vordering en van het verweer daartegen. In zoverre acht de rechtbank dan ook voldoende rechtmatig belang aanwezig. Vanzelfsprekend kan in dit stadium niet verder vooruitgelopen worden op de uit die stukken mogelijk te trekken conclusies.
Voor wat betreft de subsidiariteit geldt, dat niet valt uit te sluiten dat ook getuigenverhoren omtrent hetgeen ter vergadering is voorgevallen deels dezelfde informatie zouden kunnen opleveren; op de inhoud van verhoren kan thans niet worden vooruitgelopen. De getuigen zijn dan echter niet gehouden de stukken die ter vergadering zijn besproken over te leggen (als zij daarover nog zouden beschikken). Gelet op de aard van die stukken -kennelijk (ook) financiële stukken, berekeningen etc.- kan getuigenbewijs op dat punt redelijkerwijs niet als een zinvol alternatief worden beschouwd.
Tenslotte is -mede in het kader van de proportionaliteit- van belang, dat uit de stellingen van partijen lijkt voort te vloeien dat het gaat om stukken die [gedaagde 6] in elk geval ten dele in een eerder stadium heeft gehad of had kunnen ontvangen in het kader van zijn functie als (vice)voorzitter van de Raad van Toezicht van PWS; PWS beroept zich ook niet expliciet op een zwaarwegend belang dat aan overlegging in de weg zou staan. Voor zover haar betoog dat het om een aanzienlijke hoeveelheid stukken gaat die moeten worden opgezocht hetgeen haar organisatie zeer zou belasten is gehandhaafd, kan dat niet als zodanig gelden. Een professionele organisatie moet haar bedrijfsprocessen zo geordend hebben dat dit soort stukken eenvoudig te traceren is.
- 10.2.
De rechtbank acht, tegen de achtergrond van hetgeen hiervoor onder 10.1 werd overwogen, de primaire vordering onder a niet toewijsbaar, maar die onder b ten dele wel, zoals hierna in het dictum weer te geven, op grond van het navolgende.
De omschrijving onder a is erg ruim, zo ruim dat ernstig betwijfeld kan worden of de stukken wel voldoende bepaald zijn; dat punt mist echter belang, omdat de doorslag geeft dat (mede gelet op de hiervoor omschreven eisen, waaronder de proportionaliteitseis) niet valt in te zien waarom [gedaagde 6] belang zou hebben bij alle stukken behorende bij alle genoemde vergaderingen. Dat is ook niet behoorlijk toegelicht.
Voor wat betreft de vordering onder b geldt, dat [gedaagde 6] gelet op hetgeen hiervoor werd overwogen voldoende belang heeft bij de agenda’s en notulen en bij de bijlagen bij de agenda en de agendastukken (waaronder de rechtbank verstaat: alle stukken die op de betreffende vergadering ter tafel waren), doch alleen voor zover daarin (eventueel zijdelings) één of meer van de projecten genoemd worden waaromtrent PWS thans [gedaagde 6] c.s. verwijten maakt.
Daarbij zij opgemerkt dat de rechtbank [gedaagde 6] zo begrijpt dat hij beschikt over de agenda en notulen van de vergaderingen waarbij dat is aangegeven op de als productie 1 bij de conclusie van eis in het incident gevoegde lijst. Die lijst vermeldt geen data meer na 12 juni 2003. Hoewel de incidentele eis ook nog een periode daarna (tot oktober 2005) bestrijkt, is daaromtrent niets specifieks gesteld terwijl toch van [gedaagde 6] verwacht mocht worden dat hij in elk geval aan zou geven, met datum of met nummer van de vergadering, of daarna nog vergaderingen hebben plaatsgevonden ter zake waarvan stukken worden gevraagd. Nu dat niet is gebeurd zijn de gevorderde stukken in zoverre onvoldoende bepaald, zodat de vordering op dat punt wordt afgewezen.
- 10.3.
In redelijkheid valt niet in te zien -en PWS heeft dat ook niet (gemotiveerd) betoogd- waarom zou moeten worden volstaan met inzage in plaats van afgifte van kopieën; PWS zal dus veroordeeld worden tot het verschaffen van afschriften.
De rechtbank acht een termijn van 20 werkdagen voor het verschaffen van die afschriften redelijk.
[gedaagde 6] zal de kosten van de afschriften hebben te voldoen. De rechtbank gaat ervan uit, dat PWS bij het aanleveren van de afschriften een gespecificeerde nota van die kosten voegt, die [gedaagde 6] binnen 30 dagen daarna zal betalen. Het spreekt daarbij vanzelf dat de in rekening te brengen kosten redelijk dienen te zijn.
- 10.4.
De figuur van de toezichthoudende derde die [gedaagde 6] benoemd wenst te zien kent de wet niet. Daargelaten of een dergelijke constructie mogelijk zou zijn, de rechtbank acht de noodzaak daarvan onvoldoende aannemelijk, nu enerzijds [gedaagde 6] aanwezig is geweest bij de vergaderingen en dus in elk geval de stukken in grote lijnen op volledigheid kan beoordelen en anderzijds de stukken ook overigens eenvoudig te controleren zullen zijn (uit de agenda en notulen valt immers, naar moet worden aangenomen, af te leiden welke agendastukken er moeten zijn die op de betreffende projecten zien). Indien mocht blijken dat PWS, ondanks de veroordeling, niet alle stukken overlegt zal de rechtbank daaraan bovendien consequenties kunnen verbinden.
Op mutatis mutandis dezelfde gronden ziet de rechtbank geen aanleiding een dwangsom op te leggen; de gang van zaken in het kader van de strafzaak doet daaraan niet af.
De betreffende delen van de vordering worden dus afgewezen.
- 10.5.
Nu PWS geen aparte aandacht heeft besteed aan de positie van Jamabel, Zuidsingel en Berkendaal en tussen partijen kennelijk vast staat dat dit vennootschappen zijn die gecontroleerd worden door [gedaagde 6] en de verwijten van PWS jegens die vennootschappen daar ook geheel op gebaseerd zijn, moeten zij eveneens geacht worden voldoende belang te hebben en zal hun incidentele vordering op dezelfde wijze als die van [gedaagde 6] worden toegewezen.
In de hoofdzaak,
tegen Transformanagement, Chilston, [gedaagde 3], Valtrop Consultancy, Valtop Beheer, [gedaagde 10], [gedaagde 11], Giam, [gedaagde 13], Bubuco en [gedaagde 16],
voor wat betreft [gedaagde 3], Valtrop Consultancy, Valtop Beheer, [gedaagde 10], [gedaagde 11], Giam, [gedaagde 13], Bubuco en [gedaagde 16] in conventie en in (voorwaardelijke) reconventie
- 10.6.
Zoals eerder gezegd hebben Transformanagement en Chilston hun verweer gebundeld, evenals respectievelijk [gedaagde 3], Valtop Consultancy en Valtop Beheer, [gedaagde 6], Jamabel, Zuidsingel en Berkendaal, [gedaagde 13] en Bubuco en tenslotte [gedaagde 10], [gedaagde 11] en Giam; aan de zijde van gedaagden (in conventie) zijn aldus, als van Bruggen als groep wordt gerekend, in totaal zes groepen te onderscheiden. De aard en omvang van de verweren lopen daarbij uiteen.
In (voorwaardelijke) reconventie zijn aan de zijde van eisers vier groepen te onderscheiden.
[gedaagde 6], Jamabel, Zuidsingel en Berkendaal hebben, zoals uit het voorgaande blijkt, een incidentele vordering ingesteld, zodat wat betreft hun zaken het inhoudelijke debat -tot en met conclusie van dupliek in (re)conventie- nog niet is afgerond en na dit vonnis zal moeten worden voortgezet. Bij de anderen is dat debat wel afgerond, nu PWS kennelijk geen behoefte heeft aan het nemen van een conclusie van dupliek in reconventie.
- 10.7.
Mede tegen de achtergrond van deze procedurele situatie komt het de rechtbank geraden voor dat, in de zaken tegen Transformanagement, Chilston, [gedaagde 3], Valtrop Consultancy, Valtop Beheer, [gedaagde 10], [gedaagde 11], Giam, [gedaagde 13], Bubuco en [gedaagde 16], een comparitie van partijen wordt gelast teneinde met partijen te overleggen over de voortgang van de procedure en te bezien of op sommige punten overeenstemming bereikt kan worden.
Daarbij zullen in elk geval de volgende onderwerpen aan de orde zijn:
- -
de stand van zaken in de strafrechtelijke procedures, de relevantie daarvan en de vraag of daarin het vonnis moet worden afgewacht;
- -
de stand van zaken in de civiele procedure tegen [persoon 1], de relevantie daarvan en de vraag of daarin het arrest moet worden afgewacht;
- -
de beslagen;
- -
eventueel in te winnen deskundigenberichten omtrent de waarde van de betrokken objecten;
- -
de vraag of uit proceseconomische overwegingen afspraken te maken zijn over de voortgang van de procedure, bijvoorbeeld in die zin dat begonnen wordt met (bewijslevering omtrent) een of enkele projecten, en dat het debat over de omvang van de schade voorlopig wordt geparkeerd.
Indien partijen er de voorkeur aan geven dat deze comparitie eerst plaatsvindt nadat ook de zaken tegen [gedaagde 6], Jamabel, Zuidsingel en Berkendaal zijn afgeconcludeerd kunnen zij dat de rechtbank laten weten.
Elke verdere beslissing wordt in dit stadium aangehouden.
In de hoofdzaak in conventie en in reconventie voorts
ten aanzien van [gedaagde 6] c.s.
- 10.8.
De zaak wordt naar de rol verwezen van 30 juni 2009 voor conclusie van dupliek in conventie, tevens repliek in reconventie; de rechtbank gaat ervan uit dat [gedaagde 6] c.s. daarmee voldoende tijd hebben om de stukken die PWS als gevolg van de incidentele veroordeling uiterlijk 20 werkdagen na heden, dus uiterlijk op 4 mei 2009, dient te verschaffen te bestuderen. De rechtbank is thans voornemens om, nadat [gedaagde 6] c.s. hebben geconcludeerd (of, indien PWS daaraan in dit geval wel behoefte heeft, PWS haar conclusie van dupliek in reconventie heeft genomen) een comparitie te gelasten.
Zoals uit rechtsoverweging 10.7 volgt zal in beginsel reeds eerder een comparitie plaatsvinden in de zaken tegen de andere gedaagden. De rechtbank heeft er geen bezwaar tegen dat [gedaagde 6] c.s. bij die comparitie aanwezig zijn en daar in voorkomend geval ook het woord voeren voor zover dat in het belang van de goede proceseconomie dienstig is.
11. De beslissing
De rechtbank,
alvorens verder te beslissen,
In het incident ex art. 843a Rv
veroordeelt PWS om, binnen 20 werkdagen na heden, aldus uiterlijk op 4 mei 2009, aan [gedaagde 6], Jamabel, Zuidsingel en Berkendaal te verstrekken afschriften van
alle agenda’s en notulen van de Raad van Toezicht van PWS van de 27e vergadering (op 16 september 1998), de 28e vergadering (op 25 november 1998), de 31e vergadering (op 23 juni 1999), de 33e vergadering (op 2 februari 2000), de 35e vergadering (op 17 mei 2000), de 36e, 37e en 38e vergadering, de 39e vergadering (op 21 mei 2001), de 41e en 42e vergadering en de 43e vergadering (op 17 juni 2002);
voor wat betreft de 27e tot en met de 46e vergadering, telkens alle bijlagen bij de agenda en alle agendastukken, in het bijzonder memo’s, adviezen of schriftelijke mededelingen door het bestuur van PWS aan de Raad van Toezicht alles voor zover daarin één of meer van de volgende projecten worden genoemd: Aelbrechtskade, Giam-pakketten, Rijnhotel, TKN-pakketten A+B, Vissersdijk, ATTA-pakket, Schoterbos, St. Jacobsplaats, Woonplus I en II, Slaakhuys, Ruijgrok, Pleinweg, Dunehold, Hooge Marinier en Branderspoort;
veroordeelt [gedaagde 6], Jamabel, Zuidsingel en Berkendaal om op deugdelijke opgave van PWS de kosten van deze afschriften binnen 30 dagen na die opgave te voldoen;
verklaart deze veroordelingen uitvoerbaar bij voorraad;
wijst af het meer of anders gevorderde;
reserveert de kosten tot het eindvonnis in de hoofdzaak;
In de hoofdzaak,
in conventie en in reconventie
in de zaken van [gedaagde 6], Jamabel, Zuidsingel en Berkendaal
verwijst de zaak naar de rol van 30 juni 2009 voor conclusie van dupliek in conventie, tevens repliek in reconventie zijdens [gedaagde 6], Jamabel, Zuidsingel en Berkendaal;
in de zaken van Transformanagement en Chilston,
en in conventie en in (voorwaardelijke) reconventie
in de zaken van [gedaagde 3], Valtrop Consultancy, Valtop Beheer, [gedaagde 10], [gedaagde 11], Giam, [gedaagde 13], Bubuco en [gedaagde 16],
beveelt partijen, in persoon voor zover zij natuurlijke personen zijn, deugdelijk vertegenwoordigd door iemand die van de zaak op de hoogte is voor zover zij rechtspersonen zijn, vergezeld door hun raadslieden te verschijnen in het gebouw van deze rechtbank voor de rechter mr. Hofmeijer-Rutten, op woensdag 8 juli 2009 van 9.30 u tot 12.30 u teneinde als onder 10.7 voormeld;
bepaalt dat bescheiden die op de zaak betrekking (kunnen) hebben en die nog niet in de procedure zijn overgelegd door de partij die deze ter gelegenheid van de comparitie ter sprake wil brengen uiterlijk twee weken vóór de zitting aan de rechter (sector civiel recht, afdeling planningsadministratie, kamer E 12.43, Postbus 50954, 3007 [gedaagde 10] Rotterdam) en aan de wederpartij dienen te worden toegezonden;
Dit vonnis is gewezen door mr. P.F.G.T. Hofmeijer-Rutten.
Uitgesproken in het openbaar.
106/204