Rb. Den Haag, 21-11-2014, nr. C/09/470674 / KG ZA 14-913
ECLI:NL:RBDHA:2014:16692
- Instantie
Rechtbank Den Haag
- Datum
21-11-2014
- Magistraten
Mr. P.H. Blok
- Zaaknummer
C/09/470674 / KG ZA 14-913
- Vakgebied(en)
Intellectuele-eigendomsrecht (V)
- Brondocumenten en formele relaties
ECLI:NL:RBDHA:2014:16692, Uitspraak, Rechtbank Den Haag, 21‑11‑2014
Uitspraak 21‑11‑2014
Mr. P.H. Blok
Partij(en)
Vonnis in kort geding van 21 november 2014
in de zaak van
de vennootschap naar buitenlands recht
RHODIA OPÉRATIONS S.A.S.
gevestigd te Parijs, Frankrijk,
eiseres,
advocaten: mr. W.A. Hoyng en mr. R.J.F. Grijpink te Amsterdam,
tegen
- 1.
de vennootschap naar buitenlands recht
JIAXING ZHONGHUA CHEMICAL CO., LTD.,
gevestigd te Daqiao Town, Nanhu District, Jiaxing City, Zhejiang Province, Volksrepubliek China,
- 2.
de vennootschap naar buitenlands recht
JIAXING GUIHUA IMP & EXP CO LTD.,
gevestigd te Jiaxing, Zhejiang, Volksrepubliek China,
- 3.
de vennootschap naar buitenlands recht
NINGBO WANGLONG TECHNOLOGY CO., LTD.,
gevestigd te Binhai New City, Economic Development Area, Yuyao, Zhejiang, Volksrepubliek China,
- 4.
de vennootschap naar buitenlands recht
WANGLONG GROUP CO., LTD.,
gevestigd te Xiaocaoe Town, Yuyao City, Ningbo, Zhejiang, Volksrepubliek China,
gedaagden,
advocaten gedaagden sub 1 en 2: mr. B.J. Berghuis, mr. ir. M.W. de Koning en dr. mr. S.B.A. de Beer te Amsterdam,
advocaten gedaagden sub 3 en 4: mr. R.P.J. Ribbert en mr. J.M. Brölmann te Amsterdam.
Partijen zullen hierna Rhodia, Jiaxing (gedaagden sub 1 en 2 gezamenlijk) en Wanglong (gedaagden sub 3 en 4 gezamenlijk) worden genoemd. Gedaagden zullen afzonderlijk worden aangeduid als Jiaxing Zhonghua, Jiaxing Guihua, Wanglong Technology en Wanglong Group.
1. De procedure
1.1.
Het verloop van de procedure blijkt uit:
- —
de dagvaardingen van 6 augustus 2014 met producties 1–41;
- —
de producties 1–39 van Jiaxing,
- —
de producties 1–31 van Wanglong,
- —
de reactieve producties 42–49 en 50–51 van Rhodia;
- —
de reactieve producties 40–57 van Jiaxing,
- —
de reactieve producties 32–37 van Wanglong,
- —
de (aanvullende) kostenspecificaties van Rhodia, Jiaxing en Wanglong,
- —
de mondelinge behandeling, gehouden op 7 november 2014, ter gelegenheid waarvan de advocaten pleitaantekeningen hebben overgelegd.
1.2.
Jiaxing en Wanglong hebben er op gewezen dat zij belang hebben bij het vertrouwelijk behandelen van bedrijfsgeheime informatie, zowel ten opzichte van elkaar als ten opzichte van derden. Beiden hebben de voorzieningenrechter daarom verzocht een deel van de in het geding gebrachte stukken vertrouwelijk te behandelen in de zin van artikel 29 van het Wetboek van Burgerlijke Rechtsvordering (hierna: Rv) en de daarmee verband houdende delen van de mondeling behandeling achter gesloten deuren te laten plaatsvinden. Mede gelet op de instemming van alle betrokken partijen heeft de voorzieningenrechter dit verzoek ingewilligd. Als vertrouwelijk zijn aangemerkt de producties 12 en 14 van Rhodia, de producties 1–28, 40–42 en 46 van Jiaxing en de producties 3, 33, 36 en 37 van Wanglong en de delen van de pleitnotities van de partijen waarin de kenmerken van de productieprocessen van Jiaxing en Wanglong worden besproken.
1.3.
In deze procedure is naast Jiaxing en Wanglong ook [X] B.V. (hierna: [X]) gedagvaard. Ter zitting heeft Rhodia, na het uitroepen van de zaak, de vorderingen tegen [X] ingetrokken. Daarom wordt in deze procedure geen uitspraak gedaan in de zaak tegen [X].
1.4.
Ten slotte is vonnis bepaald.
2. De feiten
2.1.
Rhodia is onderdeel van de Rhodia-groep en is wereldwijd actief op het gebied van fijnchemicaliën, synthetische vezels en polymeren.
2.2.
Blijkens het door Rhodia overgelegde uittreksel uit het octrooiregister is ‘Rhodia Opérations’ houdster van het Europese octrooi EP 2 222 627 B1 (hierna ook: EP 627 of het octrooi) voor een ‘procédé de préparation de composés p-hydroxymandéliques éventuellement substitués et dérivés’. Het octrooi is verleend op een aanvrage van 9 december 2008, met een beroep op prioriteit van de Franse octrooiaanvraag FR 0708823 van 18 december 2007. Het octrooi is op 8 augustus 2012 verleend en van kracht in Nederland, België, Duitsland, Frankrijk, Groot-Brittannië, Hongarije, Italië, Liechtenstein, Noorwegen, Spanje en Zwitserland.
2.3.
EP 627 heeft achttien conclusies. De in dit geding relevante conclusies 1, 16 en 17 luiden in de authentieke Franse tekst als volgt.
- ‘1.
Procédé de préparation d'un composé aromatique au moins porteur d'un groupe -CHOH-COOH en position para d'un groupe hydroxyle, comprenant la condensation dans l'eau, en présence d'un agent alcalin, d'un composé aromatique porteur d'au moins un groupe hydroxyle et dont la position en para est libre, avec l'acide glyoxylique, caractérisé par le fait que la réaction est conduite dans un réacteur à écoulement piston.
- 16.
Procédé de préparation d'un aldéhyde 4-hydroxyaromatique par 10 oxydation d'un composé p-hydroxymandélique éventuellement substitué obtenu selon le procédé décrit dans l'une des revendications 1 à 15.
- 17.
Procédé selon la revendication 16 caractérisé par le fait que l'acide 4-hydroxy-3-méthoxymandélique est oxydé en vanilline.’
2.4.
In de Nederlandse vertaling luiden conclusies 1, 16 en 17 als volgt.
- ‘1.
Werkwijze voor de bereiding van een aromatisch preparaat dat ten minste een groep — CHOH-COOH draagt in para-positie van een hydroxylgroep, omvattende de condensatie in water, in aanwezigheid van een alkalisch agens, van een aromatisch preparaat dat ten minste een hydroxylgroep draagt en waarvan de para-positie vrij is, met het glyoxylzuur, daardoor gekenmerkt dat de reactie wordt uitgevoerd in een propstroomreactor.
- 16.
Werkwijze voor de bereiding van een 4-hydroxy-aromatisch aldehyde door oxidatie van een p-hydroxy-amandelpreparaat, eventueel gesubstitueerd, verkregen volgens de werkwijze beschreven in één der conclusies 1 tot 15.
- 17.
Werkwijze volgens conclusie 16, daardoor gekenmerkt dat het 4-hydroxy-3-methoxyamandelzuur wordt geoxideerd tot vaniline [bedoeld zal zijn ‘vanilline’, Vzr.].’
2.5.
De beschrijving van EP 627 omvat de volgende passages.
- ‘[0002]
[…] Une voie d'accès classique à la vanilline implique une réaction de condensation d'acide glyoxylique sur le gaïacol en milieu basique, pour obtenir l'acide 4-hydroxy-3-méthoxymandélique. Ce produit est ensuite oxydé pour conduire à la vanilline.
Le rendement de la condensation est limité par le fait que la réaction de condensation n'est pas sélective et conduit également à l'acide o-hydroxymandélique ainsi qu'à des acides dimandéliques. La formation des acides dimandéliques résulte d'une réaction subséquente, à savoir une deuxième condensation d'acide glyoxylique sur un acide mandélique.
On cherche à limiter ces réactions subséquentes afin d'obtenir une sélectivité optimale.
Les procédés continus sont le plus souvent conduits dans une cascade de plusieurs réacteurs de type parfaitement agités. Cependant, la multiplication des réacteurs induit des coûts tant au niveau de la réalisation qu'au niveau de l'exploitation.
- [0003]
L'invention a pour but de proposer un procédé de préparation de composés mandéliques permettant de surmonter un ou plusieurs des inconvénients évoqués ci-dessus, et en particulier d'obtenir une sélectivité améliorée.
- [0004]
L'objet de la présente invention est donc un procédé de préparation d'un composé p-hydroxymandélique éventuellement substitué et dérivé, comprenant la condensation dans l'eau, en présence d'un agent alcalin, d'un composé aromatique porteur d'au moins un groupe hydroxyle et dont la position en para est libre, avec l'acide glyoxylique, qui est caractérisé par le fait que la réaction est conduite dans un réacteur à écoulement piston.
- [0005]
Selon des modes de réalisation préférés, le réacteur est un réacteur tubulaire ou un réacteur colonne.
Dans l'exposé qui suit la présente invention, on entend par ‘ réacteur tubulaire ’, un réacteur en forme de tube et par ‘ réacteur colonne ’ un réacteur vertical de section circulaire.
Par ‘ écoulement piston ’, on définit un écoulement unidirectionnel dans lequel dans un plan perpendiculaire à l'écoulement, tous les filets fluides se déplacent avec une vitesse uniforme et toutes les grandeurs physiques y sont identiques. Dans un tel écoulement, le mélange radial est parfait alors qu'il n'y a pas de mélange axial. En pratique, ces conditions sont considérées comme remplies lorsque l'écoulement est turbulent.
[…]
Conformément au procédé de l'invention, il a été trouvé que la mise en oeuvre du procédé décrit dans un réacteur tubulaire à écoulement piston permettait l'obtention d'une sélectivité améliorée. En effet, une bonne sélectivité a été obtenue en raison d'une limitation des réactions subséquentes.
Le procédé a par ailleurs comme avantage un faible encombrement ainsi qu'une économie de coûts de fonctionnement et d'investissement comparativement à une cascade de réacteurs parfaitement agités, équipés chacun de moyens d'introduction des réactifs, de soutirage des produits, ainsi que des dispositifs de mélange des réactifs et de contrôle des paramètres de procédé.
Le procédé décrit propose de préparer des composés p-hydroxymandéliques en effectuant une réaction de condensation d'un composé aromatique porteur d'au moins un groupe hydroxyle, et de l'acide glyoxylique en présence d'un agent alcalin et éventuellement en présence d'un catalyseur.
[…]
Le procédé de l'invention s'applique tout particulièrement à un composé aromatique tel que le phénol mais également aux phénols substitués ayant au moins une position en para- du groupe hydroxyle non substituée. Le noyau aromatique est porteur d'au moins un groupe hydroxyle mais il peut être également porteur d'un ou plusieurs autres substituants. Généralement, par plusieurs substituants, on définit moins de quatre substituants par noyau aromatique.
[…]
Parmi la liste des composés précités, les composés aromatiques porteurs d'au moins un groupe hydroxyle mis en oeuvre préférentiellement sont : le phénol, l'o-crésol, le m-crésol, le 3-éthylphénol, le 2-tert-butylphénol, le gaïacol, le guétol. Conformément au procédé de l'invention, on effectue la condensation du composé aromatique hydroxylé et de l'acide glyoxylique, en phase liquide, en présence d'un agent alcalin.
- [0006]
[…] Les appareillages proposés sont particulièrement utiles pour le procédé décrit car ils permettent de maintenir un écoulement piston pour une réaction qui nécessite un long temps de séjour, avec des vitesses d'écoulement faibles. Par ailleurs, il permet de limiter les réactions subséquentes conduisant à des composés secondaires non désirés. L'invention sera expliquée plus en détail au moyen de l'exemple ci-après d'un mode préféré de réalisation de l'invention, donné à titre non limitatif.
Exemples
- [0007]
Sauf indication contraire, les pourcentages indiqués sont exprimés en poids.
Dans les exemples, on définit le taux de conversion, le rendement et la sélectivité obtenus.
Le taux de conversion (TT) correspond au rapport entre le nombre de réactif (acide giyoxylique) transformées et le nombre de moles de réactif (acide glyoxylique) engagées. La sélectivité (RT) correspond au rapport entre le nombre de moles de produit formées (acide 4-hydroxy-3-méthoxymandélique) et le nombre de moles de réactif (acide glyoxylique) transformées.
Exemple 1
- [0008]
Dans un réacteur de 6 litres muni d'une double-enveloppe, d'une électrode de pH, d'une sonde de température, d'un réfrigérant, d'une arrivée de gaz inerte et d'une agitation mécanique, on alimente:
- —
41 kg/h d'eau distillée,
- —
8,9 kg/h d'une solution aqueuse de soude à 30 % en poids,
- —
5,48 kg/h de gaïacol
- —
3,85 kg/h d'une solution aqueuse d'acide glyoxylique à 50 % en poids.
- [0009]
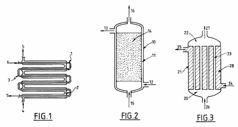
Cette solution est ensuite alimentée avec un débit de 581/h dans un réacteur tubulaire tel qu'illustré par la figure 2, d'un volume d'environ 15 litres (longueur de 2 m et diamètre de 100 mm), garni d'un garnissage Sulzer SMX. La température du réacteur piston est maintenue à 38oC.
Dans ces conditions, le temps de séjour dans le réacteur est de 16 minutes et le nombre de Reynolds est de 140. A la sortie du réacteur tubulaire, on dose les produits de la réaction par Chromatographie liquide haute performance. Les résultats obtenus sont consignés dans le tableau ci-dessous. On n'observe pas d'encrassement du réacteur, même au bout de plusieurs mois.
Exemple 2 (exemple comparatif)
- [0009]
On reproduit l'exemple 1 à la différence que l'on n'introduit pas le mélange réactionnel du premier réacteur dans un réacteur tubulaire mais dans une cascade de deux réacteurs de type parfaitement agités équipés d'un agitateur à hélice à 4 pales inclinées, chaque réacteur ayant un volume de 10 litres. A la sortie du dernier réacteur, on dose les produits de la réaction par Chromatographie liquide haute performance. Les résultats obtenus sont consignés dans le tableau ci-dessous.
Réf. Ex. | Conversion | Acide 4-hydroxy-3-méthoxy-mandélique | Acide 2-hydroxy-3-méthoxy-mandélique | Acide 2-hydroxy-3-méthoxy-1,5-dimandélique |
|---|---|---|---|---|
1 | TT = 72,2 % | RT=81,9% | RT=6,1 % | RT =11,1 %. |
2 | TT =71,9 % | RT = 79,3 % | RT = 5,8 % | RT = 14,7 % |
On constate que pour un taux de conversion équivalent, la sélectivité en produit recherché, l'acide 4-hydroxy-3-méthoxymandélique, est plus élevée pour un réacteur tubulaire que pour une cascade de réacteurs de type parfaitement agités. L'utilisation d'un réacteur tubulaire comportant un garnissage permet donc d'augmenter la sélectivité du procédé de préparation de composés p-hydroxymandéliques comme l'acide 4-hydroxy-3-méthoxymandélique.’
2.6.
De volgende figuren maken deel uit van het octrooischrift van EP 627.

2.7.
Jiaxing Zhongua is fabrikant van vanilline en daaraan gerelateerde stoffen. De vanilline-fabriek van Jiaxing staat in China.
2.8.
Jiaxing Guihua houdt zich bezig met de import en export van chemische stoffen, waaronder de door Jiaxing Zhogua geproduceerde vanilline.
2.9.
Wanglong Technology is fabrikant van onder meer levensmiddelenadditieven, zoals vanilline. De vanilline-fabriek van Wanglong Technology staat in China. Wanglong Group is de moedermaatschappij van Wanglong Technology.
2.10.
[X] is een groothandel in chemische producten voor industriële toepassing, waaronder smaak- en kleurstoffen zoals vanilline en vanilline bevattende aroma's.
2.11.
Bij beschikking van 20 juni 2014 van de voorzieningenrechter van deze rechtbank heeft Rhodia verlof gekregen tot het leggen van bewijsbeslag bij [X], Het beslag is op 26 juni 2014 gelegd.
2.12.
Uit de bij [X] in beslag genomen documenten blijkt dat [X] door Jiaxing en Wanglong geproduceerde vanilline heeft ingekocht en verwerkt in smaakstoffen die [X] in diverse landen op de markt brengt.
3. Het geschil
3.1.
Rhodia vordert — samengevat — dat de voorzieningenrechter bij vonnis, voor zover mogelijk uitvoerbaar bij voorraad, gedaagden beveelt de inbreuk op de Nederlandse en buitenlandse delen van EP 627 te staken en gestaakt te houden, op straffe van een dwangsom, met veroordeling van gedaagden in de overeenkomstig artikel 1019h Rv te begroten proceskosten.
3.2.
Aan haar vorderingen legt Rhodia ten grondslag dat de door gedaagden in de gedesigneerde landen aangeboden en/of verhandelde vanilline is aan te merken als een product dat rechtstreeks is verkregen door toepassing van de in de conclusie 16 en 17 van EP 627 geoctrooieerde werkwijze, zodat sprake is van inbreuk in de zin van artikel 53 lid 1 sub b van de Rijksoctrooiwet 1995 (hierna: ROW) en de daarmee corresponderende bepalingen van de buitenlandse octrooiwetten.
3.3.
Gedaagden voeren gemotiveerd verweer. Zowel Jiaxing als Wanglong stellen dat de Nederlandse rechter niet bevoegd is. Wanglong stelt daarnaast dat Rhodia niet de octrooihoudster is en daarom niet-ontvankelijk is in haar vorderingen en dat de zaak zowel feitelijk als juridisch te complex is voor behandeling in kort geding. Gedaagden betogen voorts dat EP 627 nietig is omdat de geoctrooieerde materie niet nieuw en niet inventief is en — volgens Wanglong — ook omdat de conclusies 16 en 17 niet-nawerkbaar zijn. Daarnaast stellen Jiaxing en Wanglong dat zij de werkwijzen van EP 627 niet toepassen. Daarom zou de door hen geproduceerde vanilline niet als rechtstreeks verkregen voortbrengsel in de zin van artikel 53 lid 1 sub b ROW en de daarmee corresponderende bepalingen van de buitenlandse octrooiwetten zijn aan te merken. Jiaxing beroept zich — voor het geval de voorzieningenrechter van oordeel is dat zij in haar productieproces een geoctrooieerde werkwijze toepast — op het recht van voorgebruik, nu zij dit proces reeds voor de prioriteitsdatum toepaste en de huidige productiewijze slechts wat schaalgrootte betreft afwijkt van het oudere productieproces.
3.4.
Op de stellingen van partijen wordt hierna, voor zover van belang, nader ingegaan.
4. De techniek
4.1.
De navolgende beschrijving van de technische achtergrond van het octrooi is ontleend aan de toelichting van partijen en is niet in geschil.
vanilline
4.2.
Vanille is een natuurlijke aromatische stof die wordt gewonnen uit de vruchten van de klimorchidee van het geslacht Vanilla. Vanilline (4-hydroxy-3-methoxybenzaldehyde) is het bestanddeel van vanille dat voor de kenmerkende geur zorgt. Vanilline heeft de hieronder weergegeven chemische structuur.

4.3.
In het onderhavige octrooi wordt vanilline (ook wel methylvanilline) onderscheiden van ethylvanilline, dat de onderstaande structuur heeft.

4.4.
Vanilline vindt toepassing in met name levensmiddelen en parfumproducten en wordt als smaakstof gebruikt in zoete producten zoals ijs en chocolade.
4.5.
Vanilline kan niet alleen uit natuurlijke grondstoffen worden verkregen, maar ook langs synthetische weg. Synthetische vanilline heeft als voordeel dat het in grotere volumes kan worden geproduceerd tegen lagere (kost)prijs.
4.6.
Een van de manieren waarop synthetische vanilline kan worden verkregen is door chemische synthese uit guaiacol (2-methoxyfenol), dat de hieronder weergegeven chemische structuur heeft.

4.7.
Het merendeel van de wereldwijde productie van vanilline uit guaiacol vindt plaats volgens een condensatiereactie van glyoxylzuur en guaiacol, die resulteert in 4-hydroxy-3-methoxyamandelzuur (para-hydroxyamandelzuur ofwel p-hydroxyamandelzuur). De condensatiereactie wordt gevolgd door oxidatie, resulterend in 4-hydroxy-3-methoxy-fenylglyoxylzuur, en decarboxylering. Het eindproduct van deze reactieketen is vanilline. Hieronder is schematisch weergegeven hoe de condensatie, oxidatie en decarboxylering kunnen worden uitgevoerd.

ongewenste bijproducten
4.8.
In het condensatieproces ontstaan ongewenste bijproducten. Het eerste ongewenste bijproduct is o-hydroxyamandelzuur (ortho-hydroxyamandelzuur), waarbij glyoxylzuur niet aan guaiacol bindt op de para-positie ten opzichte van de hydroxylgroep, maar op een ortho-positie. Het tweede ongewenste bijproduct, di-amandelzuur, is het resultaat van een vervolgcondensatiereactie van glyoxylzuur met reeds gevormde hydroxyamandelzuren. Bij di-amandelzuur bindt glyoxylzuur zowel op de ortho-positie als op de para-positie. Ter illustratie volgt hierna de chemisch structuur van op basis van guaiacol gevormde amandelzuren:

p-hydroxyamandelzuur o-hydroxyamandelzuur di-amandelzuur
4.9.
EP 627 ziet op een wijze van verkrijging van vanilline die selectiever is dan op de prioriteitsdatum bekende productiemethoden. Dat wil zeggen dat de in EP 627 geopenbaarde werkwijze minder bijproducten oplevert.
reactoren
4.10.
Wat betreft productiemethoden moet een onderscheid worden gemaakt tussen enerzijds batchgewijze productie in zogeheten batchreactoren en anderzijds continue procesvoering, waarin de reactanten continu worden toegevoegd, gemengd en afgevoerd. Continue procesvoering kan met een continuous stirred reactor tank (CSTR) of, zoals het octrooi voorschrijft, een propstroomreactor (plug flow reactor of PFR).
4.11.
Propstroom of plug flow is de situatie waarin het reactiemengsel in de reactor, doorgaans een buisreactor, in de stromingsrichting (axiale richting) ongemengd is. In de richting loodrecht op de stroming (de radiale richting) is de menging juist volledig. De samenstelling van het reactiemengsel is daardoor op iedere dwarsdoorsnede in de buis gelijk. Het mengsel gaat als prop of plug door de reactor.
4.12.
In een CSTR wordt het reactiemengsel juist in alle richtingen volledig gemengd. De samenstelling van het reactiemengsel is daarom overal in de reactor hetzelfde. Om met behulp van CSTRs een hogere concentratie van het reactieproduct te verkrijgen kunnen meerdere CSTRs aaneengeschakeld worden. Daarbij zal de concentratie van het gewenste eindproduct steeds hoger worden.
5. De beoordeling
bevoegdheid
5.1.
De Nederlandse rechter is bevoegd tot kennisneming van de vorderingen, ook voor zover die betrekking hebben op handelingen van gedaagden buiten Nederland. Ten aanzien van de — aanvankelijke mede-gedaagde — [X] volgt dat uit artikel 2 van de EEX-Vo (verordening EG/44/2001) aangezien die gedaagde in Nederland is gevestigd.
5.2.
Ten aanzien van Jiaxing en Wanglong vloeit de rechtsmacht van de Nederlandse rechter voort uit artikel 7 Rv omdat tussen de vorderingen tegen deze gedaagden en vorderingen tegen [X] een zodanige samenhang bestaat dat redenen van doelmatigheid een gezamenlijke behandeling rechtvaardigen. Er is in de zaken tegen enerzijds [X] en anderzijds Jiaxing en Wanglong naar voorlopig oordeel namelijk sprake van een situatie die in zowel feitelijk als juridisch opzicht hetzelfde is. Er is sprake van eenzelfde feitelijke situatie omdat Rhodia zowel in de zaak tegen [X], als in de zaken tegen Jiaxing en Wanglong haar vorderingen heeft gebaseerd op de stelling dat
- (i)
de wijze waarop Jiaxing en Wanglong vanilline produceren onder de beschermingsomvang van het octrooi valt en
- (ii)
zowel [X] als Jiaxing en Wanglong inbreuk maken op dat octrooi omdat zij producten die rechtstreeks zijn verkregen met die productieprocessen van Jiaxing en Wanglong op de markt brengen in de gedesigneerde landen.
Het gaat ook om eenzelfde situatie rechtens omdat Rhodia [X], Jiaxing en Wanglong ieder afzonderlijk beticht van inbreuken op dezelfde nationale delen van het octrooi (vgl. HvJ EU 12 juli 2012, C-616/10, ECLI:EU:C:2012:445, Solvay-Honeywell).
5.3.
Het verweer dat er geen sprake is van eenzelfde feitelijke situatie omdat Jiaxing en Wanglong vanilline verhandelen en [X] slechts aroma's waarin — volgens Rhodia — die vanilline is verwerkt, moet worden gepasseerd. Zowel in de zaken tegen Jiaxing en Wanglong, als in de zaak tegen [X] moet worden beoordeeld of de productieprocessen van Jiaxing en Wanglong onder de beschermingsomvang van het octrooi vallen en of de door Jiaxing en Wanglong verhandelde vanilline een rechtstreeks verkregen product is van die productieprocessen. Die feitelijke samenloop tussen de zaken brengt mee dat er een gevaar bestaat voor onverenigbare beslissingen bij afzonderlijke berechting van de zaken. Dat in de zaak tegen [X] mogelijk nog een aanvullend verweer had kunnen worden gevoerd, te weten dat de verdere verwerking door [X] van de vanilline van Jiaxing en Wanglong meebrengt dat er geen sprake is een rechtstreeks verkregen product in de zin van artikel 53 lid 1 sub b ROW (of de daarmee corresponderende buitenlandse bepalingen), neemt dat gevaar niet weg.
5.4.
Het feit dat Rhodia de vorderingen tegen [X] heeft ingetrokken, brengt, anders dan gedaagden hebben gesuggereerd, niet mee dat de Nederlandse rechter zijn op artikel 7 Rv gebaseerde bevoegdheid verliest. In het algemeen is voor de bevoegdheid van de rechter beslissend het tijdstip waarop zijn tussenkomst wordt ingeroepen en kan een latere wijziging in de omstandigheden welke die bevoegdheid bepalen, aan die (eenmaal bestaande) bevoegdheid geen afbreuk meer doen (HR 28 mei 1999, NJ 2001, 212, r.o. 3.5). Dit zogeheten perpetuatio fori-beginsel is in dit geval van toepassing omdat [X] mede-gedaagde was op het moment van het aanhangig maken van de zaken tegen Jiaxing en Wanglong. Gedaagden hebben geen omstandigheden aangevoerd die in dit geval een uitzondering op dit beginsel zouden kunnen rechtvaardigen.
5.5.
Ook het nietigheidsverweer dat gedaagden hebben opgeworpen tegen de buitenlandse delen van het octrooi, heeft geen gevolgen voor de rechtsmacht van de Nederlandse rechter in dit kort geding. Uitgangspunt is dat een nietigheidsverweer niet tot gevolg heeft dat de rechter zijn bevoegdheid om kennis te nemen van een inbreukvordering verliest (HR 30 november 2007, ECLI:NL:HR:2007:BA9608, Roche-Primus). De regel dat de rechter wel pas tot een oordeel omtrent de inbreuk mag komen als de op grond van artikel 22 lid 4 EEX-Vo exclusief bevoegde buitenlandse rechter omtrent de geldigheid van de buitenlandse delen van het Europees octrooi heeft beslist, geldt naar voorlopig oordeel niet in kort geding. Om op een inbreukvordering in kort geding te beslissen, hoeft de rechter de (on)geldigheid van de buitenlandse delen van het octrooi immers niet definitief vast te stellen. In kort geding volstaat dat de rechter inschat hoe de ingevolge artikel 22 lid 4 EEX-Vo exclusief bevoegde rechter over de geldigheid zal oordelen (vgl. HvJ EU 12 juli 2012, C-616/10, ECLI:EU:C:2012:445, Solvay-Honeywell en hof Den Haag 20 mei 2014, ECLI:NL:GHDHA:2014:1727, Apple-Samsung).
5.6.
De relatieve bevoegdheid van de voorzieningenrechter van de Haagse rechtbank volgt uit artikel 80 lid 2 ROW en is overigens ook niet bestreden.
ontvankelijkheid
5.7.
Het betoog van Wanglong dat Rhodia niet-onvankelijk is in haar vordering omdat Rhodia niet de rechthebbende is op EP 627 moet naar voorlopig oordeel worden verworpen. Voorshands is voldoende aannemelijk dat met de in het octrooiregister genoemde naam ‘Rhodia Opérations' wordt gedoeld op ‘Rhodia Opérations S.A.S.’, nu gesteld noch gebleken is dat (ook) een andere vennootschap onder die naam zijn bedrijf voert.
complexiteit
5.8.
Het betoog van Wanglong dat het geschil te complex is voor behandeling in kort geding wordt verworpen. De feiten zijn voldoende helder voor een beoordeling van de vorderingen. Voor zover de voorliggende rechtsvragen complex zijn, kan dat niet leiden tot de conclusie dat Rhodia geen spoedeisend belang heeft bij haar vorderingen.
inventiviteit
5.9.
De vorderingen moeten worden afgewezen omdat er een gerede kans bestaat dat de bodemrechter EP 627 nietig zal verklaren op de grond dat de daarin geclaimde materie op voor de hand liggende wijze voortvloeit uit de Franse octrooiaanvrage 2 495 137 (hierna: FR 137) van 28 november 1980. Dat zal voor conclusie 1 van EP 627 hierna worden toegelicht aan de hand van de zogeheten problem-and-solution-approach, die alle partijen ook hebben gehanteerd in hun argumentatie.
meest nabije stand van de techniek
5.10.
Naar voorlopig oordeel moet FR 137 worden aangemerkt als de meest nabije stand van de techniek. FR 137 openbaart namelijk alle kenmerken van conclusie 1 van EP 627, behalve de toepassing van een propstroomreactor (zie over dat verschil hierna 5.13 e.V.). Daarnaast houdt FR 137 zich bezig met hetzelfde probleem als het probleem dat de in EP 627 geclaimde uitvinding beoogt op te lossen, te weten het verbeteren van de selectiviteit van de condensatiereactie.
5.11.
Het betoog van Rhodia dat FR 137 niet de meest nabij e stand van de techniek kan zijn omdat FR 137 niet uitgaat van een gesubstitueerd fenol, zoals guaiacol, maar van niet-gesubstitueerd fenol is naar voorlopig oordeel ongegrond. Conclusie 1 is immers niet beperkt tot de condensatie van gesubstitueerd fenol, laat staan van guaiacol. De conclusie vereist slechts dat het aromatisch preparaat ten minste een hydroxylgroep draagt en dat de para-positie vrij is. Het staat buiten kijf dat ook niet-gesubstitueerd fenol aan die eisen voldoet. Bovendien bevestigt de beschrijving van EP 627 uitdrukkelijk dat de geclaimde uitvinding mede betrekking heeft op de condensatie van niet-gesubstitueerd fenol (zie onder meer de hiervoor onder 2.5 geciteerde delen uit paragraaf [0005]).
5.12.
Ook het betoog van Rhodia dat FR 137 geen reëel uitgangspunt is omdat in de stand van de techniek voor de uitvoering van de betreffende condensatiereactie vrijwel uitsluitend gebruik werd gemaakt batchreactoren, in plaats van de in FR 137 beschreven CSTRs, kan voorshands geen doel treffen. Uitgaan van een werkwijze met CSTRs doet juist recht aan de bijdrage die de geclaimde uitvinding volgens het octrooischrift van EP 627 zou leveren aan de stand van de techniek. Het octrooischrift beschrijft die bijdrage namelijk uitsluitend in vergelijking met werkwijzen met CSTRs (paragrafen [0002] en [0003]) en meldt als belangrijkste voordeel dat een propstroomreactor resulteert in een betere selectiviteit in de condensatiereactie dan een serie van twee CSTRs (paragrafen [0006], [0010] en [0011]). Het octrooischrift van EP 627 meldt niet dat een propstroomreactor ook voordelen heeft boven een batchreactor, laat staan dat het octrooischrift plausibel maakt dat een propstroomreactor op het punt van de selectiviteit significant beter presteert dan een batchreactor. Publicaties over reacties in batchreactoren, zoals de door Rhodia als meest nabije stand van de techniek naar voren geschoven publicatie van Kalikar (Kalikar e.a., J. Chem. Tech. Biotechnol 1986, 36, 38–46), vormen daarom naar voorlopig oordeel een minder geschikt uitgangspunt voor de beoordeling van de inventiviteit van EP 627 dan FR 137.
verschil en probleem
5.13.
Het verschil tussen de in conclusie 1 van EP 627 geclaimde werkwijze en FR 137 betreft het kenmerk dat de condensatiereactie wordt uitgevoerd in een propstroomreactor. FR 137 openbaart namelijk slechts het gebruik van een aaneenschakeling van CSTRs. Het betoog van Jiaxing dat FR 137 daarmee ook een propstroomreactor openbaart omdat met een aaneenschakeling van een groot aantal (meer dan 30) CSTRs propstroomcondities kunnen worden benaderd, snijdt naar voorlopig oordeel geen hout. Daargelaten of iedere reactor waarmee propstroomcondities kunnen worden benaderd, kan worden aangemerkt als een propstroomreactor in de zin van EP 627, openbaart FR 137 niet direct en ondubbelzinnig een aaneenschakeling van veel, laat staan meer dan dertig CSTRs. FR 137 leert weliswaar gebruik te maken van ‘au moins deux réacteurs montés en série’ en noemt geen bovengrens, maar het beschrijft als voorkeursuitvoeringsvorm een serie van — slechts — drie CSTRs (p. 2, r. 25) en bevat geen aanwijzing dat toepassing van meer CSTRs voordelig zou zijn.
5.14.
Voorshands is voldoende aannemelijk dat het effect van de toepassing van een propstroomreactor is dat de selectiviteit van de condensatiereactie verbetert en in het bijzonder dat er minder di-amandelzuur ontstaat (een vermindering van o-hydroxyamandelzuur blijkt niet uit het octrooischrift). Daarvan uitgaande kan het probleem dat de uitvinding oplost worden geformuleerd als het verbeteren van de selectiviteit van de condensatiereactie en in het bijzonder de vermindering van de productie van di-amandelzuur.
5.15.
Het argument van Jiaxing dat de hogere selectiviteit niet mag meewegen omdat toepassing van een propstroomreactor qua selectiviteit niet beter presteert dan de in FR 137 geopenbaarde CSTRs, kan voorshands geen doel treffen. Jiaxing wijst er in dit verband op dat zowel FR 137 als het octrooischrift een selectiviteit van 82% rapporteert, maar dat is geen eerlijke vergelijking. In FR 137 wordt de relatief hoge selectiviteit immers bereikt met een katalysator, maar zonder een propstroomreactor, terwijl in het voorbeeld dat het octrooischrift beschrijft, een propstroomreactor wordt toegepast, zonder katalysator.
voor de hand liggend
5.16.
Voorshands moet worden aangenomen dat de gemiddelde vakman die op de prioriteitsdatum, uitgaande van FR 137, de selectiviteit van de condensatiereactie zou willen verbeteren en in het bijzonder de vorming van di-amandelzuur zou willen verminderen, de in FR 137 beschreven serie CSTRs zou vervangen door een propstroomreactor.
5.17.
Daarbij staat voorop dat voorshands voldoende aannemelijk is dat de gemiddelde vakman op de prioriteitsdatum op basis van zijn algemene vakkennis wist dat toepassing van een propstroomreactor in de regel minder vervolgreacties oplevert dan toepassing van CSTRs onder dezelfde omstandigheden. Gedaagden hebben dat aangetoond aan de hand van diverse handboeken. Zo hebben zij verwezen naar het handboek Comprehensive chemical kinetics (Volume 38, 2001, productie 20 van Wanglong) waarin op pagina 107 de volgende passage opgenomen:
‘If the desired product is the first or an early intermediate in a pathway of sequential steps, batch or plug-flow tubular reactors provide better selectivity than do continuous stirred-tank reactors.’
Eenzelfde leer blijkt uit het handboek van Le Page (Applied hetergeneous catalysis: Design, manufacture use of catalysts, Technip Editions 1987, hoofdstuk 8, p. 246, productie 47 van Jiaxing) en cursusmateriaal van professor Dudukovic (M.P. Dudukovic, Ideal Reactors and Multiple Reactions, 6 oktober 2005, productie 19 van Wanglong). Deze vakkennis wordt bovendien bevestigd door de verklaringen van de door Jiaxing ingeschakelde deskundigen [naam 1] (productie 43 van Jiaxing) en [naam 2] (productie 57 van Jiaxing).
5.18.
Ervan uitgaande dat de hiervoor genoemde voorkeur voor een propstroomreactor tot de algemene vakkennis behoorde, getuigt het volgen van die voorkeur niet van inventiviteit. Aangenomen moet worden dat de gemiddelde vakman zonder meer zijn algemene vakkennis inzet om een probleem op te lossen. Het ontbreken van een pointer in FR 137 naar het gebruik van een propstroomreactor impliceert, anders dan Rhodia heeft gesuggereerd, dus niet dat de keuze voor die reactor, uitgaande van FR 137, inventief is.
5.19.
Het verweer van Rhodia dat de keuze voor het type reactor maar een van de vele factoren is om de selectiviteit van de reactie te verbeteren, kan naar voorlopig oordeel niet slagen. Daargelaten of het wijzigen van die andere factoren voor de hand ligt, sluit het feit dat de selectiviteit mogelijk ook op andere manieren kan worden verbeterd, niet uit dat het (ook) voor de hand ligt om de selectiviteit te verbeteren door te kiezen voor een propstroomreactor.
5.20.
Daarnaast heeft Rhodia betoogd dat gedaagden de voorkeur voor een propstroomreactor te simplistisch weergeven. De door Rhodia ingeschakelde deskundigen [naam 3], [naam 4] en [naam 5] hebben erop gewezen dat de condensatiereactie complex is, omdat er vijf reacties naast elkaar optreden, te weten:
- ‘i)
de reactie waarin het gewenste product p-hydroxyamandelzuur wordt verkregen;
- ii)
de vervolgreactie waarmee het gewenste product wordt omgezet in het ongewenste bijproduct di-amandelzuur;
- iii)
de parallelle reactie waarmee het ongewenste bijproduct o-hydroxyamandelzuur wordt verkregen;
- iv)
de vervolgreactie waarmee het ene ongewenste bijproduct o-hydroxyamandelzuur wordt omgezet in het andere ongewenste bijproduct di-amandelzuur;
- v)
de zogeheten Cannizzaro-reactie waarbij glyoxyl met zichzelf reageert.’
Volgens die deskundigen zou daarom kennis van de kinetiek, zoals de reaction rate constant, nodig zijn om te kunnen voorspellen of een propstroomreactor daadwerkelijk voordelig is vanuit het oogpunt van selectiviteit. De deskundigen van Jiaxing hebben echter voorshands overtuigend aangetoond dat de voorkeur voor een propstroomreactor ook geldt voor deze complexe reacties. Zo heeft [naam 1] aan de hand van het handboek van Fogler (H.S. Fogler, Elements of Chemical Reactor Engineering, vierde druk, Prentice Hall) laten zien dat, ongeacht de reaction rate constants, de vervanging van de CSTR door een propstroomreactor bij overigens ongewijzigde omstandigheden de selectiviteit verbetert (productie 43 van Jiaxing). Dat is kort gezegd zo omdat bij een CSTR de concentratie van het gewenste eindproduct (p-hydroxyamandelzuur) voortdurend maximaal is, terwijl bij een propstroomreactor die concentratie pas aan het einde van de reactor het maximum zal bereiken. Vanwege die voortdurend hoge concentratie van het gewenste eindproduct in een CSTR wordt relatief veel van het gewenste eindproduct lang blootgesteld aan het risico om te worden omgezet in het ongewenste di-amandelzuur. Hetzelfde volgt uit de verklaring van [naam 2] die uitlegt dat ongewenste vervolgreacties kunnen worden verminderd door het minimaliseren van de zogeheten residence time distribution, wat wordt bereikt met een propstroomreactor (productie 47 van Jiaxing).
5.21.
Het feit dat de gemiddelde vakman mogelijk niet met zekerheid kon voorspellen of toepassing van een propstroomreactor daadwerkelijk het verwachte voordeel zou opleveren, maakt de keuze voor de propstroomreactor, anders dan Rhodia lijkt te veronderstellen, niet inventief. Voor het aannemen van een gebrek aan inventiviteit volstaat naar voorlopig oordeel dat de gemiddelde vakman op basis van zijn vakkennis redelijkerwijs kon verwachten dat toepassing van de propstroomreactor de selectiviteit van de reactie zou verbeteren. Aan die maatstaf is, zoals hiervoor is toegelicht, naar voorlopig oordeel voldaan.
5.22.
De stelling van Rhodia dat het inventieve karakter van het gebruik van een propstroomreactor blijkt uit het feit dat een propstroomreactor nooit is toegepast voor de betreffende condensatiereactie sinds de publicatie van FR 137 in 1980, kan niet leiden tot een ander oordeel. Dat nooit is gekozen voor een propstroomreactor kan immers andere oorzaken hebben dan de gestelde inventiviteit ervan. Zo kan meespelen dat de bescheiden meeropbrengst van een propstroomreactor pas interessant werd op het moment dat de productie van synthetische vanilline ging plaatsvinden op de schaal waarop Jiaxing en Wanglong thans opereren.
5.23.
Ten slotte heeft Rhodia ter zitting een (deel van een) e-mailbericht van haar deskundige [naam 3] geciteerd waarin deze betoogd dat om een reactor te kunnen kiezen, de zogeheten ordes van de betreffende reacties bekend moeten zijn. Gedaagden hebben terecht aangevoerd dat dit argument te laat naar voren is gebracht. Rhodia heeft vier weken de tijd gehad om deskundigenverklaringen in te dienen in reactie op de producties van gedaagden, waarin door gedaagden ingeschakelde deskundigen verklaarden dat toepassing van een propstroomreactor algemene vakkennis was. Rhodia heeft ook gebruik gemaakt van die mogelijkheid, maar in die reactieve producties (waaronder een deskundigenverklaring van [naam 3]) is het gestelde belang van de reactieorde niet naar voren gebracht. Gedaagden hebben daarop dus niet kunnen reageren met hun reactieve producties en zij (en de rechter) hebben zich ook niet kunnen voorbereiden op deze argumentatie bij pleidooi.
onderconclusies
5.24.
Ervan uitgaande dat conclusie 1 niet geldig is, bestaat een gerede kans dat de bodemrechter ook de onderconclusies 16 en 17 waarop Rhodia zich beroept, nietig zal achten. Gedaagden hebben namelijk onbestreden aangevoerd dat de onderconclusies niets inventiefs toevoegen aan conclusie 1.
hulpverzoek
5.25.
Rhodia heeft een hulpverzoek ingediend voor het geval dat de Amerikaanse octrooiaanvrage US 4165341 nieuwheidschadelijk zou worden geacht voor het octrooi. Rhodia heeft niet gesteld dat zij ook een beroep doet op dat hulpverzoek voor het geval dat het octrooi niet inventief zou worden geacht in het licht van FR 137 en zij heeft dan ook niet gesteld dat, laat staan voldoende toegelicht hoe het hulpverzoek de gebrekkige inventiviteit van het octrooi zou kunnen herstellen. Mede gelet op het feit dat, zoals gedaagden terecht hebben opgemerkt, in kort geding maar een beperkte mogelijkheid bestaat om de geldigheid van een octrooi te onderzoeken, brengt dat mee dat de geldigheid van het hulpverzoek in deze procedure buiten beschouwing zal blijven.
proceskosten
5.26.
Op grond van het voorgaande moet worden geconcludeerd dat de vorderingen van Rhodia moeten worden afgewezen.
5.27.
Rhodia zal als de in het ongelijk gestelde partij worden veroordeeld in de proceskosten als bedoeld in artikel 1019h Rv. De kosten aan de zijde van Wanglong zullen overeenkomstig de onbestreden opgave van Wanglong worden begroot op € 161.428,75. Van de kostenopgave van Jiaxing zal USD 100.000,- worden afgetrokken. Rhodia heeft terecht en onbestreden aangevoerd dat dat deel van de kostenopgave niet is gespecificeerd, zodat de redelijkheid en evenredigheid ervan niet te beoordelen is. De kosten van Jiaxing zullen daarom worden begroot op € 298.108,51 (€ 378.134,11 − {USD 100.000,- × 0,8002560}).
5.28.
De proceskostenveroordeling zal niet uitvoerbaar bij voorraad worden verklaard. Gedaagden hebben dat namelijk niet gevorderd en er bestaat geen aanleiding voor een ambtshalve toewijzing, mede gelet op het feit dat Rhodia uitdrukkelijk bezwaar heeft gemaakt tegen een uitvoerbaar-bij-voorraadverklaring.
6. De beslissing
De rechtbank
6.1.
wijst de vorderingen af,
6.2.
veroordeelt Rhodia in de proceskosten, aan de zijde van Jiaxing tot op heden begroot op € 298.108,51 en aan de zijde van Wanglong tot op heden begroot op € 161.428,75.
Dit vonnis is gewezen door mr. P.H. Blok en in het openbaar uitgesproken op 21 november 2014.