Rb. Den Haag, 18-07-2018, nr. C/09/537395 / HA ZA 17-848
ECLI:NL:RBDHA:2018:8777
- Instantie
Rechtbank Den Haag
- Datum
18-07-2018
- Zaaknummer
C/09/537395 / HA ZA 17-848
- Vakgebied(en)
Intellectuele-eigendomsrecht (V)
- Brondocumenten en formele relaties
ECLI:NL:RBDHA:2018:8777, Uitspraak, Rechtbank Den Haag, 18‑07‑2018; (Bodemzaak)
- Vindplaatsen
Uitspraak 18‑07‑2018
Inhoudsindicatie
Octrooiinbreukzaak Nikon/ASML. Zaak 1 van 11. Geen inbreuk omdat octrooi nietig is (niet nieuw). In reconventie gevorderde algemene handhavingsverbod afgewezen; geen ‘de facto’ FRAND, geen strijd met redelijkheid en billijkheid of misbruik van machtspositie.
Partij(en)
vonnis
RECHTBANK DEN HAAG
Team handel
zaaknummer / rolnummer: C/09/537395 / HA ZA 17-848
Vonnis van 18 juli 2018 – afschrift met toepassing van artikel 29 lid 4 Rv
in de zaak van
de rechtspersoon naar buitenlands recht
NIKON CORPORATION,
gevestigd te Tokyo, Japan,
eiseres in conventie,
verweerster in het bevoegdheidsincident,
verweerster in reconventie,
procesadvocaat mr. L. Oosting te Amsterdam,
tegen
1. de naamloze vennootschap
ASML HOLDING N.V.,
2. de besloten vennootschap
ASML NETHERLANDS B.V.,
3. de besloten vennootschap
ASML SYSTEMS B.V.,
alle gevestigd te Veldhoven,
gedaagden in conventie,
eiseressen in het bevoegdheidsincident,
eiseressen in reconventie,
procesadvocaat mr. J.A. Dullaart te Naaldwijk.
Partijen zullen hierna Nikon en ASML genoemd worden. Voor Nikon is de zaak inhoudelijk behandeld door haar procesadvocaat en door mrs. R.M. van der Velden, R.M. Kleemans, W. Knibbeler en mr. ir. Laddé, allen advocaat te Amsterdam, bijgestaan door de octrooigemachtigden mr. drs. A.J.W. Hooiveld en ir. M.H. Luten. Voor ASML is de zaak behandeld door mrs. W.A. Hoyng, F.W.E. Eijsvogels, R. Grijpink, L.E. Dijkman en mr. ir. T.M. Blomme, allen advocaat te Amsterdam, bijgestaan door de octrooigemachtigden D. Owen en M. de Baat.
1. De procedure
1.1.
Het verloop van de procedure blijkt uit:
- -
de beschikking van de voorzieningenrechter van deze rechtbank van 26 april 2017 waarbij Nikon verlof is verleend ASML te dagvaarden in de versnelde bodemprocedure in octrooizaken (hierna: VRO-procedure);
- -
de dagvaarding van 10 mei 2017;
- -
de akte overlegging producties namens Nikon met producties EP1 t/m EP411.;
- -
de conclusie van antwoord in conventie, tevens conclusie van eis in reconventie, tevens incidentele conclusie houdende exceptie van onbevoegdheid met producties GP1 t/m GP51;
- -
de conclusie van antwoord in het bevoegdheidsincident;
- -
de conclusie van antwoord in reconventie met producties EP42 t/m EP71;
- -
de akte overlegging aanvullende producties namens Nikon van 17 januari 2018 met producties EP72 t/m 80;
- -
de akte houdende overlegging aanvullende producties namens ASML van 17 januari 2018 met producties GP52 t/m GP64;
- -
de akte overlegging reactieve producties namens Nikon van 16 februari 2018 met producties EP81 t/m EP99;
- -
de akte houdende overlegging reactieve producties namens ASML van 16 februari 2018 met producties GP65 t/m GP73;
- -
de ter zitting van 16 maart 2018 door partijen gehanteerde pleitnotities, met dien verstande dat de voetnoten (voor zover die meer omvatten dat een enkele verwijzing naar een vindplaats) en paragrafen 52, 53, 55en 87 t/m 99 van de pleitnota namens ASML zijn doorgehaald. Deze delen zijn niet gepleit.
1.2.
Naar aanleiding van een bezwaar van Nikon heeft de rechtbank ter zitting beslist dat een voor het eerst bij pleidooi gevoerde inventiviteitsaanval (paragrafen 87 t/m 99 van de pleitnota van de zijde van ASML) buiten beschouwing wordt gelaten wegens strijd met de goede procesorde in het bijzonder in het kader van de concentratie van weren in het versnelde VRO-procedure, waar het pleidooi het sluitstuk van de behandeling vormt.
De bezwaren van Nikon tegen – kort gezegd – het beroep van ASML op tegenstrijdigheden van de in deze procedure als EP81 ingebrachte verklaring van dr. Mack met een niet in het geding gebrachte verklaring van Nikons deskundige dr. Mack in een eerdere USPTO procedure, door te citeren uit laatstgenoemde verklaring (pleitnota ASML paragrafen 71, 72, 78 en 79), worden gepasseerd. Nikon heeft EP 81 immers eerst bij reactieve producties overgelegd zodat ASML de betreffende verklaring uit 2014 niet meer in het geding kon brengen.
1.3.
Een deel van de informatie die partijen hebben overgelegd en behandeld betreft bedrijfsvertrouwelijke informatie. Het deel van de pleidooi-zitting dat daarop betrekking had, heeft, op verzoek van partijen, met gesloten deuren plaats gevonden (art. 27 lid 1 Rv2.). Gedeelten van dit vonnis die op de vertrouwelijke informatie betrekking hebben, zijn met toepassing van artikel 29 lid 4 Rv weggelaten in aan derden verstrekte afschriften van het vonnis. Die gedeelten zijn in dit vonnis geplaatst tussen rechte haken en weergegeven in rood.
1.4.
Vervolgens is vonnis nader bepaald op heden.
2. De feiten
2.1.
Nikon is de moedermaatschappij van de Nikon groep. Naast camera's, microscopen, brillenglazen en optische meetapparatuur, ontwikkelt, produceert en verkoopt Nikon (foto)lithografiemachines die gebruikt worden voor de productie van (computer)chips.
2.2.
ASML maakt onderdeel uit van de ASML groep. ASML is de grootste fabrikant ter wereld van lithografiemachines voor de fabricage van (computer)chips. Haar enige concurrent op de markt van (hierna te bespreken) immersie-lithografiemachines is Nikon.
2.3.
Nikon is houdster van Europees octrooi 1 652 003 B1 (hierna: het octrooi of EP 003) met gelding in onder meer Nederland voor: ‘Wafer table for Immersion Lithography’. Het octrooi is verleend op 7 januari 2015 op een aanvrage daartoe van 2 juni 2004, onder inroeping van prioriteit van octrooiaanvrage US20030485868P van 8 juni 2003. Tegen (de verlening van) EP 003 is geen oppositie ingesteld.
2.4.
EP 003 telt 22 conclusies, voortbrengselconclusies 1 t/m 11 en werkwijze-conclusies 12 t/m 22. In de oorspronkelijke Engelse taal luiden de conclusies als volgt:
1. An immersion lithography exposure apparatus comprising:
a lens (684);
a table assembly (602), the table assembly having a surface (614), the table assembly being arranged to support at least a substrate, the surface of the table assembly having an opening to accommodate the substrate, a surface of the supported substrate being at substantially a same height as the surface of the table assembly; and
a sensor (650) having a surface, the surface of the sensor being at substantially a same height as the surface of the table assembly,
wherein the apparatus is arranged to maintain locally a liquid between the lens and the surface of the table assembly, between the lens and the surface of the substrate, and/or between the lens and the surface of the sensor.
2.The immersion lithography exposure apparatus of claim 1, wherein the apparatus is arranged to permit the sensor to be viewed through the lens with the liquid between the lens and the sensor.
3.The immersion lithography exposure apparatus of claim 1 or 2, further comprising:
a fiducial mark (650) having a surface, the surface of the fiducial mark being at substantially a same height as the surface of the table assembly, the apparatus being arranged to maintain a liquid between the lens and the surface of the table assembly, between the lens and the surface of the substrate, between the lens and the surface of the sensor, and/or between the lens and the surface of the fiducial mark.
4.The immersion lithography exposure apparatus of any one of claims 1 to 3, wherein the table assembly is a wafer table assembly and the substrate is a wafer.
5.The immersion lithography exposure apparatus of claim 4, wherein an overall top surface of the wafer table assembly which includes the surface of the wafer, the surface of the wafer table assembly, and the surface of the sensor is substantially planar.
6.The immersion lithography exposure apparatus of claim 4 wherein the wafer table assembly defines a plurality of openings, and a first opening of the plurality of openings is arranged to substantially support the wafer and a second opening of the plurality of
openings is arranged to substantially support the sensor.
7. The immersion lithography exposure apparatus of any one of claims 1 to 6, wherein the sensor is at least one of an aerial image sensor, a dose sensor, and a dose uniformity sensor.
8. The immersion lithography exposure apparatus of any one of claims 1 to 7, wherein the table assembly is arranged to support a substrate holder, the substrate holder being arranged to hold the substrate such that the top substrate surface is at substantially the same height as the surface of the table assembly.
9.The immersion lithography exposure apparatus of any one of claims 1 to 8, further including:
a retaining ring, the retaining ring being arranged to enable a liquid to be substantially held between a first surface of the lens and an overall top surface of the table assembly, wherein the overall top surface of the table assembly includes the top surface of the substrate, the top surface of the table assembly, and the top surface of the at least one sensor.
10.The immersion lithography exposure apparatus of any one of claims 1 to 9, wherein
a part of the surface of the table assembly is arranged between the surface of the sensor and the surface of the supported substrate.
11. The immersion lithography exposure apparatus of any one of claims 1 to 10, wherein
each of the surface of the table assembly, the surface of the sensor, and the surface of the supported substrate is capable of contacting with the liquid locally maintained below the lens by moving the table assembly.
12. An immersion lithography exposure method comprising:
providing a lens (684), a table assembly (604) and a sensor (650), a surface of the sensor being at substantially a same height as a surface of the table assembly; supporting a substrate by use of the table assembly, the surface of the table assembly having an opening to accommodate the substrate, a surface of the supported substrate being at substantially a same height as the surface of the table assembly; and
exposing the substrate via a liquid, the liquid being maintained locally between the lens and the surface of the table assembly, between the lens and the surface of the substrate, and/or between the lens and the surface of the sensor.
13.The immersion lithography exposure method of claim 12, wherein the lens and sensor are so provided as to permit the sensor to be viewed through the lens with the liquid between the lens and the sensor.
14.The immersion lithography exposure method of claim 12 or 13, wherein the method further comprises the step of providing a fiducial mark (650) having a surface, the surface of the fiducial mark being at substantially a same height as the surface of the table assembly; and a step of maintaining a liquid between the lens and the surface of the table assembly, between the lens and the surface of the substrate, between the lens and the surface of the sensor, and/or between the lens and the surface of the fiducial mark.
15.The immersion lithography exposure method of any one of claims 12 to 14, wherein the table assembly is a wafer table assembly and the substrate is a wafer.
16.The immersion lithography exposure method of claim 15, wherein an overall top surface of the wafer table assembly which includes the surface of the wafer, the surface of the wafer table assembly, and the surface of the sensor is substantially planar.
17.The immersion lithography exposure method of claim 16, wherein the wafer table assembly defines a plurality of openings, and a first opening of the plurality of openings substantially supports the wafer and a second opening of the plurality of openings substantially supports the sensor.
18The immersion lithography exposure method of any one of claims 12 to 17, wherein the sensor is at least one of an aerial image sensor, a dose sensor, and a dose uniformity sensor.
19.The immersion lithography exposure method of any one of claims 12 to 18, wherein the table assembly supports a substrate holder; and the substrate holder holds the substrate such that the top substrate surface is at substantially the same height as the surface of the table assembly.
20.The immersion lithography exposure method of any one of claims 12 to 19, further including a step of providing a retaining ring, and in which method the retaining ring enables a liquid to be substantially held between a first surface of the lens and an overall top surface of the table assembly, wherein the overall top surface of the table assembly includes the top surface of the substrate, the top surface of the table assembly, and the top surface of the at least one sensor.
21.The immersion lithography exposure method of any one of claims 12 to 20, wherein a part of the surface of the table assembly is arranged between the surface of the sensor and the surface of the supported substrate.
22.The immersion lithography exposure method of any one of claims 12 to 21, wherein each of the surface of the table assembly, the surface of the sensor, and the surface of the supported substrate is capable of contacting the liquid locally maintained below the lens by moving the table assembly.
2.5.
In de niet bestreden Nederlandse vertaling luiden de conclusies als volgt:
1. Onderdompelinglithografiebelichtingsinrichting, omvattende:
een lens (684);
een tafelsamenstel (602), welk tafelsamenstel een oppervlak (614) heeft, welk tafelsamenstel is ingericht voor het ondersteunen van ten minste een substraat, waarbij het oppervlak van het tafelsamenstel een opening heeft voor het accommoderen van het substraat, waarbij een oppervlak van het ondersteunde substraat zich op in hoofdzaak een zelfde hoogte als het oppervlak van het tafelsamenstel bevindt; en
een sensor (650) met een oppervlak, waarbij het oppervlak van de sensor zich op in hoofdzaak een zelfde hoogte als het oppervlak van het tafelsamenstel bevindt,
waarbij de inrichting is ingericht voor het lokaal tussen de lens en het oppervlak van het tafelsamenstel, tussen de lens en het oppervlak van het substraat, en/of tussen de lens en het oppervlak van de sensor handhaven van een vloeistof.
2. Onderdompelinglithografiebelichtingsinrichting volgens conclusie 1, waarbij de inrichting is ingericht voor het toestaan dat de sensor wordt gezien door de lens met de vloeistof tussen de lens en de sensor.
3. Onderdompelinglithografiebelichtingsinrichting volgens conclusie 1 of 2, verder omvattende:
een referentiemarkering (650) met een oppervlak, waarbij het oppervlak van de referentiemarkering zich op in hoofdzaak een zelfde hoogte als het oppervlak van tafelsamenstel bevindt, waarbij de inrichting is ingericht voor het handhaven van een vloeistof tussen de lens en het oppervlak van het tafelsamenstel, tussen de lens en het oppervlak van het substraat, tussen de lens en het oppervlak van de sensor, en/of tussen de lens en het oppervlak van de referentiemarkering.
4. Onderdompelinglithografiebelichtingsinrichting volgens een der conclusies 1 – 3, waarbij het tafelsamenstel een wafertafelsamenstel is en het substraat een wafer is.
5. Onderdompelinglithografiebelichtingsinrichting volgens conclusie 4, waarbij een totaal bovenoppervlak van het wafertafelsamenstel, dat het oppervlak van de wafer, het oppervlak van het wafertafelsamenstel en het oppervlak van de sensor omvat, in hoofdzaak vlak is.
6. Onderdompelinglithografiebelichtingsinrichting volgens conclusie 4, waarbij het wafertafelsamenstel een aantal openingen definieert, en waarbij een eerste opening van het aantal openingen is ingericht om de wafer in hoofdzaak te ondersteunen en een tweede opening van het aantal openingen is ingericht om de sensor in hoofdzaak te ondersteunen.
7. Onderdompelinglithografiebelichtingsinrichting volgens een der conclusies 1 – 6, waarbij de sensor ten minste één van een luchtbeeldsensor, een dosissensor, en een dosisuniformiteitsensor is.
8. Onderdompelinglithografiebelichtingsinrichting volgens een der conclusies 1 – 7, waarbij het tafelsamenstel is ingericht voor het ondersteunen van een substraathouder, waarbij de substraathouder is ingericht voor het zodanig vasthouden van het substraat, dat het bovenste substraatoppervlak zich op in hoofdzaak een zelfde hoogte als het oppervlak van het tafelsamenstel bevindt.
9. Onderdompelinglithografiebelichtingsinrichting volgens een der conclusies 1 – 8, verder omvattende:
een houdring, waarbij de houdring is ingericht om een vloeistof in staat te stellen om in hoofdzaak tussen een eerste oppervlak van de lens en een totaal bovenoppervlak van het tafelsamenstel te worden gehouden, waarbij het totale bovenoppervlak van het tafelsamenstel het bovenoppervlak van het substraat, het bovenoppervlak van het tafelsamenstel, en het bovenoppervlak van de ten minste ene sensor omvat.
10. Onderdompelinglithografiebelichtingsinrichting volgens een der conclusies 1 – 9, waarbij een deel van het oppervlak van het tafelsamenstel is aangebracht tussen het oppervlak van de sensor en het oppervlak van het ondersteunde substraat.
11. Onderdompelinglithografiebelichtingsinrichting volgens een der conclusies 1 – 10, waarbij elk van het oppervlak van het tafelsamenstel, het oppervlak van de sensor en het oppervlak van het ondersteunde substraat in staat is om in contact te komen met de vloeistof, die lokaal wordt gehandhaafd onder de lens, door het verplaatsen van het tafelsamenstel.
12. Onderdompelinglithografiebelichtingswerkwijze, omvattende:
het verschaffen van een lens (684), een tafelsamenstel (604) en een sensor (650), waarbij een oppervlak van de sensor zich op in hoofdzaak een zelfde hoogte als het oppervlak van het tafelsamenstel bevindt;
het ondersteunen van een substraat door gebruik van het tafelsamenstel, waarbij het oppervlak van het tafelsamenstel een opening heeft voor het accommoderen van het substraat, waarbij een oppervlak van het ondersteunde substraat zich op in hoofdzaak een zelfde hoogte als het oppervlak van het tafelsamenstel bevindt; en het belichten van het substraat via een vloeistof, waarbij de vloeistof lokaal tussen de lens en het oppervlak van het tafelsamenstel, tussen de lens en het oppervlak van het substraat, en/of tussen de lens en het oppervlak van de sensor wordt gehandhaafd.
13. Onderdompelinglithografiebelichtingswerkwijze volgens conclusie 12, waarbij de lens en de sensor zodanig zijn verschaft om toe te staan dat de sensor door de lens met de vloeistof tussen de lens en de sensor wordt gezien.
14. Onderdompelinglithografiebelichtingswerkwijze volgens conclusie 12 of 13, waarbij de werkwijze verder omvat de stap van het verschaffen van een referentiemarkering (650) met een oppervlak, waarbij het oppervlak van de referentiemarkering zich op in hoofdzaak een zelfde hoogte als het oppervlak van het tafelsamenstel bevindt; en een stap van het handhaven van een vloeistof tussen de lens en het oppervlak van het tafelsamenstel, tussen de lens en het oppervlak van het substraat, tussen de lens en het oppervlak van de sensor, en/of tussen de lens en het oppervlak van de referentiemarkering.
15. Onderdompelinglithografiebelichtingswerkwijze volgens een der conclusies 12 – 14, waarbij het tafelsamenstel een wafertafelsamenstel is en het substraat een wafer is.
16. Onderdompelinglithografiebelichtingswerkwijze volgens conclusie 15, waarbij een totaal bovenoppervlak van het wafertafelsamenstel, dat het oppervlak van de wafer, het oppervlak van het wafertafelsamenstel en het oppervlak van de sensor omvat, in hoofdzaak vlak is.
17. Onderdompelinglithografiebelichtingswerkwijze conclusie 16, waarbij het wafertafelsamenstel een aantal openingen definieert, en waarbij een eerste opening van het aantal openingen de wafer in hoofdzaak ondersteunt en een tweede opening van het aantal openingen de sensor in hoofdzaak ondersteunt.
18. Onderdompelinglithografiebelichtingswerkwijze volgens een der conclusies 12 – 17, waarbij de sensor ten minste één van een luchtbeeldsensor, een dosissensor, en een
dosisuniformiteitsensor is.
19. Onderdompelinglithografiebelichtingswerkwijze volgens een der conclusies 12 – 18, waarbij het tafelsamenstel een substraathouder ondersteunt, en waarbij de substraathouder het substraat zodanig vasthoudt, dat het bovenste substraatoppervlak zich op in hoofdzaak een zelfde hoogte als het oppervlak van het tafelsamenstel bevindt.
20. Onderdompelinglithografiebelichtingswerkwijze volgens een der conclusies 12 – 19, verder omvattende een stap van het verschaffen van een houdring, en in welke werkwijze de houdring een vloeistof in staat stelt om in hoofdzaak tussen een eerste oppervlak van de lens en een totaal bovenoppervlak van het tafelsamenstel te worden gehouden, waarbij het totale bovenoppervlak van het tafelsamenstel het bovenoppervlak van het substraat, het bovenoppervlak van het tafelsamenstel, en het bovenoppervlak van de ten minste ene sensor omvat.
21. Onderdompelinglithografiebelichtingswerkwijze volgens een der conclusies 12 – 20, waarbij een deel van het oppervlak van het tafelsamenstel is aangebracht tussen het oppervlak van de sensor en het oppervlak van het ondersteunde substraat.
22. Onderdompelinglithografiebelichtingswerkwijze volgens een der conclusies 12 – 21, waarbij elk van het oppervlak van het tafelsamenstel, het oppervlak van de sensor en het oppervlak van het ondersteunde substraat in staat is om in contact te komen met de vloeistof, die lokaal wordt gehandhaafd onder de lens, door het verplaatsen van het tafelsamenstel.
2.6.
In de beschrijving van EP 003 is onder meer het volgende opgenomen:
“1. Field of Invention
[0002] The present invention relates generally to semiconductor processing equipment. More particularly, the present invention relates to a method and an apparatus for enabling liquid in an immersion lithography system to effectively be contained between a surface of a lens and a plane that is moved relative to the lens.
2. Description of the Related Art
[0004] In an immersion lithography system, a liquid is provided between a lens and the surface of a wafer in order to improve the imaging performance of the lens. The use of liquid allows a numerical aperture associated with the lens, i.e., an effective numerical aperture of the lens, to essentially be increased substantially without altering characteristics of the lens, since a liquid such as water generally has a refractive index that is greater than one. In general, a higher numerical aperture enables a sharper image to be formed on the wafer. As will be appreciated by those skilled in the art, a high refractive index liquid allows for a high numerical aperture of the lens since an effective numerical aperture of a lens system of an immersion lithography system is generally defined to be approximately equal to the sine of an angle of diffraction of light which passes through a lens and reflects off a surface multiplied by the refractive index of the liquid. Since the refractive index of the liquid is greater than one, the use of liquid allows the effective numerical aperture of the lens to be increased, thereby enabling the resolution associated with the lens to essentially be improved.
[0005] Within most conventional lithography systems, air is present between a lens and a surface which passes under the lens, e.g., the surface of a wafer. In such systems, the numerical aperture associated with the lens is often in the range of approximately 0.8 to 0.9. Increasing the numerical aperture of a lens to achieve an improved resolution is generally impractical, as the diameter of a lens generally must be increased, which adds significant difficulty to a lens manufacturing process. In addition, the numerical aperture of a lens in air is theoretically limited to one, and, in practice, is limited to being somewhat less than one. Hence, immersion lithography systems enable the effective numerical aperture of a lens to be increased substantially beyond what is possible with a lens in air.
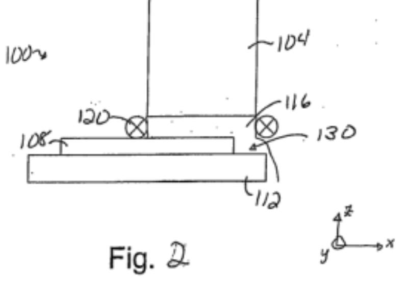
[0006] Fig. 1 is a diagrammatic cross-sectional representation of a portion of an immersion lithography apparatus. An immersion lithography apparatus 100 includes a lens assembly 104 which is positioned over a wafer table 112 which supports a wafer 108. Wafer table 112 is arranged to be scanned or otherwise moved under lens assembly 104. A liquid 116, which may be water in a typical application which uses approximately 193 nanometers (nm) of radiation, is present in a gap between lens assembly 104 and wafer 108. In order to effectively prevent liquid 116 from leaking out from under lens assembly 104, i.e., to effectively laterally contain liquid 116 between lens assembly 104 and wafer 108, a retaining ring 120 may be positioned such that retaining ring 120 enables liquid 116 to remain between lens assembly 104 and wafer 108, and within an area defined by retaining
ring 120.
[0007] While retaining ring 120 is generally effective in containing liquid 116 when lens assembly 104 is positioned such that a small gap between retaining ring 120 and a surface of wafer 108 is maintained, for a situation in which at least a part of retaining ring 120 is above wafer 108, liquid 116 may leak out from between lens assembly 104 and wafer 108. By way of example, when an edge of wafer 108 is to be patterned, lens assembly 104 may be substantially centered over the edge such that a portion of retaining ring 120 fails to maintain the small gap under the bottom surface of retaining ring 120, and liquid 116 is allowed to leak out from between lens assembly 104 and wafer 108. As shown in Fig. 2, when lens assembly 104 is positioned such that at least part of a bottom surface of retaining ring 120 is not in contact with wafer 108, liquid 116 may not be contained in an area defined by retaining ring 120 between lens assembly 104 and wafer 108.
[0008] In an immersion lithography apparatus, a wafer table may support sensors and other components, e.g., a reference flat that is used to calibrate automatic focusing operations. Such sensors and other components generally may be positioned beneath a lens at some point. That is, sensors and other components associated with a wafer table may be occasionally positioned beneath a lens during the course of operating the lens and the wafer table. While the use of a retaining ring may prevent liquid from leaking out of a gap between a lens assembly and the top surface of the wafer, liquid may leak out from between the lens assembly and top surfaces of sensors and other components when the lens assembly is positioned over the sensors or other components.
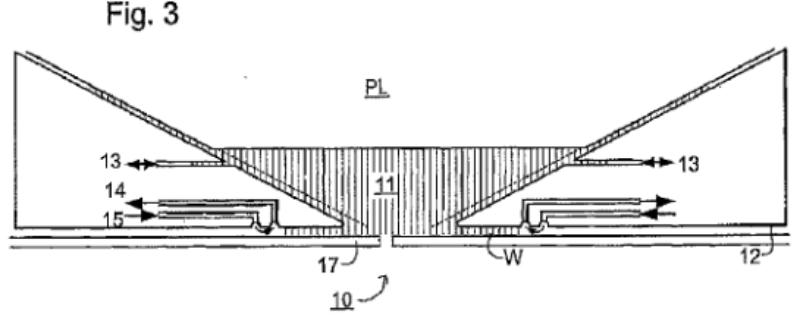
[0009] Fig. 3 is a block diagram representation of a wafer table which supports a sensor and a wafer holder that holds a wafer. A wafer table 312 supports a wafer holder 310 which is arranged to hold a wafer (not shown), a sensor 350, and an interferometer mirror 352. (…)
[0010] Therefore, what is needed is a method and an apparatus for allowing liquid to be maintained in a relatively small gap defined between a surface of a lens and a surface of substantially any sensors or components which are supported by a wafer table. That is, what is desired is a system which is suitable for preventing liquid which is positioned between a lens and substantially any surface on a wafer table which is moved under the lens from leaking out from between the lens and the surface.
(…)
[0012] EP 1 429 188 A2 and W02004/090577 A2 each relate to immersion lithographic apparatus. These latter documents, being published before [bedoeld zal zijn ‘after’, rechtbank] the earliest claimed priority date for the present disclosure, are not relevant for the determination of obviousness of the claimed subject-matter.
SUMMARY OF THE INVENTION
[0013] The present invention relates an immersion lithography exposure apparatus. According to one aspect of the present invention, there is provided an immersion lithography exposure apparatus as recited in claim 1 below. Dependent claims therefrom are directed to particular embodiments thereof.
[0014] According to another aspect of the present invention, there is provided an immersion lithography exposure method as recited in claim 12 below. Dependent claims therefrom are directed to particular embodiments thereof.
[0015] In one embodiment, the sensor may be at least one of an aerial image sensor, a dose sensor, and a dose uniformity sensor. In another embodiment, the wafer table assembly is arranged to support a wafer holder that holds the wafer such that the top surface of the wafer is at substantially the same height as the top surface of the wafer table assembly.
[0016] A wafer table arrangement which is configured to enable surfaces which are to viewed through a lens to form a relatively planar overall surface of substantially the same height facilitates an immersion lithography process. When substantially all elements carried on a wafer table have top surfaces that are substantially level with the top surface of the wafer table, and any gaps between the sides of the components and the sides of openings in the wafer table are relatively small, the overall top surface of a wafer table arrangement may traverse under a lens while a layer or a film of liquid is effectively maintained between a surface of the lens and the overall top surface. Hence, an immersion lithography process may be performed substantially without the integrity of the layer of liquid between the surface of the lens and the overall top surface of the wafer table arrangement being compromised by the loss of liquid from the layer of liquid between the surface of the lens and the overall top surface of the wafer table arrangement.
[0017] In some embodiments of the present invention, the apparatus includes a lens which has a first surface and an associated effective numerical aperture. The apparatus also includes a liquid that is suitable for enhancing the effective numerical aperture of the lens, and a table arrangement. The table arrangement has a substantially flat top surface that opposes the first surface, and the liquid is arranged substantially between the substantially flat top surface and the first surface. The substantially flat top surface includes a top surface of an object to be scanned and a top surface of at least one sensor.
[0018] These and other advantages of the present invention will become apparent upon reading the following detailed descriptions and studying the various figures of the drawings.
2.7.
Onder meer de volgende tekeningen maken deel uit van het octrooischrift van EP 003:

-




2.8.
Octrooiaanvrage EP 1 429 188 A2 (hierna: EPA2 188) voor een “Lithographic apparatus and device manufacturing method”, ingediend door ASML op 10 november 2003 (met inroeping van de prioriteit van EP 2247822.3 met indieningsdatum 12 november 2002 en EP 3253636.9 met indieningsdatum 9 juni 2003) is gepubliceerd op 16 juni 2004 en vormt derhalve fictieve stand van de techniek. In deze aanvrage is onder meer het volgende opgenomen:
[0004] It is an object of the present invention to provide a lithographic projection apparatus in which liquid loss from the supply system is minimized during exposure of an edge portion of the substrate.
[0005] This and other objects are achieved according to the invention in a lithographic apparatus as specified in the opening paragraph, characterized in that said substrate table further comprises an edge seal member for at least partly surrounding an edge of the object and for providing a primary surface facing said projection system substantially co-planar with a primary surface of the object, and in that the liquid supply system provides liquid to a localised area of said object and/or said edge seal member and/or substrate.
[0006] If the object is the substrate, the edge seal member is for surrounding a position on the substrate table where, in use, the substrate is to be placed e.g. surrounding the chuck or pimple table on which the substrate is held. In this way the substrate can be positioned closely adjacent to the edge of the edge seal member such that as an edge of the substrate moves under the projection lens there is no sudden loss of liquid from the space because there is no large gap for the liquid to flow through. The edge seal member may be an integral part of the substrate table or may be moveably mounted relative to the remainder of the substrate table. In the latter case, it can be arranged such that the gap between the edge seal member and the object can be varied and/or the height of the primary surface of the edge seal member can be varied to accommodate variations in object height or thickness i.e. to ensure that the primary sur-face of the edge seal member is substantially coplanar with the primary surface of the object. The object may also be a sensor e.g. a projection beam sensor.
(…)
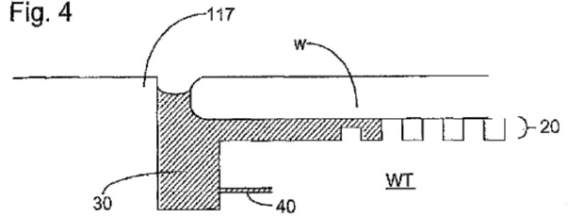
[0038] A problem with the liquid supply arrangement illustrated in Figures 2, 22 and 23 occurs when imaging edge portions of the substrate W. This is because when the substrate W edge is positioned underneath the projection system PL one of the constraining walls (the substrate W) of the liquid supply system (the bottom one as illustrated) is removed thereby allowing immersion liquid to escape. However, the present invention can be used with any other type of liquid supply system.
[0039] Figure 3 illustrates how the edge portion of a substrate W3.may be imaged without catastrophic loss of immersion liquid from the liquid supply system. This is achieved by the provision of a cover plate or edge seal member 17 on the substrate table WT. The edge seal member 17 has an upper (as illustrated) primary surface substantially co-planar with the upper primary surface of substrate W and is closely adjacent to the edge of the substrate W so that there is no sudden loss of liquid as the edge of the substrate moves under the projection lens PL. Some liquid loss into the gap may still occur. Of course there are arrangements in which the whole construction illustrated in Figures 2 and 3 is positioned upside down so that it is the lower surfaces of the edge seal member and the substrate which face the projection system and which are substantially co-planar. The surfaces are therefore be referred to as the primary surfaces which face the projection system PL rather than upper surfaces. References herein to upper surfaces and lower surfaces may be also appropriately considered as references to lower and upper surfaces respectively in an upside-down configuration.
[0040] With this system, the liquid supply system (e. g. reservoir 10) can be positioned over the edge of the substrate W and can even be moved completely off the substrate W. This enables edge portions of the substrate W to be imaged.
[0041] The edge seal member 17 may form an integral part of the substrate table WT (as illustrated in Figure 4 as edge seal member 117) or may be temporarily mounted relative to the remainder of the substrate table by the use of, for example, vacuum suction or through use of electromagnetic forces. Preferably the edge seal member 17 is moveable relative to the remainder of the substrate table (as illustrated in Figures 5 and 6) such that the height above the substrate table WT of the primary surface of the edge seal member 17 may be adjusted such that it is substantially co-planar with the primary surface of the substrate W. In this way the same edge seal member 17 may be used for different thicknesses of substrate W (…)
(…)
[0106] All of the above described embodiments may be used to seal around the edge of the substrate W. Other objects on the substrate table WT may also need to be sealed in a similar way, such as sensors including sensors and/or marks which are illuminated with the projection beam through the liquid such as the transmission image sensors, integrated lens interferometer and scanner (wavefront sensor) and spot sensor plates. Such objects may also include sensors and/or marks which are illuminated with non-projection radiation beams such as levelling and alignment sensors and/or marks. (…)






2.9.
Ter beëindiging van wereldwijde octrooiprocedures hebben Nikon en ASML op 8 december 2004 na intensieve onderhandelingssessies een aantal overeenkomsten gesloten, waaronder een overeenkomst waarbij zij elkaar over en weer met ingang van 12 november 2004 wereldwijd licenties verleenden op alle lithografieoctrooien. Deze ‘cross-license-agreement’ wordt hierna in navolging van partijen aangeduid als CLA.
Carl Zeiss SMT AG (hierna: Zeiss) (en/of daaraan gelieerde ondernemingen) levert aan ASML de voor de kwaliteit van lithografiemachines zeer belangrijke verlichtingssystemen en optische projectiesystemen. Zeiss was ook betrokken bij de hiervoor genoemde octrooiprocedures en de (onderhandelingen over de) beëindiging daarvan. Tussen Nikon en Zeiss is tegelijk met de CLA een vergelijkbare kruislicentieovereenkomst gesloten (ter onderscheiding van de CLA zal deze overeenkomst worden aangeduid als Zeiss CLA).
2.9.1.
Op grond van de CLA verkreeg ASML een in tijd onbegrensde licentie voor zogenaamde Class A octrooien (octrooien met een prioriteits- of aanvraagdatum voor 1 januari 2003). Voor jongere Class B octrooien (aangevraagd op of na 1 januari 2003 en verleend gedurende de licentieperiode) eindigde de licentie op 31 december 2009. Na die tijd gold gedurende vijf jaar, dat wil zeggen van 1 januari 2010 tot en met 31 december 2014, een overgangsperiode (‘Transition Period’). Partijen zegden toe om gedurende die periode geen procedures op basis van Class B en Class C octrooien jegens elkaar aanhangig te maken. Class C octrooien zijn octrooien die, kort gezegd, zijn verleend tijdens de Transition Period en die zijn aangevraagd na 31 december 2002.
2.9.2.
Na afloop van die periode hebben partijen het recht op schadevergoeding ten aanzien van het gebruik van Class B en C octrooien gedurende de Transition Period. Die vergoeding is beperkt tot een redelijke royalty vergoeding die is gemaximeerd op een percentage van de netto verkoopprijs van de ‘Licensed Products’ (art. 2.9.2 van de CLA):
“2.9.2 Limitation of Remedies As To Transition Period. Nothing in Section 2.7 or in this Section 2.9 shall constitute any restriction or limitation on the Non-Asserting Party’s right and ability (a) to Sue the Defendant Party at any time after the Transition Period, or (b) to seek, after the Transition Period, any remedies with respect to any activities occurring during the Transition Period (including, without limitation, Lithography Activities), provided, however, that with respect to Lithography Activities occurring during the Transition Period, and only to the extent such Lithography Activities occur during the Transition Period, such remedies shall be limited to damages in the form of a reasonable royalty not to exceed *** percent (***%) of the Net Selling Price of the applicable Licensed Products or Optical Components.”
2.9.3.
In de CLA is voorts het volgende bepaald:
10.1
Limitation. Nothing contained in this Agreement shall be construed as:
(…)
10.1.3
a warranty or representation that any acts licensed hereunder will be free from infringement or other violation of Patents, copyrights, mask work rights, trade secrets or other intellectual property rights, other than infringement of those Licensed Patents under which licenses, rights and immunities have been expressly granted hereunder;”
Op de CLA (en gerelateerde overeenkomsten) hebben partijen het recht van de staat New York van toepassing verklaard (art. 10.3 CLA).
2.9.4.
Op grond van de CLA hadden partijen een optie om vijf Class B en C octrooifamilies met terugwerkende kracht te converteren naar Class A octrooien. Dit conversierecht kon uiterlijk op 20 juni 2015 worden uitgeoefend. Voor Zeiss gold een zelfde regeling.
2.10.
Op 1 mei 2015 hebben ASML en Zeiss een arbitrage procedure tegen Nikon aanhangig gemaakt (in art. 10.4 van zowel de CLA als de Zeiss CLA is een arbitraal beding opgenomen), onder meer stellende dat Nikon, in strijd met de in de CLA’s geïmpliceerde ‘covenant of good faith’, Class B en C octrooien had aangevraagd die ‘patentably indistinct’ zijn ten opzichte van materie van de gelicentieerde Class A octrooien van Nikon.
2.11.
Het instellen van de arbitrage had als effect dat de conversiedeadline werd verschoven tot na de eindbeslissing in de arbitrage. Die beslissing is op 7 oktober 2016 beschikbaar gekomen. Daarbij is, voor zover hier van belang, geoordeeld dat geen sprake was van handelen in strijd met ‘covenant of good faith’.
Nikon, ASML en Zeiss hebben het conversierecht op 31 oktober 2016 uitgeoefend. EP 003 is daarbij niet geconverteerd.
2.12.
De onderhandelingen tussen partijen over een nieuwe kruislicentieovereenkomst, gedeeltelijk met een mediator, hebben (vooralsnog) niet geresulteerd in een nieuwe licentieovereenkomst. Met name de duur van de licentie en de hoogte van een door ASML aan Nikon te betalen licentievergoeding vormen daarbij breekpunten.
2.13.
In haar, als beursgenoteerde vennootschap openbare, jaarverslagen heeft ASML de mogelijke gevolgen van het verlopen van de CLA met Nikon verschillende malen genoemd. In het jaarverslag van 2010 is hierover opgenomen:
“However, beginning on January 1, 2015, the parties may bring suit for infringement of patents subject to the Nikon Cross-License Agreement, including any infringement that occurred during the Cross-License Transition Period. Damages related to claims for patent infringement occurring during the Cross-License Transition Period are limited to three percent of the net sales price of products utilizing patents that are valid and enforceable.
In het jaarverslag van 2014 staat hierover onder meer het volgende:
“Under the terms of the Nikon Cross-License Agreement, beginning on January 1, 2015, the parties may bring suit for infringement of certain patents subject to the agreement, including any infringement that occurred from January 1, 2010 through December 31, 2014 (the "Cross-License Transition Period"). Damages resulting from claims for patent infringement occurring during the Cross-License Transition Period are limited to three percent of the net sales price of applicable licensed products or optical components.
Accordingly, from January 1, 2015, both Nikon and we are no longer prohibited under the agreement from bringing claims against each other on the basis of infringement of certain patents subject to the Nikon Cross-License Agreement.
If Nikon files suit against us alleging patent infringement, we may incur substantial legal fees and expenses, and we may not prevail.
In het tussentijdse jaarverslag van 2017 (het meest recente verslag dat in het geding is gebracht) zijn de verwikkelingen met Nikon (onder ‘Risks’) als volgt verwoord:
"Defending against intellectual property claims brought by others could harm our business
(…)
From late 2001 through 2004, ASML was a party to a series of civil litigation and administrative proceedings in which Nikon alleged ASML's infringement of Nikon patents generally relating to lithography. ASML in turn filed claims against Nikon. Pursuant to agreements executed on December 10, 2004, ASML and Nikon agreed to settle all pending worldwide patent litigation between the companies. The settlement included an exchange of releases, a patent cross-license agreement related to lithography equipment used to manufacture semiconductor devices, and payments to Nikon by ASML. Under the Nikon Cross-License Agreement, ASML and Nikon granted to each other a non-exclusive license for use in the manufacture, sale, and use of lithography equipment, under their respective patents. The license granted relating to many of the patents of each party was perpetual, but the license relating to certain other of the patents expired at the end of 2009. Each party had the right to select a limited number of the other party's patents where the license for such patents expired in 2009 to be subject to a permanent covenant not to sue in respect of patent infringement claims. In October 2016, the Patent Selection was completed.
In addition, the Nikon Cross-License Agreement provided that following the termination of some of the licenses granted in the Nikon Cross-License Agreement on December 31, 2009, there would be a standstill period during which the parties agreed not to bring patent infringement suits against each other. This standstill period ran from January 1, 2010 through December 31, 2014. Damages resulting from claims for patent infringement occurring during the Cross-License Transition Period are limited to three percent of the net sales price of applicable licensed products including optical components.
Accordingly, from January 1, 2015, both Nikon and we are no longer prohibited under the agreement from bringing claims against each other on the basis of infringement of patents subject to the Nikon Cross-License Agreement, other than perpetually licensed patents. In addition, as described above, the Patent Selection was completed in October 2016. Therefore, there is now a defined group of patents owned by each party for which the license granted to the other party has expired.
In April 2017, Nikon sued ASML in both the Netherlands and Japan, alleging that the manufacture, sale, and/or use by ASML of certain equipment infringes asserted Nikon patents, and requesting both damages and injunctive relief prohibiting the sale or manufacture of such equipment. Nikon also sued in Germany Carl Zeiss SMT, a supplier to ASML of components that ASML sells with or as part of certain lithography equipment. Nikon alleges that the manufacture, sale, and/or use of certain of these Carl Zeiss SMT components infringe asserted Nikon patents, and also seeks damages and an injunction prohibiting Carl Zeiss SMT from manufacturing or exporting certain components. Certain of these proceedings may result in court judgments during early 2018. Nikon has also initiated proceedings in United States District Court from the District of Arizona in which Nikon has requested that the court order ASML to provide certain information to Nikon.
In response to Nikon's actions, ASML, in some cases jointly with Carl Zeiss SMT and/or its affiliates, filed several lawsuits against Nikon both in Japan and in a number of venues in the United States, alleging patent infringement of certain patents owned by ASML and/or Carl Zeiss SMT and/or its affiliates.
We may incur substantial legal fees and expenses in connection with these lawsuits, and we may not prevail. Patent litigation is complex and may extend for a protracted period of time, giving rise to the potential for both substantial costs and diverting the attention of key management and technical personnel. Potential adverse outcomes from this or any other patent litigation may include, without limitation, payment of significant monetary damages, injunctive relief prohibiting our sale of products, and/or settlement involving significant costs to be paid by us, any of which may have a material adverse effect on our business, financial condition and/or results of operations. We are unable to predict at this time what this outcome might be, or whether any other patent suit, by Nikon or another third party, may arise."
2.14.
ASML en Zeiss hebben voor – naar eigen zeggen – defensieve doeleinden een octrooipositie verworven op het gebied van digitale camera’s. ASML en Zeiss zijn in Japan en de VS eind april 2017, vier dagen nadat Nikon in Nederland, Duitsland en Japan procedures tegen ASML en/of Zeiss had ingesteld, octrooiprocedures tegen Nikon begonnen waarbij zij zich onder meer op octrooien uit het zogenoemde camera-octrooiportfolio beroepen.
3. Het geschil
in conventie in het bevoegdheidsincident
3.1.
ASML vordert dat de rechtbank zich bij vonnis, uitvoerbaar bij voorraad, onbevoegd verklaart om kennis te nemen van de vorderingen van Nikon zowel in de hoofdzaak als in het incident tot het treffen van voorlopige voorzieningen4., voor zover deze vorderingen zijn gebaseerd op beweerdelijk onrechtmatig handelen dat zou bestaan uit het bevorderen en faciliteren van beweerdelijk inbreukmakende handelingen buiten Nederland, het deelnemen aan deze handelingen en het daar voordeel uit trekken; zulks met veroordeling van Nikon in de kosten van het incident op de voet van art. 1019h Rv.
3.2.
Nikon voert verweer strekkende tot afwijzing van de vordering, dan wel, voor zover ten aanzien van Nikons vordering (ii) in de hoofdzaak een oordeel over de geldigheid van buitenlandse octrooien noodzakelijk wordt geacht, tot aanhouding van de behandeling van uitsluitend dat deel van Nikons vordering (ii) in de hoofdzaak totdat op de geldigheid van één of meer van de buitenlandse octrooien is beslist, een en ander met veroordeling van ASML in de kosten van het incident in de zin van art. 1019h Rv.
in conventie in de hoofdzaak en in het incident tot het treffen van voorlopige voorzieningen
3.3.
Stellende dat ASML met alle versies van haar immersie-lithografiemachines van het type XT en NXT (in)direct, letterlijk dan wel door equivalentie, inbreuk maakt op alle conclusies van EP 003 met uitzondering van conclusies 7 en 18, vordert Nikon, samengevat, dat de rechtbank bij vonnis, voor zover mogelijk uitvoerbaar bij voorraad:
(i) ASML beveelt in Nederland te staken iedere (in)directe (betrokkenheid bij) inbreuk op EP 003,
(ii) ASML beveelt te staken ieder onrechtmatig handelen jegens Nikon, in het bijzonder door het (in)direct bevorderen, faciliteren van, deelnemen aan en/of profiteren [van] de inbreuk in Nederland of elders op EP 003 en
(iii) ASML veroordeelt alle door Nikon als gevolg van de inbreuk en/of onrechtmatig handelen geleden schade aan haar te vergoeden en/of de ten gevolge van de inbreuk en/of onrechtmatig handelen genoten winst (nader op te maken bij staat) af te dragen,
een en ander met nevenvorderingen (opgave, rectificatie) en op straffe van dwangsommen, met hoofdelijke veroordeling van ASML in de volledige proceskosten op de voet van art. 1019h Rv, te vermeerderen met wettelijke rente bij niet tijdige betaling.
Voorts vordert zij om bij wijze van voorlopige voorziening voor de duur van de procedure ASML de hiervoor bedoelde bevelen (i) en (ii) op te leggen, op straffe van dwangsommen.
3.4.
Aan haar vorderingen legt zij ten grondslag dat bij voornoemde immersie-lithografiemachines die ASML vervaardigt, in het verkeer brengt etc. de (boven)oppervlakken van de wafer, de wafertafel en van de sensor zich in hoofdzaak op een zelfde hoogte bevinden, en die machines ook voldoen aan de overige kenmerken van conclusie 1 (en de overige ingeroepen conclusies) van EP 003, zodat ASML daarop inbreuk maakt. Voor zover de machines niet in Nederland geassembleerd worden maar in het buitenland, bevordert en faciliteert ASML door het leveren van (vrijwel) alle onderdelen van die machines, inbreuk elders. Ook profiteert zijn daarvan doordat zij aanzienlijke winst maakt op de verkoop van de immersie-lithografiemachines.
3.5.
ASML voert verweer dat strekt tot afwijzing van de (provisionele) vorderingen, met veroordeling van Nikon in de kosten op de voet van art. 1019h Rv. Zij voert, voor zover hier van belang, aan dat zij geen inbreuk maakt omdat sprake is van uitputting dan wel rechtsverwerking, of omdat haar een recht van voorgebruik toekomt dan wel omdat EP 003 nietig is wegens niet-nieuwheid en/of gebrek aan inventiviteit.
in reconventie
3.6.
ASML vorderde, samengevat weergegeven, om bij vonnis, uitvoerbaar bij voorraad:
1. primair: Nikon te bevelen te gehengen en gedogen dat ASML immersie-lithografiemachines in Nederland in octrooirechtelijk relevante zin vervaardigt, gebruikt, in het verkeer brengt of verder verkoopt, verhuurt, aflevert of anderszins verhandelt, dan wel voor een of ander aanbiedt, invoert of in voorraad heeft;
2. subsidiair: Nikon te bevelen om het in A.1 bedoelde te gehengen en gedogen, niettegenstaande de volgende lithografieoctrooien die door Nikon in Nederland jegens ASML worden gehandhaafd: EP 1.652.003, EP 2.157.480, EP 2.937.734, EP 2.765.595, EP 2.624.282, EP 2.808.737, EP 1.881.521, EP 2.717.098, EP 1.598.855, EP 2.264.531 en EP 2.752.714;
3. voorwaardelijk (indien in conventie wordt geoordeeld dat ASML inbreuk maakt op een geldig octrooi): Nikon te bevelen hetzelfde en onder dezelfde voorwaarde te gehengen en gedogen niettegenstaande EP 003;
het voorgaande op straffe van een dwangsom;
het Nederlandse deel van EP 003 te vernietigen
een en ander met veroordeling van Nikon in de volledige en evenredige kosten van het geding conform art. 1019h Rv.
Ter zitting heeft zij haar eis verminderd in die zin dat zij aan vorderingen A.1, A.2 en A.3 het volgende heeft toegevoegd:
“zolang ASML een vergoeding betaalt aan Nikon ter hoogte van […vertrouwelijk…] % over de bruto omzet van de immersie-lithografiemachines (al dan niet in escrow), althans een in goede justitie te bepalen bedrag, welk bedrag verrekend zal worden met hetgeen verschuldigd is of zal worden op grond van een te betalen schadevergoeding of te betalen licentie.”
3.7.
Aan vordering A legt ASML het volgende ten grondslag.
3.7.1.
De omstandigheden dat Nikon jarenlang heeft gedoogd dat ASML de octrooien gebruikte (gedurende de licentieperiode en de daarop volgende Transition Period), dat zij niet bereid is om daadwerkelijk over een nieuwe licentie te onderhandelen dan wel dat zij uitsluitend bereid is om onder onredelijke en excessieve voorwaarden een licentie te geven, brengen mee dat handhaving van octrooirechten door Nikon jegens ASML in dit geval neerkomt op misbruik van bevoegdheid (3:13 BW), subsidiair strijd met precontractuele goede trouw. Meer subsidiair is sprake van rechtsverwerking, omdat Nikon ASML de indruk heeft gegeven dat zij onder redelijke voorwaarden een licentie zou geven.
3.7.2.
In ieder geval is handhaving disproportioneel omdat de gestelde inbreuk maar op een klein onderdeel van de immersie-lithografiemachines ziet en een verbod zeer verstrekkende gevolgen zal hebben […vertrouwelijk…]. Dit onderbouwt zij met een (vertrouwelijk) deskundigenrapport van Oxera. Een en ander brengt mee dat de handhaving van octrooien moet wijken voor zwaarwegender grondrechten; het Europeesrechtelijke proportionaliteitsbeginsel brengt dit mee.
3.7.3.
Daarnaast doet ASML een beroep op art. 6:168 BW5.: zwaarwegende maatschappelijke belangen staan naar zij aanvoert in de weg aan de handhaving van een verbod omdat dit gevolgen zal hebben voor de wereldmarkt van chips. ASML levert wereldwijd 80% van de immersie-lithografiemachines (en Nikon de andere 20%).
3.7.4.
Tot slot is sprake van strijd met het mededingingsrecht omdat Nikon, die naar ASML betoogt een machtspositie heeft op de upstream immersie-technologie-markt, door handhaving de mededinging ongeoorloofd beperkt. Dit is in de eerste plaats het geval omdat Nikon de CLA zo uitlegt dat het haar is toegestaan om het voordeel van ASML uit de CLA kan frustreren door Class B/C octrooien tegen ASML in te roepen, die zien op dezelfde uitvindingen die als class A octrooien aan ASML gelicentieerd zijn, zodat zij haar enige concurrent uitschakelt. Een dergelijke overeenkomst is in strijd met artt. 101/102 VWEU.
In de tweede plaats geldt dat het octrooi dat Nikon in deze procedure inroept de facto standaard essentieel is voor ASML. Naar de rechtbank begrijpt, moet(en) ook (een deel van) de octrooien die Nikon inroept in tien parallelle procedures die aanhangig zijn bij deze rechtbank, en mogelijke andere octrooien uit haar octrooiportfolio, worden aangemerkt als standaard essentiële octrooien (hierna ook: SEP’s). Nikon weigert op redelijke voorwaarden een licentie te verlenen, terwijl zij daartoe gehouden is op basis van het mededingingsrecht. Ter onderbouwing van de onredelijkheid van de door Nikon gevraagde licentievoorwaarden heeft ASML vertrouwelijke rapporten van haar deskundige Geradin overgelegd. ASML stelt dat zij een redelijk licentieaanbod heeft gedaan.
3.7.5.
Ter onderbouwing van de vordering tot vernietiging van EP 003 volstaat ASML met verwijzing naar hetgeen zij in conventie heeft aangevoerd.
3.8.
Nikon voert verweer strekkende tot afwijzing van de vorderingen, met hoofdelijke veroordeling van ASML in de proceskosten op de voet van art. 1019h Rv.
in conventie en reconventie
3.9.
Op de stellingen van partijen wordt hierna, voor zover van belang, nader ingegaan.
4. De beoordeling
in het bevoegdheidsincident en in de hoofdzaak in conventie en in reconventie
4.1.
De rechtbank is internationaal bevoegd kennis te nemen van de vorderingen in conventie op grond van art. 4 Brussel I-bis6., nu ASML gevestigd is in Nederland. Die bevoegdheid strekt zich in beginsel uit tot het treffen van grensoverschrijdende maatregelen. Bevoegdheid ten aanzien van de reconventionele vordering tot vernietiging van EP 003 bestaat op grond van art. 24 lid 4 Brussel I-bis. Dit geldt ook voor het verweer in conventie voor zover daar een beroep wordt gedaan op nietigheid van het Nederlandse deel van EP 003.
4.2.
ASML wijst er terecht op dat op grond van art. 24 lid 4 Brussel I-bis andere rechters dan de Nederlandse rechter bij uitsluiting bevoegd zijn een oordeel te geven over nietigheid(sweren van ASML ten aanzien) van de buitenlandse delen van EP 003.7.Dat leidt echter, anders dan ASML betoogt, niet tot onbevoegdheid van de rechtbank ten aanzien van de grensoverschrijdende vordering tot het verbieden van onrechtmatig handelen door (kort gezegd) het betrokken zijn bij octrooi-inbreuk buiten Nederland. Voor de beoordeling van die vordering is (als de andere verweren van ASML tegen deze vordering niet slagen) een oordeel over de geldigheid van buitenlandse octrooien vereist, nu de gestelde onrechtmatigheid is gelegen in inbreuk daarop. De rechtbank is weliswaar bevoegd om die vordering te beoordelen maar dient het oordeel van de exclusief bevoegde buitenlandse rechters over die geldigheid af te wachten indien Nikon verzoekt om aanhouding en dient de vordering bij gebreke van een dergelijk verzoek af te wijzen8.. Nikon heeft (voorwaardelijk) om aanhouding verzocht, zodat de rechtbank gehouden is de beoordeling van de gestelde betrokkenheid bij octrooi-inbreuk op de buitenlandse delen van EP 003 aan te houden totdat de daartoe bevoegde buitenlandse rechters hebben beslist over de geldigheid van die delen.
4.3.
De Nederlandse rechter is eveneens bevoegd kennis te nemen van de gevorderde provisionele maatregelen. Uit het voorgaande volgt immers dat de rechtbank internationaal bevoegd is kennis te nemen van de vorderingen in de hoofdzaak in conventie, zodat zij ook bevoegd is kennis te nemen van voorlopige voorzieningen. Het Solvay/Honeywell arrest9.leert dat art. 24 lid 4 Brussel I-bis niet in de weg staat aan een onmiddellijke beoordeling van een voorlopige voorziening voor zover het de buitenlandse delen van EP 003 betreft, omdat daarbij slechts een voorlopige evaluatie wordt gegeven van de geldigheid van de buitenlandse delen van het octrooi en de rechtbank de gevorderde voorlopige voorziening niet toekent indien er naar haar oordeel een serieuze, niet te verwaarlozen kans bestaat dat het ingeroepen octrooi door de bevoegde rechter nietig wordt verklaard.
4.4.
De relatieve bevoegdheid van deze rechtbank volgt uit art. 80 lid 2 sub a resp. art. 80 lid 1 sub a ROW10.en is overigens door ASML niet bestreden.
4.5.
De slotsom is dat de rechtbank bevoegd is kennis te nemen van alle vorderingen in conventie. Daarbij dient de beoordeling in de hoofdzaak aangehouden te worden voor zover daarbij de geldigheid van de buitenlandse delen van EP 003 aan de orde komt, totdat daarop is beslist door de bevoegde buitenlandse rechters, nu Nikon om die aanhouding heeft verzocht. De rechtbank is zonder aanhouding bevoegd om te beslissen op de gevorderde provisionele voorziening, waarbij zij de geldigheid van zowel het Nederlandse als de buitenlandse delen van EP 003 bij een voorlopig oordeel kan betrekken. De incidentele vordering tot onbevoegd-verklaring zal derhalve worden afgewezen.
en voorts in conventie en in reconventie
mededelingsverbod
4.6.
Nikon en ASML hebben over en weer een mededelingsverbod verzocht ten aanzien van het behandelde achter gesloten deuren en omtrent de inhoud van een aantal producties (thans art. 28 lid 1 sub a en b Rv). Ten aanzien van het verhandelde achter gesloten deuren volgt uit de wet (art. 28 lid 1 sub a Rv) dat het verboden is om daaromtrent mededelingen te doen aan derden. Het verzochte mededelingsverbod in de zin van art. 28 lid 1 sub b Rv ten aanzien van een aantal als vertrouwelijk aan te merken stukken wordt toegewezen, zoals in het dictum bepaald. Het verbod ziet op de (inhoud van de) volgende stukken van de zijde van Nikon:
- -
Productie EP9
- -
Productie EP41
- -
Productie EP59 t/m EP63 en de conclusie van antwoord in reconventie voor zover ingaand op productie EP59 t/m EP63
- -
Productie EP80 en de akte aanvullende producties voor zover ingaand op productie EP80
- -
Productie EP95 t/m EP99 en de akte reactieve producties voor zover ingaand op productie EP95 t/m EP99
- -
De pleitnotities, randnummers 5.19 t/m 5.26, 6.20, 6.24 t/m 6.26 en 6.38
alsmede op de volgende stukken van de zijde van ASML:
- -
Productie GP42
- -
Productie GP44
- -
De conclusie van antwoord voor zover ingaand op producties GP42 en GP44
- -
Productie GP54 en GP55
- -
Producties GP58 t/m GP61
- -
Producties GP63 en GP64
- -
Akte aanvullende producties voor zover ingaand op producties GP54, GP55, GP58 t/m 61, GP63 en GP64
- -
Productie GP65 en GP66
- -
Akte reactieve producties voor zover ingaand op producties GP65 en GP66
- -
De pleitnotities, randnummers 129-130 en voetnoot 141
technische achtergrond
4.7.
De volgende inleiding op de techniek is ontleend aan onbetwiste gedeelten van de processtukken, op de door partijen overgelegde producties en hetgeen ter zitting is besproken.
4.8.
Het octrooi heeft betrekking op immersie-lithografiemachines, een bepaald type (foto)lithografiemachines. (Foto)Lithografiemachines zijn essentieel voor de productie van geïntegreerde schakelingen, ook wel aangeduid als chips. Kort gezegd worden in fotolithografiemachines patronen van elektronische schakelingen optisch afgebeeld op een lichtgevoelige laag de "photoresist" die op een dunne schijf silicium, een zogenoemde wafer, is aangebracht. Een wafer is normaalgesproken opgedeeld in meerdere belichtingsgebieden, ook wel "shot areas" genoemd, waarvan het aantal overeenkomt met het aantal uit de wafer te vervaardigen chips. Wanneer het belichtingsproces is voltooid, wordt de wafer aan meerdere processtappen onderworpen, zoals ontwikkelen, etsen, doteren en metalliseren, om de uiteindelijke halfgeleiderschakelingen te vervaardigen. De elektronische schakelingen in een chip worden normaalgesproken uit vele tientallen lagen opgebouwd. Nadat alle lagen zijn gevormd en de processtappen van dotering en metallisatie zijn voltooid, wordt de wafer in stukken gezaagd waardoor de individuele chips, die zijn gecreëerd op de respectievelijke shot areas, fysiek van elkaar worden gescheiden.
4.9.
In een fotolithografiemachine zijn de patronen van de te realiseren elektronische schakelingen opgenomen in zogenoemde "reticles" (ook wel "masks" of maskers genoemd). Een reticle bevat een donker patroon op een transparant substraat. Door de reticle te verlichten, wordt het reticle-patroon op één van de shot areas op de wafer geprojecteerd, normaalgesproken in verkleinde omvang. Dit geschiedt door middel van een optisch projectiesysteem. Dit proces (inclusief de daarbij behorende verwerkingsstappen) wordt doorgaans tientallen malen herhaald met verschillende reticles (die de patronen van de verschillende lagen van de elektronische schakeling bevatten) om op iedere shot area de elektronische schakeling in meerdere op elkaar aansluitende lagen op te bouwen.
4.10.
Het detailniveau en de nauwkeurigheid van de afbeelding van het patroon/de reticle is bepalend voor de minimale grootte van de te realiseren transistoren en daarmee voor de mate van integratie van elektronische schakelingen in een chip, waardoor de omvang en rekenkracht van de chip wordt bepaald. Een van de belangrijkste vereisten voor een fotolithografiemachine is dan ook precisie (en daarnaast de doorvoercapaciteit). Hoe preciezer de machine kan opereren, des te meer transistoren per oppervlakte-eenheid kunnen worden gerealiseerd en des te meer transistoren een chip van bepaalde omvang kan bevatten. Het scheidend vermogen (de resolutie) van een projectiesysteem bepaalt hoe goed dat projectiesysteem in staat is om kleine details nog steeds individueel te kunnen projecteren. Als de resolutie niet hoog genoeg is, dan vloeien de structuren als het ware samen. Fotolithografiemachines zijn zeer precieze machines.
4.11.
De resolutie die met het optische projectiesysteem kan worden behaald, wordt bepaald door de golflengte van het licht en de zogenoemde numerieke apertuur (NA) van het optische projectiesysteem. De numerieke apertuur is een dimensieloos getal dat aangeeft onder welke uiterste hoeken licht kan worden opgevangen. Hoe korter de golflengte van het licht, des te kleiner de afbeelding die kan worden belicht. Ook geldt dat hoe groter de NA is, des te kleiner de afbeelding kan zijn die wordt gevormd op de wafer.
4.12.
In de loop der tijd zijn lithografiemachines steeds preciezer geworden zodat daarmee steeds kleinere chips kunnen worden gemaakt. Daarbij is de golflengte van het licht afgenomen door laserlichtbronnen te gebruiken die hoogfrequent ultraviolet licht generen, dat wil zeggen licht met een kleinere golflengte. Daarnaast is de numerieke apertuur steeds groter geworden. Eind jaren negentig waren met name zogenoemde droge lithografiemachines waarbij gebruik werd gemaakt van licht met een golflengte van 193 nm de (commerciële) standaard. Verdere verbetering van de resolutie van fotolithografiemachines was mogelijk in twee richtingen. Ten eerste door de golflengte van het verlichtingslicht verder te verkleinen; daartoe werd onderzoek gedaan naar de mogelijkheid van het gebruik van licht met een golflengte van 157 nm. Ten tweede door vergroting van de NA van de optische projectiesystemen; daartoe werd onderzocht of het mogelijk was om de NA te verhogen door het licht door een vloeistof te projecteren, omdat een vloeistof een hogere brekingsindex heeft dan lucht en een hogere brekingsindex leidt tot hogere NA en zo tot een betere resolutie. Hoewel het verschijnsel dat vloeistof de projectie van kleinere kenmerken mogelijk maakt als zodanig bekend was, was er in de relevante stand van de techniek nog geen praktische toepassing van dit concept in fotolithografiemachines beschikbaar. Wel was bijvoorbeeld voorgesteld om een wafertafel te gebruiken met een bad ("pool") van immersievloeistof, de zogenoemde "pool technology" maar dat had nog niet tot een werkbare lithografiemachine geleid.
4.13.
Bij de immersie-lithografiemachines die nu op de markt zijn wordt uitsluitend de ruimte tussen de (laatste) projectielens (het optische element dat zich het meest nabij de wafer bevindt) en het waferoppervlak gevuld met een zogenoemde immersievloeistof, in de praktijk een dun laagje stromend zuiver water (Ultra Pure Water). Daarmee wordt een hogere brekingsindex verkregen dan wanneer de ruimte wordt gevuld met lucht; water heeft een brekingsindex die 1,44 keer groter is dan die van lucht. Deze methode, waarbij alleen lokaal water aanwezig is, wordt aangeduid als de local fill methode. In 2006 leverde Nikon de eerste commerciële immersie-lithografiemachine, de NSR-S609B, waarin deze methode werd toegepast. Deze machine doorbrak de barrière van NA gelijk aan 1,0 en bereikte een NA van 1,07.
4.14.
Immersie-lithografiemachines die in deze procedure centraal staan, bestaan, samenvattend, onder meer uit de volgende onderdelen:
- -
i) een verlichtingssysteem met een deep ultraviolet (DUV) 193 nm laserlichtbron;
- -
ii) een reticle stage of reticle tafel;
- -
iii) een optisch projectiesysteem, dat in het algemeen uit meerdere lenzen en spiegels bestaat, en dat ervoor zorgt dat het patroon aanzienlijk verkleind (in vergelijking met de grootte van het oorspronkelijke patroon op de reticle) op de wafer wordt geprojecteerd. De immersievloeistof bevindt zich tussen de (laatste) projectielens en het waferoppervlak. .
- -
iv) een wafer stage of wafertafel; en
- -
v) meetsystemen (waaronder sensoren).
De onderdelen (i) tot en met (iv) zijn hieronder schematisch weergegeven.

EP 003
4.15.
Het octrooi dat Nikon in deze procedure tegen ASML inroept, EP 003, ziet op de praktische toepassing van een immersie-vloeistof in een immersie-lithografiemachine door middel van de local fill methode. Het octrooi ziet erop de lekkage van immersievloeistof te voorkomen. De immersievloeistof kan weglekken op het moment dat de lens over de wafer, wafertafel of een detector/sensor gaat, vooral bij de overgangen. Volgens EP 003 wordt dit weglekken voorkomen doordat het oppervlak van de wafertafel, het oppervlak van de wafer (niet getoond in bovenstaande figuren) en het oppervlak van de sensor zich op onderling in hoofdzaak gelijke hoogte bevinden.
4.16.
Het meest verstrekkende verweer van ASML tegen de inbreukvordering, is dat zij geen inbreuk kan maken op het octrooi omdat EP 003 nietig is. De rechtbank ziet aanleiding om dit verweer, tezamen met de in reconventie gevorderde vernietiging van het octrooi, eerst te behandelen.
nieuwheid EP 003 ten opzichte van EPA2 188
4.17.
Naar het oordeel van de rechtbank heeft ASML terecht aangevoerd dat EP 003 niet nieuw is in het licht van haar octrooiaanvrage EPA2 188, gepubliceerd op 16 juni 2004. De indieningsdatum van EPA2 188 (10 november 2003) ligt weliswaar na de prioriteitsdatum van EP 003 (8 juli 2003), maar de ingeroepen prioriteiten, liggen vóór de prioriteitsdatum van EP 003. Voor zover de inhoud van EPA2 188 in de prioriteitsdocumenten waarop een beroep is gedaan is geopenbaard – en dit is niet in geschil – behoort EPA2 188 derhalve tot de voor de beoordeling van de nieuwheid van EP 003 relevante stand van de techniek in de zin van art. 54 lid 3 van het Europees Octrooiverdrag.
4.18.
Een maatregel is niet nieuw indien alle kenmerken daarvan expliciet of impliciet op een directe en ondubbelzinnige wijze aan een gemiddelde vakman, gebruikmakend van zijn algemene vakkennis, worden geopenbaard in één enkele vindplaats behorend tot de stand van de techniek.
4.19.
Conclusie 1van EP 003 kan worden opgedeeld in de volgende deel kenmerken:
1.1
An immersion lithography exposure apparatus comprising: a lens (684);
1.2
a table assembly (602), the table assembly having a surface (614), the table assembly being arranged to support at least a substrate,
1.3
the surface of the table assembly having an opening to accommodate the substrate,
1.4
a surface of the supported substrate being at substantially a same height as the surface of the table assembly; and
1.5
a sensor (650) having a surface,
1.6
the surface of the sensor being at substantially a same height as the surface of the table assembly,
1.7
wherein the apparatus is arranged to maintain locally a liquid between the lens and the surface of the table assembly, between the lens and the surface of the substrate, and/or between the lens and the surface of the sensor.
Wat in EP 003 wordt aangeduid als het wafertafelsamenstel (‘the table assembly’) wordt hierna kortweg de wafertafel genoemd.
4.20.
Niet in geschil is dat de afzonderlijke deelkenmerken 1.1 tot en met 1.7 van EP 003, zoals hierboven weergegeven, in EPA2 188 duidelijk en ondubbelzinnig geopenbaard worden. Nikon heeft slechts bestreden dat EPA2 188 duidelijk en ondubbelzinnig openbaart dat de respectievelijke oppervlakken van de sensor, de wafer en de wafertafel zich op hoofdzakelijk dezelfde hoogte bevinden, een kenmerk dat naar zij betoogt impliciet in (de combinatie van kenmerken 1.4 en 1.6 van) conclusie 1 moet worden gelezen. Zij wijst er ter toelichting op dat ook de examiner van het EOB tijdens de verleningsprocedure van EP 003 oordeelde dat dit kenmerk in conclusie 1 moet worden gelezen, nadat hij EPA2 188 aanvankelijk nieuwheids-schadend achtte.
4.21.
Wanneer deze lezing van Nikon veronderstellenderwijs tot uitgangspunt wordt genomen, gaat dit verweer van Nikon niet op. Daartoe is het volgende redengevend.
4.22.
EPA2 188 ziet, net als EP 003, op een immersie-lithografiemachine waarbij gebruik wordt gemaakt van de local fill methode. Beide documenten noemen als doel van de daarin geopenbaarde uitvinding – voor zover hier van belang – om vloeistofverlies te minimaliseren tijdens de belichting van de rand van het substraat (de wafer) (vgl. [0004] van EPA2 188 en [0010] van EP 003). Dit probleem wordt ook getoond in tekeningen 1 en 2 van EP 003 (zie 2.7) en beschreven in [0038] van EPA2 188. Zowel in EPA2 188 als in EP 003 wordt dit in wezen opgelost door ervoor te zorgen dat de wafer niet boven het omringende oppervlak uitsteekt, zodat bij belichting van de rand van de wafer de immersievloeistof niet weglekt doordat het nog steeds wordt ‘ingesloten’ door een oppervlak, ook al is dit niet langer de wafer. In EPA2 188 wordt dit bewerkstelligd door afdichtingselement 17 (ook wel nr. 117), dat een afdekplaat (‘cover plate’) of een randafdichtingselement (‘edge seal member’ ) kan zijn.
4.23.
Van het afdichtingselement worden verschillende uitvoeringsvormen beschreven. EPA2 188 openbaart – in [006], midden, [0041], 1e regel en figuur 4 – dat het randafdichtingselement een integraal onderdeel kan uitmaken van de wafertafel (in EPA2 188 aangeduid als ‘substrate table’ en afgekort als WT) of een los, verplaatsbaar onderdeel kan zijn. In [0041] is dit als volgt verwoord :
"[0041] The edge seal member 17 may form an integral part of the substrate table WT (as illustrated in Figure 4 as edge seal member 117) or may be temporarily mounted relative to the remainder of the substrate table (…)”
4.24.
Voorts wordt in EPA2 188 beschreven dat het afdichtingselement kan worden gebruikt om lekkage te voorkomen bij verschillende soorten objecten die zich op de wafertafel bevinden (en die belicht moeten worden). Naast de wafer worden sensoren specifiek genoemd (in [0006] en in [0106]):
"[0106] All of the above described embodiments may be used to seal around the edge of the substrate W. Other objects on the substrate table WT may also need to be sealed in a similar way, such as sensors including sensors and/or marks which are illuminated with the projection beam through the liquid such as the transmission image sensors, integrated lens interferometer and scanner (wavefront sensor) and spot sensor plates.(…)" (onderstreping toegevoegd, rechtbank)
4.25.
Ook openbaart EP A2 188 (o.m. in [0005], en [0039]) dat het oppervlak van het afdichtingselement ‘substantially co-planar’ moet zijn met het oppervlak van het substraat (de wafer) en/of een ander af te dichten object:
"[0005] This and other objects are achieved according to the invention in a lithographic apparatus as specified in the opening paragraph, characterized in that said substrate table further comprises an edge seal member for at least partly surrounding an edge of the object and for providing a primary surface facing said projection system substantially co-planar with a primary surface of the object, and in that the liquid supply system provides liquid to a localized area of said object and/or said edge seal member and/or substrate."
"[0039] Figure 3 illustrates how the edge portion of a substrate W may be imaged without catastrophic loss of immersion liquid from the liquid supply system. This is achieved by the provision of a cover plate or edge seal member 17 on the substrate table WT. The edge seal member 17 has an upper (as illustrated) primary surface substantially co-planar with the upper primary surface of substrate W and is closely adjacent to the edge of the substrate W so that there is no sudden loss of liquid as the edge of the substrate moves under the projection lens PL." (onderstreping rechtbank).
4.26.
Nikon moet worden nagegeven dat in EPA2 188 niet expliciet staat beschreven dat de sensor en de wafer zich op dezelfde hoogte moeten bevinden. In theorie is het derhalve mogelijk dat de wafer en de sensor zich op verschillende hoogte bevinden (respectievelijk H1 en H2), terwijl elk afzonderlijk zich hoofdzakelijk op dezelfde hoogte bevindt als de wafertafel (of een afdichtingselement dat daarvan een integraal onderdeel uitmaakt):

4.27.
Echter, met ASML is de rechtbank van oordeel dat de vakman uit EPA2 188, uitgaande van zijn algemene vakkennis, zal begrijpen dat de sensor en de wafer zich op dezelfde hoogte bevinden omdat een andere lezing niet logisch is. Deskundigen Leray11.en Moest12.van ASML hebben toegelicht dat het in de praktijk vrijwel altijd zo is (deze deskundigen noemen dat “common practice” respectievelijk “usual practice”) dat het (boven)oppervlak van de sensor waarop de reference of fiducial mark (FM) zit, zich op hoofdzakelijk dezelfde hoogte bevindt ten opzichte van de lens als de bovenkant van de wafer. Dit is toegelicht aan de hand van de sensor die dient om de reticle ten behoeve van de wafer in het brandpuntsvlak van de projectielens (in focus) te brengen en die ook in EPA2 188 expliciet wordt benoemd: de transmission image sensor (TIS, zie o.a. [0106]. De zogenaamde ‘reticle alignment’ van het reticle image vindt plaats door uitlijning met behulp van (de FM van) deze sensor voordat het op de wafer wordt ‘gebrand’. Bij kleine afwijkingen van de brandpuntsvlakken is dit beeld al niet meer scherp. Om te voorkomen dat extra (en tijdrovende) verticale bewegingen van de vlakken moeten worden gemaakt tijdens het alignment-proces, liggen de wafer en de sensor/FM op hoofdzakelijk dezelfde hoogte ten opzichte van de lens. Dit was ten tijde van de prioriteitsdatum ook bij de meeste droge lithografiemachines al het geval, aldus ASML.
4.28.
Nikon heeft deze stelling niet, althans onvoldoende, betwist. Zij noch haar deskundige Mack13.heeft weersproken dat het ‘common practice’ is dat de oppervlakken van de alignment-sensor en de wafer hoofdzakelijk op dezelfde hoogte liggen. Mack heeft er slechts op gewezen dat dit niet altijd zo is en een aantal uitzonderingsgevallen genoemd (voor sommige sensoren is ligging in het brandpuntsvlak bijvoorbeeld niet nodig), zonder dat daarmee echter de hoofdregel wordt ontkracht dat die oppervlakken normaal gesproken op (hoofdzakelijk) dezelfde hoogte liggen en de vakman dit ook zal aannemen. De gemiddelde vakman zal bij lezing uitgaan van de op de prioriteitsdatum gebruikelijke situatie. Hij vindt bovendien in EPA2 188 geen enkele reden om aan te nemen dat afwijking van die gebruikelijke situatie zou zijn bedoeld. Integendeel, aannemen dat er wel een hoogteverschil is zou betekenen dat er veel (volgens EPA2 188: ongewenst) vloeistofverlies zou ontstaan zodra de lens met immersievloeistof van sensor naar wafer zou gaan, tenzij er maatregelen zouden worden genomen om dat te voorkomen door de hoogte aan te passen.
4.29.
Nikon heeft er nog op gewezen dat in figuur 17 van EPA2 188 (vgl. 2.8), de enige figuur van deze anticipatie waarin een sensor en een wafer tezamen zijn afgebeeld, een wezenlijk andere oplossing wordt getoond dan EP 003 openbaart. Dit verweer wordt gepasseerd nu het hier gaat om een andere uitvoeringsvariant van EPA2 188 waarbij sprake is van een losse afdekplaat (verwijzingsnummer 210) die geen bestanddeel vormt van de wafertafel. Hetzelfde geldt voor het ringvormige afdichttingselement getoond in de figuren 12-14 van EPA2 188, waarnaar Nikon verwijst.
4.30.
Overigens is op te merken dat Nikon (en de examiner) dit impliciete kenmerk (dat sensor en wafer zich hoofdzakelijk op dezelfde hoogte bevinden) ook in conclusie 1 van EP 003 leest (lezen). Immers, Nikon stelt dat conclusie 1 van EP 003 het kenmerk openbaart dat de sensor en de wafer zich op hoofdzakelijk dezelfde hoogte moeten bevinden, terwijl de letterlijke tekst van die conclusie, zoals ASML terecht heeft opgemerkt, slechts vereist dat enerzijds het oppervlak van de wafer en de wafertafel zich op hoofdzakelijk dezelfde hoogte bevinden (kenmerk 1.4) en anderzijds het oppervlak van de sensor en de wafertafel (kenmerk 1.6). Conclusie 5 van EP 003 vermeldt dat vereiste wel expliciet.
Een lezing waarbij dit (impliciete) kenmerk niet onder conclusie 1 zou vallen, zou meebrengen dat EPA2 188 conclusie 1 eveneens volledig anticipeert, nu alle (expliciete) deelkenmerken daarin geopenbaard zijn (zie 4.20). Het voorgaande zou in die lezing alleen van belang zijn voor conclusie 5. De rechtbank gaat echter met partijen uit van de ruimere lezing van conclusie 1, zoals Nikon ook wil, maar dat brengt mee dat dit impliciete kenmerk ook in EPA2 188 moet worden ingelezen.
4.31.
Een en ander leidt tot de slotsom dat de gemiddelde vakman op de prioriteitsdatum naar het oordeel van de rechtbank in EPA2 188 een afdichtingselement vindt dat een integraal onderdeel kan uitmaken van de wafertafel, waarbij hij uit de openbaring dat zowel de wafer als de sensor ‘substantially co-planar’ zijn met het oppervlak van de wafertafel, impliciet op een duidelijke en ondubbelzinnige wijze zal begrijpen dat de bovenoppervlakken van de sensor en de wafer zich onderling op hoofdzakelijk dezelfde hoogte bevinden. Dit is algemene vakkennis. Een lezing met een ‘mind willing to understand’ laat geen andere conclusie toe. Dit heeft tot gevolg dat conclusie 1 (en 5) van EP 003 volledig wordt geopenbaard in EPA2 188, zodat EP 003 niet nieuw is.
4.32.
ASML heeft gemotiveerd gesteld dat ook de volgconclusies van EP 003 duidelijk en ondubbelzinnig in EPA2 188 geopenbaard worden. Nikon heeft slechts verweer gevoerd ten aanzien van conclusies 5, 6 en 10 (en de corresponderende werkwijzeconclusies). Conclusie 5 voegt niets toe aan conclusie 1, zoals hiervoor besproken. Conclusie 6 vereist dat het wafertafelsamenstel een aantal openingen definieert, en waarbij een eerste opening van het aantal openingen is ingericht om de wafer in hoofdzaak te ondersteunen en een tweede opening van het aantal openingen is ingericht om de sensor in hoofdzaak te ondersteunen. Met ASML is de rechtbank van oordeel dat uit het slot van [0006] en figuur 4 van EPA2 188 voor de vakman duidelijk en ondubbelzinnig blijkt dat ook een sensor verzonken moet zijn aangebracht.
4.33.
Nikon betwist tot slot dat conclusie 10, die vereist dat een deel van het oppervlak van het tafelsamenstel is aangebracht tussen het oppervlak van de sensor en het oppervlak van het ondersteunde substraat, in EPA2 188 is geopenbaard. ASML heeft er terecht op gewezen dat, nu EPA2 188 een sensor en een wafer op de wafertafel openbaart, er zich logischerwijs een deel van het tafelsamenstel tussen de wafer en de sensor moet bevinden, temeer nu al die oppervlakken door beweging van de wafertafel in contact kunnen komen met de immersievloeistof die zich onder de lens bevindt, zodat EPA2 188 ook op conclusie 10 anticipeert.
slotsom in conventie
4.34.
Het voorgaande brengt mee dat EP 003 nietig is, zodat ASML daarop geen inbreuk kan maken. De vorderingen in conventie die daarop zien worden afgewezen. Hetzelfde geldt voor de provisionele vorderingen, ook voor zover die zien op onrechtmatig handelen wegens het bevorderen en faciliteren van inbreuk buiten Nederland, nu de rechtbank voorshands oordelend aannemelijk acht dat ook de buitenlandse delen van EP 003 niet geldig zullen worden bevonden.
4.35.
Voor zover het gevorderde in de hoofdzaak verband houdt met (het bevorderen, faciliteren etc. van) inbreuk op andere nationale delen van EP 003 buiten Nederland (EP 003 is ook geldig in Frankrijk, Ierland, Italië en Duitsland), is de beoordeling daarvan afhankelijk van het oordeel over de geldigheid van die nationale delen, op welke nietigheid ASML zich beroept. Zoals in het kader van het bevoegdheidsincident reeds is overwogen, zal de rechtbank de beslissing op dit deel van vorderingen aanhouden totdat over de nietigheid in de betreffende jurisdicties zal zijn beslist. De zaak zal worden doorgehaald, met dien verstande dat de meest gerede partij de zaak weer op de rol kan brengen voor voortprocederen zodra duidelijkheid is verkregen omtrent de geldigheid van EP 003 in de betreffende landen.
proceskosten in conventie
4.36.
Nikon zal als de in het ongelijk gestelde partij in de proceskosten in de hoofdzaak in conventie worden veroordeeld op de voet van art. 1019h Rv, zoals gevorderd. De rechtbank begroot de kosten tot op heden aan de zijde van ASML conform de partijafspraak op € 625.000, inclusief verschotten.
4.37.
ASML wordt als de in het ongelijk gestelde partij in het bevoegdheidsincident veroordeeld in de proceskosten daarvan. Nikon heeft een proceskostenveroordeling op de voet van art. 1019h Rv gevorderd. Partijen hebben verklaard dat zij overeenstemming hebben bereikt over de vraag wat de redelijke en evenredige proceskosten in deze zaak in conventie en reconventie zijn. Daarbij hebben zij de kosten in de incidenten niet apart gespecificeerd. Mede gelet hierop en op de relatief geringe omvang van het incident, zal, de rechtbank de kosten in dit incident aan de zijde van Nikon begroten op nihil.
4.38.
Voor de kosten in het incident tot het treffen van voorlopige voorzieningen, waarin Nikon als in het ongelijk gestelde partij wordt veroordeeld, geldt het zelfde. De kosten in dit incident aan de zijde van ASML begroot de rechtbank daarom eveneens op nihil.
en voorts in reconventie
vordering tot vernietiging van EP 003 in reconventie
4.39.
De uitkomst in conventie brengt mee dat de vordering van ASML in reconventie tot vernietiging van het Nederlandse deel van EP 003 (vordering C, zie 3.6) zal worden toegewezen.
uitleg vordering A, eiswijziging en reikwijdte beoordeling
4.40.
In reconventie staat nog uitsluitend ter beoordeling vordering A (en de met betrekking daartoe onder B gevorderde dwangsom). Vordering A tot ‘gehengen en gedogen’ dat ASML immersie-lithografiemachines op de markt brengt (zie 3.6), is dusdanig ruim geformuleerd dat ook een verbod tot het instellen van inbreukprocedures daaronder kan vallen. Gezien het partijdebat, gaan partijen daar echter niet van uit. Vordering A moet dan ook aldus worden begrepen dat ASML in feite vordert dat het Nikon wordt verboden om jegens ASML te handhaven primair enig toekomstig inbreukverbod (A.1), subsidiair een mogelijk toekomstig inbreukverbod met betrekking tot elf specifiek genoemde octrooien (A.2) en voorwaardelijk een inbreukverbod op grond van EP 003 (A.3) (hierna: het handhavingsverbod).
De voorwaarde waaronder vordering A.3 is ingesteld is niet vervuld, zodat deze niet ter beoordeling staat.
4.41.
Nadat Nikon erop had gewezen dat toewijzing van een handhavingsverbod in feite neer komt op het verschaffen van een gratis licentie, heeft ASML tijdens pleidooi aan haar vordering de in 3.6 weergegeven voorwaarde tot betaling van een vergoeding toegevoegd. Nikon heeft tegen die eiswijziging bezwaar gemaakt. Nu het hier naar het oordeel van de rechtbank een eisvermindering betreft, die mogelijk is zolang nog geen eindvonnis is gewezen (art. 129 Rv), wordt dit bezwaar niet gehonoreerd. Een en ander brengt mee dat ASML een handhavingsverbod vordert onder de voorwaarde dat zij aan Nikon een vergoeding betaalt.
4.42.
Ter onderbouwing van vordering A. heeft ASML een groot aantal niet-technische grondslagen en stellingen aangevoerd. De onderhavige procedure is de eerste in een reeks van (op dit moment) elf VRO-procedures tussen partijen die bij deze rechtbank aanhangig is. Naar de rechtbank begrijpt vordert ASML in alleen deze zaak in reconventie een handhavingsverbod. Ter zitting hebben partijen toestemming gevraagd en gekregen om de niet-technische argumenten die hierop zien alleen in deze zaak te pleiten en niet meer in de daarop volgende VRO-procedures, ongeacht de uitkomst van de beoordeling in deze zaak, terwijl zij op die argumenten in de volgende procedures wel een beroep doen bij wijze van verweer in conventie. Partijen hebben in het bijzonder toegezegd dat de vervolgprocedures niet zullen worden gebruikt als een verkapt hoger beroep tegen de beslissing over het handhavingsverbod in deze zaak. De rechtbank zal in de vervolgprocedures dan ook – voor zover mogelijk – volstaan met verwijzing naar hetgeen in deze zaak omtrent het handhavingsverbod wordt overwogen en beslist.
hoofdregel: verbod
4.43.
Bij de beoordeling van het handhavingsverbod wordt vooropgesteld dat ingevolge art. 3:296 lid 1 BW de rechter die heeft vastgesteld dat een partij verplicht is bepaalde – in dit geval inbreuk op een octrooi makende – gedragingen na te laten, gehouden is aan deze partij een desbetreffend verbod op te leggen. Anders dan ASML betoogt is art. 12 Handhavingsrichtlijn14., dat de mogelijkheid noemt om in plaats van een verbod in voorkomend geval schadevergoeding toe te kennen, niet van toepassing. De Nederlandse wetgever heeft ervoor gekozen om die optionele bepaling niet te implementeren.
uitzonderingen; duiding grondslagen ASML
4.44.
Van de hoofdregel dat de rechter bij vaststelling van inbreuk een verbod moet toewijzen, kan slechts in een aantal uitzonderingsgevallen worden afgeweken. In art. 3:296 lid 1 BW worden genoemd de wet, de aard van de verplichting of een rechtshandeling. In de literatuur en rechtspraak worden onder meer gespecificeerd ‘gebrek aan belang’ (3:303 BW), de (beperkende werking van) de redelijkheid en billijkheid (art. 6:2 lid 2 BW), ‘misbruik van bevoegdheid’ (3:13 BW), ‘zwaarwegende maatschappelijke belangen’ (6:168 BW) en strijd met het Europese recht. De uitzonderingsgronden moeten terughoudend worden toegepast.
4.45.
ASML heeft voor het eerst bij pleidooi expliciet een beroep gedaan op art. 6:2 lid 2 BW als “eerste pijler” voor het gevorderde handhavingsverbod. Echter, de door ASML eerder aangevoerde gronden ‘rechtsverwerking’ en ‘strijd met de pre- dan wel postcontractuele goede trouw’ zijn aan te merken als species van de beperkende werking van de redelijkheid en billijkheid, evenals misbruik van bevoegdheid (3:13 BW) en strijd met zwaarwegendé maatschappelijke belangen (6:168 BW) waarop ASML zich voorts beroept. De door ASML als aparte grond aangevoerde strijdigheid met een beweerdelijk toe te passen proportionaliteitstoets (ingegeven door art. 3 lid 2 Handhavingsrichtlijn), zal, voor zover relevant, ook in dat kader, en wel bij de beoordeling van het voor art. 3:13 BW in acht te nemen evenredigheidscriterium, worden besproken. Het betoog van ASML dat in dit geval de handhaving van het octrooirecht in strijd is met de Europeesrechtelijke proportionaliteitstoets (pijler twee bij pleidooi), is eveneens aan te merken als een beroep op de beperkende werking van de redelijkheid en billijkheid en zal als zodanig hierna worden beoordeeld. Alleen de laatste grond die ASML inroept ter onderbouwing van het gevorderde handhavingsverbod, strijd met het mededingingsrecht, wordt afzonderlijk besproken.
beperkende werking van de redelijkheid en billijkheid
4.46.
Niet in geschil is dat ASML sinds 1 januari 2010 niet langer beschikt over een licentie op immersie-octrooien van Nikon, met uitzondering van de ‘eeuwig durende licentie’ voor Class A octrooien (waaronder begrepen geconverteerde Class B en C octrooien). Evenmin is in geschil dat de overgangsperiode waarin Nikon en ASML hun wederzijdse octrooien niet jegens elkaar zouden handhaven, op 31 december 2014 is geëindigd (zie r.o. 2.9.1). ASML stoelt haar betoog dat handhaving van (niet-gelicentieerde) octrooien in strijd is met de redelijk en billijkheid bij pleidooi voor een belangrijk deel op het (bij antwoord ten aanzien van het mededingingsrecht gebezigde) onjuiste uitgangspunt dat de door Nikon ingeroepen octrooien in feite standaard-essentieel zijn voor immersie-lithografiemachines en op de daaruit voortvloeiende aanname dat de met betrekking tot SEP’s ontwikkelde jurisprudentie, die meebrengt dat Nikon verplicht zou zijn om op eerlijke, redelijke en niet discriminatoire (in het Engels afgekort als FRAND; Fair Reasonable and Non-Discrimatory) voorwaarden een licentie aan ASML te verlenen, in deze zaak moet worden toegepast. Naar Nikon terecht aanvoert, is in dit geval geen sprake van een standaard zodat de ingeroepen octrooien geen SEP’s kunnen zijn en heeft Nikon geen FRAND-verklaring afgelegd.
4.47.
Dat het voor ASML moeilijk zou zijn om met een zogenoemde design-around om die octrooien heen te werken – dit wordt door Nikon betwist en ASML’s deskundige Ronse15.heeft dit slechts voor drie (van de elf) octrooien betoogd – maakt niet dat sprake is van ‘de facto’ SEP’s. Dat duidt eerder op het belang van de octrooien voor de toegepaste technologie. Het staat Nikon als octrooihouder in principe – behoudens de in r.o. 4.44 genoemde uitzonderingsgevallen – vrij om haar octrooi te handhaven en om al dan niet en onder voorwaarden die zij wenselijk acht, een licentie te verlenen. Het enkele feit dat tussen partijen eerder een CLA van kracht was maakt dit niet anders. De CLA was uitdrukkelijk in tijd beperkt en het is in beginsel aan ASML om als gebruiker van geoctrooieerde technologie ervoor te zorgen dat zij tijdig over een licentie beschikt.
4.48.
Voor zover ASML betoogt dat handhaving van de octrooien in dit geval in strijd is met de redelijkheid en billijkheid (dan wel met het mededingingsrecht, zoals betoogd in de conclusie van antwoord) omdat de materie waarop de door Nikon ingeroepen octrooien zien, in feite dezelfde is als die waarvoor een eeuwig durende licentie is verleend, is die stelling in zijn algemeenheid reeds verworpen in de arbitrage-beslissing van 17 oktober 2016. Of in een specifiek geval sprake is van het opnieuw octrooieren van dezelfde uitvinding, kan niet in het kader van een algemeen handhavingsverbod beoordeeld worden, maar dient te worden vastgesteld voor ieder ingeroepen octrooi afzonderlijk in het kader van de beoordeling van de inbreuk (uitputting) dan wel geldigheid (nieuwheid).
4.49.
Wanneer het hiervoor als onjuist beoordeelde uitgangspunt dat sprake is van (de facto) SEP’s, buiten beschouwing wordt gelaten, heeft ASML – mede gelet op de betwisting door Nikon – niet, althans onvoldoende, toegelicht dat Nikon zich tijdens de onderhandelingen met ASML, of anderszins, zodanig heeft gedragen, dan wel dat sprake is van zodanige omstandigheden, dat het handhaven van haar octrooien in strijd met de redelijkheid en billijkheid is. In het bijzonder kan niet worden vastgesteld dat dit misbruik van bevoegdheid oplevert, dat mogelijke inbreuken op grond van zwaarwegende maatschappelijke belangen behoren te worden geduld, dan wel dat handhaving strijd met de pre- of postcontractuele goede trouw oplevert, althans, dat Nikon het recht om te handhaven heeft verwerkt. Daartoe is het volgende redengevend.
4.50.
De uitoefening van een bevoegdheid kan alleen dan misbruik in de zin van art. 3:13 BW opleveren wanneer deze in hoge mate onredelijk en onbillijk is. De wet noemt als voorbeelden het gebruik van een bevoegdheid (a) met geen ander doel dan een ander te schaden of (b) met een ander doel dan waarvoor zij is verleend of (c) in geval men, in aanmerking nemende de onevenredigheid tussen het belang bij de uitoefening en het belang dat daardoor wordt geschaad, naar redelijkheid niet tot die uitoefening had kunnen komen (art. 3:13 lid 2). ASML’s stellingen, daaronder begrepen die met betrekking tot de gestelde disproportionaliteit, zien uitsluitend op de onder (c) genoemde situatie, de onevenredigheid tussen de wederzijdse belangen. Een octrooirecht is een recht om exclusief, met uitsluiting van anderen, een bepaald voortbrengsel of een bepaalde werkwijze toe te passen gedurende twintig jaar vanaf de aanvraagdatum. De waarde daarvan ligt in de exclusiviteit en die kan uitsluitend met een verbod worden geeffectueerd. Dat de ingeroepen octrooien, naar ASML aanvoert, maar op een klein onderdeel van de lithografiemachines zien, maakt dit, nog daar gelaten dat dit niets zegt over het relatieve belang van die technologie, niet anders.
Nikon heeft het recht om haar octrooien jegens haar enige concurrent op de markt van immersie-lithografiemachines te handhaven, zeker nu zij, naar zij aanvoert, bezig is om haar eigen marktaandeel uit te breiden, waartoe zij onlangs een reorganisatie heeft doorgevoerd. Dat ASML van die handhaving schade ondervindt, maakt mogelijke handhaving evenmin tot misbruik van bevoegdheid. Daarbij is van belang dat de gestelde gevolgen voor ASML bij handhaving van een verbod, zoals voorgespiegeld in het rapport van Oxera – [...vertrouwelijk...] – niet geloofwaardig worden geacht. De rechtbank is met Nikon van oordeel dat dit rapport voor een belangrijk deel berust op speculatie. Zo wordt daarin geen rekening gehouden met de belangen van Nikon en de economische gevolgen voor haar bij het uitspreken of juist achterwege laten van een handhavingsverbod. Ook wordt eraan voorbij gegaan dat een mogelijk verbod (hoofdzakelijk) ziet op immersie-lithografiemachines, terwijl droge lithografiemachines en EUV-lithografiemachines, die ASML eveneens op de markt brengt (voor wat betreft de EUV machines sinds 2017), door een verbod niet geraakt worden.
4.51.
Ten aanzien van (de belangenafweging in het kader van) het beroep op de Europeesrechtelijke proportionaliteitstoets wordt als volgt overwogen. Naar ASML terecht aanvoert, werkt deze toets door in het Nederlandse recht, zodat de rechtbank, nu ASML aanvoert dat handhaving van het octrooirecht in dit geval afstuit op diverse grondrechten, dient te onderzoeken of daarvan in dit geval sprake is.16.Daarbij dient tot uitgangspunt dat intellectuele eigendomsrechten, waaronder het octrooirecht, deel uitmaken van het fundamentele recht op eigendom dat is gewaarborgd in art. 1 van het Eerste Protocol bij het EVRM en art. 17 van het Handvest van de grondrechten van de Europese Unie (hierna: Handvest). In dit geval kan niet worden vastgesteld dat een mogelijk verbod de financiële, economische en maatschappelijke gevolgen heeft die ASML voorspiegelt (onder meer in het rapport van Oxera), te weten (zoals reeds aangestipt) dat een verbod, kort gezegd, ertoe zal leiden dat ASML geen lithografiemachines meer op de markt zal brengen en dat dit wereldwijd gevolgen zal hebben voor de productie van halfgeleiders en daarmee voor de productie van alle apparaten waarin halfgeleiders zijn verwerkt. Dit brengt mee dat evenmin vaststaat dat het gestelde effect hiervan op de werkgelegenheid (schending van het recht op werk van art. 15 Handvest), op de vrijheid van ondernemerschap (art. 16 Handvest), op de vrijheid van wetenschap (art. 13 Handvest) en/of op de vrijheid van informatie (art. 11 Handvest), zich zal voordoen. Van belang in dit verband is dat ASML zelf expliciet aangeeft dat de soep niet zo heet zal worden gegeten als zij door Oxera wordt opgediend, […vertrouwelijk…], maar veeleer de beweerdelijk onredelijke licentievoorwaarden van Nikon (schoorvoetend) zal accepteren. Reeds omdat niet kan worden vastgesteld dat mogelijke handhaving van octrooirechten negatieve gevolgen zal hebben voor de door ASML genoemde grondrechten, dient de belangenafweging tussen deze grondrechten in deze omstandigheden uit te vallen in het voordeel van Nikon: de ingeroepen grondrechten rechtvaardigen geen inbreuk op het octrooirecht en kunnen geen grondslag vormen voor een handhavingsverbod.
4.52.
Het beroep op een plicht tot gedogen van octrooi inbreuk wegens zwaarwegende maatschappelijke belangen (art. 6:168 BW)17.komt naar het oordeel van de rechtbank in feite neer op het vorderen van een dwanglicentie. Het octrooirecht kent daartoe in art. 57 ROW, een specifieke regeling, die er, kort gezegd, op neer komt dat de Minister indien het algemeen belang dit vergt, een licentie kan verlenen die de octrooihouder zich moet laten welgevallen. Voor octrooien met betrekking tot halfgeleiders, waaronder de octrooien die Nikon in Nederland tegen ASML inroept naar het oordeel van de rechtbank gerekend moeten worden, geldt echter een uitzondering. Deze uitzondering, opgenomen in art. 57a ROW, luidt:
‘In afwijking van artikel 57 kan een gedwongen licentie onder een octrooi op het gebied van de halfgeleiderstechnologie alleen worden verleend voor niet-commercieel gebruik door de overheid of voor het tegengaan van een gedraging waarvan na een rechterlijke of administratieve procedure is vastgesteld dat deze concurrentiebeperkend is.’
Voor zover de rechtbank al bevoegd is om een dwanglicentie te verlenen voordat daarop door de Minister is beslist (zie art. 58 ROW en r.o. 6.20 rechtbank Den Haag 13 maart 2010, Philips/Kassetten18.), zal eerst moeten worden vastgesteld dat de weigering van een licentie concurrentiebeperkend is. ASML heeft niet, althans onvoldoende, gesteld om te kunnen aannemen dat dit het geval is (zie ook 4.60). ,evenmin in hoeverre plaats is voor een beroep op . In ieder geval heeft ASML onvoldoende gesteld. Zij heeft evenmin, mede gelet op de betwisting door Nikon, voldoende toegelicht dat sprake is van zwaarwegende maatschappelijke belangen die nopen tot een handhavingsverbod. De door ASML in dit verband genoemde belangen kwalificeren veeleer als bedrijfsbelangen.
4.53.
ASML heeft nog aangevoerd dat Nikon lange tijd gedoogd heeft dat ASML de octrooien toepaste, zodat het niet redelijk is om dit nu te verbieden. Die stelling mist feitelijke grondslag. Dit ‘gedogen’ was tot eind december 2014 gebaseerd op partijafspraken neergelegd in de CLA en daarna, tot eind oktober 2016, een uitvloeisel van die afspraken gelet op de door ASML (en Zeiss) geëntameerde arbitrage procedure en de als gevolg daarvan uitgestelde uitoefening van de conversierechten. ASML heeft geen feiten of omstandigheden gesteld waaruit volgt dat Nikon heeft toegezegd, of de indruk heeft gewerkt, dat zij haar octrooien bij het uitblijven van een licentieovereenkomst niet zou handhaven. De stelling – die ook moeilijk is te rijmen met het in haar jaarverslagen verkondigde (vgl. 2.13) – wordt dan ook verworpen.
4.54.
Dat het ontbreken van enige onderhandelingsbereidheid onredelijk/onrechtmatig is, kan, mede gelet op de betwisting door Nikon, evenmin worden vastgesteld, reeds omdat niet vaststaat dat bij Nikon geen enkele bereidheid bestaat om daadwerkelijk te onderhandelen over een nieuwe kruislicentie. Partijen hebben over en weer voorstellen gedaan die voor de andere partij niet acceptabel zijn. Beide partijen hebben, ook tijdens de pleidooi-zitting, te kennen gegeven dat dit een openingsbod betrof, waarover nog onderhandeld kan worden. Niet valt in te zien waarom het Nikon vervolgens – zolang geen nieuwe licentie tot stand is gekomen – niet vrij zou staan om ASML te beletten inbreuk te maken op octrooien waarvoor zij geen licentie heeft. Het door ASML voorts in dit kader gehanteerde argument dat Nikon met de gevraagde verboden in wezen met een pistool dreigt waardoor zij gedwongen wordt om onredelijke voorwaarden te accepteren, kan niet als in strijd met de redelijkheid en billijkheid worden gekenschetst. Aangezien er van een (pseudo) SEP geen sprake is, met bijbehorende verklaring dat een licentie (onder FRAND-voorwaarden) zal worden verleend, geldt de hoofdregel dat een (geldig) octrooirecht een monopolie geeft, welk monopolie ASML zonder licentie heeft te respecteren. Door niet tijdig een licentie te verkrijgen maar wel geoctrooieerde techniek toe te passen, heeft ASML in wezen haar eigen “pistool” gecreëerd.
4.55.
Aan ASML’s stelling dat de door Nikon ‘gedicteerde licentie’ onredelijk en excessief is, gaat de rechtbank voorbij, reeds omdat het geen eindbod van Nikon betreft. Ook het met een uitvoerig deskundigenrapport onderbouwde betoog dat het niet-accepteren door Nikon van het gestelde redelijke licentieaanbod van ASML onrechtmatig want in strijd met de redelijkheid en billijkheid is, stuit af op het onjuiste uitgangspunt dat onder FRAND-voorwaarden gelicentieerd zou moeten worden. Van anderszins strijd met de redelijkheid en billijkheid is, gelet op de vrijheid van onderhandelen, op dit moment niet gebleken.
4.56.
Gelet op de klaarblijkelijke impasse tussen partijen in de licentieonderhandelingen, hecht de rechtbank eraan in het kader van de beoordeling van de beperkende werking van de redelijkheid en billijkheid, nog het volgende op te merken.
- -
i) […vertrouwelijk…] overweegt de rechtbank dat het in het algemeen juister lijkt om aan te sluiten bij de waarde die de geoctrooieerde technologie heeft voor de lithografiemachine. Die waarde kan worden gerelateerd aan de meerprijs die de afnemers voor de toevoeging van immersietechnologie willen betalen […vertrouwelijk…] (vgl. r.o. 4.10, rechtbank Den Haag 8 februari 2017, Philips/Archos19). […vertrouwelijk…]
- -
ii) Het komt redelijk voor dat de omstandigheid dat ASML octrooien in kruislicentie heeft te geven, in de onderhandelingen wordt verdisconteerd.
(iii) […vertrouwelijk…]
4.57.
Aan de als subsidiaire grondslag aangevoerde gestelde strijdigheid met de precontractuele goede trouw, gaat de rechtbank voorbij omdat op de precontractuele fase, die naar de rechtbank begrijpt verband houdt met de CLA, het recht van de staat van New York dan wel Japans recht van toepassing is. In die rechtsstelsels bestaat, naar Nikon onbetwist heeft gesteld, geen vergelijkbaar leerstuk. Voor zover ASML’s betoog aldus moet worden begrepen dat dit verweer (ook) ziet op de onderhandelingen over een nieuwe licentieovereenkomst over (deels Nederlandse) octrooirechten in Nederland, en dat daarop Nederlands recht van toepassing zou zijn, faalt dit verweer eveneens. Wat daar ook van zij – Nikon betwist onder meer dat die onderhandelingen zijn afgebroken – gesteld noch gebleken is dat Nikon bij ASML een vast en gerechtvaardigd vertrouwen heeft gewekt dat hoe dan ook een licentieovereenkomst tot stand zou komen. Bovendien heeft Nikon ook een licentieaanbod gedaan.
4.58.
Het meer subsidiair gedane beroep op rechtsverwerking faalt. Uitgangspunt is dat enkel tijdsverloop geen toereikende grond oplevert voor het aannemen van rechtsverwerking. Daartoe is vereist de aanwezigheid van bijzondere omstandigheden als gevolg waarvan hetzij bij de schuldenaar het gerechtvaardigd vertrouwen is gewekt dat de schuldeiser zijn aanspraak niet (meer) geldend zal maken, hetzij de positie van de schuldenaar onredelijk zou worden benadeeld of verzwaard in geval de schuldeiser zijn aanspraak alsnog geldend zou maken. ASML heeft niet gemotiveerd gesteld dat Nikon bij haar het gerechtvaardigd vertrouwen heeft gewekt dat Nikon haar rechten jegens haar, ook na afloop van de Transition Period, niet geldend zou maken. Dat wordt door Nikon betwist. Die stelling is bovendien niet verenigbaar met de tekst van de CLA (zie 2.9.2 en 2.9.3) en met de mededelingen van ASML aan haar aandeelhouders, waaruit blijkt dat zij rechtsmaatregelen van Nikon verwachtte (zie 2.13). Evenmin heeft ASML voldoende gesteld om te kunnen aannemen dat zij onredelijk in haar positie is benadeeld doordat Nikon haar aanspraken alsnog geldend maakt. Zij heeft niet toegelicht dat zij enig nadeel heeft geleden van de gestelde late handhaving van haar rechten door Nikon, bijvoorbeeld doordat zij dientengevolge in haar bewijspositie is geschaad dan wel dat haar de mogelijkheid is ontnomen om op eventuele (financiële) gevolgen van die handhaving te anticiperen. Ook hier getuigen in ieder geval de jaarverslagen van het tegendeel. Daar komt bij dat het tijdsverloop tussen de eerste mogelijkheid voor Nikon om na afloop van de CLA een procedure aanhangig te maken (te weten na het uitoefenen van de conversierechten eind oktober 2016), en het aanhangig maken van de onderhavige procedure (de beschikking van de voorzieningenrechter is van eind april 2017) betrekkelijk kort is.
4.59.
Het voorgaande leidt tot de slotsom dat niet kan worden vastgesteld dat handhaving door Nikon van een mogelijk jegens ASML uit te spreken verbod, op dit moment in strijd is met de redelijkheid in billijkheid, zodat dit geen grondslag vormt voor toewijzing van het gevorderde handhavingsverbod. Het feit dat ASML aan toewijzing van het handhavingsverbod de voorwaarde heeft toegevoegd dat zij een vergoeding aan Nikon betaalt, maakt dit naar het oordeel van de rechtbank niet anders, reeds omdat niet vaststaat – mede omdat daarover, gezien het late moment in de procedure van deze eiswijziging, niet is gedebatteerd – dat het voorgestelde bedrag voor Nikon aanvaardbaar is.
handhaving in strijd met het mededingingsrecht?
4.60.
Voor zover ASML haar betoogt handhaaft dat Nikon misbruik heeft gemaakt van een machtspositie in de zin van art. 24 Mededingingswet of art. 102 VwEU19., moet dat betoog worden verworpen. Dit beroep strandt reeds op het ontbreken van een gedegen marktafbakening en analyse, die onontbeerlijk zijn om een machtspositie te kunnen vaststellen. ASML heeft – mede gelet op de betwisting door Nikon – niet toegelicht waarom de markt van (immersie-)lithografiemachines als zodanig niet relevant is. Haar insteek om de relevante markt te beperken tot een ‘upstream-technologie-markt’ die uitsluitend ziet op technologie/octrooien die betrekking hebben op immersie-lithografiemachines, ligt niet voor de hand. Niet in geschil is dat ASML wereldwijd een marktaandeel van 80 % heeft in de markt van immersie-lithografiemachines.
4.61.
Nu geen van de gronden van ASML slagen, wordt het gevorderde handhavingsverbod afgewezen.
proceskosten
4.62.
ASML zal als de grotendeels in het ongelijk gestelde partij in de proceskosten in reconventie worden veroordeeld. Nikon vordert kosten op de voet van art. 1019h Rv. De rechtbank moet, ongeacht de partijafspraak, ambtshalve beoordelen of 1019h Rv op de procedure in reconventie van toepassing is. Voor vordering C, een als verweer opgeworpen nietigheidsactie, is dit zonder meer het geval.20.De kosten daarvan zijn echter volledig in conventie gemaakt. De kosten in reconventie zien uitsluitend op het handhavingsverbod. Nu die actie rechtstreeks voortvloeit uit Nikon’s (dreiging met) handhaving van haar octrooirechten jegens ASML, acht de rechtbank met partijen 1019h Rv van toepassing. De rechtbank begroot de kosten tot op heden aan de zijde van Nikon conform de partijafspraak op € 625.000 in reconventie, inclusief verschotten. De gevorderde wettelijke rente wordt toegewezen zoals in het dictum verwoord.
5. De beslissing
De rechtbank
in conventie
in het bevoegdheidsincident
5.1.
wijst de vorderingen af,
5.2.
veroordeelt ASML in de proceskosten tot op heden aan de zijde van Nikon begroot op nihil,
in het incident tot het treffen van voorlopige voorzieningen
5.3.
wijst de vorderingen af,
5.4.
veroordeelt Nikon in de proceskosten tot op heden aan de zijde van ASML begroot op nihil,
in de hoofdzaak
5.5.
wijst de vorderingen af, behoudens het in 5.6 bepaalde;
5.6.
houdt de beslissing over vordering (ii) aan voor zover deze ziet op onrechtmatig handelen met betrekking tot het faciliteren van inbreuk op buitenlandse delen van EP 003;
5.7.
bepaalt dat de meest gerede partij de zaak op de rol kan plaatsen na het in r.o. 4.35, laatste zin, nader beschreven moment,
5.8.
veroordeelt Nikon in de proceskosten, aan de zijde van ASML tot op heden begroot op € 625.000,
in reconventie
5.9.
vernietigt het Nederlandse deel van EP 1 652 003;
5.10.
wijst het meer of anders gevorderde af,
5.11.
veroordeelt ASML in de proceskosten, aan de zijde van Nikon tot op heden begroot op € 625.000, te vermeerderen met de wettelijke rente daarover, berekend over het tijdvak van de vijftiende dag na heden tot de dag van volledige betaling,
in conventie en reconventie
5.12.
verbiedt partijen op de voet van art. 29 lid 1 onder b Rv om mededelingen te doen aan derden over de inhoud van de in r.o. 4.6 genoemde producties,
5.13.
verklaart de proceskostenveroordelingen uitvoerbaar bij voorraad.
Dit vonnis is gewezen door mr. E.F. Brinkman, mr. M.E. Kokke en mr.ir. J.H.F. de Vries en in het openbaar uitgesproken op 18 juli 2018.
Voetnoten
Voetnoten Uitspraak 18‑07‑2018
Wetboek van Burgerlijke Rechtsvordering
In figuur 3 is de W(afer) niet heel nauwkeurig aangeduid. Partijen zijn het erover eens dat de wafer/het substraat niet het gearceerde gebied boven de plaat is (gearceerd duidt immers op immersiewater) maar de niet gearceerde plaat net boven de W.
zie conclusie van antwoord sub 247
Burgerlijk Wetboek
Verordening (EU) Nr. 1215/2012 van het Europees Parlement en de Raad van 12 december 2012 betreffende de rechterlijke bevoegdheid, de erkenning en de tenuitvoerlegging van beslissingen in burgerlijke en handelszaken (de ‘herschikte EEX-Verordening’)
Solvay/Honeywell, HvJ 12 juni 2012, ECLI:EU:C:2012:445
HR 30 november 2007, ECLI:NL:HR:2007:BA9608 (Roche/Primus II)
Zie voetnoot 7
Rijksoctrooiwet 1995
GP56; met name parr. 12 en 21
GP57, par. 9
EP81
Richtlijn 2004/48/EG van het Europees Parlement en de Raad van 29 april 2004 betreffende de handhaving van intellectuele-eigendomsrechten
GP53
Vgl. HR 3 april 2015, ECLI:NL:HR:2015:841 (GS/Sanoma)
in de pleitnota van ASML (sub 106) aangeduid als ‘algemeen belang’
IEPT20100317
Verdrag betreffende de werking van de Europese Unie
Gerechtshof Den Haag 26 februari 2013 ECLI:NL:GHDHA:2013:BZ1902 (Danisco/Novozymes)