Rb. Den Haag, 06-09-2017, nr. C/09/513279 / HA ZA 16-741
ECLI:NL:RBDHA:2017:10121
- Instantie
Rechtbank Den Haag
- Datum
06-09-2017
- Zaaknummer
C/09/513279 / HA ZA 16-741
- Vakgebied(en)
Intellectuele-eigendomsrecht (V)
- Brondocumenten en formele relaties
ECLI:NL:RBDHA:2017:10121, Uitspraak, Rechtbank Den Haag, 06‑09‑2017; (Bodemzaak, Eerste aanleg - meervoudig)
ECLI:NL:RBDHA:2017:6136, Uitspraak, Rechtbank Den Haag, 07‑06‑2017; (Bodemzaak, Eerste aanleg - meervoudig)
Uitspraak 06‑09‑2017
Inhoudsindicatie
Tussentijds hoger beroep opengesteld. Bijzondere omstandigheid: provisionele maatregel gelast in zelfde tussenvonnis waartegen hoger beroep wordt ingesteld. Proceseconomie gebaat bij gelijktijdige behandeling appèl in hoofdzaak. Hoofdzaak was al geschorst
Partij(en)
vonnis
RECHTBANK DEN HAAG
Team handel
Zittingsplaats Den Haag
zaaknummer / rolnummer: C/09/513279 / HA ZA 16-741
Vonnis van 6 september 2017
in de zaak van
de vennootschap naar vreemd recht
CARL ZEISS MEDITEC AG,
gevestigd te Jena, Duitsland,
eiseres in conventie,
verweerster in (voorwaardelijke) reconventie,
advocaat mr. J.A. Dullaart te Naaldwijk,
tegen
1. de besloten vennootschap met beperkte aansprakelijkheid
VSY BIOTECHNOLOGY B.V.,
gevestigd te Amsterdam,
2. de rechtspersoon naar vreemd recht
VSY BIYOTEKNOLOJI VE ILAC SANAYI A.S.,
gevestigd te Istanbul, Turkije,
3. de rechtspersoon naar vreemd recht
VSY VARLIBASLAR SAGLIK YATIRIMLARI VE HIZMETLERI,
gevestigd te Istanbul, Turkije,
4. de rechtspersoon naar vreemd recht
VSY OPHTALMOLOGY SPAIN SL (tevens h.o.d.n. VSY BIOTECHNOLOGY IBERICA),
gevestigd te Barcelona,
gedaagden in conventie,
eiseressen in (voorwaardelijke) reconventie,
advocaat mr. W.J.G. Maas te Eindhoven.
Partijen zullen hierna Carl Zeiss en VSY c.s. genoemd worden.
1. De procedure
1.1.
Het verloop van de procedure blijkt uit:
- het tussenvonnis van 7 juni 20171.(hierna ook: het tussenvonnis);
- -
het verzoek van Carl Zeiss tot openstelling van tussentijds hoger beroep, ingekomen ter griffie op 24 augustus 2017;
- -
de reactie van VSY c.s., ingekomen ter griffie op 30 augustus 2017;
- -
het verzoek van de rechtbank om aanvullende informatie van VSY c.s. van 1 september 2017;
- -
de schriftelijke reactie daarop van VSY c.s. van 1 september 2017.
1.2.
Ten slotte is vonnis bepaald.
2. De verdere beoordeling
in conventie en reconventie
2.1.
Carl Zeiss verzoekt dat op de voet van artikel 337, lid 2 van het Wetboek van Burgerlijke Rechtsvordering (Rv) wordt bepaald dat tussentijds hoger beroep kan worden ingesteld tegen het tussenvonnis. VSY c.s. verzet zich tegen toewijzing van het verzoek.
2.2.
Bij het nemen van de beslissing op het verzoek wordt in aanmerking genomen dat het verzoek ertoe strekt een uitzondering te maken op de in artikel 337 lid 2 Rv neergelegde hoofdregel dat hoger beroep van tussenvonnissen slechts is toegestaan tegelijk met het hoger beroep tegen het eindvonnis. Uit de wetsgeschiedenis van deze bepaling kan worden afgeleid dat het de bedoeling is om bij het toestaan van tussentijds beroep een grote mate van terughoudendheid te betrachten en dat de beslissing daartoe afhankelijk is van de vraag of in het voorliggende geval sprake is van bijzondere omstandigheden die afwijking van de in artikel 337 lid 2 Rv neergelegde hoofdregel doelmatiger maken.
2.3.
In de onderhavige zaak heeft Carl Zeiss onder meer gesteld dat VSY c.s. inbreuk maakt op het Nederlandse deel van haar octrooi dat nader is beschreven in r.o. 2.2 van het tussenvonnis (hierna: ‘EP 493’). De rechtbank heeft Carl Zeiss met betrekking tot die octrooi-inbreuk in de hoofdzaak in het gelijk gesteld voor zover het Nederlandse deel van EP 493 betreft en toewijzing van haar vorderingen voor zover die op dat deel zijn gebaseerd in het vooruitzicht gesteld. De beslissing daarop is aangehouden omdat diezelfde vorderingen zich ook uitstrekken tot buitenlandse delen van EP 493 en er, alvorens de rechtbank daarop kan beslissen, duidelijkheid dient te zijn over de geldigheid van die buitenlandse delen. Vanwege die aanhouding en de gestelde voortdurende inbreuk heeft de rechtbank in het zelfde vonnis, in het incident tot het treffen van een provisionele voorziening, aan de verschillende gedaagden (verschillende) verboden opgelegd om voor de duur van het geding in de hoofdzaak inbreuk te maken op EP 493 in Nederland en/of andere in het octrooi gedesigneerde landen. Desgevraagd heeft VSY c.s. op 1 september 2017 verklaard hoger beroep in te stellen tegen die incidentele beslissing.
2.4.
Met name vanwege het instellen van hoger beroep door VSY c.s. tegen de incidentele beslissing in het tussenvonnis is de rechtbank van oordeel dat in dit geval sprake is van bijzondere omstandigheden die een uitzondering op de hiervoor in 2.2 weergegeven hoofdregel rechtvaardigen. In het hoger beroep in het incident zullen immers grotendeels dezelfde materiële geschilpunten aan de orde komen als aan de orde in de hoofdzaak. Door het openstellen van tussentijds hoger beroep kunnen die gelijktijdig worden beoordeeld in de hoofdzaak en het incident. Daarmee is de procedurele doelmatigheid gediend. Dat het openstellen van tussentijds hoger beroep de procedure zal vertragen, vormt in dit geval geen reden om van het toestaan daarvan af te zien, omdat de procedure al is geschorst in afwachting van buitenlandse beslissingen. Die beslissingen kunnen nog geruime tijd op zich laten wachten.
2.5.
VSY c.s. heeft bezwaar gemaakt tegen openstelling van het hoger beroep. Nu zij zelf echter hoger beroep in zal stellen van het vonnis in het incident tot het treffen van een provisionele voorziening, wordt op de in 2.4 beschreven gronden aan die bezwaren voorbij gegaan.
2.6.
Gelet op dit een en ander zal de rechtbank het verzoek tot openstellen van tussentijds beroep honoreren.
3. De beslissing
De rechtbank
in de hoofdzaak
3.1.
bepaalt dat van het op 7 juni 2017 tussen Carl Zeiss en VSY c.s. gewezen tussenvonnis tussentijds hoger beroep zal kunnen worden ingesteld;
3.2.
houdt iedere verdere beslissing aan;
3.3.
verwijst de zaak hangende het hoger beroep in afwachting van de procedure in hoger beroep naar de parkeerrol van woensdag 4 april 2018.
Dit vonnis is gewezen door mr. F.M. Bus, mr. M. Knijff en mr. P. Burgers en in het openbaar uitgesproken op 6 september 2017.
Voetnoten
Voetnoten Uitspraak 06‑09‑2017
Uitspraak 07‑06‑2017
Inhoudsindicatie
Europees octrooi op intra-oculaire lens. Uitleg conclusies. Lens gedaagden valt onder beschermingsomvang octrooi. Nederlands deel geldig: nawerkbaar, nieuw en inventief. Provisioneel inbreukverbod in afwachting nietigheidsoordeel buitenlandse delen.
Partij(en)
vonnis
RECHTBANK DEN HAAG
Team handel
Zittingsplaats Den Haag
zaaknummer / rolnummer: C/09/513279 / HA ZA 16-741
Vonnis van 7 juni 2017
in de zaak van
de vennootschap naar vreemd recht
CARL ZEISS MEDITEC AG,
gevestigd te Jena, Duitsland,
eiseres in conventie,
verweerster in (voorwaardelijke) reconventie,
advocaat mr. J.A. Dullaart te Naaldwijk,
tegen
1. de besloten vennootschap met beperkte aansprakelijkheid
VSY BIOTECHNOLOGY B.V.,
gevestigd te Amsterdam,
2. de rechtspersoon naar vreemd recht
VSY BIYOTEKNOLOJI VE ILAC SANAYI A.S.,
gevestigd te Istanbul, Turkije,
3. de rechtspersoon naar vreemd recht
VSY VARLIBASLAR SAGLIK YATIRIMLARI VE HIZMETLERI TURIZM SANAYI VE DIS TIC. LTD. STI.,
gevestigd te Istanbul, Turkije,
4. de rechtspersoon naar vreemd recht
VSY OPHTALMOLOGY SPAIN SL (tevens h.o.d.n. VSY BIOTECHNOLOGY IBERICA),
gevestigd te Barcelona, Spanje,
gedaagden in conventie,
eiseressen in (voorwaardelijke) reconventie,
advocaat mr. A.M.E. Verschuur te Amsterdam.
Eiseres zal hierna Carl Zeiss genoemd worden. Gedaagden zullen hierna samen VSY (in de derde persoon enkelvoud) genoemd worden en afzonderlijk VSY B.V., VSY Biyoteknoloji, VSY Varlibaslar en VSY Iberica genoemd worden. VSY Biyoteknoloji en VSY Varlibaslar zullen samen VSY Turkije genoemd worden.
Voor Carl Zeiss hebben als behandelend advocaat opgetreden mrs. G. Theuws, L.E. Dijkman en B.J. van den Broek, advocaten te Amsterdam, en als octrooigemachtigde A. Lin PhD. Voor VSY heeft naast mr. Verschuur voornoemd als behandelend advocaat opgetreden mr. T.H.B. Iserief, advocaat te Amsterdam, en als octrooigemachtigde ir. J.M.G. Dohmen.
1. De procedure
1.1.
Het verloop van de procedure blijkt uit:
- -
de beschikking van de voorzieningenrechter van deze rechtbank van 9 december 2015, waarbij is toegestaan VSY te dagvaarden in een procedure volgens het versneld regime in octrooizaken;
- -
de dagvaarding van 15 december 2015;
- -
de akte houdende overlegging producties zijdens Carl Zeiss van 22 juni 2016 met producties 1 tot en met 11;
- -
de incidentele conclusie houdende verzoek tot schorsing ex art. 83 lid 4 ROW 1995 tevens houdende bevoegdheidsexceptie ex art. 11 Rv zijdens VSY van 22 juni 2016, met producties 1 t/m 7;
- -
de conclusie van antwoord in het incident houdende verzoek tot schorsing ex artikel 83 lid 4 ROW 1995 tevens houdende bevoegdheidsexceptie ex artikel 11 Rv zijdens Carl Zeiss van 13 juli 2016;
- -
de rolbeslissing van 15 juli 2016, waarin is bepaald dat op de incidenten gelijktijdig met het vonnis in de hoofdzaak zal worden beslist;
- -
de brief van mr. Verschuur van 20 juli 2016 aan de rechtbank met het verzoek tussentijds te beslissen in het schorsingsincident;
- -
de brief van de rolrechter van 2 augustus 2016, waarin het verzoek is afgewezen onder verwijzing naar de rolbeslissing van 15 juli 2016;
- -
de conclusie van antwoord in conventie tevens houdende voorwaardelijke conclusie van eis in reconventie tevens houdende overlegging producties zijdens VSY van 31 augustus 2016, met producties 8 tot en met 19;
- -
de conclusie van antwoord in reconventie zijdens Carl Zeiss van 26 oktober 2016;
- -
de akte houdende overlegging aanvullende producties zijdens Carl Zeiss van 3 februari 2017, ingekomen op 7 december 2016, met producties 12 t/m 16;
- -
de akte houdende overlegging nadere productie zijdens VSY van 3 februari 2017, ingekomen op 7 december 2016, met productie 20;
- -
de brief van mr. Verschuur van 30 december 2016, ingekomen op diezelfde dag, waarin zij namens VSY bezwaar maakt tegen de toelating van producties EP12 en EP13 in het geding;
- -
de brief van mr. Theuws van 3 januari 2017, ingekomen op diezelfde dag, met een reactie op het bezwaar;
- -
de brief van mr. Verschuur van 4 januari 2017, ingekomen op 5 januari 2017, met een reactie op de brief van mr. Theuws van 3 januari 2017;
- -
de akte houdende overlegging reactieve productie zijdens Carl Zeiss van 3 februari 2017, ingekomen op 5 januari 2017, met productie 17;
- -
de brieven van mr. Verschuur van 6 januari 2017 waarin zij aankondigt dat aan de zijde van VSY ter zitting aanwezig zullen zijn de deskundigen Ürey (die overigens niet aanwezig is geweest) en Holmström;
- -
de akte houdende overlegging reactieve productie tevens houdende uitbreiding van de grondslag van de voorwaardelijke eis in reconventie zijdens VSY van 3 februari 2017, ingekomen op 9 januari 2017, met productie 21;
- -
de brief van mr. Theuws van 20 januari 2017 aan de rechtbank, waarin hij namens beide partijen meedeelt dat partijen overeenstemming hebben bereikt over de hoogte van de redelijke en evenredige proceskosten en aankondigt dat aan de zijde van Carl Zeiss ter zitting aanwezig zal zijn de deskundige Gerlach;
- -
de mondelinge behandeling van 3 februari 2017 en de ter gelegenheid daarvan overgelegde pleitnotities (waarbij door VSY bezwaar is gemaakt tegen nieuwe stellingen van Carl Zeiss), waarbij in de pleitnotities van Carl Zeiss de voetnoot 6 en de randnummers 104 tot en met 107 en 190 tot en met 197 zijn doorgehaald omdat zij niet zijn gepleit, en in de pleitnotities van VSY de randnummers 81 tot en met 90 en 93 tot en met 98 om dezelfde reden zijn doorgehaald.
1.2.
Ten slotte is vonnis bepaald op heden.
2. De feiten
Eiseres en het octrooi
2.1.
Carl Zeiss houdt zich bezig met het ontwikkelen en verhandelen van lenzen, waaronder zogenaamde intra-oculaire lenzen. Een intra-oculaire lens is een kunstlens die in het menselijk oog wordt geïmplanteerd, welke lens afakisch wordt genoemd wanneer deze ter vervanging van de natuurlijke lens dient.
2.2.
Carl Zeiss is houdster van Europees octrooi EP 2 377 493 (hierna: ‘EP 493’ of ‘het octrooi’). EP 493 heeft betrekking op een ‘method for manufacturing aphakic intraocular lens’. Het octrooi is verleend op 5 augustus 2015 op een aanvrage van 8 april 2009, waarbij de prioriteit is ingeroepen van de Japanse octrooiaanvrage JP 2009001169 die is ingediend op 6 januari 2009. Het octrooi is onder meer van kracht in Nederland, Turkije, Spanje, Oostenrijk, België, Bulgarije, Zwitserland (incl. Liechtenstein), Tsjechië, Denemarken, Finland, Frankrijk, het Verenigd Koninkrijk, Hongarije, Ierland, IJsland, Italië, Monaco, Noorwegen, Polen, Portugal, Zweden, Slovenië en Slowakije (hierna: ‘de Gedesigneerde Landen’). Daarnaast is het Octrooi van kracht in Duitsland. Het Nederlandse deel van EP 493 zal hierna EP 493 (NL) worden genoemd.
2.3.
Tegen het octrooi is op 6 mei 2016 oppositie ingesteld bij het Europees Octrooibureau (EOB) door VSY B.V. In Duitsland heeft Carl Zeiss procedures aanhangig gemaakt tegen VSY B.V. en een Duitse distributeur van VSY B.V. bij het Landgericht Düsseldorf op grond van inbreuk op het Duitse deel van EP 493.
2.4.
De (oorspronkelijke) Engelse tekst van de conclusies van EP 493 luidt als volgt:
Claims
1. A manufacturing method of an aphakic intraocular lens (10) to be set in place in a lens capsule provided with a diffraction grating (22) having a relief pattern (24, 50, 60, 70, 80) extending concentrically on a lens surface (16, 102, 112), characterised in that it comprises the steps of:
adopting various types of reliefs (26, 28) whose first order diffracted lights give respective focal distances different from one another for the relief pattern (24, 50, 60, 70, 80);
setting up a synchronous structure where at least two reliefs (26, 28) are set to overlap with each other in at least a part of an area in a radial direction of the lens (10), and with respect to every grating pitches of one relief (28) having a maximum grating pitch among the reliefs (26, 28) set up in overlap, grating pitches of another relief (26) are overlapped periodically, in order to obtain the relief pattern (24, 50, 60, 70, 80); and forming the resulting relief pattern (24, 50, 60, 70, 80) on the lens surface (16, 102, 112).
2. The manufacturing method of an aphakic intraocular lens (10) according to claim 1, further comprising the step of setting a focal distance for a 0th order light by a refractive surface (16, 114) of the lens (10) a focal distance being different from that of any of first order diffracted lights generated by the various types of reliefs (26, 28).
3. The manufacturing method of an aphakic intraocular lens (10) according to any one of claim 1 or 2, wherein the various types of reliefs (26, 28) are arranged to satisfy a following equation:

where A is a zone constant of the one relief (28), ’a’ is a zone constant of the other relief (26), M is a zone number of the one relief (28), m is a zone number of the other relief (26), and N is a ratio of a focal distance of the one relief (28) relative to that of the other relief (26), which is expressed as:

4. The manufacturing method of an aphakic intraocular lens (10) according to any one of claims 1-3, wherein the various types of reliefs (26, 28) are arranged to satisfy a following equation:

where D is a dimension of the relief depth, is a design wavelength, Nlens is a refractive index of an optical material, and Nmed is a refractive index of a surrounding medium.
5. An aphakic intraocular lens (10) adapted to be set in place in a lens capsule, and provided with a diffraction grating (22) having a relief pattern (24, 50, 60, 70, 80) extending concentrically on a lens surface (16, 102, 112), characterised in that it comprises:
a synchronous structure where various types of reliefs (26, 28) including at least two reliefs (26, 28) whose first order diffracted lights give respective focal distances different from one another are set to overlap with each other in at least a part of an area in a radial direction of the lens (10), and with respect to every grating pitches of one relief (28) having a maximum grating pitch among the reliefs (26, 28) set up in overlap, grating pitches of another relief (26) being overlapped periodically.
6. The aphakic intraocular lens (10) according to claim 5, wherein a focal distance different from that of any first order diffracted light generated by the various types of reliefs (26, 28) is set for a 0th order light by a refractive surface (16) of the lens (10)
7. The aphakic intraocular lens (10) according to claim 6, wherein the lens surface (16) formed with the relief pattern (24, 50, 60, 70, 80) is the refractive surface (16).
8. The aphakic intraocular lens (10) according to any one of claims 5-7, wherein each relief depth of the relief (28) having the maximum grating pitch, which is obtained by overlapping the various types of reliefs (26, 28), is made constant in a zone direction.
9. The aphakic intraocular lens (10) according to claim 8, wherein in each zone in the relief (28) having the maximum grating pitch, another type of relief (26) with at least two relief depths is formed in the area in the radial direction of the lens (10) where the various types of reliefs (26, 28) set up in overlap, and dimensions of the at least two relief depths relative to a virtual base curve surface vary gradually in the zone direction.
10. The aphakic intraocular lens (10) according to claim 8, wherein in each zone in the relief (28) having the maximum grating pitch, another type of relief (26) with at least two relief depths is formed in the area in the radial direction of the lens (10) where the various types of reliefs (26, 28) set up in overlap, and dimensions of the at least two relief depths relative to the virtual base curve surface are set constant in the zone direction.
11. The aphakic intraocular lens (10) according to any one of claims 5-10, wherein each of the various types of reliefs (26, 28) has a ridge line (30) extending circumferentially with a cross-section formed with an acute vertex angle and a valley line (32) extending circumferentially with a cross-section formed with an acute included angle.
12. The aphakic intraocular lens (10) according to any one of claims 5-11, wherein the 0th order light by the refractive surface (16) of the lens (10) is set to a focus for far vision, the first order diffracted light by one type of the relief (26) is set to a focus for near vision, and the first order diffracted light by another type of the relief (28) is set to a focus for intermediate vision.
13. The aphakic intraocular lens (10) according to any one of claims 5-11, wherein the 0th order light by the refractive surface (16) of the lens (10) is set to a focus for near vision, the first order diffracted light by one type of the relief (26) is set to a focus for far vision, and the first order diffracted light by another type of the relief (28) is set to a focus for intermediate vision.
14. The aphakic intraocular lens (10) according to any one of claims 5-13, wherein the various types of reliefs (26, 28) are arranged to satisfy a following equation:

where A is a zone constant of the one relief (28), ’a’ is a zone constant of the other relief (26), M is a zone number of the one relief (28), m is a zone number of the other relief (26), and N is a ratio of a focal distance of the one relief (28) relative to that of the other relief (26), which is expressed as:

15. The aphakic intraocular lens (10) according to any one of claims 5-14, wherein the various types of reliefs (26, 28) are arranged to satisfy a following equation:

where D is a dimension of the relief depth, is a design wavelength, Nlens is a refractive index of an optical material, and Nmed is a refractive index of a surrounding medium.
2.5.
De onbestreden Nederlandse vertaling van de conclusies luidt als volgt:
1. Werkwijze voor het produceren van een afakische intraoculaire lens (10), die in een lenskapsel dient te worden geplaatst, voorzien van een buigingsrooster (22), dat een reliëfpatroon (24, 50, 60, 70, 80) heeft, dat zich concentrisch op een lensoppervlak (16, 102, 112) uitstrekt, gekenmerkt doordat de werkwijze de volgende stappen omvat:
het toepassen van verschillende typen reliëfs (26, 28), waarvan eerste orde afgebogen lichtstralen respectieve brandpuntsafstanden, die van elkaar verschillen, voor het reliëfpatroon (24, 50, 60, 70, 80) geven;
het inrichten van een synchrone structuur, waarbij ten minste twee reliëfs (26, 28) zodanig worden geplaatst, dat zij elkaar overlappen in ten minste een deel van een gebied in een radiale richting van de lens (10), en met betrekking tot elke roosterafstand van één reliëf (28), dat een maximumroosterafstand onder de in overlap geplaatste reliëfs (26, 28) heeft, roosterafstanden van een ander reliëf periodiek worden overlapt, om het reliëfpatroon (24, 50, 60, 70, 80) te verkrijgen; en
het vormen van het resulterende reliëfpatroon (24, 50, 60, 70, 80) op het lensoppervlak (16, 102, 112).
2. Werkwijze voor het produceren van een afakische intraoculaire lens (10) volgens conclusie 1, voorts omvattende de stap van het instellen van een brandpuntsafstand voor een 0-de orde lichtstraal door middel van een brekingsoppervlak (16, 114) van de lens (10), waarbij een brandpuntsafstand verschilt van die van eerste orde afgebogen lichtstralen, die door verschillende typen van reliëfs (26, 28) worden gegenereerd.
3. Werkwijze voor het produceren van een afakische intraoculaire lens (10) volgens één van de conclusies 1 en 2, waarbij de verschillende typen van reliëfs (26, 28) zodanig worden ingericht, dat zij aan een volgende vergelijking voldoen.:
A = (2(m-NM) + a)/N
waarin A een zoneconstante van het ene reliëf (28) is, 'a' een zoneconstante van het andere reliëf (26) is, M een zonenummer van het ene reliëf (28) is, m een zonenummer van het andere reliëf (26) is, en N een verhouding van een brandpunts-afstand van het ene reliëf (28) en die van het andere reliëf (26) is, die wordt uitgedrukt als:
(brandpuntsafstand van het ene reliëf (28))/(brandpuntsafstand van het andere reliëf (26)).
4. Werkwijze voor het produceren van een afakische intraoculaire lens (10) volgens één van de conclusies 1-3, waarbij de verschillende typen van reliëfs (26, 28) zodanig worden ingericht, dat zij aan een volgende vergelijking voldoen:
D≤/(Nlcns-Nmed)
waarin D een afmeting van de reliëfdiepte is, een ontwerpgolflengte is, Nlens een brekingsindex van een optisch materiaal is, en Nmed een brekingsindex van een omringend medium is.
5. Afakische intraoculaire lens (10), die geschikt is om in een lenskapsel te worden geplaatst, en voorzien van een buigingsrooster (22), dat een reliëfpatroon (24, 50, 60, 70, 80) heeft, dat zich concentrisch op een lensoppervlak (16, 102, 112) uitstrekt,
met het kenmerk, dat de lens omvat:
een synchrone structuur, waarbij verschillende typen van reliëfs (26, 28), waaronder ten minste twee reliëfs (26, 28), waarvan eerste orde afgebogen lichtstralen respectieve brandpuntsafstanden, die van elkaar verschillen, voor het reliëfpatroon (24, 50, 60, 70, 80) geven, zodanig zijn geplaatst, dat zij elkaar overlappen in ten minste een deel van een gebied in een radiale richting van de lens (10), en met betrekking tot elke roosterafstand van één reliëf (28), dat een maximumroosterafstand onder de in overlap geplaatste reliëfs (26, 28) heeft, roosterafstanden van een ander reliëf periodiek zijn overlapt.
6. Afakische intraoculaire lens (10) volgens conclusie 5, waarbij een brandpuntsafstand, die verschilt van die van een eerste orde afgebogen lichtstraal, die door verschillende typen van reliëfs (26, 28) is gegenereerd, is ingesteld voor een 0-de orde lichtstraal door middel van een brekingsoppervlak (16) van de lens (10).
7. Afakische intraoculaire lens (10) volgens conclusie 6, waarbij het lensoppervlak (16), dat van het reliëfpatroon (24, 50, 60, 70, 80) is voorzien, het brekingsoppervlak (16) is.
8. Afakische intraoculaire lens (10) volgens één van de conclusies 5-7, waarbij elke reliëfdiepte van het reliëf (28), dat een maximumroosterafstand heeft, die door het overlappen van verschillende typen van reliëfs is verkregen, in een zonerichting constant is gemaakt.
9. Afakische intraoculaire lens (10) volgens conclusie 8, waarbij in elke zone in het reliëf (28), dat een maximumroosterafstand heeft, een ander type van reliëf (26) met ten minste twee reliëfdiepten is gevormd in het gebied in de radiale richting van de lens (10), waarin de verschillende typen van reliëfs (26, 28) in overlap zijn ingericht, en afmetingen van de ten minste twee reliëfdiepten ten opzichte van een basiskromme-oppervlak in de zonerichting geleidelijk variëren.
10. Afakische intraoculaire lens (10) volgens conclusie 8, waarbij in elke zone in het reliëf (28), dat een maximumroosterafstand heeft, een ander type van reliëf (26) met ten minste twee reliëfdiepten is gevormd in het gebied in de radiale richting van de lens (10), waarin de verschillende typen van reliëfs (26, 28) in overlap zijn ingericht, en afmetingen van de ten minste twee reliëfdiepten ten opzichte van het basiskromme-oppervlak in de zonerichting op een constante waarde zijn ingesteld.
11. Afakische intraoculaire lens (10) volgens één van de conclusies 5-10, waarbij elk van de verschillende typen van reliëfs (26, 28) een kamlijn (30) heeft, die zich in omtreksrichting uitstrekt, met een dwarsdoorsnede, die met een scherpe vertexhoek is gevormd, en een dallijn (32) heeft, die zich in omtreksrichting uitstrekt, met een dwarsdoorsnede, die met een scherpe ingesloten hoek is gevormd.
12. Afakische intraoculaire lens (10) volgens één van de conclusies 5-11, waarbij het 0-de orde licht door het brekingsoppervlak (16) van de lens (10) op een brandpunt voor zicht veraf wordt ingesteld, het eerste orde afgebogen licht door één type van het reliëf (26) op een brandpunt voor zicht dichtbij wordt ingesteld en het eerste orde afgebogen licht door een ander type van het reliëf (28) op een brandpunt voor gemiddeld zicht wordt ingesteld.
13. Afakische intraoculaire lens (10) volgens één van de conclusies 5-11, waarbij het 0-de orde licht door het brekingsoppervlak (16) van de lens (10) op een brandpunt voor zicht dichtbij wordt ingesteld, het eerste orde afgebogen licht door één type van het reliëf (26) op een brandpunt voor zicht veraf wordt ingesteld en het eerste orde afgebogen licht door een ander type van het reliëf (28) op een brandpunt voor gemiddelde zicht wordt ingesteld.
14. Afakische intraoculaire lens (10) volgens één van de conclusies 5-13, waarbij de verschillende typen van reliëfs (26, 28) zodanig zijn ingericht, dat zij aan een volgende vergelijking voldoen.:
A = (2(m-NM) + a)/N
waarin A een zoneconstante van het ene reliëf (28) is, 'a' een zoneconstante van het andere reliëf (26) is, M een zonenummer van het ene reliëf (28) is, m een zonenummer van het andere reliëf (26) is, en N een verhouding van een brandpuntsafstand van het ene reliëf (28) en die van het andere reliëf (26) is, die wordt uitgedrukt als:
(brandpuntsafstand van het ene reliëf (28))/(brandpuntsafstand van het andere reliëf (26)).
15. Afakische intraoculaire lens (10) volgens één van de conclusies 5-14, waarbij de verschillende typen van reliëfs (26, 28) zodanig zijn aangebracht, dat zij aan een volgende vergelijking voldoen:
D≤/(Nlens-Nmcd)
waarin D een afmeting van de reliëfdiepte is, een ontwerpgolflengte is, Nlens een brekingsindex van een optisch materiaal is, en Nmed een brekingsindex van een omringend medium is.
2.6.
In de beschrijving van EP 493 is voor zover relevant het volgende opgenomen:
BACKGROUND ART
[0002] As is well known, the crystalline lens that controls the vision sometimes lessens its adjustment function or has its characteristics such as transparency of the lens itself deteriorated due to genetic or aging factors. This consequently causes problems such as refractive disorders including myopia, hyperopia and presbyopia, or even cataract and the like, which makes it hard to obtain effective vision. To deal with such situations, an aphakic intraocular lens (hereinafter called "intraocular lens" as appropriate) has been conventionally used that is set in place in the capsule to replace the crystalline lens after enucleation and removal thereof.
[0003] However, since the intraocular lenses that have been conventionally used are monofocal ones, the problem is that the eye function ends up with no focal adjustment, although the vision is restored after the eye surgery.
[0004] To cope with such a problem, an intraocular lens capable of generating multiple foci by adopting a diffraction lens described, for example, in Patent Document 1 and the like and making use of diffraction of light is proposed. The diffraction lens described in Patent Document 1 is provided with a diffraction grating with reliefs on the lens surface and made capable of forming two foci generated by the 0th order light and first order diffracted light. Therefore, a bifocal intraocular lens is available by assigning the foci by the 0th order light and first order diffracted light for far vision and near vision respectively.
[0005] However, it is increasingly recognized in recent years that a bifocal intraocular lens that adopts a conventional diffractive lens structure is not sufficient enough to improve vision. That is, in case of an intraocular lens that adopts the diffractive lens structure described in the above Patent Document 1, for example, the 0th order light and first order diffracted light are assigned for far vision and near vision respectively, which revealed a problem that allocating energy to the mid-section between the 0th order light and first order diffracted light becomes more difficult and the contrast in the intermediate vision range gets too low.
[0006] Under these circumstances, an intraocular lens that generates multiple foci by forming multiple areas with different reliefs on the lens in its radial direction is proposed in Patent Document 2, for example, in order to make it possible to generate more number of foci. However, the intraocular lens described in Patent Document 2 had a risk of failing to achieve the desired focal effect when the diameter of incident light beam varies in cases such as pupil shrinkage. In addition, even if the design of the lens is based on a consideration of physiological pupil diameter, it is not necessarily possible to insert an intraocular lens in the desired position relative to the pupil and keep it stable therein, which poses a risk of failing to achieve the desired focal effect due to the eccentricity of the lens.
(…)
SUMMARY OF THE INVENTION PROBLEM THE INVENTION ATTEMPTS TO SOLVE
[0010] With the foregoing in view, it is accordingly an object of the present invention, to provide a method of manufacturing an aphakic intraocular lens that is capable of ensuring every multi-focusing effect more securely, while reducing the impact of pupil shrinkage and lens eccentricity.
[0011] Furthermore, this invention aims at providing an aphakic intraocular lens with a structure which can be favourably manufactured by the manufacturing method.
MEANS FOR SOLVING THE PROBLEM
[0012] Modes of this invention contrived to solve the above problems are described in the following paragraphs. Also, the components adopted in each modes described below are adoptable in any other possible combination.
(…)
[0039] Another aspect of the present invention relates to an aphakic intraocular lens. A first mode of the invention related to the aphakic intraocular lens as diclosed in claim 5 provides an aphakic intraocular lens adapted to be set in place in a lens capsule, and provided with a diffraction grating having a relief pattern extending concentrically on the lens surface, comprising: a synchronous structure where various types of reliefs including at least two reliefs whose first order diffracted lights give respective focal distances different from one another are set to overlap with each other in at least a part of an area in a radial direction of the lens, and with respect to every grating pitches of one relief having a maximum grating pitch among the reliefs set up in overlap, grating pitches of another relief being overlapped periodically.
[0040] According to the intraocular lens of the present mode, at least two foci can be generated by each first order diffracted light of at least two reliefs. This makes it possible to obtain a focus for far vision of the 0th order light by the refractive surface of the intraocular lens, for example, while obtaining a focus for near vision of the first order light by one of the two reliefs, in addition to obtaining a focus for intermediate vision by the other first order light. This makes it possible to obtain good diffraction intensity in the intermediate vision range in addition to the far and near vision ranges, thus providing an intraocular lens capable of delivering good vision in the intermediate range. The word "relief" in this invention refers to a jagged form.
[0041] Especially according to the intraocular lens of the present mode, the various types of reliefs are set overlapped. This allows the first order diffracted light to be generated by each relief in the entire area where various types of reliefs are overlapped, and therefore, unlike a diffraction lens on which different reliefs are set up in each area, as described in the above Patent Document 2 for example, it is now possible to restrict relative variations of the diffraction intensity in a specific area caused by changes in diameter of incident light following aperture changes and eccentricity of the lens and the like, thus enabling to obtain an intraocular lens with an unprecedented new optical properties whereby the desired optical properties are more securely obtained.
[0042] And especially in the present mode, a synchronous structure where grating pitches of other reliefs are overlapped periodically with each grating pitch of the relief having the maximum grating pitch among the reliefs set up in overlap, that is, zone radii of other reliefs are overlapped periodically with each zone radius of the relief having the maximum grating pitch. The word "concentrically" means a state of multiple streaks in forms of circles or something similar such as ovals extending in an annular pattern centered on an optical axis or an eccentric axis. Also, the "radial direction of the lens" mentioned in the claims of this invention means a radial direction centered on the optical axis, and in case the optical axis is off the geometric center of the lens, it is not necessarily identical to the radial direction of the lens relative to its outer peripheral configuration. This makes it possible to distinctly generate a peak of diffraction intensity of the first order diffracted light of each relief and to obtain a multitude of foci more certainly. In other words simply overlapping various types of reliefs cannot clearly obtain a peak of diffraction intensity of any relief and results in generating peaks of unintended order of light beams while increasing the quantity of glare caused by stray light beams. On the contrary, according to the intraocular lens in the present mode, diffraction intensity can be allocated effectively to the first order diffracted light of other reliefs by synchronizing grating pitches of different types of relief, thus reducing the intensity of unnecessary nth order diffracted light including second order diffracted light. As a result, light intensity of stray light beams and so forth can be lowered and the glare and the like can be reduced.
[0043] Also in the present mode, it will suffice for various types of reliefs to be set overlapped in at least a part of the area in the radial direction of the lens, and not necessarily to be set overlapped all across the lens surface. Therefore, for example, various types of reliefs can be set overlapped only at the center of the lens or at the intermediate area in the radial direction of the lens, while only one relief can be set in other areas.
[0044] Furthermore, as various types of reliefs in the present mode, at least two types are good enough, and as a matter of course, three or more types of reliefs can be set overlapped.
[0045] Meanwhile, the aphakic intraocular lens in the present mode means an intraocular lens set in place in the lens capsule to replace the crystalline lens after removal thereof. And the shapes and materials and so forth of the reference plane where the synchronous structure of the reliefs is formed are not particularly limited. For example, such a reference plane can be an aspheric, cylindrical or toric plane as well as a spherical plane including a convex or concave surface, or even a flat plane. Especially, in case the reference plane is other than a flat plane, the optical refractive property, in addition to the diffraction of this invention, is to be exerted.
2.7.
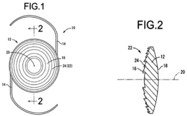
Bij EP 493 zijn de volgende figuren opgenomen (met voor zover relevant de bijpassende tekst uit de beschrijving daarbij geplaatst):

[0066] First of all, FIG.1 shows a front view diagram of an intraocular lens 10 as a first embodiment related to the aphakic intraocular lens in this invention, and FIG.2 shows a cross-section diagram of an optical part 12 of said intraocular lens 10 described later. Here in FIGS.1 and 2, a relief pattern 24 described later is shown with its size exaggerated for better understanding.

[0071] FIG.3 shows a cross-section diagram of the relief pattern 24 in the radial direction. Especially, the relief pattern 24 in the present embodiment is formed with an overlap of a relief 26 for near vision shown diagrammatically in FIG.4 in cross-section in the radial direction and a relief 28 for intermediate vision shown diagrammatically in FIG.5 in cross-section in the radial direction. These FIGS. 3 through 5 are relief profiles showing changes in height of each of the relief pattern 24 and the reliefs 26, 28, in the lens radial direction, from the base curve surface assuming that the base curve surface of the optical front surface 16 is the line BC.
[0072] These relief 26 for near vision and relief 28 for intermediate vision are each extending concentrically around the lens center axis 20, and is made in a jagged form having a ridge line 30 protruding outward (upward in FIGS.3 through 5) from the optical part 12 and a valley line 32 protruding inward (downward in FIGS.3 through 5) of the optical part 12.
[0073] In the following descriptions, "grating pitch" means a width between the ridge line 30 and valley line 32 in the radial direction. "Zone" means an area between the ridge line 30 and valley line 32, and a zone number is allocated for each zone in the order of 1, 2, 3... from the center at 0 outward in the zone direction. Also, "zone radius" means an outer peripheral radius in each zone, that is, a radius of the ridge line 30 or valley line 32 in each zone located on the outer side of the concentric circle measured from the center of the concentric circle (lens center axis 20 in the present embodiment). Therefore, "grating pitch" is a width of each zone in the radial direction, and grating pitch of a given zone is a difference between the zone radius of said zone and the zone radius of the zone numbered one less. Also, "relief depth" is a separation distance between the ridge line 30 and valley line 32 in the optical axis direction at the zone radius position.
[0074] Especially in the present embodiment, the ridge line 30 extends circumferentially with a cross-section formed with an acute vertex angle, while the valley line 32 is formed to extend circumferentially of the optical part 12 with a cross-section with an acute included angle. These relief 26 for near vision and relief 28 for intermediate vision are each in a jagged form, wherein the ridge line 30 and valley line 32 are formed right next to each other in the lens radial direction with the valley line 32 positioned farther from the lens center axis 20, whereas the nearer side to the lens center axis 20, as opposed to the farther side, is made protruded from the optical front surface 16 in each zone.
[0075] These relief 26 for near vision and relief 28 for intermediate vision are set in such a way that each of their first order diffracted light gives a different focal distance from each other, and in the present embodiment, a refractivity of +4.00D is given to the relief 26 for near vision so as to set the first order diffracted light by the relief 26 for near vision to focus for near vision, while a refractivity of +2.00D is given to the relief 28 for intermediate vision so as to set the first order diffracted light by the relief 28 for intermediate vision to focus for intermediate vision. In addition, focal distances of the 0th order light by the optical front surface 16 and optical rear surface 18 are made different from those of the first order diffracted light of any of these relief 26 for near vision and relief 28 for intermediate vision, and the 0th order light by the optical front surface 16 and optical rear surface 18 is set to focus for far vision.
[0076] Then, the relief pattern 24 is formed by having these relief 26 for near vision and relief 28 for intermediate vision set to overlap with each other. In this situation, the grating pitch of the relief 28 for intermediate vision is made larger than that of the relief 26 for near vision, and a synchronous structure is set up where the grating pitch in each zone of the relief 26 for near vision is overlapped periodically with that in each zone of the relief 28 for intermediate vision. This allows the zone radius in each zone of the relief 26 for near vision to be overlapped periodically with that in each zone of the relief 28 for intermediate vision. Especially in the present embodiment, one of the relief depths of the relief 26 for near vision is formed in one of the zones of the relief 28 for intermediate vision, and two zones of the relief 26 for near vision are formed in one of the zones of the relief 28 for intermediate vision. In other words, each one zone of the relief 28 for intermediate vision is overlapped with two zones of the relief 26 for near vision.

[0082] Also, FIG.6 shows a result of computer simulation of diffraction intensity along the optical axis obtained by a relief pattern according to the present embodiment. As evident from FIG.6, according to this working example, it can be seen that a peak of diffraction intensity appears at the focus for intermediate vision of the first order diffracted light by the relief 28 for intermediate vision between the focus for far vision of the 0th order light by the optical front surface 16 and optical rear surface 18 as refractive surfaces and the focus for near vision of the first diffracted light by the relief 26 for near vision. It can also be seen that a peak is clearly generated in each of far, near and intermediate vision ranges.

[0108] Next, FIG.13 shows a relief profile of a relief pattern 60 as a third embodiment of this invention. In the present embodiment, a synchronous structure where two reliefs with the dioptric power at +3.0D for near vision and at +1.0D for intermediate vision are periodically overlapped. Meanwhile, the grating pitch is larger in the relief for intermediate vision than in the relief for near vision.
[0109] In the present embodiment, two relief depths of the relief for near vision are provided per each zone of the relief for intermediate zone, and these three zones in total are formed, that is, in one out of three zone radii of the relief for near vision, the zone radius of the relief for intermediate vision is made equal to that of the relief for near vision. In each zone of the relief for intermediate vision composed of an overlap of reliefs for near vision, the height of the relief depth of the relief for near vision located between the relief depths of the relief for intermediate vision relative to the virtual base curve surface is kept approximately constant in the zone direction (left-right direction in FIG.13).
[0110] Such relief pattern 60 can be manufactured by an easier method than the above first and second embodiments. In other words, a relief with a synchronous structure can be easily obtained by means of increasing the relief depth where the relief with a smaller grating pitch is overlapped with the one with a larger grating pitch based on the overlapping cycle of multiple reliefs on top of each other. For example, the dioptric power of the reliefs for near vision and intermediate vision in the present embodiment are the same as those of the above second embodiment, but as evident from the
second embodiment (see FIG.11), the relief for intermediate vision is synchronized with the relief for near vision once in every three times. Therefore, after designing the relief form for near vision according to the above manufacturing method, a relief pattern similar to that of the second embodiment can be obtained easily by means of increasing the relief depth of the obtained relief form for near vision once in every three times without exactly designing the relief form for intermediate vision like the above manufacturing method.

[0124] Also, as the comparative example 2, an intraocular lens having a relief pattern with an asynchronous structure where the reliefs for near vision and intermediate vision are simply overlapped with no synchronization prepared. In this comparative example 2, an intraocular lens in a biconvex form was set to have its dioptric power at +20.0D, refractive index of the lens material at 1.500, refractive index of the surrounding medium at 1.336, and design wavelength at 500nm, while the relief for near vision with the dioptric power at +4.00D and the relief for intermediate vision with the dioptric power at +2.00D, with each zone constant set at 1, were overlapped in an asynchronous form to set a relief pattern, which was formed on the optical front surface. FIGS.23 and 24 show the relief profiles of the relief for near vision and intermediate vision, respectively. FIG.25 shows, as the comparative example 2, a relief profile which is an overlap of these reliefs for near vision and intermediate vision with no synchronization, while FIG.26 shows a simulation result of diffraction intensity obtained by the relief pattern of said comparative example 2. As evident from FIG.26, in the comparative example 2 which is a simple overlap of multiple relief patterns, it was confirmed that no obvious generation of peaks was detected in any of the 0th order light by the refractive surface, the first order diffractive light by the relief for near vision, or the first order diffractive light by the relief for intermediate vision, causing to generate peaks of unintended order of light. This revealed the usefulness of this invention wherein a synchronous structure is set where multiple reliefs are periodically overlapped.
De VSY-groep
2.8.
VSY B.V. is gevestigd in Amsterdam en staat aan het hoofd van de VSY-groep. De VSY-groep is een groep van ondernemingen, waaronder ook VSY Turkije en VSY Iberica, die zich richt op het ontwerpen van oftalmische (oogheelkundige) producten (hierna ook: de VSY-groep). VSY B.V. houdt zich onder meer bezig met de groothandel in optische artikelen. VSY Biyoteknoloji houdt zich volgens het Turkse handelsregister bezig met de ‘manufacture of medical and dental instruments and supplies’. VSY Varlibaslar houdt zich volgens het Turkse handelsregister bezig met de verhandeling van optische producten. VSY Iberica is een Spaanse vennootschap binnen de VSY-groep.
2.9.
Op de website van VSY, www.vsybiotechnology.com, is de hieronder afgebeelde pagina gepubliceerd:

2.10.
Via de website www.vsybiotechnology.com kan toegang worden verkregen tot de Spaanstalige pagina’s www.vsybiotechnology.com/es, waarop VSY Iberica als distributeur van VSY voor Spanje wordt genoemd.
De Tri-ED 611 lens
2.11.
Door de VSY-groep wordt een afakische intra-oculaire lens op de markt gebracht onder de naam Tri-ED 611 (hierna: ‘de Tri-ED 611 lens’). De brochure voor de Tri-ED 611 lens bevat de volgende tekst en afbeeldingen:



2.11.4.

2.12.
Op de verpakking van de Tri-ED 611 lens is het hieronder weergegeven label geplakt.

Rapporten deskundigen
2.13.
Carl Zeiss heeft onder leiding van Mario Gerlach, principal scientist bij Carl Zeiss (hierna: ‘Gerlach’), met assistentie van medewerkers van de Ernst Abbe University of Applied Arts in Jena (Duitsland) onderzoek verricht naar een Tri-ED 611 lens. De resultaten van dat onderzoek zijn neergelegd in een rapport dat door Carl Zeiss is overgelegd als productie EP7. Het rapport met de titel ‘Diffractive phase mask analysis and relief decomposition of a VSY Acriva Reviol Tri ED IOL’ (hierna: ‘Gerlach rapport I’) bevat voor zover van belang de volgende passage en grafieken.
Methodology
The three-dimensional surface topography of both lens surfaces was measured at the Ernst Abbe University of Applied Sciences in Jena (Germany) using the CWM 100 Topography microscope from MAHR GmbH (Germany). The lenses were measured in their stabilized hydrated state in full immersion.

Fig. 4: surface sag cross-section of front side

Fig. 5: Surface Sag Cross-section with peaks, valleys and surface envelope

Fig. 6: Residuals of best fit to peaks ex central peak

Fig. 7: Residuals of best fit to peaks ex central peak (enlarged)
2.14.
In een aanvullend rapport van Gerlach met de titel ‘VSY Acriva Reviol Tri-ED 611
Supplementary Profile Analysis’ dat door Carl Zeiss als productie EP12 is overgelegd (hierna: ‘Gerlach rapport II’), komen voor zover van belang de volgende passages en figuren voor:
Topography Raw Data File:
+10,5dpt_40x_diffraktive Seite_zoom_geglättet_levelled.txt.dot.txt
dated August 11th, 2015, measured at Ernst-Abbe-Hochschule, Jena, University of Applied Sciences.
Fig. 6 shows the calculated relief depths (“Differential Sagittal Height”) plotted against the calculated radial positions. The radial positions of peaks and valleys coincide with the results shown in Fig. 7 of the previous report. The results also show that every other valley is “deepened”, as also shown in Fig. 7 of the previous report.

4. Relief Decomposition
The decomposition and analysis is carried out on the measured relief. This procedure was conducted using the commercial mathematical computation software Mathematica 10.4.1 by Wolfram Research1.
As a starting point, the measured differential relief (Fig. 6) was transferred into an
“InterpolatingFunction” representation of the order = 1 (linear interpolation) in the domain of Reals in sagittal height and radial direction. This “InterpolatingFunction” does not perform any smoothing of data and is thus an exact representation of the data points at the measured radial coordinate. In line with the abovementioned observation that in the final diffractive relief every other valley is deepened, the decomposition was conducted on the basis of the assumption that the second constructing “deepens” every second valley of a first constructing profile for near vision. Therefore, the interpolating profile function is now modified towards a piecewise defined function as shown in the blue lines in Fig. 7 and Fig. 8 below. Subsequently, the piecewise defined function is subtracted from the interpolating profile function to obtain the profile function for near vision. The outcome of this methodology is presented in Fig. 7 and Fig. 8.


2.15.
In een rapport van de door VSY ingeschakelde deskundige prof. dr. H. Ürey (hierna: ‘Ürey’) van 30 augustus 2016, overgelegd als GP15 (hierna: ‘Ürey rapport I’) zijn de hieronder weergegeven figuren opgenomen:





2.16.
In een rapport van Ürey van 6 januari 2017, overgelegd als GP21 (hierna: ‘Ürey rapport III’) is de hieronder weergegeven figuur opgenomen:

Stand van de techniek
2.17.
VSY doet in deze zaak een beroep op de volgende documenten uit de stand van de techniek:
2.17.1.
de Amerikaanse octrooiaanvrage US2006/0050234 A1 voor ‘diffractive lenses for vision correction’ (hierna: ‘US 234’), gepubliceerd op 9 maart 2006, waarin, voor zover relevant, het volgende is opgenomen:

2.17.2.
de Europese octrooiaanvrage EP 1279992 A2 voor een ‘Linse zum einbau in eine Brillenfassung’ (hierna: ‘EP 992’), gepubliceerd op 29 januari 2003, waarin, voor zover relevant, het volgende is opgenomen:


2.17.3.
Amerikaans octrooi US 5,178,636 voor een ‘Tuned Fresnel lens for multifocal intraocular applications including small incision surgeries’ (hierna: ‘US 636’), verleend op 12 juni 1993, waarin, voor zover relevant, het volgende is opgenomen:

2.17.4.
Amerikaans octrooi US 4,210,391 voor een ‘Multifocal zone plate’ (hierna: ‘US 391’), verleend op 1 juli 1980.
3. De vordering in conventie
In de hoofdzaak
3.1.
Carl Zeiss vordert, zakelijk weergegeven, dat de rechtbank bij uitvoerbaar bij voorraad te verklaren vonnis:
3.1.1.
VSY verbiedt om op enigerlei wijze betrokken te zijn bij (directe en/of indirecte) inbreuk op EP 493 in Nederland, Turkije, Spanje en de overige Gedesigneerde Landen zoals omschreven in 2.2;
3.1.2.
VSY beveelt binnen twee weken na betekening van het vonnis aan Carl Zeiss schriftelijke opgave te verstrekken van alle afnemers aan wie VSY producten heeft verkocht, verhuurd, afgeleverd en/of daartoe heeft aangeboden, die vallen onder de beschermingsomvang van EP 493;
3.1.3.
VSY beveelt binnen twee weken na betekening van het vonnis aan ieder van de onder 3.1.2 bedoelde afnemers een brief te zenden met een recall volgens een door Carl Zeiss in de dagvaarding voorgestelde tekst;
3.1.4.
VSY beveelt alle inbreukmakende producten die nog bij VSY in voorraad zijn, alsmede de teruggezonden producten en voorts al het reclamemateriaal daarvoor te vernietigen;
3.1.5.
met bepaling van een dwangsom van € 50.000 per overtreding van één van de voorgaande ver- en geboden, of € 25.000 per product of per dag van inbreuk op EP 493 door de betreffende gedaagde;
3.1.6.
VSY hoofdelijk veroordeelt tot schadevergoeding, nader op te maken bij staat en te vereffenen volgens de wet en/of, zulks ter keuze van Carl Zeiss, tot winstafdracht, alles vermeerderd met de wettelijke rente vanaf 5 augustus 2015;
3.1.7.
VSY veroordeelt om rekening en verantwoording af te leggen door gegevens te verstrekken over de door haar met de inbreukmakende producten gemaakte omzet en winst door middel van een accountantsverklaring daarover;
3.1.8.
VSY hoofdelijk veroordeelt in de proceskosten, te begroten op de voet van artikel 1019h van het Wetboek van Burgerlijke Rechtsvordering (Rv).
3.2.
Carl Zeiss legt aan haar vorderingen ten grondslag dat de Tri-ED 611 lens voldoet aan alle kenmerken van de onafhankelijke conclusie 5 en de daarvan afhankelijke conclusies 6, 7, 12 en 15 van EP 493. In het bijzonder heeft de Tri-ED 611 lens een synchrone structuur als bedoeld in conclusie 5, zoals blijkt uit figuur 7 van Gerlach rapport I (weergegeven in 2.13) en/of de brochure voor de Tri-ED 611 lens waaruit blijkt dat de Tri-ED 611 lens heldere punten van eerste orde licht creëert voor zicht dichtbij en gemiddeld zicht (near vision en intermediate vision). Daaruit kan worden afgeleid dat de synchrone structuur van de Tri-ED 611 lens het gevolg is van het toepassen van reliëfs waarbij de roosterafstand van één reliëf periodiek overlapt met de roosterafstand van een ander reliëf. VSY maakt derhalve door het vervaardigen en/of verhandelen en/of aanbieden van de Tri-ED 611 lens inbreuk op EP 493. Alle gedaagden verrichten voorbehouden handelingen in Nederland, Turkije, Spanje en de overige Gedesigneerde Landen, althans dreigen dat te doen, en zij maken dus alle inbreuk op het octrooi. Carl Zeiss heeft daardoor schade geleden, voor de vergoeding waarvan VSY aansprakelijk is. Carl Zeiss heeft daarnaast recht op afdracht van de met de inbreuk gemaakte winst. Subsidiair handelt VSY onrechtmatig door uitlokking van, betrokkenheid bij en/of het profiteren van de octrooi-inbreuk door een of meer van de andere gedaagden.
3.3.
VSY voert gemotiveerd verweer.
3.3.1.
VSY betwist ten gronde (naast de betwisting van de bevoegdheid van deze rechtbank) onder andere dat de Tri-ED 611 lens onder de beschermingsomvang van EP 493 valt nu de Tri-ED 611 lens geen synchrone structuur heeft, althans het bewijs dat Carl Zeiss voor de aanwezigheid daarvan aandraagt, niet concludent is. Het is mogelijk om het waargenomen reliëfpatroon van de Tri-ED 611 lens (figuur 7 van het Gerlach rapport I) te verkrijgen door het combineren van reliëfs op een andere wijze dan conclusie 5 voorschrijft, waarbij eveneens brandpunten voor zicht dichtbij en gemiddeld zicht worden verkregen. Dat blijkt uit de berekeningen in Ürey rapport I en figuur 5 van Ürey rapport III. Als de door Carl Zeiss gemaakte ontleding van het waargenomen reliëfpatroon in afzonderlijke samenstellende reliëfs in het Gerlach rapport II al bij de beoordeling betrokken mag worden, blijkt daaruit bovendien dat een van de samenstellende reliëfs geen zaagtandvorm (jagged form) in de zin van het octrooi heeft. Verder blijkt uit het Ürey rapport III dat de Tri-ED 611 lens niet de kenmerken vertoont die samenhangen met een synchrone structuur, zoals een uniforme afname van de zonebreedte van het reliëfpatroon en naar boven wijzende pieken van dat patroon.
3.3.2.
Daarnaast beroept VSY zich op de nietigheid van EP 493. Ten eerste is EP 493 niet nawerkbaar. Ten tweede is EP 493 niet nieuw in het licht van US 234, EP 992 of US 391. Ten derde is het octrooi niet inventief in het licht van US 234 of EP 992, al dan niet in combinatie met US 636, en de algemene vakkennis. Ook is EP 493 niet inventief in het licht van US 391 in combinatie met de algemene vakkennis.
3.3.3.
Afgezien van haar betwisting dat de Tri-ED 611 lens onder het octrooi valt, betwist VSY ook dat zij voorbehouden handelingen heeft verricht, althans dat alle vier de gedaagden voorbehouden handelingen hebben verricht in alle landen waarvan Carl Zeiss stelt dat er inbreuk is gemaakt op het octrooi. Carl Zeiss heeft volgens VSY op dit punt niet aan haar stelplicht voldaan.
3.3.4.
Tot slot betwist VSY dat zij onrechtmatig heeft gehandeld.
In het incident tot het treffen van een provisionele voorziening
3.4.
Carl Zeiss vordert, zakelijk weergegeven, dat de rechtbank bij uitvoerbaar bij voorraad te verklaren vonnis, VSY verbiedt om voor de duur van het geding in de hoofdzaak betrokken te zijn bij inbreuk op EP 493 in Nederland, Turkije, Spanje en de overige Gedesigneerde Landen, op straffe van een dwangsom, met veroordeling van VSY in de redelijke en evenredige proceskosten in de zin van artikel 1019h Rv.
3.5.
Carl Zeiss legt aan de provisionele vordering dezelfde stellingen ten grondslag als aan haar vordering in de hoofdprocedure (zie hiervoor 3.2). Verder stelt zij dat zij een spoedeisend belang heeft bij een provisioneel verbod om de handhaving van het octrooi gedurende de procedure tegen de voortdurende inbreuk door VSY te verzekeren.
3.6.
VSY betwist de bevoegdheid van deze rechtbank, het spoedeisend belang van Carl Zeiss en voert voorts dezelfde verweren tegen deze vordering als tegen de vordering in de hoofdzaak (zie 3.3).
In de door VSY opgeworpen incidenten
3.7.
VSY heeft ter zitting het incident tot schorsing van de procedure op de voet van artikel 83 lid 4 Rijksoctrooiwet (ROW), totdat in de oppositieprocedure bij het EOB is beslist, ingetrokken.
3.8.
VSY vordert in het door haar opgeworpen bevoegdheidsincident dat de rechtbank zich onbevoegd verklaart tot kennisneming van de vorderingen in de hoofdzaak en in het incident tot het treffen van een voorlopige voorziening, voor zover die vorderingen betrekking hebben op de gestelde octrooi-inbreuk of onrechtmatige daad buiten Nederland, althans dat de rechtbank die vorderingen afwijst, althans aanhoudt totdat de bevoegde buitenlandse rechters op de geldigheid van de respectieve buitenlandse delen van EP 493 hebben beslist, met veroordeling van Carl Zeiss in de redelijke en evenredige proceskosten in de zin van artikel 1019h Rv.
3.9.
VSY voert daartoe aan dat artikel 24 lid 4 EEX II-Vo1.in de weg staat aan de bevoegdheid van deze rechtbank om te oordelen over de inbreuk op de buitenlandse delen van EP 493, omdat VSY zich op de nietigheid daarvan beroept en de bevoegdheid om daarover te oordelen exclusief is voorbehouden aan de rechters in de betreffende landen. De rechtbank is ook onbevoegd om kennis te nemen van de provisionele voorziening. Weliswaar kan de Nederlandse rechter voor voorlopige voorzieningen bevoegdheid ontlenen aan artikel 35 EEX II-Vo, zoals is beslist in het Solvay/Honeywell-arrest2., maar dan moet er sprake zijn van een reële band met Nederland en daarvan is in dit geval geen sprake voor zover het de gestelde handelingen buiten Nederland betreft. Hetzelfde geldt mutatis mutandis voor de bevoegdheid op grond van artikel 13 Rv, voor zover het VSY Turkije betreft. Er is hier ook geen sprake van bevoegdheid op grond van artikel 4 EEX II-Vo respectievelijk artikel 7 Rv, omdat de rechtbank niet, althans niet volledig, bevoegd is in de hoofdzaak.
3.10.
Carl Zeiss voert gemotiveerd verweer. Op de stellingen van partijen wordt hierna, voor zover van belang, nader ingegaan.
4. De vordering in reconventie
4.1.
VSY vordert in voorwaardelijke reconventie, zakelijk weergegeven, voor zover de rechtbank de vorderingen van Carl Zeiss in conventie niet reeds afwijst op de grond dat de Tri-ED 611 lens niet onder de beschermingsomvang van EP 493 valt, vernietiging van het Nederlandse deel van EP 493, met veroordeling van Carl Zeiss in de redelijke en evenredige proceskosten op de voet van artikel 1019h Rv.
4.2.
VSY legt aan deze vordering de nietigheidsargumenten ten grondslag die zijn opgesomd in 3.3.2.
4.3.
Carl Zeiss voert gemotiveerd verweer. Op de stellingen van partijen wordt hierna, voor zover van belang, nader ingegaan.
5. De relevante techniek
5.1.
De hierna volgende beschrijving van de relevante techniek is ontleend aan niet in geschil zijnde delen van de processtukken van partijen.
Breking van licht (refractie) / lenzen
5.2.
Bij de intra-oculaire lens volgens EP 493 spelen optische verschijnselen als refractie, diffractie en interferentie een belangrijke rol. Nu die verschijnselen het best te verklaren zijn met behulp van het golfmodel, wordt uitgegaan van het golfkarakter van licht.
5.3.
Licht bestaat in dat model uit elektromagnetische golven die zich voortplanten met een bepaalde snelheid (frequentie) v en die een bepaalde periodeduur of trillingstijd T en golflengte λ bezitten. Een golf met een hogere frequentie (dus een golf die sneller trilt) heeft een kleinere golflengte dan een golf met een lagere frequentie (die langzamer trilt). De sterkte waarin de golf trilt wordt de "amplitude" a genoemd. Het menselijk oog ziet elektromagnetische golven van verschillende frequenties in de vorm van kleurverschillen. Elke kleur heeft dus zijn eigen golflengte.

5.4.
De lichtsnelheid in een materiaal verschilt per materiaal, maar is altijd lager dan de lichtsnelheid in vacuüm. Dat is er de oorzaak van dat lichtgolven die vanuit het ene materiaal onder een hoek het grensvlak van een ander materiaal bereiken van richting veranderen, oftewel breken. Dit verschijnsel heet refractie en is de basis voor de werking van gewone lenzen.
5.5.
De breking volgt de formule van Snellius (n2 x sin 2 = n1 x sin 1). Daarbij wordt n de brekingsindex van een materiaal genoemd. In de formule is "1" de hoek tussen de lichtgolf of lichtstraal en de normaal N (ook wel "loodlijn" of "optische as" genoemd) op het grensvlak in medium 1. "2" is de hoek tussen de lichtgolf of lichtstraal en de normaal op het grensvlak in medium 2, waarbij "sin" de goniometrische functie "sinus van een hoek" representeert. Dit wordt geïllustreerd in onderstaande (bewerkte) figuur.

5.6.
Sferische ofwel bolle lenzen hebben de eigenschap dat lichtgolven die evenwijdig aan de optische as aan de "voorwerpszijde" in de lens vallen, na breking allemaal door hetzelfde punt aan de andere zijde (de "beeldpuntszijde") gaan, het zogeheten brandpunt (aangeduid met "F'"), zoals schematisch getoond in onderstaande figuur.

5.7.
De afstand tussen de lens en het brandpunt (hierboven aangegeven met "F'") wordt de brandpuntsafstand genoemd (aangeduid met "f'") en is afhankelijk van de bolling van de lens. Bij een lens met een sterke bolling ligt het brandpunt dichter bij de lens dan bij een lens met een minder sterke bolling (een plattere lens). Bij een symmetrisch bolle lens zoals getoond in bovenstaande figuur ligt er overigens ook een brandpunt aan de andere zijde (de "voorwerpszijde"), op dezelfde afstand van de lens als het brandpunt F' aan de beeldpuntszijde. Om de beide brandpunten van elkaar te onderscheiden, wordt het brandpunt aan de voorwerpszijde met "F" aangeduid (met een bijbehorende brandpuntsafstand "f").
5.8.
De optische sterkte P van een lens, dat wil zeggen hoe groot de convergerende of divergerende werking van die lens is, wordt uitgedrukt in de eenheid "dioptrie" (aangeduid met het symbool "D" of met "dpt"). De optische sterkte is gedefinieerd als de in meters gemeten omgekeerde (inverse) brandpuntsafstand (of in formulevorm: P = 1/f). Voor een bolle lens wordt de sterkte uitgedrukt in +D en voor een holle lens in –D. Een sterk bollende lens, met een relatief kleine brandpuntsafstand f, heeft een hogere dioptriewaarde dan een vlakkere lens.
Interferentie van licht
5.9.
Verschillende golven van dezelfde of verschillende frequentie of golflengte en dezelfde of verschillende amplitude kunnen op eenzelfde plaats en zelfde tijd met elkaar samenwerken of elkaar tegenwerken. Dit verschijnsel wordt "interferentie" (letterlijk: storing) genoemd. De resulterende golf wordt dan verkregen door het optellen van de amplitudes van de golven, hetgeen "superpositie" wordt genoemd. Wanneer twee verschillende golven van dezelfde frequentie of golflengte precies samenvallen, versterken zij elkaar en ontstaat een golf met dezelfde frequentie en met een amplitude die de som is van de afzonderlijke amplitudes, zoals geïllustreerd in onderstaande figuur onder (a).

5.10.
Wanneer de golven elkaar versterken, spreekt men van golven die "in fase" zijn. Dit effect treedt ook op bij golven die telkens over een veelvoud van de golflengte ten opzicht van elkaar zijn verschoven (dit geeft men weer met de aanduidingen 1x λ, 2 x λ, 3 x λetc.). Wanneer de golven daarentegen dezelfde amplitude en golflengte hebben maar over een halve golflengte ten opzichte van elkaar zijn verschoven, is het resultaat dat ze elkaar precies opheffen, zoals geïllustreerd in bovenstaande figuur onder (b). Wanneer de golven elkaar opheffen spreekt met van golven die "in tegenfase" zijn. Dit geldt voor golven die ½ x λ, 1½ x λ, 2½ x λ, 3½ x λetc. ten opzichte van elkaar zijn verschoven.
Buiging van licht (diffractie) / buigingsroosters
5.11.
Met een afakische intra-oculaire lens waarvan de werking (enkel) op breking berust, krijgt degene in wiens oog de lens is geplaatst één focuspunt, te weten voor ver zicht, welk focuspunt niet kan worden aangepast. Om aan dit nadeel tegemoet te komen, waren in de stand van de techniek lenzen bekend waarop een aantal concentrische zaagtandvormige ringen (met elk hetzelfde middelpunt) waren aangebracht, volgens bijvoorbeeld onderstaande figuur waarbij de lens doormidden is gezaagd.

5.12.
Het licht wordt langs de randen van die profielen afgebogen, wat diffractie wordt genoemd. De concentrische ringen buigen het invallend licht zodanig af dat het door elke ring of ‘zone’ afgebogen licht door interferentie in een bepaald punt wordt geconcentreerd.

5.13.
De ringvormige zones r1, r2, …, rj van de lens (waarbij j de buitenste zone aanduidt), zijn namelijk zodanig ontworpen, dat op de lens invallende lichtgolven met een bepaalde golflengte λ0 door de grenzen van elk van deze zones afzonderlijk worden afgebogen en in een punt F op de optische as arriveren met een weglengteverschil dat gelijk is aan een geheel aantal malen de golflengte λ0. In dit punt, dat ook het brandpunt F wordt genoemd, zijn de golven dus 'in fase'.
5.14.
Bij de lens zoals getoond in bovenstaande figuur is voor de lichtstralen die aan de buitenste rand van een zone worden afgebogen het verschil in de optische weglengte tussen aangrenzende zones telkens precies één golflengte. Men spreekt dan van eerste orde diffractie (m=1). Wanneer voor afgebogen lichtgolven het verschil in optische weglengte tussen twee aangrenzende zones precies tweemaal de golflengte bedraagt, zullen zij elkaar in het punt op de optische as waar deze lichtstralen samenkomen ook weer versterken. Men spreekt dan van tweede orde diffractie, etc. In vergelijking tot diffractie spreekt men bij refractie daarom ook wel van 0-de orde licht (m=0).
5.15.
In de stand van de techniek zijn lenzen bekend met twee verschillende diffractieprofielen die elk op een ander deel van de lens zijn aangebracht en elk een eigen brandpunt op de optische as genereren. Zo ontstaan naast het door refractie verkregen focuspunt voor zicht ver weg ook twee andere focuspunten voor zicht dichtbij en daar tussenin (gemiddeld zicht).
5.16.
Een patroon van profielen voor buiging van licht tot een bepaald (gewenst) interferentiepatroon wordt ook wel een buigingsrooster (diffraction grating) genoemd.
6. De beoordeling
In conventie
In het bevoegdheidsincident
6.1.
Deze rechtbank is ten aanzien van VSY B.V. internationaal bevoegd kennis te nemen van de vorderingen in de hoofdzaak op grond van artikel 4 EEX II-Vo, omdat VSY B.V. gevestigd is in Nederland. Die bevoegdheid strekt zich uit tot het treffen van grensoverschrijdende maatregelen. Ten aanzien van VSY Iberica ontleent de rechtbank internationale bevoegdheid aan artikel 8 EEX II-Vo en ten aanzien van VSY Turkije aan artikel 7 Rv. Tussen de vorderingen jegens VSY B.V. enerzijds en de vorderingen jegens VSY Iberica en VSY Turkije anderzijds bestaat een zodanige samenhang, dat het risico van onverenigbare beslissingen bestaat bij afzonderlijke berechting. De situatie is feitelijk en rechtens voor alle gedaagden (grotendeels) gelijk. Alle vier de gedaagden wordt immers een inbreuk op hetzelfde nationale deel van een Europees octrooi met hetzelfde voortbrengsel verweten3.. Nu VSY B.V. aan het hoofd van de VSY-groep staat, is het voor de andere drie gedaagden ook voorzienbaar dat zij voor de gestelde gezamenlijke octrooi-inbreuk in Nederland gedagvaard worden. Deze bevoegdheid is eveneens grensoverschrijdend.
6.2.
VSY wijst er echter terecht op dat op grond van artikel 24 lid 4 EEX II-Vo andere rechters dan de Nederlandse rechter bij uitsluiting bevoegd zijn een oordeel te geven over het nietigheidsverweer van VSY ten aanzien van de buitenlandse delen van EP 493. Dat artikel is van openbare orde en dient daarom ook te worden toegepast in procedures waarbij gedaagden geen woonplaats hebben in de Europese Unie, zoals VSY Turkije. Dat leidt echter niet tot onbevoegdheid van de rechtbank ten aanzien van de inbreukvordering, zoals VSY betoogt. De rechtbank dient het oordeel van de exclusief bevoegde buitenlandse rechters af te wachten indien Carl Zeiss verzoekt om aanhouding en dient de vordering bij gebreke van een dergelijk verzoek af te wijzen4.. Carl Zeiss heeft om aanhouding verzocht, zodat de rechtbank gehouden is de beoordeling van de gestelde octrooi-inbreuk op de buitenlandse delen van EP 493 aan te houden totdat de daartoe bevoegde buitenlandse rechters hebben beslist over de geldigheid van die delen, maar enkel indien de overige weren van VSY tegen de inbreuk niet zouden slagen.
6.3.
Hetzelfde geldt voor het gestelde onrechtmatig handelen door (kort gezegd) betrokken te zijn bij octrooi-inbreuk op de buitenlandse delen van EP 493. Ook de beoordeling van die vraag is (als de andere verweren van VSY tegen deze grondslag niet slagen) afhankelijk van de vraag of die buitenlandse delen geldig zijn, zodat de rechtbank ook ten aanzien van die grondslag haar beoordeling mogelijk dient aan te houden. Evenals voor de octrooi-inbreuk vraag, leidt dat ook voor deze grondslag niet tot onbevoegdheid van de Nederlandse rechter.
6.4.
De Nederlandse rechter is eveneens bevoegd kennis te nemen van de gevorderde provisionele maatregelen. Uit het voorgaande volgt immers dat de rechtbank internationaal bevoegd is kennis te nemen van de vorderingen in de hoofdzaak in conventie, zodat zij ook bevoegd is kennis te nemen van voorlopige voorzieningen (ook wel ‘eerste spoor’ bevoegdheid genoemd). Het Solvay/Honeywell arrest5.leert dat artikel 24 lid 4 EEX II-Vo niet in de weg staat aan een onmiddellijke beoordeling van een voorlopige voorziening voor zover het de buitenlandse delen van EP 493 betreft, omdat daarbij slechts een voorlopige evaluatie wordt gegeven van de geldigheid van de buitenlandse delen van het octrooi en de rechtbank de gevorderde voorlopige voorziening niet toekent indien er naar haar oordeel een serieuze, niet te verwaarlozen kans bestaat dat het ingeroepen octrooi door de bevoegde rechter nietig wordt verklaard. Volgens vaste rechtspraak geldt dit ook als de bevoegdheid niet is gebaseerd op artikel 35 EEX II-Vo, maar op de bevoegdheid ten gronde volgens het ‘eerste spoor’6..
6.5.
De relatieve bevoegdheid van deze rechtbank volgt uit artikel 80 lid 2 ROW en is overigens niet door VSY bestreden.
6.6.
De slotsom is dat de rechtbank bevoegd is kennis te nemen van alle vorderingen in conventie. Daarbij dient de beoordeling in de hoofdzaak aangehouden te worden voor zover daarbij de geldigheid van de buitenlandse delen van EP 493 aan de orde komt, totdat daarop is beslist door de bevoegde buitenlandse rechters, nu Carl Zeiss om die aanhouding heeft verzocht. De rechtbank is zonder aanhouding bevoegd om te beslissen op de gevorderde provisionele voorziening, waarbij zij de geldigheid van zowel het Nederlandse als de buitenlandse delen van EP 493 bij een voorlopig oordeel kan betrekken. De incidentele vordering tot onbevoegdverklaring zal derhalve worden afgewezen.
6.7.
VSY wordt als de in het ongelijk gestelde partij in het incident veroordeeld in de proceskosten. Carl Zeiss heeft een proceskostenveroordeling op de voet van artikel 1019h Rv gevorderd. Partijen hebben verklaard dat zij overeenstemming hebben bereikt over de vraag wat de redelijke en evenredige proceskosten in deze zaak zijn. Daarbij hebben zij ter zitting toegelicht dat zij geen kosten aan het incident toedichten. De rechtbank begroot de proceskosten in het incident daarom op nihil.
In de hoofdzaak
Valt de Tri-ED 611 lens onder de beschermingsomvang van conclusie 5?
6.8.
Het geschil tussen partijen spitst zich toe op de vraag of de Tri-ED 611 lens onder de beschermingsomvang van conclusie 5 (en een aantal volgconclusies) valt. In navolging van VSY verdeelt de rechtbank conclusie 5 in de volgende deelkenmerken:
1. Afakische intraoculaire lens (10), die geschikt is om in een lenskapsel te worden geplaatst, en
2. voorzien van een buigingsrooster (22), dat een reliëfpatroon (24, 50, 60, 70, 80) heeft, dat zich concentrisch op een lensoppervlak (16, 102, 112) uitstrekt, met het kenmerk, dat de lens omvat:
3a. een synchrone structuur, waarbij verschillende typen van reliëfs (26, 28), waaronder ten minste twee reliëfs (26, 28), waarvan eerste orde afgebogen lichtstralen respectieve brandpuntsafstanden, die van elkaar verschillen, voor het reliëfpatroon (24, 50, 60, 70, 80) geven, zodanig zijn geplaatst, dat zij elkaar overlappen in ten minste een deel van een gebied in een radiale richting van de lens (10), en
3b. met betrekking tot elke roosterafstand van één reliëf (28), dat een maximumroosterafstand onder de in overlap geplaatste reliëfs (26, 28) heeft, roosterafstanden van een ander reliëf periodiek zijn overlapt.
6.9.
Dat de Tri-ED 611 lens onder deelkenmerken 1. en 2. valt, is niet in geschil. Evenmin is in geschil dat indien de structuur van de Tri-ED 611 lens bestaat uit (ten minste) twee reliëfs die de eigenschappen van deelkenmerken 3a. en 3b. bevatten in elk geval sprake is van een synchrone structuur in de zin van deelkenmerk 3a. VSY betwist echter dat de Tri-ED 611 lens een synchrone structuur bezit in de zin van deelkenmerk 3a. omdat Carl Zeiss niet heeft aangetoond dat de Tri-ED 611 lens bestaat uit reliëfs waarvan de roosterafstanden periodiek overlappen (‘synchroon zijn’). Verder valt de Tri-ED 611 lens vanwege de vorm van de reliëfs waaruit de structuur van de Tri-ED 611 lens in de optiek van Carl Zeiss bestaat, volgens VSY buiten de beschermingsomvang van conclusie 5.
Synchrone structuur
6.10.
Ter zitting heeft Carl Zeiss zich op het standpunt gesteld dat conclusie 5 een product-by-process claim is, zodat zij niet hoeft te bewijzen dat de synchrone structuur van het profiel van de Tri-ED 611 lens het resultaat is van de geclaimde periodieke overlapping van de reliëfs. VSY heeft naar het oordeel van de rechtbank terecht bezwaar gemaakt tegen deze stellingname. Uit de dagvaarding en de overige stukken die Carl Zeiss in het geding heeft gebracht, blijkt niets van deze ter zitting bepleite uitleg van conclusie 5, zodat VSY daar geen verweer op heeft kunnen voorbereiden en in zoverre in haar verdediging is geschaad. De rechtbank gaat aan de door Carl Zeiss bepleite omkering van de (stelplicht en) bewijslast derhalve voorbij.
6.11.
Carl Zeiss heeft haar stelling dat de Tri-ED 611 lens voldoet aan deelkenmerken 3a. en 3b. onderbouwd met de meetresultaten in het Gerlach rapport I, met name met de in 2.13 weergegeven figuur 7.
6.12.
VSY heeft er op gewezen dat zij bij gebreke van vermelding in het rapport van de ruwe data waarop de meetresultaten zijn gebaseerd, niet in staat is de metingen te herhalen en de juistheid daarvan te controleren. Dit verweer slaagt niet. De metingen zijn verricht – zo is niet in geschil – aan een Tri-ED 611 lens. VSY moet in staat worden geacht zelf metingen aan deze door haarzelf geproduceerde lenzen te kunnen doen om daarmee ruwe data te verzamelen waarmee de tests herhaald kunnen worden. Voor zover niet al uit het Gerlach rapport I blijkt welke meetmethodes Gerlach heeft toegepast – het rapport bevat een toelichting ter zake – had het op de weg gelegen van VSY om zelf metingen uit te voeren en de resultaten daarvan te vergelijken met de resultaten uit het Gerlach rapport I. Ook had zij met eigen metingen een controle op de metingen van Carl Zeiss kunnen uitvoeren nadat Gerlach zijn onderzoek nader had toegelicht in zijn verklaring van 6 december 2016. De principiële bezwaren die VSY heeft geuit tegen het Gerlach rapport I passeert de rechtbank om die reden.
6.13.
Figuur 7 van het rapport laat voor de Tri-ED 611 lens een (samengesteld) reliëfpatroon zien dat een regelmatige periodiciteit vertoont. Uit de in 2.11.3 weergegeven figuur uit het reclamemateriaal voor de Tri-ED 611 lens blijkt dat deze lens twee aparte brandpunten voor zicht dichtbij en gemiddeld zicht genereert (naast een derde brandpunt voor zicht veraf door de refractieve werking van de lens). Het feit dat de figuur in 2.11.3 een MTF profiel toont, wat, zoals VSY terecht stelt, niet hetzelfde is als een intensiteitsprofiel zoals weergegeven in figuur 6 van het octrooi, staat aan die conclusie niet in de weg. Uit beide profielen kan, zo wordt door VSY in wezen ook niet bestreden, worden afgeleid dat er pieken van helder licht ontstaan die duiden op twee brandpunten van eerste orde licht. VSY heeft niet bestreden dat genoemde twee brandpunten ontstaan doordat het reliëfpatroon bestaat uit twee (gecombineerde) reliëfs in de Tri-ED 611 lens.
6.14.
Volgens Carl Zeiss dwingt de combinatie van figuur 7 van het Gerlach rapport I en het feit dat de Tri-ED 611 lens een brandpunt voor zicht dichtbij en een brandpunt voor gemiddeld zicht genereert, tot de conclusie dat de synchrone structuur van de Tri-ED 611 lens bestaat uit periodiek overlappende (synchroon gecombineerde) diffractiereliëfs. De daar tegenover staande stelling van VSY dat het mogelijk zou zijn deze brandpunten voor eerste orde licht te verkrijgen door het ‘asynchroon’ combineren van (hypothetische) reliëfs, en genoemd bewijs daarom niet concludent is, wordt om de navolgende redenen verworpen.
6.15.
In het Ürey rapport I heeft prof. Ürey berekend dat het reliëfpatroon van figuur 7 van het Gerlach rapport I kan bestaan uit de twee in 2.15.1 weergegeven reliëfs waarvan de roosterafstanden niet overlappen. Vervolgens heeft Ürey de respectieve brandpunten van deze twee reliëfs berekend. De uitkomsten van die berekening heeft hij weergegeven in de figuren in 2.15.4 en 2.15.5. Op basis daarvan concludeert Ürey dat er ook bij dit asynchroon gecombineerde reliëfpatroon een brandpunt voor zicht dichtbij en een brandpunt voor gemiddeld zicht ontstaat. Nadat Carl Zeiss’ octrooigemachtigde er in een reactieve productie op had gewezen dat Ürey’s berekening van de brandpunten volgens een onjuiste methode was gedaan, heeft Ürey in zijn derde rapport een nieuwe berekening gemaakt, waaruit volgens VSY blijkt dat Ürey’s asynchroon gecombineerde (hypothetische) reliëfs ook bij een juiste rekenmethode twee brandpunten opleveren. Dat zou volgens het Ürey rapport III blijken uit de daarbij behorende figuur 5, die in 2.16 is weergegeven. Daaruit blijkt echter dat beide reliëfs slechts één (gezamenlijk) brandpunt genereren (van circa +1.45D). Dat bij samenstelling van die asynchrone reliëfs een tweede brandpunt zou ontstaan van +2.90D, opgeteld de waarden van de samenstellende reliëfs, heeft Carl Zeiss bestreden. Desgevraagd heeft de namens VSY ter zitting aanwezige deskundige dr. Holmström de juistheid van deze rekenmethode niet nader kunnen uitleggen of onderbouwen.
6.16.
Het voorgaande leidt tot de slotsom dat er vanuit moet worden gegaan dat, indien het al mogelijk zou zijn het door Carl Zeiss gemeten reliëfpatroon uit te splitsen in reliëfs met niet-overlappende roosterafstanden, in dat geval niet twee afzonderlijke brandpunten van eerste orde licht ontstaan, zoals het octrooi voorschrijft.
6.17.
VSY heeft daarnaast gewezen op de in 2.7 weergegeven figuren 23 tot en met 25 van het octrooi, die twee reliëfs tonen (figuren 23 en 24) zonder overlappende roosterafstanden, en het resulterende reliëfpatroon (figuur 25). Figuur 25, dat een reliëfpatroon met een regelmatige periodiciteit laat zien, toont volgens VSY aan dat uit het reliëfpatroon alleen, zonder kennis van de samenstellende reliëfs, niet kan worden geconcludeerd wat de structuur daarvan is (synchroon of asynchroon). Hoewel Carl Zeiss dit laatste in zijn algemeenheid niet heeft bestreden, mist het argument relevantie nu nergens uit blijkt dat het reliëf van Figuur 25 twee afzonderlijke brandpunten van eerste orde licht oplevert; uit [0124] van de beschrijving en figuur 26 blijkt dat dat juist niet het geval is.
6.18.
Zoals Carl Zeiss ter zitting ook nog – onweersproken – heeft betoogd, voldoet de Tri-ED 611 lens in ieder geval niet aan de diopter-waarden volgens de hypothetische figuur 5 van het Ürey rapport III omdat de Tri-ED 611 lens ook een bifocale zone kent, waar slechts één van de samenstellende reliëfs op is toegepast. Dat reliëf heeft ook in het bifocale deel een diopter-waarde van +3D. De hiervoor in 6.15 al van de hand gewezen optelsom die in het Ürey rapport III is gemaakt, geldt derhalve zeker niet voor de Tri-ED 611 lens. Zelfs als deze hypothese zou kloppen, kan daaruit dus niet worden geconcludeerd dat de structuur van de Tri-ED 611 lens bestaat uit asynchroon gecombineerde reliëfs.
6.19.
Resumerend: VSY heeft haar betwisting van de gestelde inbreuk slechts onderbouwd met de stelling dat het bewijs dat Carl Zeiss daarvoor heeft geleverd in het Gerlach rapport I niet overtuigend is, omdat het gemeten reliëf niet noodzakelijkerwijs bestaat uit reliëfs met overlappende roosterafstanden, onder verwijzing naar de hiervoor besproken hypothese en de figuren 23 tot en met 25 uit het octrooi. VSY heeft geen onderzoeksresultaten (of andere documenten) overgelegd waaruit blijkt dat haar eigen Tri-ED 611 lens geen synchrone structuur heeft in de zin van deelkenmerk 3. In de processtukken en de pleitnota heeft zij ook in het midden gelaten of de Tri-ED 611 lens een synchrone of asynchrone structuur heeft. Pas op vragen van de rechtbank ter zitting heeft VSY verklaard dat de Tri-ED 611 lens een asynchrone structuur heeft. Zij heeft echter niet kunnen uitleggen wat er aan in de weg stond om (tegen)bewijs daarvan te verzamelen en (eventueel onder een vertrouwelijkheidsregime) over te leggen in deze procedure.
6.20.
VSY heeft betoogd dat het niet aan haar is om te stellen en te bewijzen dat de Tri-ED 611 lens niet aan de kenmerken van EP 493 voldoet. Dat is juist, maar daarbij verliest VSY uit het oog dat de rechtbank bij de beoordeling van de stellingen van Carl Zeiss wel dient te wegen in hoeverre Carl Zeiss haar stellingen heeft gemotiveerd en in hoeverre VSY haar betwisting heeft gemotiveerd. Daarbij speelt mee hoe uitgebreid de motivering is en hoe ingewikkeld of eenvoudig het is voor een betwistende partij om bepaalde onderbouwende bewijsstukken aan te dragen.
6.21.
Ter zitting heeft VSY nog betoogd dat een synchrone structuur noodzakelijkerwijs leidt tot een reliëf met flanken die zowel naar boven als naar beneden uitschieten op de posities waar beide reliëfs samenvallen, zoals te zien in figuur 13 van EP 493. Waarom dat zo is, heeft zij echter niet gemotiveerd. Dat het samengestelde profiel van de Tri-ED 611 lens blijkens figuur 7 van het Gerlach rapport I alleen uitschieters naar beneden heeft, vormt dus evenmin enig bewijs van het feit dat die lens een asynchrone structuur heeft.
6.22.
Gelet op het voorgaande heeft Carl Zeiss met het Gerlach rapport I in combinatie met de gegevens uit het in 2.11.3 weergegeven MTF profiel van de Tri-ED 611 lens, in het licht van de motivering van de betwisting door VSY, voldoende onderbouwd dat de Tri-ED 611 lens een synchrone structuur heeft in de zin van conclusie 5 van EP 493. Het ter zitting gedane aanbod van VSY om de asynchrone structuur van de Tri-ED 611 lens te bewijzen, passeert de rechtbank. Gelet op de aard van het te leveren bewijs (een meetrapport) en de aard van de procedure (een VRO procedure) had het op de weg van VSY gelegen dit bewijs eerder in het geding te brengen.
Bezwaar tegen Gerlach rapport II
6.23.
Uit het voorgaande volgt dat het bezwaar dat door VSY is gemaakt tegen overlegging van de producties EP12 en EP13 door Carl Zeiss geen doel treft. Dat bezwaar was immers gebaseerd op het betoog dat Carl Zeiss de gestelde inbreuk bij dagvaarding volstrekt onvoldoende had onderbouwd met het Gerlach rapport I en dat VSY in haar verdediging was geschaad doordat Carl Zeiss pas bij nadere producties haar stellingen had onderbouwd. Uit de voorgaande overwegingen volgt dat het Gerlach rapport I in combinatie met de gegevens uit het op de website van VSY geopenbaarde MTF profiel een voldoende onderbouwing vormen van de inbreuk. Producties EP12 (het Gerlach rapport II) en EP13 zijn dan ook te beschouwen als een nadere onderbouwing, in reactie op het verweer van VSY, niet als de primaire onderbouwing daarvan.
Octrooi beperkt tot zaagtandreliëfs en een reliëfpatroon met uniform afnemende roosterafstanden?
6.24.
VSY heeft aan het Gerlach rapport II subsidiair de argumenten ontleend voor haar verweer dat de Tri-ED 611 lens vanwege de vorm van de samengestelde reliëfs buiten de beschermingsomvang van EP 493 valt.
6.25.
In het Gerlach rapport II heeft Carl Zeiss de uitkomsten weergegeven van haar berekening van de twee reliëfs waaruit de structuur van de Tri-ED 611 lens volgens Carl Zeiss bestaat. Daaruit blijkt dat één van deze reliëfs een afgevlakte vorm heeft aan de bovenzijde. EP 493 definieert een reliëf in [0040] als een zaagtandvorm (“jagged form”). Volgens VSY wordt daarmee bedoeld een zaagtandprofiel met scherpe hoeken/pieken, wat wordt bevestigd door alle figuren bij EP 493, die ook allemaal profielen met dergelijke pieken tonen. Volgens VSY is de beschermingsomvang van het octrooi verder beperkt tot lenzen met een reliëfpatroon waarvan de roosterafstand uniform afneemt gezien vanaf de radiale as. De door Carl Zeiss gemeten lens valt niet binnen de beschermingsomvang van het octrooi omdat de roosterafstand van het reliëf voor zicht dichtbij van die lens niet uniform afneemt.
6.26.
De rechtbank stelt voorop dat de beschermingsomvang van een Europees octrooi op grond van artikel 69 lid 1 Europees Octrooiverdrag (EOV) wordt bepaald door de conclusies van het octrooischrift, waarbij de beschrijving en de tekeningen dienen tot uitleg van die conclusies. Daarbij dient, op grond van artikel 1 van het Protocol inzake de uitleg van artikel 69 EOV, het midden te worden gehouden tussen een uitleg die de beschermingsomvang uitsluitend bepaalt aan de hand van de letterlijke tekst van de conclusies en een uitleg waarbij de conclusies alleen als richtlijn dienen en waarbij de bescherming zich uitstrekt tot datgene wat de octrooihouder volgens de gemiddelde vakman (hierna ook: de vakman) heeft willen beschermen.
6.27.
De vakman in deze zaak is naar het oordeel van de rechtbank een onderzoeker met in ieder geval kennis van lenzen voor intra-oculaire toepassingen.
6.28.
Dat de vakman de term reliëf beperkt zou achten tot een structuur met scherpe pieken wordt verworpen. De beschrijving van het octrooi bevat die beperking niet. De vakman zal begrijpen dat het reliëf zodanig moet zijn vormgegeven dat het door middel van diffractie eerste orde licht kan genereren. Carl Zeiss heeft onweersproken gesteld dat de vakman weet dat een afgevlakt reliëf die werking niet wegneemt, omdat de werking wordt bepaald door de randen en niet door de tussenliggende vorm. Voor de vakman is er derhalve geen technische reden om de term ‘reliëf’ in conclusie 5 zo beperkt te lezen. Daar komt bij dat VSY zelf, in het kader van haar nawerkbaarheidsverweer, heeft betoogd dat de vakman de term reliëf zal opvatten als allerlei reliëfvormen. Dat de figuren van EP 493 enkel zaagtandprofielen met scherpe pieken tonen, vormt tegen deze achtergrond onvoldoende basis voor de door VSY bepleite beperkte lezing van dit element.
6.29.
Wat betreft de door VSY bepleite uniforme afname van de roosterafstanden oordeelt de rechtbank dat de conclusies en de beschrijving van EP 493 die beperking evenmin bevatten. Waarom de vakman deze beperking daar nochtans in zou lezen, heeft VSY niet nader gemotiveerd. Zij verwijst weliswaar naar randnummer 7 van het Ürey rapport III, maar daarin wordt niet uitgelegd waarom de vakman de conclusies zo beperkt zou uitleggen. Dat het octrooi alleen voor een dergelijke structuur de werking zou aantonen, zoals VSY stelt, is voor de vraag hoe het octrooi uitgelegd moet worden niet relevant. Die stelling kan hoogstens een rol spelen in het kader van de geldigheid van het octrooi.
Tussenconclusie
6.30.
Uit het voorgaande volgt dat het door Carl Zeiss gemeten (samengestelde) reliëfpatroon van de Tri-ED 611 lens aan de kenmerken van conclusie 5 voldoet. VSY heeft niet bestreden dat de Tri-ED 611 lens bij deze stand van zaken ook voldoet aan de kenmerken van de afhankelijke conclusies 6, 7, 12 en 15.
6.31.
Daarmee komt de rechtbank toe aan het verweer van VSY dat EP 493 nietig is. De rechtbank is bevoegd de geldigheid van het Nederlandse deel van EP 493 (EP 493 (NL)) te beoordelen. De rechtbank heeft, zoals hiervoor in 6.2 overwogen, echter geen bevoegdheid te oordelen over de geldigheid van de overige delen van EP 493. De rechtbank zal hierna daarom alleen ingaan op de geldigheid van EP 493 (NL).
Nawerkbaarheid
6.32.
VSY voert verschillende nawerkbaarheidsbezwaren aan. In de eerste plaats stelt zij dat de vakman niet zou weten hoe hij het octrooi moet nawerken omdat onduidelijk is welke reliëfvorm hij moet toepassen om het beoogde resultaat te bereiken. Een reliëf waarbij niet één zijde evenwijdig is aan de optische as valt bijvoorbeeld ook onder het begrip ‘reliëf’, aldus VSY.
6.33.
Tussen partijen is niet in geschil dat de vakman bekend was met de stand van de techniek waarin op normale (refractieve) lenzen diffractiereliëfs worden toegepast. De leer van het octrooi is dat meerdere van zulke reliëfs met elkaar worden overlapt. Dat de vakman niet zou weten welke vorm die reliëfs zouden moeten hebben voor een diffractieve werking is geenszins aannemelijk gemaakt door VSY. Vervolgens leert het octrooi ook volgens welk patroon de vakman de reliëfs moet overlappen, namelijk periodiek samenvallend en zo dat de roosterafstanden een veelvoud van het reliëf met de kortste roosterafstand zijn. VSY heeft bovendien niet betwist dat de vakman in ieder geval de voorbeelden kan nawerken. Dit nawerkbaarheidsverweer faalt dan ook.
6.34.
VSY voert in de tweede plaats aan dat het kenmerk ‘dat zij elkaar overlappen in ten minste een deel van een gebied’ niet nawerkbaar is voor de vakman, omdat dat alleen het beoogde resultaat geeft als er een substantiële overlap is. Zoals Carl Zeiss terecht opmerkt, blijkt uit de verklaring van Ürey in het Ürey rapport I al dat hij inziet dat de overlap zo groot moet zijn dat die substantieel is, om zowel bij vergrote als vernauwde pupillen brandpunt voor zicht dichtbij en gemiddeld zicht te genereren. Waarom de vakman dat op de prioriteitsdatum niet zou begrijpen, heeft VSY niet duidelijk gemaakt. Ook dit verweer slaagt naar het oordeel van de rechtbank derhalve niet.
6.35.
Ten derde voert VSY aan dat het kenmerk ‘periodiek zijn overlapt’ niet nawerkbaar is. Volgens VSY zou het octrooi alleen nawerkbaar zijn als er specifieke overlap-ratio’s zouden worden geopenbaard. Het ontbreken van die ratio’s leidt naar het oordeel van de rechtbank evenmin tot niet-nawerkbaarheid. De beschrijving van EP 493 maakt onder andere in [0039] duidelijk dat de structuur synchroon moet zijn in de zin dat iedere roosterafstand van het breedste reliëf samenvalt met een heel aantal roosterafstanden van de kleinere reliëfs. Dat het octrooi op basis van die informatie in de beschrijving niet nawerkbaar is, is niet nader onderbouwd door VSY. Ook dit nawerkbaarheidsverweer slaagt dus niet.
Nieuwheid
6.36.
VSY heeft ook de nieuwheid van EP 493 (NL) bestreden, op grond van US 234, EP 992 en (ter zitting nog) US 391.
6.37.
US 234 openbaart een lens met een multiorder diffractive (MOD) structuur. Zoals US 234 beschrijft in [0002], vindt door deze structuur diffractie van verschillende ordes licht tot een gemeenschappelijk brandpunt plaats. Daarnaast openbaart US 234 een tweede structuur, een Waveform splitting diffractive (WSD) structuur. Zoals uit randnummer [0007] van US 234 blijkt, wordt met die WSD structuur licht in meer ordes gesplitst. Vervolgens openbaart US 234 dat door de samenwerking van deze twee structuren gecombineerde brandpunten ontstaan. Dat volgt ook uit de in 2.17.1 weergegeven figuur. Daarmee is duidelijk dat US 234 niet alle kenmerken van EP 493 (NL) openbaart. Van meerdere diffractieve structuren die ieder eerste orde licht in een eigen brandpunt brengen, is in US 234 geen sprake. EP 493 is dan ook nieuw ten opzichte van US 234.
6.38.
EP 992 heeft betrekking op de lens van een bril (een brillenglas), terwijl EP 493 (NL) een (intraoculaire) afakische lens betreft. Hoewel het in beide gevallen een lens betreft, impliceert het verschil in functie in dit geval ook een fysiek verschil, zoals Carl Zeiss terecht heeft gesteld. Een intraoculaire lens wordt gemaakt van een specifiek elastisch materiaal, zodat de lens met een injectienaald kan worden ingebracht en zich dan weer ontvouwt, en mag niet worden afgestoten door het immuunsysteem. Een brillenglas is juist gemaakt van een hard/duurzaam materiaal zoals glas of harde kunststoffen. Aangezien het materiaal waarvan een voortbrengsel is gemaakt een fysiek kenmerk van dat voortbrengsel is, is de lens van EP 992 een ander voortbrengsel dan de geclaimde lens. Reeds daarom is EP 493 (NL) nieuw ten opzichte van EP 992.
6.39.
De rechtbank gaat voorbij aan het beroep van VSY op US 391. Carl Zeiss heeft terecht bezwaar gemaakt tegen deze uitbreiding van het verweer van VSY ter zitting. De rechtbank ziet niet in waarom VSY haar beroep op US 391 niet eerder had kunnen doen. VSY betoogt dat zij bij dit nietigheidsargument uitgaat van de berekening die Gerlach in paragraaf 4 van het Gerlach rapport II heeft uitgevoerd en daarom niet eerder een beroep heeft kunnen doen op dit document. Die berekening, waarbij met behulp van een softwareprogramma het reliëfpatroon is ontleed in de samenstellende reliëfs, vormt naar het oordeel van de rechtbank geen nieuwe stellingname of uitleg van de conclusies door Carl Zeiss. Daarbij verwijst de rechtbank naar hetgeen hiervoor in 6.23 is geoordeeld en de daaraan voorafgaande overwegingen. Niet valt in te zien dat en waarom eventuele nieuwheidsschadelijkheid van US 391 afhankelijk is van een berekening die Gerlach in zijn rapport heeft gebruikt.
Inventiviteit
6.40.
VSY heeft de inventiviteit van EP 493 (NL) bestreden in het licht van US 234 of EP 992, al dan niet in combinatie met US 636, en de algemene vakkennis. Ook is EP 493 volgens VSY niet inventief in het licht van US 391 in combinatie met de algemene vakkennis.
6.41.
US 234 ontneemt ook niet de inventiviteit aan EP 493 (NL). Zoals hiervoor in 6.37 al is overwogen, openbaart US 234 een lens met twee profielen die ieder afzonderlijk een andere werking hebben en die in combinatie twee gezamenlijke brandpunten genereren. Waarom US 234 voor de vakman een promising springboard zou vormen om te komen tot EP 493 (NL) heeft VSY niet duidelijk kunnen maken. VSY heeft ter zitting desgevraagd nog wel een probleem geformuleerd, maar heeft daarbij niet kunnen aangeven wat de verschilmaatregelen tussen US 234 en EP 493 zijn. Hoe de vakman, uitgaande van US 234 bij de uitvinding van EP 493 (NL) zou zijn gekomen, heeft VSY derhalve onvoldoende gemotiveerd.
6.42.
Op dezelfde gronden wordt ook het beroep van VSY op EP 992 van de hand gewezen. Zoals hiervoor overwogen betreft die publicatie niet een intra-oculaire lens, maar een brillenglas. Waarom die publicatie een promising springboard voor de vakman zou vormen, waarmee hij tot de uitvinding zou zijn gekomen, is eveneens onvoldoende gemotiveerd.
6.43.
Om dezelfde reden als overwogen in 6.39 gaat de rechtbank ten slotte voorbij aan het beroep van VSY op US 391 ter bestrijding van de inventiviteit van EP 493 (NL).
Inbreukmakende handelingen
6.44.
Gelet op het voorgaande slagen de nietigheidsverweren van VSY tegen EP 493 (NL) niet. Dat brengt de rechtbank bij de vraag of er voorbehouden handelingen door gedaagden zijn verricht in Nederland.
6.45.
VSY B.V. staat op de verpakkingen van de Tri-ED 611 lens vermeld als degene die het product op de markt brengt (zoals weergegeven in 2.12). Carl Zeiss heeft voorts onweersproken gesteld dat VSY B.V. binnen de VSY-groep belast is met de wereldwijde distributie van de producten en de vennootschap is die de website van de groep, www.vsybiotechnology.com, beheert. Op die website wordt promotie gemaakt voor de Tri-ED 611 lens. VSY heeft niet gemotiveerd bestreden dat VSY B.V. in Nederland voorbehouden handelingen heeft verricht met de Tri-ED 611 lens. Gelet op dit een en ander stelt de rechtbank vast dat VSY B.V. inbreuk heeft gemaakt in Nederland op EP 493 (NL). Het jegens VSY B.V. gevorderde inbreukverbod in Nederland ligt zodoende voor toewijzing gereed.
6.46.
Volgens Carl Zeiss is VSY Biyoteknoloji de producent van de Tri-ED 611 lens en vindt de fabricage plaats in Turkije. Carl Zeiss heeft niet gesteld dat VSY Biyoteknoloji voorbehouden handelingen in Nederland heeft verricht. Inbreuk door VSY Biyoteknoloji op EP 493 (NL) kan derhalve niet worden vastgesteld. Voor zover de vorderingen van Carl Zeiss daarop zijn gericht, liggen zij voor afwijzing gereed.
6.47.
VSY Varlibaslar zou volgens Carl Zeiss de distributie vanuit Turkije van de Tri-ED 611 lens verrichten. Zij baseert zich daarbij op de Turkse website van VSY Varlibaslar. Die website is gericht op Turkije, is opgesteld in het Turks en toont geen handelen in Nederland aan. Ook ten aanzien van VSY Varlibaslar kan derhalve geen (directe of indirecte) inbreuk in Nederland worden vastgesteld. De vorderingen jegens deze gedaagde zullen dan ook worden afgewezen voor zover ze zijn gebaseerd op inbreuk op EP 493 (NL).
6.48.
VSY Iberica is volgens Carl Zeiss de Spaanse distributeur van VSY B.V. Zij staat als zodanig vermeld op de Spaanstalige pagina’s van de website van VSY B.V. Carl Zeiss heeft geen concrete voorbehouden handelingen van VSY Iberica in Nederland gesteld. Voor zover de vorderingen van Carl Zeiss jegens deze gedaagde zijn gegrond op EP 493 (NL), liggen ze derhalve ook voor afwijzing gereed.
Onrechtmatig uitlokken of profiteren van inbreuk
6.49.
Voor zover het gestelde onrechtmatig handelen betrekking heeft op het uitlokken of profiteren van inbreuk op EP 493 (NL) geldt het volgende. Vast staat dat VSY B.V. inbreuk maakt op EP 493 (NL), zodat reeds daarom geen sprake kan zijn van een separate onrechtmatige daad, bestaande uit het uitlokken of profiteren van haar eigen inbreuk.
6.50.
Ten aanzien van VSY Iberica en VSY Turkije geldt het volgende. De schade ten gevolge van het gestelde onrechtmatig uitlokken of profiteren van EP 493 (NL) doet zich voor in Nederland, omdat de octrooi-inbreuk hier plaatsvindt. Op grond van artikel 4 lid 1 Rome II-Verordening7., is Nederlands recht dan ook van toepassing op de vraag of VSY Iberica onrechtmatig heeft gehandeld. Op grond van artikel 10:159 van het Burgerlijk Wetboek jo. artikel 4 lid 1 Rome II Verordening geldt hetzelfde voor het gestelde onrechtmatig handelen door VSY Turkije. Carl Zeiss heeft geen concrete feiten of omstandigheden gesteld waaruit volgt dat VSY Turkije en/of VSY Iberica de inbreuk door VSY B.V. uitlokken. Gelet op het feit dat VSY B.V. het concern leidt en dus de zeggenschap over VSY Turkije en VSY Iberica zal hebben, ligt dat ook niet voor de hand. Carl Zeiss heeft ook niet nader gemotiveerd waarom het naar Nederlands recht onrechtmatig is om, buiten de gevallen waarvoor de ROW een voorziening biedt zoals voor indirecte inbreuk, te profiteren van de inbreuk door VSY B.V. op EP 493 (NL). De daarop gebaseerde vorderingen komen derhalve niet voor toewijzing in aanmerking.
6.51.
Voor zover de vorderingen in de hoofdzaak als grondslag hebben het onrechtmatig uitlokken en/of profiteren van inbreuk op een buitenlands deel van EP 493, komen die vorderingen niet voor toewijzing in aanmerking reeds omdat Carl Zeiss niet heeft gesteld dat het naar de daarop toepasselijke nationale rechtsstelsels in de Gedesigneerde Landen onrechtmatig zou zijn om een octrooi-inbreuk uit te lokken of om daarvan te profiteren. Daarmee heeft Carl Zeiss niet voldaan aan de in artikel 21 Rv neergelegde verplichting. Voor zover de vorderingen daarop zijn gebaseerd liggen ze gereed voor afwijzing.
Tussenconclusie
6.52.
Nu voor de beoordeling van de gestelde octrooi-inbreuk op buitenlandse delen (van de Gedesigneerde Landen) van EP 493 het oordeel van de bevoegde rechters over de geldigheid van die delen afgewacht moet worden, zal de rechtbank iedere verdere beslissing in de hoofdzaak aanhouden. De meest gerede partij kan de zaak op de rol brengen voor voortprocederen zodra de door een van partijen uit te lokken definitieve beslissingen van de bevoegde buitenlandse rechters bekend zijn8., of zodra vast staat dat Carl Zeiss haar octrooi in het betreffende land niet langer verdedigt of VSY de geldigheid daarvan niet langer betwist.
In het incident tot het treffen van een provisionele maatregel
6.53.
Omdat in 6.52 is overwogen dat een beslissing in de hoofdzaak wordt aangehouden, heeft Carl Zeiss belang bij beoordeling van de vordering tot het treffen van een provisionele maatregel voor de duur van het geding. Gelet op de gestelde voortdurende inbreuk door de verhandeling van de Tri-ED 611 lens, is dat belang tevens voldoende spoedeisend.
6.54.
Uit het voorgaande (6.45) volgt dat een provisioneel verbod voor VSY B.V. om inbreuk te maken op EP 493 (NL) toewijsbaar is. Het verbod zal worden beperkt tot het maken van octrooi-inbreuk; het ruimere verbod dat Carl Zeiss vordert op ‘betrokkenheid bij’ inbreuk, is niet toewijsbaar. De daarvoor aangevoerde grondslag, een onrechtmatige daad, slaagt niet (zie hiervoor in 6.49).
6.55.
Gelet op het in de hoofdzaak gegeven oordeel dat EP 493 (NL) geldig is, de daaraan ten grondslag gelegde overwegingen en het gegeven dat de materiële vereisten voor octrooieerbaarheid in de Gedesigneerde Landen onder het EOV dezelfde zijn en verdragsconform uitgelegd dienen te worden door de bevoegde rechters, is er voorshands geen serieuze, niet te verwaarlozen kans dat EP 493 in de Gedesigneerde Landen vernietigd zal worden. De rechtbank heeft al vastgesteld dat de Tri-ED 611 lens onder de beschermingsomvang van EP 493 valt, zodat voorshands aannemelijk is dat dit ook in de Gedesigneerde Landen het geval is.
6.56.
Dat brengt de rechtbank bij de vraag welke voorbehouden handelingen van VSY in de Gedesigneerde Landen voorshands aannemelijk zijn. Naar voorlopig oordeel maakt VSY B.V. in alle Gedesigneerde Landen inbreuk op het octrooi. VSY heeft de stelling van Carl Zeiss dat zij de Tri-ED 611 lens in alle Gedesigneerde Landen distribueert, slechts weersproken ten aanzien van Zweden. VSY heeft daarbij gewezen op de in 2.9 weergegeven kaart van haar activiteiten. Ter zitting heeft Carl Zeiss daarop gereageerd met de stelling dat Zweden op de kaart zoals die ten tijde van de zitting werd getoond op de website, ook was vermeld als land waar VSY actief is. VSY heeft dat niet weersproken. De rechtbank gaat er daarom voorshands van uit dat VSY B.V. de Tri-ED 611 lens in alle Gedesigneerde landen distribueert of dreigt te distribueren. Het aan VSY B.V. op te leggen inbreukverbod zal dan ook betrekking hebben op alle Gedesigneerde Landen (waartoe Duitsland volgens de in 2.2 gegeven definitie niet behoort).
6.57.
Voorts acht de rechtbank voorshands aannemelijk dat VSY Turkije in Turkije voorbehouden handelingen verricht die inbreuk maken op het Turkse deel van EP 493. VSY heeft niet betwist dat VSY Biyoteknoloji de Tri-ED 611 lens vervaardigt in Turkije en dat VSY Varlibaslar deze lenzen verhandelt in Turkije. Ten aanzien van de overige Gedesigneerde Landen heeft Carl Zeiss onvoldoende feiten en omstandigheden gesteld om voorshands aan te kunnen nemen dat VSY Turkije ook in die landen voorbehouden handelingen verricht. Aan VSY Turkije zal daarom een verbod worden opgelegd om in Turkije inbreuk te maken op het Turkse deel van EP 493.
6.58.
VSY heeft ook niet betwist dat VSY Iberica in Spanje de Tri-ED 611 lens verhandelt. Voorshands is derhalve eveneens aannemelijk dat VSY Iberica in Spanje inbreuk maakt op het Spaanse deel van EP 493. Ten aanzien van de overige Gedesigneerde Landen heeft Carl Zeiss niet kunnen aangeven welke voorbehouden handelingen VSY Iberica daar zou (dreigen te) verrichten. Het jegens VSY Iberica uit te spreken provisionele inbreukverbod zal derhalve beperkt worden tot Spanje.
6.59.
Voor zover de provisionele vorderingen van Carl Zeiss jegens VSY Turkije en VSY Iberica zijn gebaseerd op de onrechtmatige daad, komen die vorderingen niet voor toewijzing in aanmerking op de gronden beschreven in 6.50 en 6.51.
6.60.
De rechtbank verwerpt het verweer van VSY dat een op te leggen inbreuk-verbod beperkt moet worden tot de Tri-ED 611 lens. Gelet op de voorshands aannemelijk geachte inbreuken op EP 493 door productie, verhandeling en andere voorbehouden handelingen met de Tri-ED 611 lens, heeft Carl Zeiss recht op een provisioneel verbod op inbreuk op EP 493 (binnen de hiervoor bepaalde grenzen) zonder beperking tot één specifiek product van VSY. Daarvoor is niet nodig dat Carl Zeiss stelt dat VSY ook nog met andere lenzen inbreuk maakt of dreigt te maken.
6.61.
Aan de op te leggen inbreukverboden zullen dwangsommen worden verbonden. Carl Zeiss heeft ter zitting verklaard dat de lenzen die zij zelf onder het octrooi vervaardigt, een handelswaarde van € 600,- tot € 800,- vertegenwoordigen. Gelet op die handelswaarde, acht de rechtbank een dwangsom van € 50.000,- per overtreding of € 5.000,- per lens, met een maximum van € 1.000.000,-, proportioneel.
6.62.
VSY B.V. zal als de overwegend in het ongelijk gestelde partij worden veroordeeld in de proceskosten in dit incident tussen Carl Zeiss enerzijds en VSY B.V. anderzijds. Carl Zeiss heeft een proceskostenveroordeling op de voet van artikel 1019h Rv gevorderd, maar heeft verklaard dat zij de aan het incident toe te rekenen kosten begroot op nihil. Op die voet zal de proceskostenveroordeling worden toegewezen.
6.63.
In de onderhavige incidentele procedures tussen Carl Zeiss enerzijds en VSY Turkije en VSY Iberica anderzijds compenseert de rechtbank de kosten, omdat telkens beide partijen deels in het ongelijk zijn gesteld.
In (voorwaardelijke) reconventie
6.64.
Uit het oordeel in conventie dat de Tri-ED 611 lens onder de beschermingsomvang van EP 493 valt, volgt dat aan de voorwaarde voor de reconventionele vordering is voldaan. Uit hetgeen in conventie is geoordeeld over de nietigheidsverweren ten aanzien van EP 493 (NL) volgt dat de vordering tot vernietiging van EP 493 (NL) voor afwijzing gereed ligt.
6.65.
VSY zal als de in het ongelijk gestelde partij in reconventie worden veroordeeld in de proceskosten. Carl Zeiss heeft een proceskostenveroordeling op de voet van artikel 1019h Rv gevorderd. Zij heeft opgegeven dat zij haar proceskosten in reconventie begroot op nihil, zodat een proceskostenveroordeling op die voet toewijsbaar is.
6.66.
In afwachting van een beslissing in conventie over de inbreuk op de buitenlandse delen van EP 493, zal de rechtbank iedere verdere beslissing aanhouden, ter voorkoming van een deelvonnis in reconventie.
7. De beslissing
De rechtbank
In conventie
In het bevoegdheidsincident
7.1.
wijst de vordering af;
7.2.
veroordeelt VSY in de kosten van het incident, tot op heden begroot op nihil;
In het incident tot het treffen van een provisionele voorziening
7.3.
verbiedt VSY B.V. voor de duur van het geding in de hoofdzaak om inbreuk te maken op EP 493 in de Gedesigneerde Landen, op straffe van een dwangsom van € 50.000,- per overtreding van het verbod, dan wel, ter keuze van Carl Zeiss, van € 5.000,- per betrokken product of per dag, een gedeelte van een dag voor een hele gerekend, bij niet-naleving door VSY B.V. van het verbod met ingang van 24 uur na betekening van dit vonnis, met een maximum van € 1.000.000,-;
7.4.
verbiedt VSY Biyoteknoloji en VSY Varlibaslar voor de duur van het geding in de hoofdzaak om inbreuk te maken op EP 493 in Turkije, op straffe van een dwangsom van € 50.000,- per overtreding van het verbod, dan wel, ter keuze van Carl Zeiss, van € 5.000,- per betrokken product of per dag, een gedeelte van een dag voor een hele gerekend, bij niet-naleving door de betreffende gedaagde van het verbod met ingang van 24 uur na betekening van dit vonnis, met een maximum van € 1.000.000,- per gedaagde;
7.5.
verbiedt VSY Iberica voor de duur van het geding in de hoofdzaak om inbreuk te maken op EP 493 in Spanje, op straffe van een dwangsom van € 50.000,- per overtreding van het verbod, dan wel, ter keuze van Carl Zeiss, van € 5.000,- per betrokken product of per dag, een gedeelte van een dag voor een hele gerekend, bij niet-naleving door VSY Iberica van het verbod met ingang van 24 uur na betekening van dit vonnis, met een maximum van € 1.000.000;
7.6.
veroordeelt VSY B.V. in de kosten van dit incident, tot op heden aan de zijde van Carl Zeiss begroot op nihil;
7.7.
compenseert de kosten in de incidenten tussen Carl Zeiss enerzijds en VSY Biyoteknoloji, VSY Varlibaslar en VSY Iberica anderzijds;
7.8.
verklaart de onder 7.3, 7.4 en 7.5 gegeven verboden uitvoerbaar bij voorraad;
7.9.
wijst het in dit incident meer of anders gevorderde af;
In de hoofdzaak
7.10.
houdt iedere verdere beslissing aan;
7.11.
bepaalt dat de meest gerede partij de zaak op de rol kan plaatsen na het in 6.52, laatste zin, nader beschreven moment;
In reconventie
7.12.
houdt iedere verdere beslissing aan;
7.13.
bepaalt dat de meest gerede partij de zaak op de rol kan plaatsen na het in 6.52, laatste zin, nader beschreven moment.
Dit vonnis is gewezen door mr. F.M. Bus, mr. M. Knijff en mr. P. Burgers en in het openbaar uitgesproken op 7 juni 2017.
Voetnoten
Voetnoten Uitspraak 07‑06‑2017
Verordening (EU) 1215/2012 van het Europees Parlement en de Raad van 12 december 2012 betreffende de rechterlijke bevoegdheid, de erkenning en de tenuitvoerlegging van beslissingen in burgerlijke en handelszaken
HvJ EU 12 juni 2012, ECLI:EU:C:2012:445
Vergelijk het reeds aangehaalde arrest Solvay/Honeywell.
HR 30 november 2007, ECLI:NL:HR:2007:BA9608 (Roche/Primus II)
Zie noot 2.
Zie o.a. Hof Den Haag 20 mei 2014, ECLI:NL:GHDHA:2014:1727, r.o. 20 (Apple/Samsung), Vzr. Rechtbank Den Haag 21 november 2014, ECLI:NL:RBDHA:2014:16692, r.o. 5.5 en de bekrachtiging daarvan in Hof Den Haag 24 november 2015, ECLI:NL:GHDHA:2015:3923, r.o. 5.8 (Rhodia/Jiaxing).
Verordening (EG) nr. 864/2007 van het Europees Parlement en de Raad van 11 juli 2007 betreffende het recht dat van toepassing is op niet-contractuele verbintenissen
In de zin van r.o. 2.5.4 van het arrest Roche/Primus II