Producties 35, 36, 37, 39 en 40 zijn blanco gelaten.
Rb. Den Haag, 08-07-2020, nr. C/09/576280 / HA ZA 19-713
ECLI:NL:RBDHA:2020:6166
- Instantie
Rechtbank Den Haag
- Datum
08-07-2020
- Zaaknummer
C/09/576280 / HA ZA 19-713
- Vakgebied(en)
Intellectuele-eigendomsrecht (V)
- Brondocumenten en formele relaties
ECLI:NL:RBDHA:2020:6166, Uitspraak, Rechtbank Den Haag, 08‑07‑2020; (Bodemzaak, Eerste aanleg - meervoudig)
ECLI:NL:RBDHA:2020:4264, Uitspraak, Rechtbank Den Haag, 13‑05‑2020; (Bodemzaak, Eerste aanleg - meervoudig)
- Vindplaatsen
Uitspraak 08‑07‑2020
Inhoudsindicatie
en in de zaak met zaaknummer / rolnummer C/09/577703 / HA ZA 19-793 (zaak II). Afwijzing verzoek verbetering en aanvulling tussenvonnis ex artikel 31 en 32 Rv. Toewijzing verzoek openstellen hoger beroep tegen tussenvonnis.
Partij(en)
vonnis
RECHTBANK DEN HAAG
Team handel
Vonnis van 8 juli 2020
in de zaak met zaaknummer / rolnummer C/09/576280 / HA ZA 19-713 (zaak I) van
DTS INTERNATIONAL B.V.,
te Laren,
eiseres in conventie,
verweerster in reconventie,
advocaat mr. W.E. Pors te Den Haag,
tegen
1. SAMSUNG ELECTRONICS BENELUX B.V.,
te Delft,
2. SAMSUNG ELECTRONICS EUROPE LOGISTICS B.V.,
te Rijswijk,
3. SAMSUNG ELECTRONICS OVERSEAS B.V.,
te Amsterdam,
gedaagden in conventie,
eiseressen in reconventie,
advocaat mr. B.J. Berghuis van Woortman te Amsterdam,
en in de zaak met zaaknummer / rolnummer C/09/577703 / HA ZA 19-793 (zaak II) van
DTS INTERNATIONAL B.V.,
te Laren,
eiseres in conventie,
verweerster in reconventie,
advocaat mr. W.E. Pors te Den Haag,
tegen
1. SAMSUNG ELECTRONICS BENELUX B.V.,
te Delft,
2. SAMSUNG ELECTRONICS EUROPE LOGISTICS B.V.,
te Rijswijk,
3. SAMSUNG ELECTRONICS OVERSEAS B.V.,
te Amsterdam,
gedaagden in conventie,
eiseressen in reconventie,
advocaat mr. B.J. Berghuis van Woortman te Amsterdam.
Partijen zullen hierna DTS en Samsung c.s. genoemd worden.
1. Het verzoek tot verbetering en aanvulling
1.1.
Bij brief van 3 juni 2020 is namens Samsung c.s. aan de rechtbank verzocht om verbetering en aanvulling van het op 13 mei 2020 in de zaken I en II gewezen vonnis, in die zin dat een kennelijke fout wordt hersteld in de zin van artikel 31 van het Wetboek van Burgerlijke Rechtsvordering (Rv) en het vonnis wordt aangevuld op de voet van artikel 32 Rv.
1.2.
Samsung c.s. voert daartoe het volgende aan. Op de reconventionele nietigheidsvordering is zowel in zaak I als zaak II definitief beslist en de rechtbank had die beslissing in het dictum moeten opnemen. Omdat Samsung c.s. in beide procedures in reconventie volledig in het gelijk is gesteld, had de rechtbank DTS in reconventie moeten veroordelen in de kosten ex artikel 1019h Rv. Het feit dat in conventie nog geschilpunten voorliggen waarover de rechtbank nog niet heeft kunnen beslissen, is in dit kader irrelevant. De vorderingen in conventie en die in reconventie zijn afzonderlijke vorderingen en de procedures zijn afzonderlijke procedures, en in casu kunnen de toekomstige beslissingen in conventie ook niet van invloed zijn op de uitkomst in de procedures in reconventie. Dat de nietigheidsbeslissing niet in het dictum is opgenomen, is dan ook een kennelijke fout. Daarnaast heeft de rechtbank nagelaten te beslissen op de door Samsung c.s. gevorderde veroordeling van DTS in de proceskosten in reconventie en in conventie voor wat betreft de vorderingen die zien op het Nederlandse deel van het betreffende Europese octrooi, zodat het vonnis aangevuld moet worden met een proceskostenveroordeling in conventie en reconventie. Ook op de vordering in conventie is gedeeltelijk beslist, nu is geoordeeld dat van inbreuk op de Nederlandse delen van EP 099 en EP 140 geen sprake kan zijn (nu die delen van EP 099 en EP 140 niet geldig zijn). Ook die beslissing is ten onrechte niet in het dictum opgenomen. Het dictum behelst ook in zoverre een kennelijke fout.
1.3.
Bij brief van 4 juni 2020 is namens DTS aan de rechtbank bericht dat DTS tegen inwilliging van het verzoek van Samsung c.s. het volgende bezwaar heeft. Van een kennelijke fout is geen sprake en van een juridische fout evenmin. Het verzoek is ook niet toewijsbaar op de grond van artikel 32 Rv. De rechtbank heeft niet verzuimd te beslissen op een onderdeel van het gevorderde. De rechtbank heeft er immers expliciet voor gekozen om iedere verdere beslissing aan te houden, zodat duidelijk is dat de rechtbank wel degelijk onder ogen heeft gezien dat te zijner tijd nog beslissingen genomen moeten worden, maar zij dat op dit moment nog niet heeft gedaan.
2. De beoordeling van het verzoek tot verbetering en aanvulling
2.1.
De rechtbank is van oordeel dat in het vonnis van 13 mei 2020 geen sprake is van een kennelijke fout, die zich voor eenvoudig herstel leent. In het vonnis van 13 mei 2020 heeft de rechtbank in de beoordeling in conventie en reconventie overwogen dat zij ‘iedere verdere beslissing in beide zaken [zal] aanhouden’. Reeds daarom is er geen sprake van een kennelijke fout door in het dictum niet te beslissen zoals Samsung c.s. thans verzoekt. De rechtbank zal het verzoek tot herstel van een kennelijke fout dan ook afwijzen.
2.2.
Ook het verzoek tot aanvulling van het dictum van het vonnis wordt afgewezen. Uit het feit dat dit vonnis een tussenvonnis is, waarin de beslissing over de proceskosten is aangehouden, volgt al dat er (nog) geen sprake is van de situatie dat de rechtbank heeft verzuimd op alle vorderingen te beslissen.
3. Het verzoek tot het tussentijds openstellen van hoger beroep
3.1.
Bij brief van 4 juni 2020 is namens DTS verzocht hoger beroep tegen het tussenvonnis open te stellen. DTS voert daartoe aan dat het oordeel van de rechtbank dat de Nederlandse delen van EP 140 en EP 099 nietig zijn, ingrijpend voor haar is. Indien geen tussentijds hoger beroep wordt toegestaan, moet DTS ofwel eerst bij de rechters in de (elf) gedesigneerde landen een verklaring voor recht over de geldigheid van die delen van haar octrooien zien te verkrijgen, ofwel – om bij de rechtbank Den Haag door te kunnen procederen – haar inbreukvorderingen voor die landen intrekken (dit zou betekenen dat DTS in een later stadium per land zal moeten gaan procederen, terwijl Samsung c.s. de distributie voor Europa vanuit haar Nederlandse vennootschappen uitvoert). Beide octrooien lopen af op 13 juni 2024, zodat DTS er belang bij heeft in ieder geval ruim voor die datum een nader oordeel te krijgen over de geldigheid van de Nederlandse delen van de octrooien. Daar komt bij dat Samsung c.s. ook oppositie heeft ingesteld tegen beide octrooien, waarin op 7 en 8 december 2020 een mondelinge behandeling bij de oppositiedivisie van het Europees Octrooibureau (EOB) is gepland. Tijdens die procedure wil DTS duidelijk maken aan het EOB, dat zij in beroep is gegaan van (de beoordeling in) het tussenvonnis van de rechtbank.
3.2.
Bij brief van 12 juni 2020 is namens Samsung c.s. bezwaar gemaakt tegen toewijzing van het verzoek van DTS. Samsung c.s. voert daartoe het volgende aan. Het gevolg van toewijzing van het verzoek van DTS zal zijn dat Samsung c.s. voorlopig geen proceskosten toegewezen krijgt, maar DTS wel verder kan procederen. Gezien de financiële positie van DTS wordt het incasso-risico voor Samsung c.s. daardoor steeds groter. Er zijn volgens Samsung c.s. geen bijzondere omstandigheden die het openstellen van tussentijds hoger beroep rechtvaardigen. De door DTS gestelde omstandigheid dat zij anders eerst haar grensoverschrijdende vorderingen dient in te trekken of buitenlandse beslissingen over de geldigheid dient te verkrijgen, is niet een zodanige bijzondere omstandigheid. Dat heeft DTS over zichzelf afgeroepen door grensoverschrijdende vorderingen in te stellen in de wetenschap dat Samsung c.s. een geldigheidsverweer zou voeren en de rechtbank niet over de geldigheid van de buitenlandse delen van de ingeroepen octrooien kan beslissen. DTS heeft overigens een jaar na het aanhangig maken van de Nederlandse procedures nog geen enkele actie ondernomen om in het buitenland een uitspraak te verkrijgen over de geldigheid van de ingeroepen octrooien, terwijl zij al vele maanden bekend is met de betwisting door Samsung c.s. daarvan.
4. De beoordeling van het verzoek tot het tussentijds openstellen van hoger beroep
4.1.
Bij het nemen van de beslissing op het verzoek wordt in aanmerking genomen dat het verzoek ertoe strekt een uitzondering te maken op de in artikel 337 lid 2 Rv neergelegde hoofdregel dat hoger beroep van tussenvonnissen slechts is toegestaan tegelijk met het hoger beroep tegen het eindvonnis. Uit de wetsgeschiedenis van deze bepaling kan worden afgeleid dat het de bedoeling is om bij het toestaan van tussentijds hoger beroep een grote mate van terughoudendheid te betrachten en dat de beslissing daartoe afhankelijk is van de vraag of in het voorliggende geval sprake is van bijzondere omstandigheden die afwijking van de in artikel 337 lid 2 Rv neergelegde hoofdregel rechtvaardigen uit het oogpunt van doelmatigheid.
4.2.
De rechtbank is van oordeel dat er in dit geval voldoende zwaarwegende redenen bestaan om van de hoofdregel af te wijken door tussentijds hoger beroep van het tussenvonnis open te stellen. De tijdsduur van de schorsing van deze procedures is niet te voorspellen. De schorsing zou kunnen voortduren totdat in alle elf landen waar de octrooien van kracht zijn, is beslist op de geldigheid. Gesteld noch gebleken is dat in een van die landen al een procedure is ingesteld waarin vernietiging van de octrooien door Samsung c.s. en/of derden is gevorderd. Samsung c.s. heeft wel oppositie tegen de octrooien ingesteld bij het EOB, maar het kan ook geruime tijd duren voordat er een definitieve beslissing is in die procedures. Dat het openstellen van tussentijds hoger beroep de procedure zal vertragen, vormt in dit geval dan ook geen reden om van het toestaan daarvan af te zien. Het door Samsung c.s. gestelde incasso-risico ten aanzien van de proceskosten legt daar tegenover onvoldoende gewicht in de schaal. Dat risico bestaat ten aanzien van de tot nu toe gemaakte proceskosten ook zonder het openstellen van hoger beroep.
4.3.
Gelet op dit een en ander zal de rechtbank het verzoek tot openstellen van tussentijds beroep honoreren.
5. De beslissing
De rechtbank
5.1.
wijst het verzoek om verbetering en/of aanvulling van het op 13 mei 2020 tussen DTS en Samsung c.s. gewezen tussenvonnis in zaak I en zaak II af,
5.2.
bepaalt dat van het op 13 mei 2020 tussen DTS en Samsung c.s. in zaak I en zaak II gewezen tussenvonnis tussentijds hoger beroep kan worden ingesteld;
5.3.
houdt iedere verdere beslissing aan;
5.4.
verwijst de zaak hangende het hoger beroep, in afwachting van de uitkomst van de procedure in hoger beroep, naar de parkeerrol van 7 april 2021.
Dit vonnis is gewezen door mr. F.M. Bus, mr. J.E. Bierling en mr. H. Meinders en in het openbaar uitgesproken door mr. D. Nobel, rolrechter, op 8 juli 2020.
Uitspraak 13‑05‑2020
Inhoudsindicatie
en in de zaak met zaaknummer / rolnummer C/09/577703 / HA ZA 19-793 (zaak II). Octrooirecht. Nederlands deel van twee octrooien nietig vanwege toegevoegde materie. Schorsing procedure in afwachting oordeel over nietigheid van bevoegde rechters over buitenlandse delen.
Partij(en)
vonnis
RECHTBANK DEN HAAG
Team handel
Vonnis van 13 mei 2020
in de zaak met zaaknummer / rolnummer C/09/576280 / HA ZA 19-713 (zaak I) van
DTS INTERNATIONAL B.V.,
te Laren,
eiseres in conventie,
verweerster in reconventie,
advocaat mr. W.E. Pors te Den Haag,
tegen
1. SAMSUNG ELECTRONICS BENELUX B.V.,
te Delft,
2. SAMSUNG ELECTRONICS EUROPE LOGISTICS B.V.,
te Rijswijk,
3. SAMSUNG ELECTRONICS OVERSEAS B.V.,
te Amsterdam,
gedaagden in conventie,
eiseressen in reconventie,
advocaat mr. B.J. Berghuis van Woortman te Amsterdam,
en in de zaak met zaaknummer / rolnummer C/09/577703 / HA ZA 19-793 (zaak II) van
DTS INTERNATIONAL B.V.,
te Laren,
eiseres in conventie,
verweerster in reconventie,
advocaat mr. W.E. Pors te Den Haag,
tegen
1. SAMSUNG ELECTRONICS BENELUX B.V.,
te Delft,
2. SAMSUNG ELECTRONICS EUROPE LOGISTICS B.V.,
te Rijswijk,
3. SAMSUNG ELECTRONICS OVERSEAS B.V.,
te Amsterdam,
gedaagden in conventie,
eiseressen in reconventie,
advocaat mr. B.J. Berghuis van Woortman te Amsterdam.
In beide zaken zal eiseres in conventie, verweerster in reconventie, hierna DTS genoemd worden. Gedaagden in conventie, eiseressen in reconventie, zullen hierna, in beide zaken, afzonderlijk worden aangeduid als Samsung Electronics Benelux, Samsung Electronics Europe en Samsung Electronics Overseas en gezamenlijk als Samsung c.s.
De zaken zijn voor DTS inhoudelijk behandeld door de advocaat voornoemd, mr. T.M. van den Heuvel, mr.ir. K. Hsia en mr. S.A. Lodder, advocaten te Den Haag, en dr.ir. S.M. van Rijnswou, octrooigemachtigde, en voor Samsung c.s. door de advocaat voornoemd, mr.ir. M.W. de Koning en mr. D.M. Termeulen, advocaten te Amsterdam.
1. De procedures
1.1.
Het verloop van de procedure in zaak I blijkt uit:
- -
de beschikking van de voorzieningenrechter van deze rechtbank van 23 mei 2019 waarbij verlof is verleend om te dagvaarden volgens de regeling voor de versnelde bodemprocedure in octrooizaken;
- -
de dagvaarding van 5 juni 2019;- de akte houdende overlegging producties van DTS, met producties EP01 tot en met EP34;- de conclusie van antwoord in conventie, tevens conclusie van eis in reconventie, tevens verzoek om toepassen vertrouwelijkheidsregime, met producties GP01 tot en met GP27;- de conclusie van antwoord in reconventie, met producties EP35 tot en met EP39;- de akte overlegging aanvullende producties van DTS, met producties EP40 tot en met EP69;- de akte houdende overlegging nadere producties van Samsung c.s., met producties GP28 tot en met GP32;- de akte overlegging reactieve producties van DTS, met producties EP71 tot en met EP80;- de akte houdende overlegging reactieve producties van Samsung c.s., met productie GP33;
- -
de akte houdende overlegging overzicht proceskosten van DTS;
- -
het e-mailbericht van Samsung c.s. van 31 januari 2020 met als bijlage een proceskostenoverzicht (GP34);
- -
de akte overlegging aanvullende producties van DTS, met producties EP81 tot en met EP83;- de akte houdende overlegging nadere reactieve productie van Samsung c.s., met productie GP35;- het e-mailbericht van Samsung c.s. van 10 februari 2020 waarin zij kenbaar maken dat, voor zover DTS zich tijdens de pleidooizitting zou willen beroepen op de door haar ingediende producties EP82B en EP83C, Samsung c.s. daartegen bezwaar hebben;- het e-mailbericht van Samsung c.s. van 12 februari 2020 met als bijlage een actueel overzicht van de proceskosten (GP36);- de akte houdende overlegging overzicht aanvullende proceskosten van DTS;
- -
de pleidooien van 14 februari 2020 en de bij gelegenheid daarvan door partijen gehanteerde pleitnotities, waarbij van de pleitnotities van DTS de randnummers 160 en 214 tot en met 250 niet zijn voorgedragen en van de pleitnotities van Samsung c.s. de randnummers 4.68 tot en met 4.70 niet zijn voorgedragen.
1.2.
Het verloop van de procedure in zaak II blijkt uit:- de beschikking van de voorzieningenrechter van deze rechtbank van 23 mei 2019 waarbij verlof is verleend om te dagvaarden volgens de regeling voor de versnelde bodemprocedure in octrooizaken;
- de dagvaarding van 5 juni 2019;- de akte houdende overlegging producties van DTS, met producties EP01 tot en met EP34;- de conclusie van antwoord in conventie, tevens conclusie van eis in reconventie, tevens verzoek om toepassen vertrouwelijkheidsregime, met producties GP01 tot en met GP24;- de conclusie van antwoord in reconventie, met productie EP381.;- de akte overlegging aanvullende producties van DTS, met producties EP41 tot en met EP78;- de akte houdende overlegging nadere producties van Samsung c.s., met producties GP25 tot en met GP30;
- -
de akte houdende overlegging reactieve producties van Samsung c.s., met productie GP31;- de akte overlegging reactieve producties van DTS, met producties EP79 tot en met EP83;
- -
de akte houdende overlegging overzicht proceskosten, tevens houdende overlegging productie EP84 van DTS (deze productie betreft het gedeelte van de pleitnotities zoals deze tijdens het pleidooi in zaak I door DTS zijn voorgedragen);
- -
de akte houdende overlegging aanvullende producties van Samsung c.s., met productieGP32 (deze productie betreft de pleitnotities van Samsung c.s. betreffende zaak I, inclusief de niet voorgedragen gedeeltes) en productie GP33 (proceskostenopgave);
- de akte houdende overlegging overzicht aanvullende proceskosten van DTS;
- -
het e-mailbericht van Samsung c.s. van 12 maart 2020 met productie GP34, een aanvullend overzicht proceskosten;
- -
de pleidooien van 13 maart 2020 en de bij gelegenheid daarvan door partijen gehanteerde pleitnotities, waarbij van de pleitnotities van DTS randnummer 33 niet is gepleit.
1.3.
Tijdens het pleidooi in zaak II is met partijen afgesproken dat de rechtbank bij de beoordeling van zaak I ook alle voor die zaak relevante argumenten die zijn gewisseld in zaak II zal betrekken en vice versa.
1.4.
In beide zaken is vonnis nader bepaald op heden.
2. De feiten in beide zaken
Partijen
2.1.
DTS legt zich – onder meer – toe op het technisch en commercieel exploiteren van de intellectuele eigendomsrechten die zij overgedragen heeft gekregen van Ward Participations B.V. (hierna: Ward).
2.2.
Samsung Electronics Benelux, Samsung Electronics Europe en Samsung Electronics Overseas behoren alle tot het Samsung-concern, dat actief is op het gebied van computers, software, elektronische en telecommunicatieapparatuur.
EP 3 229 099 en EP 1 634 140
2.3.
DTS is houdster van Europees octrooi EP 3 229 099 (hierna: ‘EP 099’), waarvan de verlening is gepubliceerd op 29 augustus 2018, en van Europees octrooi EP 1 634 140 (hierna: ‘EP 140’ en, samen met EP 099, ‘de octrooien’), waarvan de verlening is gepubliceerd op 16 januari 2019. Beide octrooien hebben blijkens de korte aanduiding (in de authentieke Engelse tekst) betrekking op een ‘method and system for performing a transaction and for performing a verification of legitimate access to, or use of digital data’ en hebben gelding voor Nederland, België, Zwitserland, Duitsland, Denemarken, Spanje, Finland, Frankrijk, Verenigd Koninkrijk, Ierland, Italië en Zweden. EP 140 is verleend op basis van de PCT-aanvrage PCT/NL2004/000422, gepubliceerd als WO 2004/111752 (hierna: ‘WO 752’). EP 099 is verleend op een van EP 140 afgesplitste aanvrage. Ten opzichte van EP 099 wordt EP 140 daarom hierna ook wel aangeduid als het moederoctrooi. De aanvraag voor EP 140 en de aanvraag voor EP 099 zijn beide ingediend met een beroep op prioriteit berustend op de PCT-aanvrage PCT/NL03/00436, die is ingediend op 13 juni 2003. DTS heeft EP 099 en EP 140, na verlening daarvan, overgedragen gekregen van Ward.
2.4.
Aanvankelijk is de verlening van EP 140 door de onderzoeksafdeling van het Europees Octrooibureau (EOB) geweigerd wegens gebrek aan inventiviteit. De onderzoeksafdeling overwoog in de beslissing van 11 oktober 2016 ten aanzien van een hulpverzoek van Ward:

en voorts over hetzelfde hulpverzoek:

2.5.
Tegen deze weigering is door Ward beroep ingesteld bij de Technische Kamer van Beroep (TKB) van het EOB. De Technische Kamer van Beroep heeft de beslissing van de onderzoeksafdeling vervolgens vernietigd in haar beslissing van 6 februari 2018 (T 0248/17). De beslissing van de TKB bevat de volgende overwegingen over het verloop van de procedure in beroep:


en over de inventiviteit van conclusie 1 (volgens het hulpverzoek):

De TKB heeft de zaak vervolgens terugverwezen naar de onderzoeksafdeling ter verdere behandeling van de aanvrage, waarna Ward de conclusies heeft gewijzigd in de huidige conclusies. Vervolgens is EP 140 verleend.
2.6.
Samsung c.s. hebben zowel tegen de verlening van EP 099 als tegen de verlening van EP 140 oppositie ingesteld bij het EOB.
EP 099
2.7.
EP 099 bevat een onafhankelijke werkwijzeconclusie (conclusie 1) en 21 van die conclusie afhankelijke conclusies, een onafhankelijke systeemconclusie (conclusie 23), een onafhankelijke voortbrengselconclusie (conclusie 24) en een van die voortbrengselconclusie afhankelijke conclusie.
2.8.
De conclusies van EP 099 luiden in de authentieke Engelse versie als volgt:1. Method for performing an electronic transaction between a first transaction party and a second transaction party using an electronic device operated by the first transaction party, the electronic device having an operating system creating a run-time environment for user applications, the method comprising:
providing authentication data in a memory of said electronic device, said memory being a secure part of a Basic In Out System or any other secure location in said electronic device, which authentication data are inaccessible to a user of said electronic device, wherein the authentication data are encrypted when the authentication data are stored in said memory, a decryption key for decrypting the authentication data being incorporated in the electronic device, said decryption key being inaccessible to said user, to any user-operated software and to said operating system, wherein said memory is inaccessible to said operating system of said electronic device, thereby rendering the authentication data inaccessible to said user;
providing authentication software in said electronic device, the authentication data being accessible to said authentication software, wherein authentication software is stored in said secure memory inaccessible to said operating system;activating the authentication software to generate a digital signature from the authentication data, wherein the authentication software is run in a secure processing environment inaccessible to said operating system;providing the digital signature to the second transaction party.
2. Method according to claim 1, wherein the authentication data are provided by the second transaction party, which stores the authentication data together with data identifying the first transaction party.
3. Method according to claim 2, wherein the second transaction party uses the stored authentication data to obtain transaction specific authentication data according to a specific algorithm.
4. Method according to claim 3, wherein the second transaction party verifies the digital signature provided by the first transaction party using the authentication data stored at the second transaction party.
5. Method according to claim 1, wherein the authentication software has its own unique serial number, software ID and/or private encryption key.
6. Method according to any of the preceding claims, wherein the authentication data are encrypted by the second transaction party using an encryption key before the authentication data are provided to the first transaction party.
7. Method according to claim 6, wherein the authentication software retrieves a decryption key associated with the encryption key and decrypts the authentication data at its first use.
8. Method according to claim 1, wherein the authentication software is installed in an application environment in the secure area such that it may obtain the authentication data without passing through an unsecured part of said electronic device.
9. Method according to any of the preceding claims, wherein the authentication data are encrypted using at least two encryption layers.
10. Method according to any of the preceding claims, wherein the authentication data are encrypted using an encryption key which is associated with a hardware device serial number.
11. Method according to any of the preceding claims, wherein the authentication data are encrypted using an encryption key which is associated with a user identifying number, in particular a personal identifying number, PIN, ar a number or a template associated with a fingerprint of the user.
12. Method according to any of the preceding claims, wherein the decryption key is associated with one or more serial numbers of hardware components of said electronic device.
13. Method according to any of the preceding claims, wherein the authentication data is decrypted by the authentication software.
14. Methd according to any of the preceding claims, wherein the authentication data is decrypted by an application stored in the electronic device using a device specific encryption key.
15. Method according to any of the preceding claims, wherein the authentication data is decrypted using a decryption key associated with any identifying characteristic, in particular a serial number, a personal identification number, PIN, ar a fingerprint of a user.
16. Method according to any of claims 11 to 15, wherein the authentication data are decrypted in a secure processing environment inaccessible to said user and to any user-operated software.
17. Method according to any of the preceding claims, wherein the authentication data comprise an authentication table.
18. Method according to claim 17, wherein the authentication table is generated from a bit string which is generated from fixed data and variable data.
19. Method according to claim 18, wherein the variable data comprise a random table.
20.Method according to claim 19, wherein the random table is calculated from a random two dimensional or three-dimensional pattern.
21. Method according to claim 1, further comprising identifying the user of the electronic device before activating the authentication software.
22.Method according to any one of the preceding claims, wherein the authentication software has a private encryption key for encrypting digital data.
23. System for performing an electronic transaction between a first transaction party and a second transaction using an electronic device operated by the first transaction party, the electronic device having an operating system creating a run-time environment
for user applications, the system comprising:
means for providing authentication data in a memory of said electronic device, said memory being a secure part of a Basic In Out System or any other secure location in said electronic device, which authentication data are inaccessible to a user of the electronic device, wherein the authentication data are encrypted when the authentication data are stored in said memory, a decryption key for decrypting the authentication data being incorporated in the electronic device, said decryption key being inaccessible to said user, to any user-operated software and to said operating system, wherein said memory is inaccessible to said operating system of said electronic device, thereby rendering the authentication data inaccessible to said user;
means for providing authentication software in said electronic device, the authentication data being accessible to said authentication software, wherein the authentication software is stored in a secure memory location inaccessible to said operating system;means for activating the authentication software to generate a digital signature from the authentication data, wherein the authentication software is run in a secure processing environment inaccessible to said operating system; and
means for providing the digital signature to the second transaction party; and
means for providing digital data from the second to the first transaction party.
24. Electronic device for performing an electronic transaction between a first transaction party, and a secend transaction party, wherein the electronic device is operated by the first transaction party, the electronic device having an operating system creating a run-time environment for user applications, the electronic device comprising:
a memory storing authentication data, said memory being a secure part of a Basic In Out System ar any other secure location in said electronic device, which authentication data are inaccessible to a user of the electronic device, wherein the authentication data are encrypted when the authentication data are stored in said memory, a decryption key for decrypting the authentication data being incorporated in the electronic device, said decryption key being inaccessible to said user, to any user-operated software and to said operating system, wherein said memory is inaccessible to said operating system of said electronic device, thereby rendering the authentication data inaccessible to said user;
a memory storing authentication software, the authentication data being accessible to said authentication software, wherein the authentication software is stored in a secure memory location inaccessible to said operating system;
means for activating the authentication software to generate a digital signature from the authentication data, wherein the authentication software is run in a secure processing environment inaccessible to said operating system; and
means for providing the digital signature to the second transaction party.
25. Electronic device according to claim 24, wherein the electronic device is a personal computer, a cellular phone, a hand-held personal digital assistant with wireless communication capabilities, or a device containing a BIOS.
2.9.
In de (onbestreden) Nederlandse vertaling luiden de conclusies van EP 099 als volgt:
l. Werkwijze voor het uitvoeren van een elektronische transactie tussen een eerste transactiepartij en een tweede transactiepartij met behulp van een elektronisch apparaat bediend door de eerste transactiepartij, waarbij het elektronische apparaat een besturingssysteem heeft dat een run-timeomgeving voor gebruikerstoepassingen creëert, waarbij de werkwijze omvat:
verschaffen van authenticatiegegevens in een geheugen van genoemd elektronisch apparaat, waarbij genoemd geheugen een beveiligd deel van een Basic ln Out System of elke andere beveiligde locatie in genoemd elektronisch apparaat is, welke authenticatiegegevens ontoegankelijk zijn voor een gebruiker van genoemd elektronisch apparaat, waarbij de authenticatiegegevens worden versleuteld wanneer de authenticatiegegevens worden opgeslagen in genoemd geheugen, waarbij een decryptiesleutel voor het ontsleutelen van de authenticatiegegevens is geïncorporeerd in het elektronische apparaat, waarbij genoemde decryptiesleutel ontoegankelijk is voor genoemde gebruiker, voor elke door de gebruiker bediende software en voor genoemd besturingssysteem, waarbij genoemd geheugen ontoegankelijk is voor genoemd besturingssysteem van genoemd elektronisch apparaat, waardoor de authenticatiegegevens ontoegankelijk worden voor genoemde gebruiker,verschaffen van authenticatiesoftware in genoemd elektronisch apparaat, waarbij de authenticatiegegevens toegankelijk zijn voor genoemde authenticatiesoftware, waarbij authenticatiesoftware wordt opgeslagen in genoemd beveiligd geheugen ontoegankelijk voor genoemd besturingssysteem,activeren van de authenticatiesoftware om een digitale handtekening te genereren vanuit de authenticatiegegevens, waarbij de authenticatiesoftware wordt uitgevoerd in een beveiligde verwerkingsomgeving ontoegankelijk voor genoemd besturingssysteem,verschaffen van de digitale handtekening aan de tweede transactiepartij.
2. Werkwijze volgens conclusie 1, waarbij de authenticatiegegevens worden verschaft door de tweede transactiepartij, die de authenticatiegegevens opslaat samen met gegevens die de eerste transactiepartij identificeren.
3. Werkwijze volgens conclusie 2, waarbij de tweede transactiepartij de opgeslagen
authenticatiegegevens gebruikt om transactie-specifieke authenticatiegegevens te verkrijgen volgens een specifiek algoritme.
4. Werkwijze volgens conclusie 3, waarbij de tweede transactiepartij de digitale handtekening verifieert die door de eerste transactiepartij verschaft is met behulp van de authenticatiegegevens opgeslagen bij de tweede transactiepartij.
5. Werkwijze volgens conclusie 1, waarbij de authenticatiesoftware zijn eigen unieke serienummer, software ID en/of geheime encryptiesleutel heeft.
6. Werkwijze volgens een van de voorgaande conclusies, waarbij de authenticatiegegevens worden versleuteld door de tweede transactiepartij gebruikmakend van een encryptiesleutel voordat de authenticatiegegevens worden verstrekt aan de eerste transactiepartij.
7. Werkwijze volgens conclusie 6, waarbij de authenticatiesoftware een decryptiesleutel
geassocieerd met de encryptiesleutel ophaalt en de authenticatiegegevens ontsleutelt bij hun eerste gebruik.
8. Werkwijze volgens conclusie 1, waarbij de authenticatiesoftware wordt geïnstalleerd in een toepassingsomgeving in het beveiligde gebied zodanig dat deze de authenticatiegegevens kan verkrijgen zonder een onbeveiligd deel van genoemd elektronisch apparaat te doorlopen.
9. Werkwijze volgens een van de voorgaande conclusies, waarbij de authenticatiegegevens worden versleuteld met tenminste twee versleutelingslagen.
10. Werkwijze volgens een van de voorgaande conclusies, waarbij de authenticatiegegevens worden versleuteld met een encryptiesleutel die is geassocieerd met een hardwareapparaat-serienummer.
11. Werkwijze volgens een van de voorgaande conclusies, waarbij de authenticatiegegevens worden versleuteld met een encryptiesleutel die is geassocieerd met een gebruikersidentificatienummer, in het bij zonder een persoonlijk identificatienummer, PIN, of een nummer of een template geassocieerd met een vingerafdruk van de gebruiker.
12. Werkwijze volgens een van de voorgaande conclusies, waarbij de decryptiesleutel is
geassocieerd met een of meer serienummers van hardwarecomponenten van genoemd elektronisch apparaat.
13. Werkwijze volgens een van de voorgaande conclusies, waarbij de authenticatiegegevens worden ontsleuteld door de authenticatiesoftware.
14. Werkwijze volgens een van de voorgaande conclusies, waarbij de authenticatiegegevens worden ontsleuteld door een toepassing opgeslagen in genoemd elektronisch apparaat met een apparaatspecifieke encryptiesleutel.
15. Werkwijze volgens een van de voorgaande conclusies, waarin de authenticatiegegevens worden ontsleuteld met een decryptiesleutel geassocieerd met een identificerend kenmerk, in het bijzonder een serienummer, een persoonlijk identificatienummer, PIN, of een vingerafdruk van een gebruiker.
16. Werkwijze volgens een van de conclusies 11 tot 15, waarbij de authenticatiegegevens worden ontsleuteld in een beveiligde verwerkingsomgeving die ontoegankelijk is voor genoemde gebruiker en voor enige door de gebruiker bediende software.
17. Werkwijze volgens een van de voorgaande conclusies, waarbij de authenticatiegegevens een authenticatietabel omvatten.
18. Werkwijze volgens conclusie 17, waarbij de authenticatietabel wordt gegenereerd uit een bitstring die wordt gegenereerd op basis van vaste gegevens en variabele gegevens.
19. Werkwijze volgens conclusie 18, waarbij de variabele gegevens een willekeurige tabel
omvatten.
20. Werkwijze volgens conclusie 19, waarbij de willekeurige tabel wordt berekend uit een
willekeurig tweedimensionaal of driedimensionaal patroon.
21. Werkwijze volgens conclusie 1, verder omvattende identificeren van de gebruiker van het elektronische apparaat voor het activeren van de authenticatiesoftware.
22. Werkwijze volgens een van de voorgaande conclusies, waarbij de authenticatiesoftware een geheime encryptiesleutel heeft voor versleutelen van digitale gegevens.
23. Systeem voor het uitvoeren van een elektronische transactie tussen een eerste transactiepartij en een tweede transactiepartij met behulp van een elektronisch apparaat bediend door de eerste transactiepartij, waarbij het elektronische apparaat een besturingssysteem heeft dat een run-timeomgeving voor gebruikerstoepassingen creëert, waarbij het systeem omvat:
middelen voor het verschaffen van authenticatiegegevens in een geheugen van genoemd elektronisch apparaat, waarbij genoemd geheugen een beveiligd onderdeel van een Basic ln Out System of elke andere beveiligde locatie in genoemd elektronisch apparaat is, welke authenticatiegegevens ontoegankelijk zijn voor een gebruiker van het elektronische apparaat, waarbij de authenticatiegegevens worden versleuteld wanneer de authenticatiegegevens worden opgeslagen in genoemd geheugen, waarbij een decryptiesleutel voor ontsleutelen van de authenticatiegegevens is geïncorporeerd in het elektronische apparaat, waarbij genoemde decryptiesleutel ontoegankelijk is voor genoemde gebruiker, voor elke door de gebruiker bediende software en voor genoemd besturingssysteem, waarbij genoemd geheugen ontoegankelijk is voorgenoemd besturingssysteem van genoemd elektronisch apparaat, waardoor de authenticatiegegevens ontoegankelijk worden voor genoemde gebruiker,
middelen voor het verschaffen van authenticatiesoftware in genoemd elektronisch apparaat, waarbij de authenticatiegegevens toegankelijk zijn voor genoemde authenticatiesoftware, waarbij de authenticatiesoftware wordt opgeslagen op een beveiligde geheugenlocatie ontoegankelijk voor genoemd besturingssysteem,
middelen voor het activeren van de authenticatiesoftware om een digitale handtekening te genereren vanuit de authenticatiegegevens, waarbij de authenticatiesoftware wordt uitgevoerd in een beveiligde verwerkingsomgeving ontoegankelijk voor genoemd besturingssysteem,
middelen voor het verschaffen van de digitale handtekening aan de tweede transactiepartij, en
middelen voor het verschaffen van digitale gegevens van de tweede transactiepartij aan de eerste transactiepartij.
24. Elektronisch apparaat voor het uitvoeren van een elektronische transactie tussen een eerste transactiepartij en een tweede transactiepartij, waarbij het elektronische apparaat wordt bediend door de eerste transactiepartij, waarbij het elektronische apparaat een besturingssysteem heeft dat een run-timeomgeving voor gebruikerstoepassingen creëert, waarbij het elektronische apparaat omvat:
een geheugen dat authenticatiegegevens opslaat, waarbij genoemd geheugen een beveiligd deel van een Basic ln Out System of elke andere beveiligde locatie in genoemd elektronisch apparaat is, welke authenticatiegegevens ontoegankelijk zijn voor een gebruiker van het elektronische apparaat, waarbij de authenticatiegegevens worden versleuteld wanneer de authenticatiegegevens worden opgeslagen in genoemd geheugen, waarbij een decryptiesleutel voor het ontsleutelen van de authenticatiegegevens is geïncorporeerd in het elektronische apparaat, waarbij genoemde decryptiesleutel ontoegankelijk is voor genoemde gebruiker, voor elke door de gebruiker bediende software en voor genoemd besturingssysteem, waarbij genoemd geheugen ontoegankelijk is voor genoemd besturingssysteem van genoemd elektronisch apparaat, waardoor de authenticatiegegevens ontoegankelijk worden voor genoemde gebruiker,
een geheugen dat authenticatiesoftware opslaat, waarbij de authenticatiegegevens
toegankelijk zijn voor genoemde authenticatiesoftware, waarbij de authenticatiesoftware wordt opgeslagen op een beveiligde geheugenlocatie ontoegankelijk voor genoemd besturingssysteem,middelen voor het activeren van de authenticatiesoftware om een digitalehandtekening te genereren vanuit de authenticatiegegevens, waarbij de authenticatiesoftware wordt uitgevoerd in een beveiligde verwerkingsomgeving ontoegankelijk voor genoemd besturingssysteem, enmiddelen voor het verschaffen van de digitale handtekening aan de tweede transactiepartij.
25. Elektronisch apparaat volgens conclusie 24, waarbij het elektronische apparaat een personal computer, een mobiele telefoon, een draagbare persoonlijke digitale assistent met draadloze communicatiemogelijkheden, of een apparaat met een BIOS is.
2.10.
In de authentieke beschrijving van EP 099 is – voor zover hier van belang – het volgende opgenomen:
‘[0002] At present, numerous transactions are being handled by electronic means in digital format. Digital networks have evolved which enable parties of different kind across the world to communicate with each other and to exchange data and information to reach desired transactions.
[0003] The data and information exchanged in said transactions may be legally privileged or protected by copyright, for example. However, digital information may be very easily copied and spread without a trace of who illegally copied and spread the data.
[0004] Further, in particular in transactions involving private network access, financial commitments, settlements and/or payments, each party involved in such a transaction wants to identify any other party, or at least, to be able to track any other party, if after completion of the transaction a problem arises. For such identification purposes, it is known to use personal identifiers, such as passwords, Personal Identification Numbers (PIN), and the like, which are only known to a specific user. However, using personal identifiers over public networks like the Internet, there is a possibility that the personal identifier becomes known to another person, enabling this other person to do transactions or gain access to digital data presenting himself as somebody else. lf a problem arises after completion of the transaction, it is not possible to track the real transaction partner, as its personal identifier may have been used by a malicious user of the public network.
(…)[0007] A disadvantage of (…) systems employing additional hardware is that the additional
hardware, e.g. a token and a token reader, should be supplied to every possible transaction party.
[0008] lt is therefore an object of the present invention to provide a method and system for performing an electronic transaction or electronic verification or identification without requiring additional hardware.
[0009] At least this object is achieved in the present invention by a method for performing an electronic transaction between a first transaction party and a second transaction party using an electronic device operated by the first transaction party. The method comprises providing authentication data in a memory of said electronic device, which authentication data are inaccessible to a user of the electronic device; providing authentication software in said electronic device, the authentication data being accessible to said authentication software; activating the authentication software to generate a digital signature from the authentication data; providing the digital signature to the second transaction party. In a preferred embodiment, the second transaction party provides digital data to the first transaction party.
[0010] In a further aspect, the present invention provides a method for performing a verification of legitimate use of digital data on an electronic device. The method comprises providing authentication data in a memory of said electronic device which authentication data are inaccessible to a user of the electronic device; providing authentication software in said electronic device, the authentication data being accessible to said authentication software; activating the authentication software to generate a digital signature from the authentication data; providing the digital signature to an application which accesses digital data having a digital signature embedded therein; and comparing the digital signature embedded in the digital data with the provided digital signature.
[0011] In another aspect, the present invention provides a method for encrypting digital data on an electronic device using an encryption key, the method comprising gathering session specific data; hashing said session specific data to obtain reference numbers referring to positions in an authorization table stored in said electronic device; generating said encryption key from the characters stored in the authorization table at said positions; and encrypting said digital data using said encryption key.
[0012] In a further aspect, the present invention provides systems for performing said methods.
[0013] Without use of any additional hardware, a transaction party in an electronic transaction may be identified with virtually no possibility for fraudulent use of the method. In a private network access transaction, the first transaction party is uniquely identifiable by its digital signature. Said digital signature is provided to the second transaction party that may store the digital signature. lf a problem arises later, the first transaction party may be traced and identified by the digital signature provided to the second transaction party.
[0014] lf digital data are provided to the first transaction party, e.g. copyright protected files such as music and the like, that are digitally signed according to the present invention, i.e. a digital signature is embedded in the digital data, said digital data may be traced, if they are later found to be illegally copied or spread. The embedded digital signature is uniquely traceable to the original first transaction party that received said digitally signed digital data.
[0015] Digital data digitally signed according to the present invention are stored in a storage medium of a device having the authentication software installed. The signature has been generated in accordance with the authentication data stored in said device and thereafter
embedded in the digital data to protect the data and to be able to trace a malicious user.
[0016] The signature embedded in the data may also be employed to prevent that the data are illegally used, since the signature may be regenerated by the device at any time. As a regenerated signature should be identical to the one embedded in the digital data, a comparison of the embedded signature with the regenerated signature provides information whether the digital data is rightfully installed on the device. lf the comparison shows that the
signatures are identical, the data may be accessed by the device, and, for example, an application comprised in said digital data may be run or said digital data may be accessed by any other application, for example for playing music represented by said digital data. When the signatures are not identical, the digital data are illegally installed, e.g. copied from another device, and they may not be accessed and read by the device and an error signal may be generated.’
2.11.
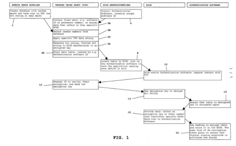
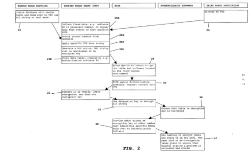
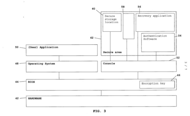
EP 099 bevat onder meer de volgende figuren:
Figuur 1

Figuur 2

Figuur 3

Figuur 5A en 5B

2.12.
EP 140 bevat, evenals EP 099, een onafhankelijke werkwijzeconclusie (conclusie 1) en 21 van die conclusie afhankelijke conclusies, een onafhankelijke systeemconclusie (conclusie 23), een onafhankelijke voortbrengselconclusie (conclusie 24) en een van die voortbrengselconclusie afhankelijke conclusie 25.
2.13.
De conclusies van EP 140 luiden in de authentieke Engelse versie als volgt:
1. Method for performing an electronic transaction between a first transaction party and a second transaction party using an electronic device operated by the first transaction party, the electronic device having an operating system (48) creating a run-time environment for user applications and authentication software (54) running in a separate operating environment, independent from and inaccessible to said operating system, (48) the electronic device having a memory comprising storage locations, part of the memory being accessible to the operating system, (48) part of the memory being a secure area (62) storage locations of which are not reported to the operating system, (48) the method comprising:providing authentication data (63A) in the secure area (62) of said electronic device which authentication data (63A) are inaccessible to a user of said electronic device, wherein said secure area (62) is inaccessible to said operating system (48) of said electronic device, thereby rendering the authentication data (63A) inaccessible to said user;providing authentication software (54) in said electronic device, the authentication data (63A) being accessible to said authentication software, (54) wherein the authentication software (54) is stored in the secure area (62) inaccessible to said operating system (48) activating the authentication software (54) to generate a digital signature from the authentication data, (63A) wherein the authentication software (54) is run in a secure processing environment inaccessible to said operating system (48) providing the digital signature to the second transaction party.
2. Method according to any of the preceding claims, wherein the authentication data are provided by the second transaction party, which stores the authentication data together with data identifying the first transaction party.3. Method according to claim 2, wherein the second transaction party uses the stored authentication data to obtain transaction specific authentication data according to a specific algorithm.
4. Method according to claim 3, wherein the second transaction party verifies the digital signature provided by the first transaction party using the authentication data stored at the second transaction party.
5. Method according to claim 1, wherein the authentication software has its own unique serial number, software ID and/or private encryption key.
6. Method according to any of the preceding claims, wherein the authentication data are encrypted by the second transaction party using an encryption key before the authentication data are provided to the first transaction party.
7. Method according to claim 6, wherein the authentication software retrieves a decryption key associated with the encryption key and decrypts the authentication data at its first use.
8. Method according to claim 1, wherein the authentication software is installed in an application environment in the secure area such that it may obtain the authentication data without passing through an unsecured part of said electronic device.
9. Method according to claim 1, wherein the authentication data, and the authentication software including the digital signing algorithm are locked in the secure area.
10. Method according to any of the preceding claims, wherein the authentication data are encrypted, when the authentication data are stored in said secure area, a decryption key for decrypting the authentication data being inaccessible to said user and to any user- operated software, thereby rendering the authentication data inaccessible to said user.
11. Method as in any one of the preceding claims, wherein the authentication software is executed to initiate decryption of the authentication data stored in the secure area for generating said digital signature.
12. Method according to any of the preceding claims, wherein the authentication data are encrypted using at least two encryption layers.
13. Method according to any of the preceding claims, wherein the authentication data are encrypted using an encryption key which is associated with a hardware device serial number.
14. Method according to any of the preceding claims, wherein the authentication data are encrypted using an encryption key which is associated with a user identifying number, in particular a personal identifying number, PIN, or a number or a template associated with a fingerprint of the user, or the like.
15. Method according to claim 12, wherein at least one encryption layer is decryptable using a decryption key associated with one or more serial numbers of hardware components of said electronic device.
16. Method according to any of the preceding claims, wherein at least one encryption layer may be decrypted by the authentication software.
17. Method according to any of the preceding claims, wherein another encryption layer is an encryption/decryption application stored in the electronic device using a device specific encryption key.
18. Method according to claim 17, wherein the encryption/decryption application is stored in a Basic Input-Output System, BIOS, or in a secure area.
19. Method according to claim 12, wherein a second encryption layer is decrypted using a decryption key associated with any identifying characteristic, in particular a serial number, a personal identification number, PIN, or a fingerprint of a user.
20. Method according to any of claims 14 to 19, wherein the authentication data are decrypted in a secure processing environment inaccessible to said user and to any user-operated software.
21. Method according to claim 1, further comprising identifying the user of the electronic device before activating the authentication software.
22. Method according to any one of the preceding claims, wherein the authentication software has a private encryption key for encrypting digital data.
23. System for performing an electronic transaction between a first transaction party and a second transaction party using an electronic device operated by the first transaction party, the electronic device having an operating system creating a run-time environment for user applications and authentication software running in a separate operating environment, independent from and inaccessible to said operating system, the electronic device having a memory comprising storage locations, part of the memory being accessible to the operating system, part of the memory being a secure area storage locations of which are not reported to the operating system, the system comprising:means for providing authentication data in the secure area of said electronic device which authentication data are inaccessible to a user of the electronic device, wherein said secure area is inaccessible to said operating system of said electronic device, thereby rendering the authentication data inaccessible to said user;means for providing authentication software in said electronic device, the authentication data being accessible to said authentication software, wherein the authentication software is stored in the secure area inaccessible to said operating system;means for activating the authentication software to generate a digital signature from the authentication data, wherein the authentication software is run in a secure processing environment inaccessible to said operating system;means for providing the digital signature to the second transaction party.
24. Electronic device for performing an electronic transaction between a first transaction party and a second transaction party, wherein the electronic device is operated by the first transaction party, the electronic device having an operating system creating a run-time environment for user applications and authentication software running in a separate operating environment, independent from and inaccessible to said operating system, the electronic device having a memory comprising storage locations, part of the memory being accessible to the operating system, part of the memory being a secure area storage locations of which are not reported to the operating system,the secure area storing authentication data which are inaccessible to a user of the electronic device, wherein said secure area is inaccessible to said operating system of said electronic device, thereby rendering the authentication data inaccessible to said user; the electronic device comprising:a memory storing authentication software, the authentication data being accessible to said authentication software, wherein the authentication software is stored in the secure area inaccessible to said operating system;means for activating the authentication software to generate a digital signature from the authentication data, wherein the authentication software is run in a secure processing environment inaccessible to said operating system; andmeans for providing the digital signature to the second transaction party.
25. Electronic device according to claim 24, wherein the electronic device is a personal computer, a cellular phone, a hand-held personal digital assistant with wireless communication capabilities, or a device containing a BIOS.
2.14.
In de (onbestreden) Nederlandse vertaling luiden de conclusies van EP 140 als volgt:
1. Werkwijze voor het uitvoeren van een elektronische transactie tussen een eerste transactiepartij en een tweede transactiepartij met behulp van een elektronisch apparaat bediend door de eerste transactiepartij, waarbij het elektronische apparaat een besturingssysteem (48) heeft dat een run- timeomgeving voor gebruikerstoepassingen creëert, en authenticatiesoftware (54) die draait in een afzonderlijke uitvoeringsomgeving, onafhankelijk van en ontoegankelijk voor genoemd besturingssysteem (48), waarbij het elektronische apparaat een geheugen heeft dat opslaglocaties omvat, waarbij deel van het geheugen toegankelijk is voor het besturingssysteem (48), waarbij deel van het geheugen een beveiligd gebied (62) is, waarvan opslaglocaties niet worden gerapporteerd aan het besturingssysteem (48), waarbij de werkwijze omvat:
verschaffen van authenticatiegegevens in het beveiligde gebied van genoemd elektronisch apparaat, welke authenticatiegegevens ontoegankelijk zijn voor een gebruiker van genoemd elektronisch apparaat, waarbij genoemd beveiligd gebied ontoegankelijk is voor genoemd besturingssysteem van genoemd elektronisch apparaat, waardoor de authenticatiegegevens ontoegankelijk worden voor genoemde gebruiker;
verschaffen van authenticatiesoftware in genoemd elektronisch apparaat, waarbij de authenticatiegegevens toegankelijk zijn voor genoemde authenticatiesoftware, waarbij de authenticatiesoftware wordt opgeslagen in het beveiligde gebied ontoegankelijk voor genoemd besturingssysteem;activeren van de authenticatiesoftware om een digitale handtekening te genereren vanuit de authenticatiegegevens, waarbij de authenticatiesoftware wordt uitgevoerd in een beveiligde verwerkingsomgeving ontoegankelijk voor genoemd besturingssysteem;
verschaffen van de digitale handtekening aan de tweede transactiepartij.
2. Werkwijze volgens een van de voorgaande conclusies, waarbij de authenticatiegegevens worden verschaft door de tweede transactiepartij, die de authenticatiegegevens opslaat samen met gegevens die de eerste transactiepartij identificeren.
3. Werkwijze volgens conclusie 2, waarbij de tweede transactiepartij de opgeslagen authenticatiegegevens gebruikt om transactie-specifieke authenticatiegegevens te verkrijgen volgens een specifiek algoritme.
4. Werkwijze volgens conclusie 3, waarbij de tweede transactiepartij de digitale handtekening verifieert die door de eerste transactiepartij verschaft is met behulp van de authenticatiegegevens opgeslagen bij de tweede transactiepartij.
5. Werkwijze volgens conclusie 1, waarbij de authenticatiesoftware zijn eigen unieke serienummer, software ID en/of privé-encryptiesleutel heeft.
6. Werkwijze volgens een van de voorgaande conclusies, waarbij de authenticatiegegevens worden versleuteld door de tweede transactiepartij gebruikmakend van een encryptiesleutel voordat de authenticatiegegevens worden verstrekt aan de eerste transactiepartij.
7. Werkwijze volgens conclusie 6, waarbij de authenticatiesoftware een decryptiesleutel geassocieerd met de encryptiesleutel ophaalt en de authenticatiegegevens ontsleutelt bij hun eerste gebruik.8. Werkwijze volgens conclusie 1, waarbij de authenticatiesoftware wordt geïnstalleerd in een toepassingsomgeving in het beveiligde gebied zodanig dat deze de authenticatiegegevens kan verkrijgen zonder een onbeveiligd deel van genoemd elektronisch apparaat te doorlopen.
9. Werkwijze volgens conclusie 1, waarbij de authenticatiegegevens en de authenticatiesoftware inclusief het digitale handtekeningenalgortime zijn opgesloten in het beveiligde gebied.
10.Werkwijze volgens een van de voorgaande conclusies, waarbij de authenticatiegegevens worden versleuteld, wanneer de authenticatiegegevens worden opgeslagen in genoemd beveiligd gebied, waarbij een decryptiesleutel voor ontsleutelen van de authenticatiegegevens ontoegankelijk is voor genoemde gebruiker en voor elke door de gebruiker bediende software, waardoor de authenticatiegegevens ontoegankelijk worden voor genoemde gebruiker.
11. Werkwijze volgens een van de voorgaande conclusies, waarbij de authenticatiesoftware wordt uitgevoerd om ontsleuteling aan te vangen van de authenticatiegegevens opgeslagen in het beveiligde gebied voor het genereren van genoemde digitale handtekening.
12. Werkwijze volgens een van de voorgaande conclusies, waarbij de authenticatiegegevens worden versleuteld met tenminste twee versleutelingslagen.
13. Werkwijze volgens een van de voorgaande conclusies, waarbij de authenticatiegegevens worden versleuteld met een encryptiesleutel die is geassocieerd met een hardwareapparaat-serienummer.
14. Werkwijze volgens een van de voorgaande conclusies, waarbij de authenticatiegegevens worden versleuteld met een encryptiesleutel die is geassocieerd met een gebruikersidentificatienummer, in het bijzonder een persoonlijk identificatienummer, PIN, of een nummer of een template geassocieerd met een vingerafdruk van de gebruiker, of vergelijkbaar.
15. Werkwijze volgens conclusie 12, waarbij ten minste een versleutelingslaag ontsleutelbaar is met gebruik van een decryptiesleutel die is geassocieerd met een of meer serienummers van hardwarecomponenten van genoemd elektronisch apparaat.
16. Werkwijze volgens een van de voorgaande conclusies, waarbij ten minste een versleutelingslaag kan worden ontsleuteld door de authenticatiesoftware.
17. Werkwijze volgens een van de voorgaande conclusies, waarbij een andere versleutelingslaag een encryptie/decryptie-applicatie is opgeslagen in het elektronische apparaat met een apparaat- specifieke encryptiesleutel.
18. Werkwijze volgens conclusie 17, waarbij de encryptie/decryptie-applicatie wordt opgeslagen in een Basic Input-Output System, BIOS, of in een beveiligd gebied.
19. Werkwijze volgens conclusie 12, waarbij een tweede versleutelingslaag wordt ontsleuteld met gebruik van een decryptiesleutel die is geassocieerd met welke identificerende karakteristiek ook, in het bijzonder een serienummer, een persoonlijk identificatienummer, PIN, of een vingerafdruk van een gebruiker.20. Werkwijze volgens een van conclusies 14 tot 19, waarbij de authenticatiegegevens worden ontsleuteld in een beveiligde verwerkingsomgeving ontoegankelijk voor genoemde gebruiker en voor elke door de gebruiker bediende software.
21. Werkwijze volgens conclusie 1, verder omvattende identificeren van de gebruiker van het elektronische apparaat voor activeren van de authenticatiesoftware.
22. Werkwijze volgens een van de voorgaande conclusies, waarbij de authenticatiesoftware een privé-encryptiesleutel heeft voor versleutelen van digitale gegevens.
23. Systeem voor het uitvoeren van een elektronische transactie tussen een eerste transactiepartij en een tweede transactiepartij met behulp van een elektronisch apparaat bediend door de eerste transactiepartij, waarbij het elektronische apparaat een besturingssysteem heeft dat een run- timeomgeving voor gebruikerstoepassingen creëert, en authenticatiesoftware die draait in een afzonderlijke uitvoeringsomgeving, onafhankelijk van en ontoegankelijk voor genoemd besturingssysteem, waarbij het elektronische apparaat een geheugen heeft dat opslaglocaties omvat, waarbij deel van het geheugen toegankelijk is voor het besturingssysteem, waarbij deel van het geheugen een beveiligd gebied is, waarvan opslaglocaties niet worden gerapporteerd aan het besturingssysteem, waarbij het systeem omvat:middelen voor het verschaffen van authenticatiegegevens in het beveiligde gebied van genoemd elektronisch apparaat, welke authenticatiegegevens ontoegankelijk zijn voor een gebruiker van het elektronische apparaat, waarbij genoemd beveiligd gebied ontoegankelijk is voor genoemd besturingssysteem van genoemd elektronisch apparaat, waardoor de authenticatiegegevens ontoegankelijk worden voor genoemde gebruiker;middelen voor het verschaffen van authenticatiesoftware in genoemd elektronisch apparaat, waarbij de authenticatiegegevens toegankelijk zijn voor genoemde authenticatiesoftware, waarbij de authenticatiesoftware wordt opgeslagen in het beveiligde gebied ontoegankelijk voor genoemd besturingssysteem;middelen voor het activeren van de authenticatiesoftware om een digitale handtekening te genereren vanuit de authenticatiegegevens, waarbij de authenticatiesoftware wordt uitgevoerd in een beveiligde verwerkingsomgeving ontoegankelijk voor genoemd besturingssysteem;
middelen voor het verschaffen van de digitale handtekening aan de tweede transactiepartij.
24. Elektronisch apparaat voor het uitvoeren van een elektronische transactie tussen een eerste transactiepartij en een tweede transactiepartij, waarbij het elektronische apparaat wordt bediend door de eerste transactiepartij, waarbij het elektronische apparaat een besturingssysteem heeft dat een run-timeomgeving voor gebruikerstoepassingen creëert, en authenticatiesoftware die draait in een afzonderlijke uitvoeringsomgeving, onafhankelijk van en ontoegankelijk voor genoemd besturingssysteem, waarbij het elektronische apparaat een geheugen heeft dat opslaglocaties omvat, waarbij deel van het geheugen toegankelijk is voor het besturingssysteem, waarbij deel van het geheugen een beveiligd gebied is, waarvan opslaglocaties niet worden gerapporteerd aan het besturingssysteem,waarbij het beveiligde gebied authenticatiegegevens opslaat die ontoegankelijk zijn voor een gebruiker van genoemd elektronisch apparaat, waarbij genoemd beveiligd gebied ontoegankelijk is voor genoemd besturingssysteem van genoemd elektronisch apparaat, waardoor de authenticatiegegevens ontoegankelijk worden voor genoemde gebruiker; waarbij het elektronische apparaat omvat:een geheugen dat authenticatiesoftware opslaat, waarbij de authenticatiegegevens toegankelijk zijn voor genoemde authenticatiesoftware, waarbij de authenticatiesoftware wordt opgeslagen in het beveiligde gebied ontoegankelijk voor genoemd besturingssysteem; middelen voor activeren van de authenticatiesoftware om een digitale handtekening te genereren vanuit de authenticatiegegevens, waarbij de authenticatiesoftware wordt uitgevoerd in een beveiligde verwerkingsomgeving ontoegankelijk voor genoemd besturingssysteem; enmiddelen voor verschaffen van de digitale handtekening aan de tweede transactiepartij.
25. Elektronisch apparaat volgens conclusie 24, waarbij het elektronische apparaat een personal computer, een mobiele telefoon, een draagbare persoonlijke digitale assistent met draadloze communicatiemogelijkheden, of een apparaat met een BIOS is.
2.15.
De hiervoor onder 2.10 geciteerde passages uit de beschrijving van EP 099 zijn ook opgenomen in de nummers [0002] tot en met [0015] van de beschrijving van EP 140. EP 140 bevat ook de in 2.11 weergegeven figuren.
WO 752
2.16.
In de beschrijving van WO 752 wordt geopenbaard hetgeen hiervoor onder 2.10 en 2.11 is weergegeven uit de beschrijving en figuren van EP 099 en voorts het volgende (vanaf pagina 4):

pagina 5:

pagina 6:

pagina 7:

pagina 8:

pagina 10:

pagina 11:

pagina 12:

pagina 13:

pagina 14:

pagina 15:

2.17.
De conclusies van WO 752 luiden in de authentieke Engelse tekst als volgt:
1.Method for performing an electronic transaction between a first transaction party and a second transaction party using an electronic device operated by the first transaction party, the method comprising: providing authentication data in a memory of said electronic device which authentication data are inaccessible to a user of said electronic device; providing authentication software in said electronic device, the authentication data being accessible to said authentication software; activating the authentication software to generate a digital signature from the authentication data; providing the digital signature to the second transaction party.
2. Method according to claim 1, wherein the second transaction party provides digital data to the first transaction party.
3. Method according to claim 2, wherein the second transaction party embeds the digital signature in the digital data provided to the first transaction party.
4. Method according to claim 1,2 or 3, wherein the second transaction party stores the digital signature together with data identifying the first transaction party.
5. Method according to any of the preceding claims, wherein the authentication data are provided by the second transaction party, which stores the authentication data together wi-th data identifying the first transaction party.
6. Method according to claim 5, wherein the second transaction party uses the stored authentication data to obtain transaction specific authentication data according to a specific algorithm.
7. Method according to claim 6, wherein the second transaction party verifies the digital signature provided by the first transaction party using the authentication data stored at the second transaction party.
8. Method according to any of the preceding claims, wherein the first transaction party further provides a signed digital signature to the second transaction party, the signed digital signature being generated by the authentication software by signing the digital signature using a private key, which private key is unique for said authentication software and is known to a third party.
9. Method for performing a verification of legitimate use of digital data on an electronic device, the method comprising: providing authentication data in a memory of said electronic device which authentication data are inaccessible to a user of the electronic device; providing authentication software in said electronic device, the authentication data being accessible to said authentication software ; activating the authentication software to regenerate a digital signature from the authentication data; providing the digital signature to the authentication software by an application accessing digital data having a digital signature embedded therein; and comparing the regenerated digital signature with the embedded digital signature.
10. Method according to any of the preceding claims, wherein the authentication data are encrypted by the second transaction party using an encryption key before the authentication data are provided to the first transaction party. ll. Method according to claim 10, wherein the authentication software retrieves a decryption key associated with the encryption key and decrypts the authentication data at its first use.
12. Method according to any of the preceding claims, wherein said memory is inaccessible to an operating system of said electronic device, thereby rendering the authentication data inaccessible to said user.
13. Method according to claim 12, wherein the authentication data are provided in a Basic Input-Output System (BIOS) of the electronic device.
14. Method according to any of the preceding claims, wherein the authentication data are encrypted, when the authentication data are stored in said memory, a decryption key for decrypting. the authentication data being inaccessible to said user and to any user-operated software, thereby rendering the authentication data inaccessible to said user.
15. Method according to claim 14, wherein the authentication data are encrypted using at least two encryption layers.
16. Method according to claim 15, wherein at least one encryption layer may be decrypted using a decryption key associated with one or more serial numbers of hardware components of said electronic device.
17. Method according to claim 15 or 16, wherein at least one encryption layer may be decrypted by the authentication software.
18. Method according to any of claims 14-17, wherein the authentication data are decrypted in a secure processing, environment inaccessible to said user and to any user-operated software.
19. Method according to any of the preceding claims, wherein the authentication data comprise an authentication table.
20. Method according to claim 19, wherein the authentication table is generated from a bit string which is generated from fixed data and variable data.
21. Method according to claim 20, wherein the fixed data are at least part of a serial number of a hardware device.
22. Method according to claim 20, wherein the fixed data are at least part of a device specific software identification code of the authentication software.
23. Method according to claim 20,21 or 22, wherein the variable data comprise a random table.
24. Method according to claim 23, wherein the random table is calculated from a random two-dimensional or three-dimensional pattern.
25. Method according to any of claims 19-24, wherein the authentication table is generated from fixed data, variable data and a bit string, which bit string is specific to a trusted third party that provides the authentication data.
26. Method according to any of the preceding claims, wherein the authentication software is stored in a secure memory location inaccessible to an operating system.
27. Method according to any of the preceding claims, wherein the authentication software is run in a secure processing environment inaccessible to an operating system.
28. Method for encrypting digital data on an electronic device using an encryption key, the method comprising: gathering session specific data; hashing said session specific data to obtain reference numbers referring to positions in an authentication table stored in said electronic device; generating said encryption key from the characters stored in the authentication table at said positions; and encrypting said digital data using said encryption key.
29. System for performing an electronic transaction between a first transaction party and a second transaction using an electronic device operated by the first transaction party, the system comprising: means for providing authentication data in a memory of said electronic device which authentication data are inaccessible to a user of the electronic device; means for providing authentication software in said electronic device, the authentication data being accessible to said authentication software; means for activating the authentication software to generate a digital signature from the authentication data; means for providing the digital signature to the second transaction party; and means for providing digital data from the second transaction party to the first transaction party.
30. System for performing a verification of legitimate use of digital data on an electronic device, the system comprising: means for providing authentication data in a memory of said electronic device which authentication data are inaccessible to a user of the electronic device; means for providing authentication software in said electronic device, the authentication data being accessible to said authentication software;means for activating the authentication software to generate a digital signature from the authentication data; means for providing the digital signature to the authentication software by an application accessing digital data having a digital signature embedded therein; and means for comparing the regenerated digital signature with the embedded digital signature.
31. System for encrypting digital data using an encryption key, the system comprising: means for providing authentication data in a memory of said electronic device which authentication data are inaccessible to a user of the electronic device; means for providing authentication software in said electronic device, the authentication data being accessible to said authentication software; means for activating the authentication software to generate a digital signature from the authentication data; means for gathering session specific data ; means for hashing said session specific data to obtain reference numbers referring to positions in an authentication table stored in said electronic device; means for generating said encryption key from the characters stored in the authorization table at said positions; and means for encrypting said digital data using said encryption key.
2.18.
De in 2.11 weergegeven figuren 1, 2 en 3 zijn ook, met dezelfde nummering, in WO 752 weergegeven.
3. Het geschil in beide zaken
in conventie
3.1.
DTS vordert – samengevat – dat de rechtbank, voor zover mogelijk uitvoerbaar bij voorraad:- Samsung c.s. het maken van inbreuk op EP 099 en EP 140 in Nederland en de overige gedesigneerde landen verbiedt;- Samsung c.s. gebiedt een terugroepactie te organiseren, de in voorraad gehouden en teruggeroepen inbreukmakende producten te vernietigen, de door DTS geleden en nog te lijden schade te vergoeden of de genoten winst af te dragen en opgave te doen van de gegevens van de producent, leveranciers en commerciële afnemers van de inbreukmakende producten alsmede van voor de berekening van schadevergoeding/winstafdracht relevante gegevens;- Samsung c.s. veroordeelt in de proceskosten op grond van artikel 1019h Rv2..
3.2.
Aan deze vorderingen legt DTS ten grondslag dat de functionaliteit van alle mobiele telefoons, tablets en smartwatches die Samsung c.s. in Nederland en in de andere gedesigneerde landen – kort gezegd – produceren en verhandelen, onder de beschermingsomvang van de onafhankelijke conclusies 1, 23 en 24 en de afhankelijke conclusies 2, 5 tot en met 8, 11, 13 tot en met 16, 21, 22 en 25 van EP 099 valt en onder de beschermingsomvang van de onafhankelijke conclusies 1, 23 en 24 en de afhankelijke conclusies 2, 5 tot en met 11, 14, 16 tot en met 18, 20 tot en met 22 en 25 van EP 140 en Samsung c.s. aldus, direct dan wel indirect, inbreuk maken op EP 099 en EP 140.
3.3.
Samsung c.s. voeren gemotiveerd verweer strekkende tot afwijzing van de vorderingen van DTS, met veroordeling van DTS in de proceskosten ex artikel 1019h Rv. Samsung c.s. betogen primair dat EP 099 nietig is omdat (i) sprake is van toegevoegde materie in de zin van artikel 75 lid 1 sub c ROW3.en 123 lid 2 jo. 138 lid 1 sub c EOV4., (ii) het octrooi niet nawerkbaar is, (iii) het octrooi (gezien de relevante stand van de techniek) nieuwheid ontbeert en (iv) het octrooi (gezien de relevante stand van de techniek en mede omdat de ingeroepen prioriteit niet geldig is) niet inventief is. Subsidiair betogen Samsung c.s. dat, mocht EP 099 geldig worden geacht, van (directe en indirecte) inbreuk geen sprake is.
3.4.
Tegen EP 140 brengen Samsung c.s. primair dezelfde geldigheidsbezwaren in als tegen EP 099, met uitzondering van het bezwaar dat het octrooi niet nawerkbaar is. Subsidiair betogen Samsung c.s., net als in de zaak betreffende EP 099, dat, zo het octrooi al geldig is, Samsung c.s. geen (directe en indirecte) inbreuk kan worden verweten.
in reconventie
3.5.
Samsung c.s. vorderen in reconventie dat de rechtbank bij vonnis, voor zover mogelijk uitvoerbaar bij voorraad, het Nederlandse deel van EP 099 en het Nederlandse deel van EP 140 vernietigt en DTS veroordeelt in de proceskosten ex artikel 1019h Rv.
3.6.
Aan deze vorderingen leggen Samsung c.s. ten grondslag dat EP 099 en EP 140 nietig zijn om de hiervoor onder 3.3 en 3.4 omschreven redenen.
3.7.
DTS voert gemotiveerd verweer, uitmondend in een verzoek strekkende tot afwijzing van de vorderingen van Samsung c.s., met hoofdelijke veroordeling van Samsung c.s. in de proceskosten ex artikel 1019h Rv.
4. Technische achtergrond
4.1.
De hierna volgende technische inleiding is ontleend aan de stukken van partijen en is tussen hen niet in geschil. Ter discussie staat wel of dit alles op de prioriteitsdatum al algemene vakkennis was van de relevante vakman.
Computer hardware en software
4.1.1.
Iedere computer beschikt over verschillende hardware en software componenten. De hardware bestaat doorgaans in ieder geval onder meer uit een central processing unit of CPU, verschillende (vluchtige en niet-vluchtige) geheugencomponenten en randapparatuur, zoals een toetsenbord, muis, grafische kaart etc. Software bestaat uit een set instructies of code die door de CPU wordt uitgevoerd. Voorbeelden van software zijn het BIOS (Basic Input/Output System), een besturingssysteem en applicaties.
Besturingssysteem en kernel
4.1.2.
Het besturingssysteem van een computer bestuurt de hardware (o.a. de randapparatuur) en is de intermediair tussen de computer hardware en applicatiesoftware. Het besturingssysteem verzorgt tevens de user interface, via welke gebruikers direct met het besturingssysteem kunnen communiceren.
4.1.3.
Een besturingssysteem bestaat uit verschillende onderdelen, waaronder een kernel. Een kernel is het centrale onderdeel van een besturingssysteem, dat regelt dat applicaties toegang krijgen tot de hardware, zoals de CPU, het werkgeheugen van de computer (RAM of Random Access Memory, een vluchtige geheugencomponent), maar ook niet-vluchtige componenten, zoals EEPROM of Flash geheugen, harddisks en de Input/Output randapparatuur, zoals muis, toetsenbord, netwerk etc. Zo regelt de kernel onder meer welke applicaties wanneer toegang krijgen tot de CPU, kan de kernel geheugencapaciteit beschikbaar stellen aan applicaties en handelt de kernel interrupts af. Interrupts zijn signalen van hard- en software ter notificatie of aanvraag van bijv. CPU-toegang. De kernel ‘vertaalt’ ook input/output verzoeken (‘requests’) van software in ‘data-processing’ instructies voor een processor chip, bijvoorbeeld een microprocessor of een CPU.
Basic Input/Output System (BIOS)
4.1.4.
Het BIOS is software die - op de prioriteitsdatum van de octrooien volgens DTS: altijd - is opgeslagen op een niet-vluchtige en niet-muteerbare geheugencomponent, een ROM geheugen. Het BIOS is het eerste stukje software dat wordt geladen wanneer de computer opstart en het zorgt onder meer voor de identificatie en configuratie van de computer hardware, zodat de computer na opstarten ook daadwerkelijk kan functioneren. De BIOS zorgt tevens voor het door de CPU laden van de boot loader, dat vervolgens het besturingssysteem initialiseert. In het verleden (in het MS-DOS tijdperk) had het BIOS ook na het opstarten van de computer een functie en vormde het een intermediair tussen de CPU en input/output randapparatuur. In computers met moderne besturingssystemen heeft het BIOS alleen een functie tijdens het opstarten van de computer.
Het uitvoeren van gegevens door de CPU
4.1.5.
Voor het verwerken van gegevens beschikt de CPU van een computer over een werkgeheugen, ook wel een primair geheugen of intern geheugen genoemd. In dat vluchtig geheugen worden software (instructies) en de gegevens waarop die instructies moeten worden uitgevoerd, geladen, zodat ze voor de CPU gemakkelijk en snel toegankelijk zijn. Op het moment dat bepaalde software en gegevens moeten worden uitgevoerd, worden deze (door het besturingssysteem dat wordt uitgevoerd door de CPU) geladen vanuit het secundaire geheugen, zoals Flash, harddisk of SSD (Solid State Drive), niet-vluchtig geheugen waar die software en gegevens permanent zijn opgeslagen. Nadat ze in het primaire geheugen zijn geladen en door de CPU zijn uitgevoerd, worden de software en gegevens weer van het werkgeheugen gewist.
5. De beoordeling in beide zaken
in conventie en in reconventie
Bevoegdheid
5.1.
De rechtbank is internationaal bevoegd kennis te nemen van de vorderingen in conventie op grond van artikel 4 lid 1 Brussel I bis-Vo5.omdat Samsung Electronics Benelux, Samsung Electronics Europe en Samsung Electronics Overseas in Nederland zijn gevestigd. De internationale bevoegdheid om kennis te nemen van de reconventionele vorderingen strekkende tot vernietiging van het Nederlandse deel van EP 099 en tot vernietiging van het Nederlandse deel van EP 140 kan worden gegrond op artikel 24 aanhef en onder 4 Brussel I bis-Vo. De relatieve bevoegdheid van deze rechtbank berust op artikel 80 lid 1 sub a ROW 19956..
Vertrouwelijkheidsregime
5.2.
Samsung c.s. hebben verzocht om toepassing van een vertrouwelijkheidsregime op grond van artikel 1019ib Rv en subsidiair op grond van de artikelen 27 tot en met 29 Rv, ten aanzien van bepaalde gegevens die zij heeft verstrekt in haar processtukken en tijdens de zittingen in beide zaken ter onderbouwing van haar niet-inbreukverweer. DTS heeft bezwaar gemaakt tegen toepassing van deze regimes.
5.3.
Nu de onderhavige zaken niet de bescherming van een bedrijfsgeheim tot onderwerp hebben, mist artikel 1019ib Rv toepassing.
5.4.
Samsung c.s. hebben ten aanzien van een aantal producties (GP32 en 33 in zaak I en GP29 en 30 in zaak II) en bij een paar onderdelen van het pleidooi specifiek verzocht om toepassing van de artikelen 27 tot en met 29 Rv. Het gaat daarbij om gegevens over het ontwerp van de litigieuze Samsungtelefoons. Het bezwaar van DTS dat het verzoek van Samsung c.s. veel te algemeen is, gaat ten aanzien van de bovengenoemde producties niet op. DTS heeft haar bezwaar ten aanzien van die specifieke producties niet herhaald, nadat die door Samsung c.s. in het geding waren gebracht. DTS betwist ook niet dat Samsung c.s. zwaarwegende belangen hebben bij de geheimhouding van gegevens die de architectuur van beveiligings-, authenticatie- en verificatiefuncties van Samsungproducten betreffen. Gelet op dit een en ander, bepaalt de rechtbank dat voor de gegevens in producties GP32 en 33 in zaak I en GP29 en 30 in zaak II een mededelingenverbod uit hoofde van artikel 29 lid 1 sub b geldt.
5.5.
Bij de zitting in zaak II, waarbij publiek aanwezig was, is een deel van het pleidooi met instemming van beide partijen achter gesloten deuren behandeld (randnummers 41 en 42 van de pleitnota van DTS, randnummer 31 van de pleitnota van Samsung c.s. en de toelichtingen van partijen daarop). Voor hetgeen achter gesloten deuren aan de orde is gekomen, geldt op grond van artikel 27 jo. artikel 29 lid 1 sub a Rv eveneens een mededelingenverbod.
5.6.
Aangezien dit vonnis geen door Samsung c.s. vertrouwelijk geachte gegevens bevat, wordt het verzoek tot toepassing op dit vonnis van artikel 28 Rv, bij gebrek aan belang, afgewezen. Het vonnis kan als geheel in het openbaar worden uitgesproken.
Toegevoegde materie?
5.7.
De rechtbank ziet aanleiding zich eerst te buigen over de geldigheid van EP 099 en EP 140. Samsung c.s. bestrijden de geldigheid van deze octrooien met verschillende argumenten. Eén daarvan is dat de materie van EP 099 en EP 140, meer in het bijzonder die van een aantal deelkenmerken die de onafhankelijke werkwijzeconclusies, de onafhankelijke systeemconclusies en de onafhankelijke voortbrengselconclusies van die octrooien gemeen hebben, tijdens de verleningsprocedure ontoelaatbaar is uitgebreid.
5.8.
Van ontoelaatbaar toegevoegde materie in een conclusie is sprake indien de gemiddelde vakman, die gebruik maakt van zijn algemene vakkennis, wordt geconfronteerd met informatie in een conclusie die niet direct en ondubbelzinnig, expliciet dan wel impliciet, is af te leiden uit de oorspronkelijk ingediende aanvrage. Bij de beantwoording van de vraag of van een dergelijke situatie sprake is, moet de oorspronkelijk ingediende aanvrage als geheel in aanmerking worden genomen. Gekeken moet worden naar de conclusies, de beschrijving en de tekeningen. Dit wordt in de case law van de Kamers van Beroep van het EOB de ‘disclosure test’ of ‘gouden standaard’ genoemd. De ratio van dit geldigheidsbezwaar is dat de aanvrager van het octrooi zijn rechtspositie niet mag verbeteren door bescherming voor materie te claimen die niet is geopenbaard in de oorspronkelijke aanvrage. De rechtszekerheid van derden kan daardoor immers in het geding komen.
5.9.
In de case law van het EOB worden diverse categorieën onderscheiden van gevallen waarin de tijdens de verleningsprocedure gewijzigde conclusies geen basis vinden in de oorspronkelijk ingediende aanvrage. Eén van de door het EOB ontwikkelde categorieën betreft die van een ‘intermediate generalisation’. In dat geval wordt in een gewijzigde (verleende) conclusie, selectief, een kenmerk van een bepaalde uitvoeringsvorm of openbaarmaking weggelaten of veralgemeniseerd buiten de oorspronkelijk geopenbaarde context om. Het wijzigen van een conclusie door daarin een technisch kenmerk op te nemen dat alleen in samenhang met andere kenmerken is geopenbaard, is, in de case law van het EOB, uitsluitend toegestaan indien er geen structureel of functioneel (dat wil zeggen: onlosmakelijk) verband is tussen die in combinatie beschreven kenmerken. In lijn met G 2/107.is de rechtbank van oordeel dat deze case law slechts een hulpmiddel is en dat uiteindelijk slechts het antwoord op de eerder geformuleerde hoofdvraag (de ‘gouden standaard’) de doorslag geeft8..
5.10.
WO 752 geldt voor zowel EP 099 als voor EP 140 als de oorspronkelijk ingediende aanvrage.
5.11.
Partijen zijn het er over eens dat de gemiddelde vakman een ‘computer scientist’ is met kennis en kunde van (mobiele) computersystemen en elektronische transacties en met enkele jaren ervaring in het ontwikkelen van hard- en software voor het uitvoeren van veilige elektronische transacties. Volgens Samsung c.s. moet de gemiddelde vakman daarnaast ook deskundig zijn op het gebied van cryptografie, hetgeen DTS betwist. De rechtbank is van oordeel dat, gezien het onderwerp van EP 099 en EP 140, de gemiddelde vakman geen kennis van cryptografie behoeft te hebben. Het probleem dat de octrooien identificeren betreft de beveiliging, authenticatie en verificatie van elektronische transacties zonder de benodigdheid van aanvullende hardware, zoals token readers (vergelijk [0007] van EP 099 en [0006] van EP 140). Inhoudelijke kennis van encryptie- en decryptiemethoden is daarvoor niet vereist, hoogstens begrip van de datastromen die daarmee gepaard gaan.
5.12.
De rechtbank merkt nog op dat de algemene vakkennis waarvan de gemiddelde vakman zich zal bedienen, de algemene vakkennis is van 13 juni 2003, de bij de aanvraag van EP 099 en EP 140 ingeroepen prioriteitsdatum.
EP 099
5.13.
Volgens partijen kunnen in de onafhankelijke werkwijzeconclusie 1 vijftien deelkenmerken worden onderscheiden. De rechtbank zal ook van deze indeling uitgaan. In de oorspronkelijke Engelse tekst van EP 099 ziet deze indeling er als volgt uit:(1.1) Method for performing an electronic transaction between a first transaction party and a second transaction party
(1.2) using an electronic device operated by the first transaction party,
(1.3) the electronic device having an operating system creating a run-time environment for user applications,
(1.4) the method comprising: providing authentication data in a memory of said electronic device,
(1.5) said memory being a secure part of a Basic In Out System or any other secure location in said electronic device,
(1.6) which authentication data are inaccessible to a user of said electronic device,
(1.7) wherein the authentication data are encrypted when the authentication data are stored in said memory,
(1.8) a decryption key for decrypting the authentication data being incorporated in the electronic device,
(1.9) said decryption key being inaccessible to said user, to any user-operated software and to said operating system,
(1.10) wherein said memory is inaccessible to said operating system of said electronic device, thereby rendering the authentication data inaccessible to said user;
(1.11) providing authentication software in said electronic device,
(1.12) the authentication data being accessible to said authentication software, wherein authentication software is stored in said secure memory inaccessible to said operating system;
(1.13) activating the authentication software to generate a digital signature from the authentication data,
(1.14) wherein the authentication software is run in a secure processing environment inaccessible to said operating system;
(1.15) providing the digital signature to the second transaction party.
5.14.
Samsung c.s. stellen – onder meer – dat de deelkenmerken 1.5 en 1.12 toegevoegde materie bevatten. Deelkenmerk 1.5 was in zijn geheel niet in conclusie 1 van de oorspronkelijke aanvrage opgenomen en van deelkenmerk 1.12 maakte de maatregel ‘wherein authentication software is stored in said secure memory inaccessible to said operating system’ geen onderdeel uit (zie 2.17).
5.15.
Samsung c.s. betogen gemotiveerd, met verwijzing naar diverse passages uit de beschrijving van de oorspronkelijk ingediende aanvrage, dat genoemde toegevoegde deelkenmerken materie bevat die niet wordt gedekt door de oorspronkelijk ingediende aanvrage, voor zover in die deelkenmerken besloten ligt dat: i. de authenticatiegegevens (‘authentication data’) veilig zijn opgeslagen in een geheugen van het elektronische apparaat; volgens Samsung c.s. wordt die beveiligde opslag in WO 752 alleen geopenbaard voor zover het gaat om een authenticatietabel; ii. het geheugen van het elektronische apparaat waarin de authenticatiegegevens en de authenticatiesoftware zijn opgeslagen, ook een ander, niet voor het besturingssysteem en de gebruiker toegankelijk, gedeelte in het elektronische apparaat kan zijn dan een locatie in het BIOS of een locatie die alleen voor het BIOS toegankelijk is; volgens Samsung c.s. worden in WO 752 alleen, zoals zij dat noemen, ‘BIOS-uitvoeringsvormen’ geopenbaard.
5.16.
DTS bestrijdt het betoog van Samsung c.s. Volgens haar bieden verschillende passages uit de beschrijving van WO 752 afzonderlijk en in onderling verband bezien basis voor de toevoegingen in de deelkenmerken 1.5 en 1.12.
5.17.
De rechtbank zal eerst ingaan op onderdeel ii. van het onder 5.15 weergegeven betoog van Samsung c.s. en er bij de beoordeling daarvan veronderstellenderwijs van uitgaan dat daar waar in de oorspronkelijk ingediende aanvrage wordt gesproken over een authenticatietabel, door de vakman ook authenticatiegegevens (‘authentication data’) zal worden gelezen.
5.18.
De rechtbank stelt voorop dat de beschrijving van WO 752 begint (pagina 2, r. 7 tot en met pagina 6, r. 13) met een algemene beschrijving van alle in die aanvrage beoogde uitvoeringsvormen. Vervolgens worden als eerste uitvoeringsvorm (pagina 6, r. 14 tot en met pagina 10, r. 35) en als tweede uitvoeringsvorm (pagina 10, r. 36 tot en met pagina 15, r. 10) uitvoeringen beschreven waarbij de opslaglocaties van de authenticatiegegevens en de authenticatiesoftware niet toegankelijk zijn voor het besturingssysteem. De figuren 1, 2 en 3 behoren bij deze twee uitvoeringsvormen. De daarna beschreven derde uitvoeringsvorm (pagina 15, r. 11 tot en met pagina 29), waar de figuren 4 tot en met 10 bij horen, openbaart dat het besturingssysteem wel toegang heeft tot die opslaglocaties. De beveiliging van de gegevens en software geschiedt daarbij enkel door encryptie. Die derde uitvoeringsvorm is in het octrooi zoals verleend niet onder bescherming gesteld. Immers, alle conclusies vereisen (deelkenmerk 1.10) dat de opslaglocatie voor authenticatiegegevens en -software dáárom veilig is omdat het besturingssysteem er geen toegang toe heeft. In het hierna volgende neemt de rechtbank dan ook tot uitgangspunt dat de derde uitvoeringsvorm in de beschrijving van WO 752 en de daarbij behorende figuren, geen uitvoeringsvorm is van de uitvinding waar octrooi voor is verleend in EP 099.
5.19.
Volgens DTS is er basis voor deelkenmerk 1.5 in de volgende passage (op pagina 6, r. 8-13, cursivering toegevoegd door de rechtbank) van WO 752: “However, as is described hereinafter, the method according to the present invention may employ such a BIOS system to securely store certain digital data and/or such a BIOS system may be provided with an encryption system. A secure storage location and/or an encryption system are not essential to the BIOS system with respect to the present invention.” Hieruit begrijpt de vakman volgens DTS dat de authenticatiegegevens niet noodzakelijkerwijs behoeven te zijn opgeslagen op een locatie die onderdeel is van het BIOS, maar dat het iedere opslaglocatie kan zijn.
5.20.
Met Samsung c.s. is de rechtbank van oordeel dat de gemiddelde vakman uit deze passage niet zal afleiden wat DTS daaruit afleidt. Als de vakman de gehele alinea leest waaruit deze passage afkomstig is (pagina 5, r. 31 tot en met pagina 6, r. 14, zie 2.16), zal hij daaruit begrijpen dat voor de uitvinding apparatuur nodig is die over een Basic Input/ Output System zoals een ‘BIOS’ of ‘Boot agent’ beschikt (waar de rechtbank hierna over een BIOS spreekt, worden daarmee ook andere voor de vakman op de prioriteitsdatum vergelijkbare opstartsystemen bedoeld). Dit blijkt onder andere uit de volgende passages:- ‘(…) a new device relates to any electronic device containing a Basic In Out System (“BIOS”, “Boot agent” etc.) with any associated secure storage/memory location’ (pagina 5, r. 34 t/m 36); en- ‘(…) an existing device relates to any electronic device containing a Basic In Out System (pagina 6, r. 3 en 4).
In de passage ‘a secure storage location (…) is not essential to the BIOS system with respect to the present invention’ zal de gemiddelde vakman dan ook niet méér lezen, dan dat de secure location in de apparatuur waarin de authenticatietabel of -gegevens zijn opgeslagen, ook buiten het BIOS kan liggen. De gemiddelde vakman leest daarin niet ondubbelzinnig (mee) dat niet vereist is dat het elektronische apparaat van een BIOS is voorzien, noch dat iédere opslaglocatie in de apparatuur een veilige opslaglocatie is.
5.21.
De door DTS ingeroepen passage is bovendien afkomstig uit het algemene deel van de beschrijving van WO 752. Na dit deel volgt de beschrijving van de drie uitvoeringsvormen, zoals beschreven in 5.18. Waar in bedoelde passage wordt vermeld dat de vinding een BIOS ‘kan gebruiken’ om digitale gegevens op te slaan (‘may employ’), zal de gemiddelde vakman dat aldus begrijpen dat daarmee vooruitgeblikt wordt naar de beschrijving van de derde uitvoeringsvorm. Die uitvoeringsvorm beschrijft opslaglocaties waartoe het besturingssysteem wel toegang heeft. De rechtbank verwijst in dit verband naar de passage op pagina 15, r. 11 tot en met 14 , die, voor zover hier van belang, als volgt luidt: ‘In a third preferred installation method (…) the authentication data, (…) is stored in a memory that is accessible to an operating system of the device (…)’. Het is echter, zoals hiervoor onder 5.18 is overwogen, juist deze uitvoeringsvorm die niet onder de beschermingsomvang van de verleende conclusies valt.
5.22.
DTS wijst als basis voor deelkenmerk 1.5 meer passages aan uit de beschrijving van WO 752 die betrekking hebben op de derde uitvoeringsvorm en figuren behorend bij die uitvoeringsvorm. Dit betreft met name de figuren 5A en 5B, waarin een opslaglocatie voor de authenticatiegegevens en -software wordt geopenbaard die zich niet in het BIOS bevindt. De derde uitvoeringsvorm betreft echter een uitvoeringsvorm waarbij de authenticatiegegevens en de authenticatiesoftware worden opgeslagen in een geheugen dat toegankelijk is voor het besturingssysteem van het elektronische apparaat (vgl. pagina 15, r. 11 tot en met 14, en pagina 18, r. 29 tot en met 31). Zoals hiervoor overwogen, wordt die uitvoeringsvorm niet gedekt door de conclusies zoals verleend. Kern van de verleende conclusies is immers, en DTS stelt dat zelf ook, dat het geheugen waarin de authenticatiegegevens en authenticatiesoftware zijn opgeslagen niet toegankelijk is voor het besturingssysteem (en daarmee voor de gebruiker). De rechtbank verwijst in dit verband naar de volgende passage uit de dagvaarding: ‘De essentie van het octrooi is (…) dat gegevens opgeslagen en verwerkt worden in een beveiligd gebied dat niet toegankelijk is voor het besturingssysteem en de gebruiker van het mobiele toestel en waartoe onbevoegde derden dus geen toegang kunnen krijgen.9.’ In de passages waarnaar DTS in dit kader verwijst, wordt ook niet vermeld dat de kenmerken van de derde uitvoeringsvorm ook toepassing kunnen vinden in de eerste uitvoeringsvorm (installatie van de vinding in een nieuw elektronisch apparaat) en de tweede uitvoeringsvorm (installatie van de vinding in een bestaand elektronisch apparaat). Dit kan ook niet worden afgeleid uit genoemde figuren.
5.23.
DTS heeft, onder verwijzing naar een beslissing van de TKB van het EOB, geregistreerd onder nummer T 0667/0810., betoogd dat ook als een bepaalde uitvoeringsvorm niet onder de beschermingsomvang van de verleende conclusies valt, de octrooihouder ter staving van zijn stelling dat de materie van de verleende conclusies wordt gedekt door de oorspronkelijk ingediende aanvrage, niettemin mag verwijzen naar de beschrijving en de tekeningen die behoren bij die uitvoeringsvorm.
Uit de genoemde beslissing kan worden afgeleid dat de vakman de aanvrage in zijn geheel leest en daarbij informatie uit uitvoeringsvormen kan combineren als de aanvrage als geheel en met name de inleidende beschrijving dat ondersteunt. Daaruit kan echter niet worden afgeleid dat structureel samenhangende maatregelen uit een uitvoeringsvorm (de opslaglocatie is niet bereikbaar voor het besturingssysteem omdat deze locatie in het BIOS ligt of alleen via het BIOS toegankelijk is) verruimd kunnen worden door toevoeging van een facultatieve maatregel (“may employ a BIOS”), afkomstig uit een uitvoeringsvorm waarin die maatregel niet samenhangt met de overige structurele maatregelen (in die uitvoeringsvorm is de opslaglocatie wel toegankelijk voor het besturingssysteem).
5.24.
Meer in zijn algemeenheid heeft DTS voorts betoogd dat de in de beschrijving van WO 752 genoemde uitvoeringsvormen slechts voorbeelden zijn en, zo begrijpt de rechtbank DTS, de aanvrage in zijn geheel gelezen, basis biedt voor deelkenmerk 1.5.
5.25.
Met DTS is de rechtbank van oordeel dat de gemiddelde vakman uit WO 752 zal afleiden dat de locatie waar de authenticatiedata zijn opgeslagen niet noodzakelijkerwijs in het geheugen van het BIOS gelegen behoeft te zijn, maar daar ook buiten kan liggen. De vakman die WO 752 in zijn geheel leest, zal daaruit echter leren dat de ontoegankelijkheid voor het besturingssysteem tot stand wordt gebracht doordat de veilige opslaglocaties van het besturingssysteem worden afgeschermd door het BIOS. Dit leert hij met name uit figuur 3 van de tweede uitvoeringsvorm, waarin een veilige opslaglocatie buiten het BIOS wordt geopenbaard, die alleen data kan uitwisselen met het BIOS en/of de in het BIOS opgeslagen authenticatiesoftware. De beschrijving van WO 752 vermeldt daar (op pagina 14) over:
- ‘ In or behind the console 52, there is a secure area 62 only accessible to the BIOS. The secure area 62 comprises applications and storage locations, which are not reported to the operating system 48’ (r. 12-15);
- ‘ An authentication table may be securely stored in the secure storage location 60. In such a part of the computer, commonly seen as a part of the BIOS 44, the authentication table is unreachable for the operating system 48 and thus for the user’ (r. 23-26); en
- Therefore, the authentication software 54 may be installed in an application environment in the secure area 62 such that it may obtain the authentication table without passing through an unsecured part of the device’ (r. 31-34).
5.26.
De gemiddelde vakman zal uit de oorspronkelijk ingediende aanvrage ook opmaken dat, als de authenticatiegegevens zijn opgeslagen in een locatie buiten het BIOS, niet alleen het BIOS die authenticatiegegevens kan benaderen (en daaraan instructies kan geven), maar ook de authenticatiesoftware die functie kan vervullen. Op pagina 10, r. 22 tot en met 28 van de beschrijving van WO 752 van de eerste uitvoeringsvorm wordt immers het volgende vermeld (cursivering aangebracht door de rechtbank): ‘The encoded authentication table (waarvoor de rechtbank zoals gezegd veronderstellenderwijs leest: authentication data) is stored in a secure part of the BIOS, where it may only be retrieved by the BIOS and not by the operating system. This secure part of the BIOS may also be any other secure location in the device. For instance, it may be a separate part of a hard drive of a computer, which part may not be accessible to the operating system, but only to the BIOS and/or authentication software.’ Deze passage moet daarbij worden gelezen in samenhang met de rest van de beschrijving van hetzelfde uitvoeringsvoorbeeld: ‘The fifth column of Fig. 1 represents the actions of the authentication software, which (…) is stored in the BIOS’ (pagina 7, r. 23 tot en met 25) en ‘According to cell 4, a BIOS manufacturer embeds or installs authentication software in the BIOS’ (pagina 8, r. 24-25). Over de authenticatiesoftware is voorts vermeld dat die ‘runs in a separate operating environment in the BIOS or in a console and is independent from and inaccessible to the operating system (OS) on the device’ (pagina 7, r. 31-34).
5.27.
De vakman leert derhalve uit dit geheel dat alleen het BIOS of de in het BIOS opgeslagen authenticatiesoftware toegang heeft tot de authenticatiegegevens, zodat de veilige opslaglocatie uitsluitend wordt gecreëerd doordat het BIOS die afschermt. Dit blijkt wellicht nog het duidelijkst uit de hiervoor reeds aangehaalde passage: ‘Therefore, the authentication software 54 may be installed in an application environment in the secure area 62 such that it may obtain the authentication table without passing through an unsecured part of the device’ (pagina 14, r. 31-34).
5.28.
Ter staving van haar betoog dat een BIOS in de vinding geen essentiële rol speelt, heeft DTS voorts verwezen naar de redactie van de oorspronkelijk ingediende conclusies, meer in het bijzonder naar die van conclusie 1 en (de daarvan afhankelijke) conclusie 13; conclusie 1 claimde geen BIOS. Van een BIOS wordt in WO 752 pas voor het eerst melding gemaakt in conclusie 13. Conclusie 1 van WO 752 bevat echter ook niet als kenmerk een ‘secure memory location’ voor authenticatiegegevens of -software. Dat een BIOS niet in de hoofdconclusie van WO 752 is opgenomen zegt dan ook niet zoveel over de functie daarvan ten behoeve van een secure memory location, die daarin evenmin was opgenomen.
5.29.
DTS heeft verder nog betoogd dat voor haar standpunt steun kan worden gevonden in de beslissing van de TKB van het EOB over de aanvrage van EP 140. DTS kan hierin echter niet worden gevolgd. Ten tijde van de beslissing van de TKB had het algemene deel van conclusie 1 de volgende redactie (zie 2.5, cursivering aangebracht door de rechtbank): ‘Method for performing an electronic transaction between a first transaction party and a second transaction party using an electronic device operated by the first transaction party, the electronic device having a Basic In Out System and an operating system creating a run-time environment for user applications, the electronic device having a memory comprising storage locations, part of the memory being accessible to the memory of the operating system, part of the memory being a secure area of the Basic In Out System, storage locations of which are not reported to the operating system by the Basic In Out System, the method comprising: (…).’ Weliswaar achtte de TKB de conclusies geldig en na de door Ward aangebrachte wijzigingen niet voorzien van ontoelaatbaar toegevoegde materie, maar zij kwam tot dat oordeel omdat in de conclusies die ter beoordeling voorlagen, de rol van het BIOS bij het afschermen van de authenticatiegegevens en de authenticatiesoftware van het besturingssysteem aldus tot uitdrukking was gebracht. Dit was anders toen de octrooi-aanvrage nog voorlag bij de onderzoeksafdeling van het EOB. Ward diende toen een amendement in op de conclusies, waarover de onderzoeksafdeling het volgende overwoog (randnummer 7.4 van diens afwijzende beslissing, zie 2.4): ‘Furthermore the description discloses the authentication data and software being unreachable and unknown to the operating system only in connection with the BIOS providing the function of controlling these. No other possible entity is disclosed. The features are therefore inextricably linked to the BIOS performing these functions instead and cannot be taken out indepedently.’
5.30.
De rechtbank verwijst in dit verband ook nog naar het oordeel van de TKB ten aanzien van de vraag of de aanvrage van EP 140, zoals deze toen aan deze Kamer voorlag, als inventief was aan te merken. De TKB overwoog (zie 2.5):‘The Board thus concludes that the subject-matter of claim 1 shows an inventive step over D12 [de closest prior art] alone (…), by virtue of the feature that the BIOS “shields” the secure area from the operating system.’ In de verleningsgeschiedenis van EP 140 kan dus juist steun worden gevonden voor het standpunt van Samsung c.s.
5.31.
Bij het voorgaande heeft de rechtbank nog betrokken dat in WO 752 ook geen alternatief wordt beschreven voor het afsluiten van de toegang van het besturingssysteem/de gebruiker van het elektronische apparaat tot opslaglocaties anders dan door middel van het BIOS. DTS heeft ook niet toegelicht hoe de authenticatiegegevens veilig opgeslagen worden volgens het octrooi als het BIOS daarin geen rol krijgt toegekend.
5.32.
Al het voorgaande maakt duidelijk dat de gemiddelde vakman direct en ondubbelzinnig uit de oorspronkelijk ingediende aanvrage zal afleiden dat de beveiliging van transacties wordt bereikt door de authenticatiegegevens op te slaan op een opslaglocatie in het BIOS of afgeschermd van het besturingssysteem door het BIOS. Die uit de oorspronkelijk ingediende aanvrage voortvloeiende restrictie, is echter niet opgenomen in deelkenmerk 1.5. De uitvoeringsvormen met een onlosmakelijke link van de opslaglocatie met het BIOS zijn aldus gegeneraliseerd naar een meer generieke uitvoeringsvorm zonder die link. In de verleende onafhankelijke conclusie 1 is dus (namelijk voor zover daarin tot uitdrukking komt dat de authenticatiegegevens ook opgeslagen kunnen zijn in ‘any other secure location’ in het elektronische apparaat), ontoelaatbaar, materie toegevoegd.
5.33.
DTS heeft voorts, als basis voor de aanvulling in deelkenmerk 1.12, verwezen naar de afhankelijke conclusie 26 van WO 752, waarin als aanvullende/afhankelijke maatregel is bepaald dat ‘de authenticatie software is opgeslagen in een veilige geheugenlocatie ontoegankelijk voor het besturingssysteem’. DTS betoogt dat conclusie 26 van WO 752 simpelweg is toegevoegd aan conclusie 1 als deelkenmerk 1.12, zodat WO 752 al duidelijk en ondubbelzinnig openbaart dat de authenticatiesoftware in ‘any secure location’ kan zijn opgeslagen. Uit hetgeen hiervoor is overwogen ten aanzien van deelkenmerk 1.5 volgt dat dit verweer ook van de hand moet worden gewezen. De gemiddelde vakman die WO 752 leest, zal ‘a secure memory location inaccessible to an operating system’ zo opvatten, dat niet alleen de authenticatiesoftware zelf ontoegankelijk is voor het besturingssysteem, maar ook de opslaglocatie daarvan ontoegankelijk is voor het besturingssysteem. Uit de beschrijving begrijpt hij dat dit het geval is omdat de opslaglocatie van de authenticatiesoftware zich in of achter het BIOS bevindt. Deelkenmerk 1.12 bevat derhalve eveneens toegevoegde materie.
5.34.
De onafhankelijke systeemconclusie 23 bevat de hiervoor opgesomde deelkenmerken ook, zodat het voorgaande ook voor die conclusie geldt. Onafhankelijke voortbrengselconclusie 24 bevat hetzelfde deelkenmerk 5 (en een vrijwel gelijkluidend deelkenmerk 12), zodat het voorgaande ook voor die conclusie geldt.
5.35.
Een en ander voert tot de slotsom dat de conclusies 1, 23 en 24 nietig moeten worden geacht. De volgconclusies 2 tot en met 22 zijn alle afhankelijk van conclusie 1 en volgconclusie 25 is afhankelijk van conclusie 24. Nu de conclusies 1 en 24 nietig zijn wegens toegevoegde materie, zijn de volgconclusies op dezelfde grond nietig. De reconventionele vordering van Samsung c.s. strekkende tot vernietiging van het Nederlandse deel van EP 099, is derhalve toewijsbaar.
5.36.
DTS kan zich in conventie, gelet op het oordeel in reconventie, niet beroepen op inbreuk door Samsung c.s. op het Nederlandse deel van EP 099. In zoverre liggen de vorderingen van DTS voor afwijzing gereed. Voor zover de vorderingen van DTS zijn gebaseerd op inbreuk door Samsung c.s. op de buitenlandse delen van EP 099 (zie 2.3) geldt dat het verweer van Samsung c.s. dat er geen sprake is van inbreuk op een geldig octrooi, dezelfde grondslagen heeft. Gelet op het bepaalde in artikel 24 lid 4 Brussel I bis-Vo, is de rechtbank niet bevoegd de nietigheidsverweren van Samsung c.s. voor de buitenlandse delen van EP 099 te beoordelen. DTS heeft ter zitting verzocht de procedure in conventie ten aanzien van de inbreuk op de buitenlandse delen van EP 099 te schorsen totdat vaststaat of die delen al dan niet geldig zijn. De rechtbank honoreert dat verzoek11.. Gelet op het oordeel over het Nederlandse deel van EP 099 en de lopende oppositieprocedure tegen EP 099, ziet de rechtbank geen reden nu alvast, voor alsdan, te beoordelen of de producten van Samsung c.s. inbreuk zouden maken op een buitenlands deel van EP 099 (in de huidige redactie), noch om in te gaan op de door Samsung c.s. opgeworpen overige verweren tegen de vorderingen.
EP 140
5.37.
De rechtbank neemt de opdeling van de onafhankelijke werkwijzeconclusie 1 van EP 140 in deelkenmerken over van partijen. Deze indeling ziet er in de oorspronkelijke Engelse tekst van EP 140 als volgt uit:
(1.1) Method for performing an electronic transaction between a first transaction party and a second transaction party,
(1.2) using an electronic device operated by the first transaction party,
(1.3) the electronic device having an operating system creating a run-time environment for user applications,
(1.4) and authentication software running in a separate operating environment, independent from and inaccessible to said operating system,
(1.5) the electronic device having a memory comprising storage locations, part of the memory being accessible to the operating system, part of the memory being a secure area storage locations of which are not reported to the operating system,
(1.6) the method comprising: providing authentication data in the secure area of said electronic device, which authentication data are inaccessible to a user of said electronic device, wherein said secure area is inaccessible to said operating system of said electronic device, thereby rendering the authentication data inaccessible to said user,
(1.7) providing authentication software in said electronic device, the authentication data being accessible to said authentication software,
(1.8) wherein the authentication software is stored in the secure area inaccessible to said operating system,
(1.9) activating the authentication software to generate a digital signature from the authentication data,
(1.10) wherein the authentication software is run in a secure processing environment inaccessible to said operating system,
(1.11) providing the digital signature to the second transaction party.
5.38.
De onafhankelijke systeemconclusie (conclusie 23) en de onafhankelijke voortbrengselconclusie (conclusie 24) bevatten de hiervoor opgesomde deelkenmerken ook.
5.39.
Samsung c.s. stellen – onder meer – dat de deelkenmerken 1.5, 1.6, en 1.8 toegevoegde materie bevatten. Deelkenmerken 1.5 en 1.8 waren niet in conclusie 1 van de oorspronkelijke aanvrage opgenomen. Van deelkenmerk 1.6 maakte de hierna cursief weergegeven delen geen onderdeel uit: ‘the method comprising: providing authentication data in the secure area of said electronic device, which authentication data are inaccessible to a user of said electronic device, wherein said secure area is inaccessible to said operating system of said electronic device, thereby rendering the authentication data inaccessible to said user’ (zie 2.17).
5.40.
Samsung c.s. betogen gemotiveerd en met verwijzing naar diverse passages uit de beschrijving van WO 752 dat genoemde deelkenmerken ontoelaatbaar toegevoegde materie bevatten omdat in die aanvrage niet tot uitdrukking komt dat: i. het – enkele – geheugen van het elektronische apparaat een combinatie van delen omvat die wel en niet toegankelijk zijn voor het besturingssysteem; volgens Samsung c.s. openbaart WO 752 uitsluitend een uitvoeringsvorm met twee fysiek afzonderlijke geheugens waarvan één wel toegankelijk is voor het besturingssysteem en de andere niet (afgebeeld in figuur 3) en een uitvoeringsvorm met één, voor het besturingssysteem toegankelijk, geheugen (afgebeeld in figuur 5A), en kunnen deze uitvoeringsvormen niet met elkaar worden gecombineerd; ii. de authenticatiegegevens (‘authentication data’) veilig zijn opgeslagen in een geheugen van het elektronische apparaat; volgens Samsung c.s. wordt die veilige opslag alleen geopenbaard voor zover het gaat om een authenticatietabel; iii. anders dan door opslag in of achter het BIOS wordt gerealiseerd dat (de gedeeltes van) het geheugen waar de authenticatiegegevens de authenticatiesoftware zijn opgeslagen niet wordt gerapporteerd aan het besturingsysteem; volgens Samsung c.s. wordt het niet rapporteren aan het besturingssysteem alleen geopenbaard in figuur 3 van WO 752 en dat betreft, zoals zij dat noemen, een ‘BIOS-uitvoeringsvorm’.
5.41.
DTS bestrijdt het betoog van Samsung c.s. Volgens haar bieden verschillende passages uit de beschrijving van WO 752 afzonderlijk en in onderling verband bezien basis voor de toevoegingen in de kenmerken 1.5, 1.6 en 1.8.
5.42.
In het hiernavolgende gaat de rechtbank er veronderstellenderwijs van uit dat in de oorspronkelijk ingediende aanvrage basis kan worden gevonden voor de aanwezigheid in het elektronisch apparaat van één in twee delen opgedeeld geheugen en dat daar waar in de oorspronkelijk ingediende aanvrage wordt gesproken over een authenticatietabel, hier ook authenticatiegegevens voor kan worden gelezen. Zij laat ook in het midden of alleen figuur 3 bij de beoordeling mag worden betrokken, of ook figuur 5A.
5.43.
Naar het oordeel van de rechtbank zal de gemiddelde vakman het kenmerk betreffende het ‘niet rapporteren’ van de geheugenlocatie waarin de authenticatiegegevens zijn opgeslagen aan het besturingssysteem (en daarmee de gebruiker) aldus opvatten dat dit – onder meer – betekent dat het besturingssysteem geen toegang heeft tot die locatie.
5.44.
De vraag die dan resteert is dezelfde als waarover de rechtbank ten aanzien van de deelkenmerken 1.5 en 1.12 van conclusie 1 van EP 099 en de daarmee corresponderende deelkenmerken van de onafhankelijke conclusies 23 en 24 van dat octrooi moest oordelen, te weten de vraag wat de oorspronkelijk ingediende aanvrage openbaart over de wijze waarop de locatie in het elektronische apparaat waar de authenticatiegegevens en authenticatiesoftware zijn opgeslagen, wordt afgeschermd van het besturingssysteem van het elektronische apparaat en daarmee van de gebruiker van dat apparaat, zodat dit als veilig (‘secure’) kwalificeert.
5.45.
De rechtbank heeft, in relatie tot EP 099, overwogen dat zij van oordeel is dat de gemiddelde vakman uit de oorspronkelijk ingediende aanvrage zal afleiden dat het uitsluitend het BIOS van het elektronische apparaat is dat de functie vervult van ‘schild’ tussen het besturingssysteem (en de gebruiker) van het elektronische apparaat enerzijds en de geheugenlocaties in het apparaat waar authenticatiegegevens en de authenticatiesoftware zijn opgeslagen anderzijds. Door die functie van het BIOS kunnen het besturingssysteem (en de gebruiker) niet bij die gegevens en software en hebben daar dus geen weet van, en in zoverre is het BIOS dus essentieel voor de vinding die is belichaamd in EP 099. Dit bracht de rechtbank vervolgens tot de conclusie dat de onafhankelijke conclusies van EP 099 nietig zijn omdat de inhoud van de conclusies materie bevat die niet duidelijk en ondubbelzinnig is geopenbaard in WO 752.
5.46.
De door DTS aangevoerde argumenten tegen het toegevoegde materie-bezwaar van Samsung c.s. betreffende EP 140 zijn dezelfde als die zij te berde heeft gebracht in reactie op het toegevoegde materie-bezwaar van Samsung c.s. inzake EP 099. Deze argumenten zijn in het kader van de beoordeling van de geldigheid van EP 099 al besproken en verworpen.
5.47.
Wat betreft de onafhankelijke conclusies van EP 140 moet de conclusie dus zijn dat ook deze toegevoegde materie bevatten omdat daarin geen recht wordt gedaan aan de uit de oorspronkelijk ingediende aanvrage voortvloeiende noodzakelijke aanwezigheid en functie van het BIOS van het elektronische apparaat. Die onafhankelijke conclusies zijn dus nietig.
5.48.
Net als voor EP 099 geldt ook voor EP 140 dat alle andere conclusies (2 tot en met 22 en 25) afhankelijk zijn van één van de onafhankelijke conclusies. Zij zijn daarom nietig op dezelfde grond. De reconventionele vordering van Samsung c.s. strekkende tot vernietiging van het Nederlandse deel van EP 140, is derhalve toewijsbaar.
5.49.
DTS kan zich in conventie, gelet op het oordeel in reconventie, niet beroepen op inbreuk door Samsung c.s. op het Nederlandse deel van EP 140. In zoverre liggen de vorderingen van DTS voor afwijzing gereed. Voor zover de vorderingen van DTS zijn gebaseerd op inbreuk door Samsung c.s. op de buitenlandse delen van EP 140 (zie 2.3) geldt dat het verweer van Samsung c.s. dat er geen sprake is van inbreuk op een geldig octrooi, dezelfde grondslagen heeft. Gelet op het bepaalde in artikel 24 lid 4 Brussel I bis-Vo, is de rechtbank niet bevoegd de nietigheidsverweren van Samsung c.s. voor de buitenlandse delen van EP 140 te beoordelen. DTS heeft ter zitting verzocht de procedure in conventie ten aanzien van de inbreuk op de buitenlandse delen van EP 140 te schorsen totdat vaststaat of die delen al dan niet geldig zijn. De rechtbank honoreert dat verzoek. Gelet op het oordeel over het Nederlandse deel van EP 140 en de lopende oppositieprocedure tegen EP 140 ziet de rechtbank geen reden nu alvast, voor alsdan, te beoordelen of de producten van Samsung c.s. inbreuk zouden maken op een buitenlands deel van EP 140 (in de huidige redactie), noch om in te gaan op de door Samsung c.s. opgeworpen overige verweren tegen de vorderingen.
Conclusie
5.50.
Nu voor de beoordeling van de gestelde octrooi-inbreuk op buitenlandse delen van EP 099 en EP 140 het oordeel van de ter zake bevoegde rechters van de in 2.3 opgesomde gedesigneerde landen over de geldigheid van die delen afgewacht moet worden, zal de rechtbank iedere verdere beslissing in beide zaken aanhouden en beide procedures schorsen. De meest gerede partij kan een of beide zaken op de continuatierol opbrengen voor akte uitlaten voortprocederen zodra een of meer definitieve beslissingen van bevoegde buitenlandse rechters over de nietigheidsbezwaren van Samsung c.s. tegen EP 099 en/of EP 140 bekend zijn, of zodra vast staat dat DTS de octrooien in de gedesigneerde landen niet langer verdedigt of Samsung c.s. de geldigheid daarvan niet langer betwist.
6. De beslissingen
De rechtbank
In zaak I:
in conventie en in reconventie
6.1.
houdt iedere verdere beslissing aan;
6.2.
bepaalt dat de meest gerede partij de zaak op de rol kan plaatsen op een in 5.50, laatste zin, nader beschreven moment;
In zaak II:
in conventie en in reconventie
6.3.
houdt iedere verdere beslissing aan;
6.4.
bepaalt dat de meest gerede partij de zaak op de rol kan plaatsen op een in 5.50, laatste zin, nader beschreven moment.
Dit vonnis is gewezen door mr. F.M. Bus, mr. J.E. Bierling en mr. ir. H. Meinders en in het openbaar uitgesproken door mr. D. Nobel, rolrechter, op 13 mei 2020.
Voetnoten
Voetnoten Uitspraak 13‑05‑2020
Wetboek van Burgerlijke Rechtsvordering
Rijksoctrooiwet
Europees Octrooiverdrag
Verordening (EU) 1215/2012 van het Europees Parlement en de Raad van 12 december 2012 betreffende de rechterlijke bevoegdheid, de erkenning en de tenuitvoerlegging van beslissingen in burgerlijke en handelszaken
Rijksoctrooiwet 1995
G 2/10 van 30 Augustus 2011, ECLI:EP:BA:2011:G000210.20110830
Vergelijk Rechtbank Den Haag 25 september 2019, ECLI:NL:RBDHA:2019:10064, r.o. 4.28.
Randnummer 20, vierde zin
Beslissing van 20 april 2012, ECLI:EP:BA:2012:T066708.20120420
HR 30 november 2007, ECLI:NL:HR:2007:BA9608 (Roche-Primus II)